|
|
(21), (22) Заявка: 2005116791/03, 01.06.2005
(24) Дата начала отсчета срока действия патента:
01.06.2005
(46) Опубликовано: 10.12.2006
(56) Список документов, цитированных в отчете о поиске:
RU 2163347 C1, 20.02.2001. RU 2125233 C1, 20.01.1999. RU 2164001 C1, 10.03.2001. RU 2169900 С1, 27.06.2001. RU 2227895 C1, 27.04.2004. RU 2229097 C1, 20.05.2004.
Адрес для переписки:
680035, г.Хабаровск, ул. Тихоокеанская, 136, Хабаровский государственный технический университет, отдел интеллектуальной собственности
|
(72) Автор(ы):
Шевкун Евгений Борисович (RU), Лещинский Александр Валентинович (RU), Уренев Илья Михайлович (RU)
(73) Патентообладатель(и):
Государственное образовательное учреждение высшего профессионального образования “Хабаровский государственный технический университет” (RU)
|
(54) САМОХОДНАЯ УСТАНОВКА ДЛЯ ЛОКАЛИЗАЦИИ ВЗРЫВА
(57) Реферат:
Изобретение относится к области буровзрывных работ в крепких горных породах и может быть использовано в различных отраслях, применяющих взрывные работы в скальных массивах горных пород, в том числе в стесненных условиях. Самоходная установка для локализации взрыва содержит транспортное средство в виде ходовой тележки с опорной платформой, на которой размещены пылеуловитель и адсорбер, вертикальную решетчатую раму с ограждающими элементами, связанную с опорной платформой противооткатным механизмом с возможностью перемещения и наклона, горизонтальную решетчатую раму с ограждающими элементами в виде свободно подвешенных цепных матов, связанную с балкой опорной платформы канатами и снабженную эластичным кожухом с герметизирующим фартуком по контуру, образующим замкнутое пространство над ней. Установка снабжена монтажной платформой для сборки элементов решетчатой горизонтальной рамы, стрела выполнена телескопической с возможностью выдвижения в горизонтальном направлении подвижной секции, снабженной опорой, а ограждающие элементы решетчатой вертикальной рамы выполнены из изношенных автомобильных шин. Изобретение позволяет повысить надежность работы устройства за счет упрощения его конструкции. 2 ил.
Изобретение относится к области буровзрывных работ в крепких горных породах и может быть использовано в различных отраслях, применяющих взрывные работы в скальных массивах горных пород, в том числе в стесненных условиях.
Наиболее распространенным способом защиты от разлетающихся при взрывном дроблении кусков горной породы (локализации взрыва) является установка над взрываемой поверхностью специальных укрытий различных конструкций [1].
Основными их недостатками являются немобильность и значительный пылегазовый выброс от взрыва в окружающую среду.
Наиболее близким по существу решаемой задачи устройством является самоходная установка для локализации взрыва, включающая транспортное средство в виде ходовой тележки с опорной платформой, на которой размещены пылеуловитель и адсорбер, решетчатую вертикальную раму с ограждающими элементами в виде гибких емкостей с сыпучим материалом, связанную с опорной платформой противооткатным механизмом с возможностью перемещения и наклона, решетчатую горизонтальную раму с ограждающими элементами, выполненную секционно, связанную с балкой опорной платформы тросами и снабженную эластичным кожухом с герметизирующим фартуком по контуру, образующим замкнутое пространство над ней, в которой окна решетки горизонтальной рамы перекрыты свободно подвешенными в них цепными матами [2].
Установка позволяет за счет инерционного сопротивления компактной массы породы, усиленного массой укрытия из цепных матов, уравновесить силу взрывного удара по горизонтальной раме, предотвратить разлет кусков горной массы, уловить пылегазовый выброс взрыва и очистить воздух от пыли и ядовитых газов.
Недостатком этого устройства, принятого за прототип заявляемому изобретению, является заполнение гибких емкостей вертикальной рамы сыпучими материалами, что создает трудности при прорыве их кусками горной массы, а также расположение значительных масс по одну сторону от центра тяжести установки, что снижает ее устойчивость и осложняет перемещение по неровным поверхностям рабочих площадок в карьере.
Технической задачей, на решение которой направлено предлагаемое изобретение, является повышение устойчивости самоходной установки и упрощение ее обслуживания.
Поставленная задача достигается тем, что в самоходной установке для локализации взрыва, включающей транспортное средство в виде ходовой тележки с опорной платформой, на которой размещены пылеуловитель и адсорбер, решетчатую вертикальную раму с ограждающими элементами, связанную с опорной платформой с возможностью перемещения и наклона, решетчатую горизонтальную раму с ограждающими элементами в виде свободно подвешенных цепных матов, связанную с балками опорной платформы канатами и снабженную эластичным кожухом с герметизирующим фартуком по контуру, образующим замкнутое пространство над ней, согласно изобретению, устройство снабжено монтажной платформой для сборки элементов решетчатой горизонтальной рамы, стрела выполнена телескопической с возможностью выдвижения в горизонтальном направлении подвижной секции, снабженной опорой, а ограждающие элементы решетчатой вертикальной рамы выполнены из изношенных автомобильных шин.
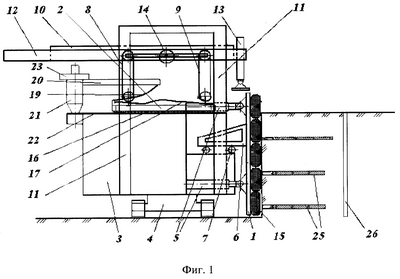
На фиг.1 схематично изображена самоходная установка для локализации взрыва до начала установки горизонтальной рамы над укрываемым объемом горных пород, на фиг.2 – в рабочем положении, вид сбоку.
Самоходная установка для локализации взрыва включает решетчатую вертикальную раму 1 и решетчатую горизонтальную раму 2. Решетчатая вертикальная рама 1 связана с опорной платформой 3 транспортного средства, выполненного в виде массивной ходовой тележки 4, с помощью гидроцилиндров 5 и опорного элемента 6 с катками 7. Решетчатая горизонтальная рама 2 подвешена на полиспастах 8 и 9, канаты которых сбегают на барабан лебедки 14. Неподвижная секция 10 телескопической стрелы закреплена на двух опорах 11, подвижная секция 12 телескопической стрелы снабжена выдвижной опорой 13 и может с подвешенной к ней решетчатой горизонтальной рамой 2 специальным механизмом (не показан) выдвигаться в сторону. Решетчатая вертикальная рама 1 и решетчатая горизонтальная рама 2 снабжены ограждающими элементами для перекрытия окон решетки. Ограждающие элементы решетчатой вертикальной рамы 1 выполнены из изношенных автомобильных шин 15. Ограждающие элементы решетчатой горизонтальной рамы 2 выполнены в виде газопроницаемых цепных матов 16, связанных, например, из якорных цепей и свободно подвешенных в окнах решетки. Над решетчатой горизонтальной рамой 2 мягким кожухом 17, выполненным, например, из эластика, образовано замкнутое пространство 18, соединенное гибким пылепроводом 19 с входной трубой 20 вихревого пылеуловителя 21, установленного, например, на монтажной платформе 22 опорной платформы 3. Из пылеуловителя 21 очищенный от пыли воздух поступает в адсорбер 23. По контуру решетчатой горизонтальной рамы 2 закреплен герметизирующий фартук 24, выполненный, например, из резинотросовой ленты. Решетчатая горизонтальная рама 2 выполняется такой ширины, чтобы накрыть ею всю горизонтальную поверхность взрываемого зарядами ВВ в скважинах 25 объема уступа, отделенного от основного массива контурной щелью, образованной зарядами в скважинах 26, с запасом, обусловленным требованиями Правил безопасности.
Самоходная установка для локализации взрыва работает следующим образом.
Установку с помощью ходовой тележки 4 подгоняют к подготовленному для взрыва участку уступа. Гидроцилиндрами 5 решетчатую вертикальную раму 1 смещают опорным элементом 6 по каткам 7 до прижатия автомобильных шин 15 к поверхности откоса уступа. Внутреннюю часть 12 балки 10 выдвигают в сторону поверхности укрываемого уступа и устанавливают телескопическую опору 13 на поверхность уступа. Неподвижная секция телескопической стрелы 10 получает устойчивое трехопорное положение (на опорах 11 и выдвижной опоре 13). Лебедкой 14 с помощью полиспастов 8 и 9 поднимают решетчатую горизонтальную раму 2, собранную заранее в элемент нужных размеров на монтажной платформе 22, и смещают подвижную секцию 12 телескопической стрелы до тех пор, пока горизонтальная рама 2 не займет нужное положение над укрываемым участком взрываемого блока, после чего выдвижная опора 13 выдвигается до контакта с поверхностью уступа. Свободно висящие газопроницаемые цепные маты 16 ложатся на поверхность уступа, укрывая его, а герметизирующий фартук 24 герметизирует замкнутое пространство 18 над решетчатой горизонтальной рамой 2. Устройство готово к работе. Непосредственно перед взрывом запускают вихревой пылеуловитель 21 для улавливания пыли из горячих газов.
Вначале взрывают заряды в контурных скважинах 26, отделяя взрываемый объем от основного массива сплошной щелью, отражающей энергию взрыва и снижающей сейсмическое воздействие на массив горных пород. При поочередном взрыве зарядов рыхления в скважинах 25 верхнего слоя начинается подвижка отбиваемого каждой скважиной объема горных пород вверх и частично в сторону откоса уступа и происходит залповый прорыв пылегазового потока из массива через газопроницаемые цепные маты 16 в замкнутое пространство 18 под эластичный кожух 17. Под ним возрастает давление и по гибкому пылепроводу 19 пылегазовый поток через трубу 20 поступает в вихревой пылеуловитель 21, где происходит его очистка от пыли. Фартук 24 по контуру решетчатой горизонтальной рамы 2 предотвращает прорыв пылегазового потока из-под укрытия в атмосферу. Очищенный от пыли воздушный поток с ядовитыми газами продуктов взрыва, содержащими оксиды углерода и азота, поступает в адсорбер 23, где эти газы улавливаются, и очищенный воздух выбрасывается в атмосферу. Основная доля энергии взрыва расходуется на дробление горных пород и подброс укрытия. Эластичность цепных матов при вспучивании породы от взрыва не позволяет отрываться отдельным кускам от общей массы, разрыхленная горная масса плотно обхватывается матом и удерживается им в компактном состоянии. Инерционное сопротивление компактной массы породы, усиленное массой укрытия из цепных матов, уравновешивает силу взрывного удара. Высота подбрасывания породы с укрытием из цепных матов зависит только от толщины взрываемого слоя и коэффициента разрыхления породы, поскольку от последнего зависит величина вспучивания породы после ее разрыхления. Если массы газопроницаемых цепных матов окажется недостаточно для удержания взрываемого объема, вспученная горная масса натягивает до предела цепные маты 16 и в действие вступает общая масса решетчатой горизонтальной рамы 2, инерционная масса многократно возрастает и останавливает перемещение горной породы вверх. Существенно (в 3-4 раза) меньшие усилия от взрываемого массива на решетчатую вертикальную раму 1 частично поглощаются при деформации автомобильных шин, частично через гидроцилиндры 5 передаются на опорную платформу 3, и эта энергия взрыва гасится огромной массой устройства.
Взрыв скважин 25 следующего горизонтального слоя пород происходит в качественно новой ситуации. Уже имеется масса ранее взорванного слоя, многократно превышающая массу решетчатой горизонтальной рамы 2 и суммированная с последней. Эта суммарная масса столь велика, что полностью поглощает энергию взрыва зарядов ВВ нижележащего разрыхляемого слоя пород.
Таким образом, укрытие обеспечивает удержание разлета породы только от верхнего разрыхляемого слоя, далее укрытием служит уже взорванная горная масса. В этом и заключается преимущество предлагаемого технического решения – укрытие срабатывает при разрыхлении незначительного (менее 20%) объема взрываемого массива. После взрыва лебедкой 14 и полиспастами 8 и 9 решетчатую горизонтальную раму 2 приподнимают над взорванной горной массой, подвижная секция 12 телескопической стрелы втягивается в неподвижную секцию 10. Затем опускают решетчатую горизонтальную раму 2 на монтажную платформу 22. Гидроцилиндрами 5 отводят решетчатую вертикальную раму 1 от взорванного уступа. Устройство перемещают к подготовленному для взрыва участку уступа и цикл повторяют.
Таким образом, заявляемая самоходная установка для локализации взрыва обеспечивает отбойку горных пород с повышенной устойчивостью и простотой обслуживания за счет применения телескопической стрелы, установки монтажной платформы и ограждения вертикальной рамы.
Источники информации
1. Инструкция по производству взрывных работ с защитными укрытиями. М.: ЦПЭС, 1987.
2. Патент Российской Федерации №2163347, МКИ7 F 42 D 5/045 (прототип).
Формула изобретения
Самоходная установка для локализации взрыва, включающая транспортное средство в виде ходовой тележки с опорной платформой, на которой размещены пылеуловитель и адсорбер, решетчатую вертикальную раму с ограждающими элементами, связанную с опорной платформой с возможностью перемещения и наклона, решетчатую горизонтальную раму с ограждающими элементами в виде свободно подвешенных цепных матов, связанную со стрелой, установленной на опорной платформе, канатами и снабженную эластичным кожухом с герметизирующим фартуком по контуру, образующим замкнутое пространство над ней, отличающаяся тем, что установка снабжена монтажной платформой для сборки элементов решетчатой горизонтальной рамы, стрела выполнена телескопической с возможностью выдвижения в горизонтальном направлении подвижной секции, снабженной опорой, а ограждающие элементы решетчатой вертикальной рамы выполнены из изношенных автомобильных шин.
РИСУНКИ
MM4A – Досрочное прекращение действия патента СССР или патента Российской Федерации на изобретение из-за неуплаты в установленный срок пошлины за поддержание патента в силе
Дата прекращения действия патента: 02.06.2007
Извещение опубликовано: 27.01.2009 БИ: 03/2009
|
|