|
|
(21), (22) Заявка: 2004136832/02, 15.12.2004
(24) Дата начала отсчета срока действия патента:
15.12.2004
(43) Дата публикации заявки: 10.06.2006
(46) Опубликовано: 10.12.2006
(56) Список документов, цитированных в отчете о поиске:
“Зарубежное военное обозрение”. 1990, №1, с.29-32. RU 2131581 C1, 10.06.1999. PR 2672980 A1, 21.08.1992. PR 2672382 A1, 07.08.1992. DE 4007677 C1, 14.05.1998.
Адрес для переписки:
362015, РСО-Алания, г. Владикавказ, ул. Тургеневская, 24, кв.2, Г.К.Пиранишвили
|
(72) Автор(ы):
Пиранишвили Георгий Константинович (RU)
(73) Патентообладатель(и):
Пиранишвили Георгий Константинович (RU)
|
(54) ПРОТИВОТАНКОВАЯ УПРАВЛЯЕМАЯ РАКЕТА
(57) Реферат:
Изобретение относится к противотанковым снарядам. Противотанковая управляемая ракета содержит кумулятивный заряд с взрывателем. В головной части ракеты размещены датчик инфракрасных лучей, приемник инфракрасных лучей и гарпун с взрывателем, связанный посредством троса с гильзой взрывателя кумулятивного заряда. 2 ил.
Изобретение относится к военному делу и применяется против техники, имеющей броневую защиту от всех видов стрелкового оружия.
Известна противотанковая управляемая ракета (дальше ПТУР), имеющая кумулятивный заряд, пробивающий стальную броню большой толщины, но чтобы предотвратить это, на броневую технику, особенно на танках, стали навешивать специальные контейнеры со взрывчатым веществом, называемым бронезащитой динамического действия. При попадании ПТУР в такую защиту, кроме своего взрыва она вызывает одновременный взрыв и динамическую защиту, а это сбивает направленность кумулятивного заряда. Чтобы уменьшить воздействие динамической защиты на кумулятивный заряд, стало необходимым разграничить время между взрывами. Поэтому в головную часть ПТУР начали устанавливать шток со взрывчатым веществом (см. журн. “Зарубежное военное обозрение”, 1990 г., №1, стр.29-32). Шток для этого – короткий элемент, и по этой причине эти взрывы сливаются вместе.
Целью настоящего изобретения является повышение качества боевой части противотанковой управляемой ракеты во время боевых действий против танков и другой броневой техники.
Данная цель достигается тем, что в головной части противотанковой управляемой ракеты помещены датчик и приемник инфракрасных лучей, гарпун с взрывателем, конец троса которого закреплен в гильзе кумулятивного взрывателя.
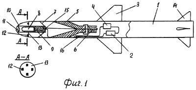
На фиг.1 приведена противотанковая управляемая ракета со своими составными частями.
На фиг.2 изображена противотанковая управляемая ракета при подходе к цели.
Противотанковая управляемая ракета состоит из следующих основных частей: корпуса 1; батареи 2; крыльев 3; блока управления 4; кумулятивной боевой части 5; гильзы 6, кумулятивного взрывателя; оттяжки 7; гарпуна с взрывателем 8; взрывателя гарпуна 9; гильзы гарпуна 10; излучателя инфракрасных лучей 11; приемника инфракрасный лучей 12, состоящего из фотоэлементов; панели фотоэлементов 13; стабилизатора 14; мотка троса 15; проводов 16.
Действие противотанковой управляемой ракеты.
После запуска ракеты в ней включаются излучатель инфракрасных лучей 11 и приемник инфракрасных лучей, представляющий собой фотоэлементы 12, закрепленные на панели 13. После отражения инфракрасных лучей от цели и попадания их в приемник ракеты 12, в фотоэлементах, закрепленных на панели 13, возникают фототоки, направляющиеся по проводам 16 в блок управления 4, в нем фототоки преобразуются в электрические сигналы и подаются в взрыватель гарпуна 9; после взрыва гарпун через гильзу 10 устремляется к цели и тянет за собой трос 15 (см. фиг.2). Таким образом гарпун оказывается впереди противотанковой управляемой ракеты с привязанным за ним тросом 15 и будет лететь вместе, пока гарпун 8 не ударится в цель. Тогда произойдет взрыв одновременно как гарпуна, так и динамической защиты; лишь после взрыва противотанковая управляемая ракета долетит до места взрыва, не причинив при этом никакого вреда кумулятивному заряду.
Тактические характеристики при подлете к цели противотанковой управляемой ракеты, определяются из следующих расчетов.
Берем скорость гарпуна после его выхода из ракеты ; скорость танка принимаем или берем длину троса гарпуна S=10 м, тогда после взрыва гарпуна о бронетехнику, ракета это расстояние пройдет за за это время танк продвинется на Sт=Vтt=14·0,02=0,28 м =28 см
Так что танк сместится только на 28 см, и этот путь очищен для попадания в него кумулятивной взрывчатки ракеты.
Формула изобретения
Противотанковая управляемая ракета, включающая кумулятивный заряд с взрывателем, отличающаяся тем, что в головной части ракеты размещены датчик инфракрасных лучей, приемник инфракрасных лучей и гарпун с взрывателем, конец троса которого закреплен в гильзе взрывателя кумулятивного заряда.
РИСУНКИ
|
|