|
| На основании пункта 3 статьи 13 Патентного закона Российской Федерации от 23 сентября 1992 г. № 3517-I патентообладатель обязуется передать исключительное право на изобретение (уступить патент) на условиях, соответствующих установившейся практике, лицу, первому изъявившему такое желание и уведомившему об этом патентообладателя и федеральный орган исполнительной власти по интеллектуальной собственности, – гражданину РФ или российскому юридическому лицу. |
|
(21), (22) Заявка: 2005119097/02, 20.06.2005
(24) Дата начала отсчета срока действия патента:
20.06.2005
(46) Опубликовано: 10.12.2006
(56) Список документов, цитированных в отчете о поиске:
RU 2163709 C1, 27.02.2001. RU 2154251 C2, 10.08.2000. RU 2001378 C1, 15.10.1993. US 4461214 A, 24.07.1984. DE 4015079 A1, 18.04.1991.
Адрес для переписки:
692881, Приморский край, г. Фокино, ул. Карла Маркса, 49, кв.33, С.В. Коннову
|
(72) Автор(ы):
Коннов Сергей Витальевич (RU)
(73) Патентообладатель(и):
Коннов Сергей Витальевич (RU)
|
(54) УЛЬТРАЗВУКОВОЙ ПАТРОН
(57) Реферат:
Изобретение относится к патронам для стрелкового оружия и может использоваться как средство самообороны. Ультразвуковой патрон содержит снабженную пороховым зарядом и капсюлем цилиндрическую гильзу, в которую завальцованы на расстоянии друг от друга два металлические диска, а образуемый дисками и стенкой гильзы объем заполнен гелием. Появляется возможность механического воздействия на цель за счет преобразования энергии горения порогового заряда в мощный акустический импульс ультразвукового диапазона путем параметрического усиления его интенсивности. 1 з.п. ф-лы, 1 ил.
Изобретение относится к новым образцам вооружений, а более конкретно к устройству патронов для стрелкового оружия и может использоваться как средство самообороны.
По совокупности существенных признаков аналогом данному изобретению можно считать обычный пулевой патрон, состоящий из цилиндрической гильзы, снабженной пороховым зарядом, капсюлем и пулей. При срабатывании такого патрона энергия горения порохового заряда переходит в кинетическую энергию пули.
В основе принципа работы изобретения лежит явление возбуждения в закрытой трубе с гелием акустических колебаний и их излучения в окружающую среду с одного ее торца при условии, что другой торец этой трубы подвергают нагреву. Интенсивность генерируемых таким образом колебаний зависит от длины трубы, давления гелия в ней и температуры нагрева торца (см., например, журнал “техника – молодежи”, 1990, №12, стр.47).
Задачей настоящего изобретения является преобразование энергии горения порохового заряда в мощный акустический импульс ультразвукового диапазона путем параметрического усиления его интенсивности.
Эта задача решается ультразвуковым патроном, содержащим снабженную пороховым зарядом и капсюлем цилиндрическую гильзу, согласно изобретению в гильзу завальцованы на расстоянии друг от друга два металлических диска, а образуемый дисками и стенкой гильзы объем заполнен гелием.
Кроме того, обращенная к пороховому заряду поверхность диска покрыта веществом, имеющим высокую температуру горения.
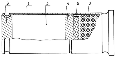
На приведенном чертеже изображен общий вид предложенного ультразвукового патрона с частичным вырезом стенки гильзы для лучшего показа конструкции.
Ультразвуковой патрон содержит гильзу 1 и пороховой заряд 2. В гильзу 1 завальцованы на некотором расстоянии друг от друга два металлических диска 3 и 4. Образуемый дисками 3 и 4 и стенкой гильзы 1 объем 5 заполнен гелием. Обращенная к пороховому заряду 2 поверхность диска 4 покрыта веществом 6, имеющим высокую температуру горения.
Патрон работает следующим образом.
От удара о капсюль (не показан) пороховой заряд 2 воспламеняется и одновременно с нагревом диска 4 поджигает вещество 6, которое горит с выделением большого количества тепла, что приводит к еще более сильному нагреву диска 4. Под действием расширяющихся пороховых газов диск 4 развальцовывается и с высокой скоростью движется в сторону диска 3, сжимая тем самым гелий в объеме 5.
Сильно нагретый диск 4 возбуждает в гелии акустические колебания, частота и энергия которых, вследствие сокращения объема 5 и увеличения давления гелия в нем, экспоненциально нарастает, т.е. происходит параметрическое усиление интенсивности колебаний за счет кинетической энергии диска 4. При дальнейшем росте давления гелия скорость движения диска 4 в гильзе 1 несколько замедляется и акустические колебания через диск 3 излучаются в окружающую среду в виде импульса. Так как интенсивность колебаний велика, то их спектр лежит в ультразвуковом диапазоне.
Из-за все возрастающего давления гелия диск 3 развальцовывается из гильзы 1 и вместе с диском 4 вылетает наружу. Обладая низкими аэродинамическими характеристиками, обусловленными формой, диски после вылета из гильзы быстро теряют скорость.
Поскольку энергия, заключенная в ультразвуковом импульсе, излученном патроном, может достигать очень большой величины, то при встрече с объектами, находящимися на пути его распространения, он способен произвести на них заметное механическое воздействие.
Формула изобретения
1. Ультразвуковой патрон, содержащий снабженную пороховым зарядом и капсюлем цилиндрическую гильзу, отличающийся тем, что в гильзу завальцованы на расстоянии друг от друга два металлических диска, а образуемый дисками и стенкой гильзы объем заполнен гелием.
2. Патрон по п.1, отличающийся тем, что обращенная к пороховому заряду поверхность диска покрыта имеющим высокую температуру горения веществом.
РИСУНКИ
|
|