|
|
(21), (22) Заявка: 2005110143/02, 07.04.2005
(24) Дата начала отсчета срока действия патента:
07.04.2005
(46) Опубликовано: 10.12.2006
(56) Список документов, цитированных в отчете о поиске:
DE 1453885 A1, 25.06.1970. RU 2215969 C2, 10.11.2003. US 4628611 A, 16.12.1986. US 4010564 A, 08.03.1977. FR 2254005 A1, 04.07.1975. DE 3602969 A1, 06.08.1987.
Адрес для переписки:
601900, Владимирская обл., г. Ковров, ул. Труда, 4, ОАО “Завод им. В.А. Дегтярева”, ОПЛИР
|
(72) Автор(ы):
Большаков Денис Михайлович (RU), Дегтярев Юрий Владимирович (RU), Жирехин Валерий Иванович (RU), Махнин Андрей Владимирович (RU), Сидоров Александр Александрович (RU)
(73) Патентообладатель(и):
Открытое акционерное общество “Завод им. В.А. Дегтярева” (RU)
|
(54) УСТРОЙСТВО ДЛЯ ЗАКРЕПЛЕНИЯ И РЕГУЛИРОВКИ ПРИЦЕЛЬНОГО ПРИСПОСОБЛЕНИЯ НА ОРУЖИИ
(57) Реферат:
Изобретение относится к прицельным приспособлениям, в частности к устройствам для их закрепления и регулировки. Устройство содержит опорную балку с осью, кронштейн с осью, установленный с возможностью поворота относительно опорной балки в двух взаимно перпендикулярных направлениях, пару установочных винтов, установленных на кронштейне, и пару установочных винтов, установленных на опорной балке. На оси опорной балки установлено поворотное основание, снабженное двумя взаимно перпендикулярными площадками. На одной площадке закреплена ось кронштейна, выполненная в виде стопорного винта, а другая площадка взаимодействует с парой установочных винтов опорной балки. Опорная балка снабжена упорной пластиной, которая взаимодействует с парой установочных винтов кронштейна. Изобретение позволяет осуществлять независимую регулировку положения прицельного приспособления в вертикальном и горизонтальном направлениях, что повышает удобство пользования оружием. 1 з.п. ф-лы, 2 ил.
Изобретение относится к военной технике, в частности к устройствам, применяемым для крепления на оружии приспособлений различных типов.
Известен регулируемый кронштейн прицела, который содержит основание и прицельную планку, установленную на основании с возможностью продольного перемещения, а также стопорные винты, установленные на основании для фиксации прицельной планки (см. патент РФ N2215969, МКИ F 41 G 1/16, опубл. 10.11.2003 г.).
Недостатком аналога является отсутствие регулировки в горизонтальной плоскости.
Известно устройство для закрепления и регулировки прицельного приспособления на оружии, принятое за прототип (см. заявку ФРГ N1453885, МКИ F 41 G 1/38, опубл. 1972 г.). Устройство содержит несущий прицельное приспособление кронштейн, расположенный параллельно опорной балке, который одним концом поворотно соединяется с опорной балкой таким образом, что может поворачиваться вокруг двух перпендикулярных осей. На опорной балке установлены установочные винты для регулировки прицельного приспособления в горизонтальной плоскости. В вертикальной плоскости регулировка происходит с помощью установочного винта, размещенного в опорной балке. Рычаг, отходящий от кронштейна, содержит на выступе установочный винт для устранения люфта в поворотном устройстве между кронштейном и опорной балкой.
Недостатком прототипа является неудобство регулировки прицельного приспособления на оружии, т.к. при регулировке прицела в вертикальном направлении можно сбить прицел, уже отрегулированный в горизонтальном направлении, и наоборот, при регулировке прицела в горизонтальном направлении можно сбить прицел в вертикальном направлении, т.е. приходится поправлять уже отрегулированное направление прицела. Это происходит потому, что при регулировке прицела одной парой установочных винтов другая пара винтов подвергается воздействию со стороны перемещающегося кронштейна.
Предлагаемым изобретением решается задача повышения удобства пользования оружием.
Технический результат заключается в возможности простого и быстрого регулирования положения прицельного приспособления относительно оружия в горизонтальной и вертикальной плоскости без существенного усложнения конструкции.
Указанный технический результат достигается тем, что в устройстве для закрепления и регулировки прицельного приспособления на оружии, содержащем опорную балку с осью, несущий прицельное приспособление кронштейн с осью, установленный с возможностью поворота относительно опорной балки в двух взаимно перпендикулярных направлениях, и две пары установочных винтов, размещенных на кронштейне и опорной балке, между кронштейном и опорной балкой размещено поворотное основание, установленное на оси опорной балки и снабженное двумя взаимно перпендикулярными площадками, одна из которых взаимодействует с парой установочных винтов опорной балки, а на другой площадке закреплена ось кронштейна, выполненная в виде стопорного винта, при этом опорная балка снабжена упорной пластиной, взаимодействующей с парой установочных винтов кронштейна. Стопорный винт снабжен стопорной шайбой, а все установочные винты снабжены контргайками.
Размещение поворотного основания на оси опорной балки и снабжение его двумя взаимно перпендикулярными площадками, одна из которых взаимодействует с парой установочных винтов опорной балки, а на другой закреплена ось кронштейна, выполненная в виде стопорного винта, а также снабжение опорной балки упорной пластиной, взаимодействующей с парой установочных винтов кронштейна, позволяет быстро и надежно произвести независимую регулировку прицельного приспособления на оружии сначала в вертикальном направлении, а затем в горизонтальном направлении.
Таким образом, сравнение заявляемого изобретения с прототипом позволило установить его соответствие критерию “новизна”.
При анализе уровня техники в данной области было выявлено, что заявляемая совокупность существенных признаков обеспечивает данному изобретению соответствие критерию “изобретательский уровень”.
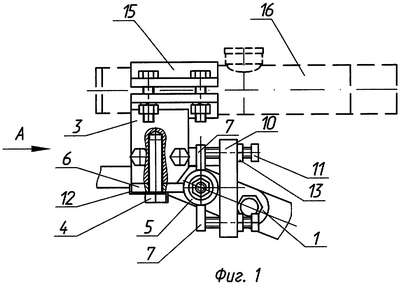
Сущность изобретения поясняется чертежом, где на фиг.1 изображен общий вид устройства, а на фиг.2 – то же, вид А.
Устройство для закрепления и регулировки прицельного приспособления на оружии содержит опорную балку 1 с осью 2, кронштейн 3 с осью, выполненной в виде стопорного винта 4. Между кронштейном 3 и опорной балкой 1 на оси 2 установлено поворотное основание 5, снабженное двумя взаимно перпендикулярными площадками 6 и 7. На площадке 6 поворотного основания закреплен стопорный винт 4 кронштейна 3. На кронштейне 3 размещена пара установочных винтов 8, взаимодействующих с упорной пластиной 9, закрепленной на опорной балке 1, а на упоре 10 опорной балки 1 размещена пара установочных винтов 11, взаимодействующих с опорной площадкой 7 поворотного основания 5. Стопорный винт 4 снабжен стопорной шайбой 12, а установочные винты 8 и 11 снабжены контргайками 13. Поворотное основание 5 зафиксировано от смещения гайкой 14. На кронштейне 3 установлен хомут 15 для крепления прицельного приспособления 16.
Регулировка положения прицельного приспособления на оружии осуществляется следующим образом. Сначала регулируют положение прицельного приспособления 16 в вертикальной плоскости, для чего необходимо ослабить гайку 14 на оси 2 и контргайки 13 на установочных винтах 11. Затем, вращая установочные винты 11, выставляют нужное положение прицельного приспособления 16. После этого необходимо затянуть контргайки 13 и гайку 14. Затем регулируют положение прицельного приспособления 16 в горизонтальной плоскости, для чего необходимо ослабить стопорный винт 4 на кронштейне 3 и контргайки 13 на установочных винтах 8. Затем, вращая установочные винты 8, выставляют нужное положение прицельного приспособления 16 в горизонтальном направлении. После этого необходимо затянуть контргайки 13 и стопорный винт 4, а затем зафиксировать винт стопорной шайбой 12. Такая последовательность регулировки прицельного приспособления (сначала в вертикальном, а затем в горизонтальном направлении) позволяет осуществлять независимое перемещение установочных винтов, что повышает удобство пользования оружием, т.к. исключается повторная регулировка оптического приспособления в каком-либо направлении.
Формула изобретения
1. Устройство для закрепления и регулировки прицельного приспособления на оружии, содержащее опорную балку с осью, несущий прицельное приспособление кронштейн с осью, установленный с возможностью поворота относительно опорной балки в двух взаимно перпендикулярных направлениях, и две пары установочных винтов, размещенных на кронштейне и опорной балке, отличающееся тем, что между кронштейном и опорной балкой размещено поворотное основание, установленное на оси опорной балки и снабженное двумя взаимно перпендикулярными площадками, одна из которых взаимодействует с парой установочных винтов опорной балки, а на другой площадке закреплена ось кронштейна, выполненная в виде стопорного винта, при этом опорная балка снабжена упорной пластиной, взаимодействующей с парой установочных винтов кронштейна.
2. Устройство по п.1, отличающееся тем, что стопорный винт снабжен стопорной шайбой, а все установочные винты снабжены контргайками.
РИСУНКИ
|
|