|
|
(21), (22) Заявка: 2004134976/06, 30.11.2004
(24) Дата начала отсчета срока действия патента:
30.11.2004
(43) Дата публикации заявки: 20.05.2006
(46) Опубликовано: 10.12.2006
(56) Список документов, цитированных в отчете о поиске:
US 5251447 А, 12.10.1993. US 5778676 А, 14.07.1998. US 5400968 А, 28.03.1995. US 5400589 A, 28.03.1995. SU 393539 A1, 10.08.1973. SU 243329 A1, 01.01.1969.
Адрес для переписки:
195009, Санкт-Петербург, ул. Ватутина, 3, Лит.А, ОАО “Силовые машины”, Дирекция по управлению имуществом
|
(72) Автор(ы):
Пеков Ахиллей Периклович (RU), Буртасов Станислав Викторович (RU), Лысенко Дмитрий Александрович (RU)
(73) Патентообладатель(и):
Открытое акционерное общество “Силовые машины – ЗТЛ, ЛМЗ, Электросила, Энергомашэкспорт” (ОАО “Силовые машины”) (RU)
|
(54) УСТРОЙСТВО ПОДАЧИ ТОПЛИВА ДЛЯ МАЛОЭМИССИОННЫХ КАМЕР СГОРАНИЯ
(57) Реферат:
Устройство подачи топлива для малоэмиссионных камер сгорания включает камеру сгорания, горелку с центральной втулкой, топливной форсункой, лопатки завихрителя. На центральной втулке горелки перпендикулярно входящему воздушному потоку и с углом разворота, равным углу наклона лопаток завихрителя, установлены полые пилоны. На передней, обращенной навстречу потоку кромке полых пилонов выполнено не менее восьми входных отверстий для подачи воздуха, на задней кромке упомянутых пилонов выполнена выходная щель. Полость пилона сообщена с центральной втулкой горелки через топливное отверстие, расположенное в его нижнем торце. Диаметр отверстий для подачи воздуха составляет не более 5 мм, а диаметр топливного отверстия – не менее 3 мм. Изобретение направлено на обеспечение оптимального распределения топлива в топливовоздушном потоке на всех режимах работы газотурбинной установки, упрощение конструкции устройства и системы автоматического управления подачей топлива. 1 з.п. ф-лы, 6 ил.
Предлагаемое изобретение относится к области турбостроения, конкретно к созданию газовых турбин, в частности к устройствам подачи топлива (УПТ) для малоэмиссионных камер сгорания (МКС) газотурбинных установок (ГТУ), а также для газотурбинных двигателей, работающих на газообразном топливе.
При подаче газообразного топлива в МКС для обеспечения экологических характеристик выгорания топлива необходимо обеспечить оптимальное смесеобразование, то есть равномерное распределение топлива в топливовоздушной смеси. Как правило, с этой целью подачу топлива в газотурбинный двигатель осуществляют посредством УПТ, представляющего собой большое количество мелких калиброванных отверстий, расположенных либо на специальных трубочках, либо на входных кромках лопаток завихрителей (т.е. УПТ интегрировано с лопатками завихрителя горелочного устройства), либо на других каких-то элементах. При этом упомянутые отверстия обычно пытаются расположить максимально равномерно в поперечном сечении воздушного потока.
Недостатком известных УПТ является то, что независимо от расхода подачи топлива оно всегда подается во весь объем воздуха. При этом на низких и промежуточных режимах работы ГТУ, т.е. при сравнительно низких расходах подачи топлива, воздушная смесь может быть настолько обеднена топливом, что перестает гореть. Для избежания чрезмерного “обеднения” смесей УПТ разбиваются на элементы (группы), которые запитываются отдельными топливными коллекторами. На низких режимах топливо подают не во все, а в часть групп, тем самым сохраняя за определенными группами удовлетворительное, способное гореть соотношение топлива с воздухом. С набором нагрузки система автоматического управления (САУ) подачи топлива последовательно подключает следующие группы УПТ.
Таким образом, устранение недостатков известных устройств подачи топлива обычно осуществляется путем усложнения конструкции УПТ и конструкции и алгоритма работы САУ подачи топлива.
Известен другой путь избежания чрезмерного “обеднения” топливовоздушной смеси при изменении режима в процессе эксплуатации ГТУ – это введение в конструкцию УПТ дополнительных узлов регулирования количества воздуха, который поступает на горение (Modern power system, “GT 10 С targets the 30 MW gap”, May, 2002 г.). Однако улучшение полноты сгорания в известном устройстве также достигается путем усложнения конструкции УПТ и САУ подачи топлива.
Таким образом, общим основным недостатком известных устройств подачи топлива является сложность конструкции, вызванная необходимостью применения дополнительных узлов и элементов, таких как коллекторы подвода топлива, краны и устройства управления ими, регуляторы расхода топлива, устройства перепуска воздуха и регуляторы управления ими, и т.д. Все это в конечном итоге повышает стоимость УПТ и САУ подачи топлива, а также снижает надежность работы ГТУ в целом.
Известно устройство подачи топлива для малоэмиссионной камеры сгорания ГТУ типа EV GT 10 B производства компании ALSTOM. Известное устройство представляет собой съемную, вихревую горелку типа AEV, снабженную УПТ в виде газораздаточных трубочек, с мелкими отверстиями, расположенными вдоль образующих конической поверхности горелки, и входящих внутрь конуса. Устройство оснащено САУ подачи топлива с дополнительными функциями управления байпасным клапаном.
К недостатку известного устройства следует отнести сложность конструкции УПТ и САУ подачи топлива, которая вызвана необходимостью применения дополнительных коллекторов подвода топлива, кранов управления на них, регуляторов расхода, клапанов, задвижек перепуска воздуха, регуляторов управления устройствами перепуска воздуха, усложнением алгоритма работы САУ подачи топлива, что в конечном итоге повышает стоимость и снижает надежность работы ГТУ в целом (Modern power system, “GT 10 С targets the 30 MW gap”, May, 2002 г., р.31).
Известным устройством, наиболее близким к предлагаемому по совокупности существенных признаков и выбранным в качестве прототипа, является устройство подачи топлива в камеру сгорания ГТУ типа MS 7001 FA, производства фирмы General Electric, выполненное в виде радиально установленных на центральной втулке горелки горелочного устройства перпендикулярно входящему воздушному потоку, трубочек с мелкими отверстиями. Узел подачи топлива известного устройства разбит на три группы, к каждой из которых топливо подводят по отдельному коллектору (фиг.4). Алгоритм поддержания состава и распределения топливовоздушной смеси по коллекторам при наборе и сбросе нагрузки ГТУ задается САУ (фиг.5, 6) (Christian L. Vandervort “9 ppm. Nox/CO combustion system for “F” class industrial gas turbines”, ASME TURBINE EXPO 2000, Paper 2000-GT-0086, May 8-11, 2000, фиг.1-7)
Недостатком известного устройства по прототипу является сложность конструкции УПТ, связанная с необходимостью дополнительной установки двух дополнительных коллекторов подвода топлива с клапанами управления и, соответственно, достаточно сложной системой автоматического управления впрыском топлива. Последнее заметно повышает стоимость конструкции и понижает степень надежности работы ГТУ в целом.
Желаемый технический результат, достигаемый предлагаемым изобретением, заключается в улучшении смесеобразования, распределения и тем самым в обеспечении оптимального состава топливовоздушной смеси на всех эксплуатационных режимах работы газотурбинной установки, при этом упрощаются конструкция УПТ МКС, а также устройство и алгоритм работы системы автоматического управления подачей топлива, что позволяет заметно улучшить экологические, технико-экономические показатели и степень надежности работы газотурбинной установки в целом.
Для достижения желаемого технического результата в предлагаемом устройстве подачи топлива, включающем камеру сгорания, горелку с центральной втулкой, топливной форсункой, лопатки завихрителя, – на центральной втулке горелки, перпендикулярно входящему воздушному потоку и с углом разворота, равном углу разворота лопаток, установлены полые пилоны, причем на передней, обращенной навстречу входящему воздушному потоку кромке пилона выполнено не менее восьми входных отверстий для подачи воздуха, с диаметром не более 5 мм, а на задней его кромке выполнена выходная щель, при этом в нижнем торце полость пилона сообщена с центральной втулкой горелки через топливное отверстие, имеющее диаметр не менее 3 мм.
Проведенный заявителем анализ уровня техники, включающий поиск по патентным и научно-техническим источникам информации, а также выявление источников, содержащих сведения об аналогах заявленного изобретения, позволил установить, что заявитель не обнаружил технического решения, характеризующегося признаками, тождественными или эквивалентными предлагаемым.
Определение из перечня выявленных аналогов прототипа как наиболее близкого технического решения по совокупности признаков позволил выявить в заявленном устройстве совокупность существенных отличительных признаков по отношению к усматриваемому заявителем техническому результату и изложенную в нижеприведенной формуле изобретения.
Следовательно, заявленное изобретение соответствует критерию патентоспособности изобретения “новизна”.
Для проверки соответствия предлагаемого технического решения критерию патентоспособности изобретения “изобретательский уровень” заявитель провел дополнительный поиск по известной из уровня техники информации. Результаты поиска показали, что предлагаемое изобретение не вытекает из известного уровня техники явным для специалиста образом. В частности, предлагаемое изобретение не предусматривает:
– замену какой-либо части (частей) известного средства другой известной частью для достижения технического результата, в отношении которого установлено влияние именно такой замены;
– исключение какой-либо части (элемента) устройства с одновременным исключением обусловленной ее наличием функции и достижением при этом известного из уровня техники для такого исключения и т.п.;
– увеличение количества однотипных элементов для усиления технического результата, обусловленного наличием в средстве именно таких элементов;
– создание устройства, состоящего из известных частей, выбор которых и связь между которыми осуществлены на основании известных правил, рекомендаций, а достигаемый при этом технический результат обусловлен только известными свойствами частей этого средства и связей между ними.
Как видно из описания изобретения, для достижения желаемого результата заявитель внес в устройство подачи топлива принципиальные и неочевидные конструктивные изменения, а также снабдил его новыми элементами и связями.
В частности, предлагаемое УПТ МКС снабжено новыми конструктивными элементами, а именно топливораздающими пилонами, которые неподвижно установлены на центральной втулке горелки горелочного устройства в промежутках между лопатками завихрителя. При этом пилоны установлены определенным образом, а именно в плоскости, расположенной перпендикулярно входящему воздушному потоку (вдоль направления воздушного потока по длине “L” пилона), с углом их установки, соответствующем углу наклона лопаток завихрителя. Количество установленных пилонов соответствует или кратно числу промежутков между лопатками завихрителя. Пилоны имеют оригинальную конструкцию и представляют собой полые тела с обтекаемой геометрией наружной поверхности. На передней, обращенной навстречу входящему воздушному потоку кромке выполнено не менее восьми отверстий для прохода воздуха с диаметром не более 5 мм, а на задней их кромке выполнена выходная щель. В нижнем торце полость пилона сообщается с полостью центральной втулки горелки через топливное отверстие с диаметром не менее 3 мм. Предлагаемая конструкция УПТ МКС позволяет также существенно упростить как конструкцию УПТ, так и конструкцию, и алгоритм работы САУ подачи топлива, поскольку, в отличие от известных устройств, в предлагаемом изобретении САУ подачи топлива управляет потоками воздуха и топливного газа на входе только в топливную форсунку горелки. Тем самым исключается необходимость снабжения САУ подачи топлива блоками управления дополнительными коллекторами подвода топлива и соответствующего оборудования, каждый из которых, как правило, работает по своему алгоритму. Это позволяет также повысить надежность ее работы за счет снижения вероятности ошибок.
Как показали результаты опытных испытаний предлагаемого устройства, при его практической реализации достигается технический результат, заключающийся в существенном улучшении смесеобразования, распределения топливовоздушной смеси и обеспечении ее оптимального состава независимо от эксплуатационного режима работы ГТУ (сброс и набор мощности, работа при минимальной, рабочей и пиковой нагрузках).
Таким образом, практическое осуществление УПТ по изобретению позволяет достигнуть желаемый технический результат, а именно существенно улучшить распределение топлива в воздушном потоке на всех эксплуатационных режимах работы ГТУ, заметно упростить как конструкцию УПТ МКС, так и конструкцию, и алгоритм работы САУ подачи топлива по сравнению с известными аналогами.
На основании вышеупомянутого можно сделать вывод, что предлагаемое заявителем устройство обеспечивает достижение усматриваемого им неочевидного технического результата, а заявленное изобретение соответствует критерию патентоспособности “изобретательский уровень”.
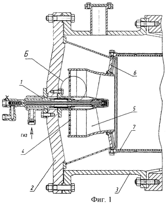
На чертежах, поясняющих сущность заявленного технического решения и позволяющих уяснить описание конструкции предлагаемого устройства в статическом состоянии, представлены: на фиг.1 – общий вид устройства подачи топлива для малоэмиссионной камеры сгорания, где, в частности, показаны: горелочное устройство, содержащее топливную форсунку 1, топливораздающие пилоны 4 и лопатки завихрителя 5. Элементы кольцевой камеры сгорания, которая содержит корпус 3 с крышкой 2, фронтовую плиту 6 и жаровую трубу 7. На фиг.2 приведена схема топливораздающего пилона 4. На фиг.3 приведен поперечный разрез, а на фиг.4 (вид Б фиг.1 в увеличенном масштабе) – продольный разрез пилона 4, где позицией 8 (фиг.3) обозначены наружный корпус центральной втулки горелки, воздушные отверстия 9 пилона 4 и топливное отверстие 10 (фиг.4). На фиг.5 приведен вид поперечного сечения пилона 4 по плоскости “А-А” (фиг.4) и, в частности, показаны внутренняя полость 11 и выходная щель 12 пилона 4. На фиг.6 показана диаграмма распределения топлива в полости пилона 4 по высоте h.
Устройство подачи топлива для малоэмиссионных камер сгорания представляет собой горелочное устройство, содержащее топливную форсунку 1, топливораздающие пилоны 4 и лопатки завихрителя 5. Горелочное устройство размещено в кольцевой камере сгорания, имеющей корпус 3 с крышкой 2. Топливная форсунка 1 горелочного устройства снабжена штуцерами подвода топливного газа и воздуха (фиг.1). На наружном корпусе центральной втулки горелки 8 в промежутке между лопатками завихрителя 5 неподвижно закреплены топливораздающие пилоны 4 (фиг.3 и 4). Топливораздающий пилон 4 имеет длину “L” и высоту, равную ширине “Е” сечения промежутка между лопатками завихрителя в радиальном направлении (фиг.2). Передняя, обращенная к входящему воздушному потоку кромка пилона 4 содержит отверстия 9 (фиг.3 и 4) для прохода воздуха, а на задней кромке каждого из пилонов выполнена выходная щель 12 (фиг.5). В нижнем торце пилона 4 его внутренняя полость 11 сообщается с полостью центральной втулки горелки 8 через топливное отверстие 10 (фиг.4 и 5). Пилоны установлены в направлении вдоль воздушного потока по длине пилона “L”, с углом установки, равным углу наклона лопаток завихрителя 5, а число устанавливаемых пилонов соответствует или кратно числу промежутков между лопатками завихрителя 5.
Предлагаемое устройство подачи топлива работает следующим образом.
Во внутреннюю полость 11 пилона 4 через топливное отверстие 10 из полости центральной втулки горелки 8 подается топливный газ (фиг.1 и 6). Топливо распространяется в полости пилона 11, смешиваясь с подаваемым перпендикулярно входящему топливному потоку потоком воздуха. Воздушные струи из каждого воздушного отверстия 9 за счет возникающего эффекта эжекции выносят часть топливного газа через выходную щель 12 за пределы пилона 4, где подхватываются основным потоком воздуха. Остальной топливный газ распространяется по высоте h пилона к следующим воздушным струям, истекающим из воздушных отверстий 9 (фиг.6). При этом чем больше расход подачи топливного газа, тем глубже он проникает в полость пилона 11 по высоте h и его длине “L”, тем больше площадь сечения воздушного потока, охватываемая им, и, соответственно, больше количество вовлекаемого циклового воздуха, с которым смешивается топливо (фиг.6). Как показали результаты опытных испытаний, если количество отверстий для подачи воздуха менее восьми, то не обеспечивается равномерность распределения топлива в топливовоздушной смеси в объеме пилона. При выполнении воздушных отверстий с диаметром более чем 5 мм, а также при увеличении диаметра отверстия для подачи топлива из центральной втулки горелки в полость пилона более 3 мм, энергии топливной струи при оптимальном рабочем расходе подачи топлива уже не хватает для проникновения топливного потока по всей длине и высоте пилона. По этой причине наблюдается радиальная неравномерность распределения концентрации топливовоздушной смеси в объеме пилона. Подача воздуха и топлива контролируется САУ подачи топлива.
Алгоритм поддержания состава и распределения топливовоздушной смеси по коллекторам при наборе и сбросе нагрузки ГТУ задается САУ таким образом, чтобы при изменении расхода топлива от минимального до максимального, в зависимости от режима работы ГТУ в процессе эксплуатации, в том числе при сбросе и наборе мощности, сохранялось постоянное соотношение количества воздуха и топлива, протекающих через кольцевое сечение шириной “Е” (фиг.2 и 6). В УПТ МКС предлагаемой конструкции САУ подачи топлива управляет только потоком воздуха и топливного газа на входе в топливную форсунку горелки. Тем самым, по сравнению с известными устройствами (например, по прототипу), исключается необходимость снабжения САУ подачи топлива блоками управления дополнительных групп коллекторов подвода топлива, каждый из которых при этом работает со своим алгоритмом и, соответственно, дополнительным оборудованием в виде электромагнитных вентилей, кранов, регуляторов расхода, клапанов, задвижек перепуска воздуха. Это позволяет существенно упростить как устройство, так и конструкцию и алгоритм работы САУ подачей топлива, повысить надежность ее работы за счет снижения вероятности ошибок.
Таким образом, вышеуказанные сведения свидетельствуют о выполнении при использовании предлагаемого устройства следующей совокупности условий:
– средство, воплощающее предлагаемое техническое решение при его осуществлении, относится к области создания турбостроения, конкретно к устройству подачи газообразного топлива для малоэмиссионных камер сгорания газотурбинных установок, работающих на газообразном топливе;
– для заявленного устройства в том виде, как оно охарактеризовано в независимом пункте изложенной ниже формулы патента на изобретение, подтверждается возможность его осуществления с помощью приведенных в описании заявки или известных до даты приоритета средств и методов;
– средство, воплощающее предлагаемое изобретение при его осуществлении, способно обеспечить достижение усматриваемого заявителем желаемого технического результата, а именно предложенное устройство позволяет улучшить смесеобразование, распределение, обеспечить оптимальный состав топливовоздушной смеси на всех эксплуатационных режимах работы газотурбинной установки, а также упростить конструкцию УПТ МКС, конструкцию и алгоритм работы САУ подачи топлива, что позволяет улучшить экологические, технико-экономические показатели и степень надежности работы газотурбинной установки в целом.
Следовательно, предлагаемое изобретение соответствует критерию патентоспособности изобретения “промышленная применимость”.
Формула изобретения
1. Устройство подачи топлива для малоэмиссионных камер сгорания, включающее камеру сгорания, горелку с центральной втулкой, топливной форсункой, лопатки завихрителя, отличающееся тем, что на центральной втулке горелки перпендикулярно входящему воздушному потоку и с углом разворота, равным углу наклона лопаток завихрителя, установлены полые пилоны, на передней обращенной навстречу потоку кромке которых выполнено не менее 8 входных отверстий для подачи воздуха, на задней кромке упомянутых пилонов выполнена выходная щель, а полость пилона сообщена с центральной втулкой горелки через топливное отверстие, расположенное в его нижнем торце.
2. Устройство подачи топлива по п.1, отличающееся тем, что диаметр отверстий для подачи воздуха составляет не более 5 мм, а диаметр топливного отверстия – не менее 3 мм.
РИСУНКИ
|
|