|
|
(21), (22) Заявка: 2005113466/06, 03.05.2005
(24) Дата начала отсчета срока действия патента:
03.05.2005
(46) Опубликовано: 10.12.2006
(56) Список документов, цитированных в отчете о поиске:
RU 2247281 C1, 27.02.2005. SU 1714295 A1, 23.02.1992. SU 1815511 А, 15.05.1993. SU 1651034 A1, 23.05.1991. DE 1091269 А, 20.10.1960.
Адрес для переписки:
305040, г.Курск, ул. 50 лет Октября, 94, КурскГТУ, ОИС
|
(72) Автор(ы):
Ежов Владимир Сергеевич (RU), Семичева Наталья Евгеньевна (RU)
(73) Патентообладатель(и):
Государственное образовательное учреждение высшего профессионального образования “Курский государственный технический университет” (RU)
|
(54) ПЛОСКОКАНАЛЬНЫЙ СТЕКЛЯННЫЙ ВОЗДУХОПОДОГРЕВАТЕЛЬ
(57) Реферат:
Изобретение относится к теплоэнергетике и может применяться для использования тепла дымовых газов котельных агрегатов и промышленных печей при нагревании воздуха, подаваемого на горение. Технической задачей предлагаемого изобретения является повышение эксплуатационной надежности и экономической эффективности. Технический результат достигается тем, что воздухоподогреватель содержит пакет стеклянных теплообменных элементов, выполненных из термостойкого малощелочного стекла, армированного металлической сеткой, закрепленный с применением уплотнений между двумя трубными досками болтами и помещенный в корпус с крышкой, причем теплообменные элементы имеют П-образную или Г-образную форму с воздушными каналами, имеющими шероховатую поверхность стенок, уложены по рядам друг на друга между стойками, прикрепленными к опорным балкам с образованием между каждым близлежащим рядом газового канала, и соединены между собой через упругие уплотнения. 2 ил.
Предлагаемое изобретение относится к теплоэнергетике, а именно, для использования тепла дымовых газов котельных агрегатов и промышленных печей при нагревании воздуха, подаваемого на горение.
Известен воздухоподогреватель, содержащий регенеративную ступень, подключенную к источнику воздуха через рекуперативную ступень, снабженную предвключенным по воздуху пакетом стеклянных труб (теплообменных элементов), выполненных из термостойкого малощелочного стекла, закрепленных с применением уплотняющих колец из термостойкой фторкаучуковой резины (упругих уплотнений), надеваемых на трубки и зажимаемых болтами между двумя трубными досками, обеспечивающими уплотнение труб и через байпасный трубопровод с калорифером [1].
Основными недостатками известного устройства являются сложность конструкции, выражающаяся в сложности монтажа и замены трубок, в неравномерном обжатии уплотнительных колец стеклянных труб, приводящем к перетечкам воздуха в газовый тракт и к возникновению в трубках температурных и механических напряжений, приводящих к разрушению трубной конструкции, возможности возникновения акустического резонанса в газовом объеме, что ограничивает площадь газового сечения и, соответственно, производительность воздухоподогревателя и ведет к снижению надежности и эффективности воздухоподогревателя.
Более близким по технической сущности к предлагаемому изобретению является воздухоподогреватель, содержащий пакет стеклянных теплообменных элементов, выполненных из термостойкого малощелочного армированного металлической сеткой стекла, закрепленный с применением упругих уплотнений между двумя трубными досками болтами и помещенный в корпус с крышкой, причем стеклянные теплообменные элементы представляют собой многоканальные стеклоблоки с воздушными каналами, имеющими шероховатую поверхность стекла и через стенку газовыми каналами, имеющими гладкую поверхность стенки, размещенными по длине вдоль каждого блока, причем стеклоблоки расположены многорядной системой перевязки с образованием по длине пакета сквозных одноименных каналов, соединенных между собой по длине через упругие уплотнения с прокладками между каждым рядом, боковыми поверхностями блоков и корпусом [2].
Основными недостатками известного устройства являются жесткость конструкции по периметру блоков, способствующая возникновению температурной деформации в стеклянных теплообменных элементах, возникающих за счет температурного расширения, что приводит к снижению надежности стеклоблочного воздухоподогревателя, сложность изготовления многоканальных стеклоблоков и связанное с ней отсутствие индустриальной базы для их производства, что ведет к увеличению стоимости стеклоблоков и, как следствие – к снижению экономической эффективности стеклоблочного воздухоподогревателя.
Технической задачей предлагаемого изобретения является повышение эксплуатационной надежности за счет изменения конструкции теплообменных элементов и экономической эффективности, достигаемой снижением их стоимости.
Технический результат достигается тем, что воздухоподогреватель содержит пакет стеклянных теплообменных элементов, выполненных из термостойкого малощелочного стекла, армированного металлической сеткой, с внутренней шероховатой поверхностью, закрепленных с применением упругих уплотнений между двумя трубными досками болтами и помещенными в корпус с крышкой, причем теплообменные элементы имеют П-образную или Г-образную форму, уложены по рядам друг на друга или в шахматном порядке со смещением по вертикали на высоту элемента с образованием газовых и воздушных каналов, соединены между собой термостойким клеем через слой термостойкой резины и зафиксированы стойками, прикрепленными к опорным балкам.
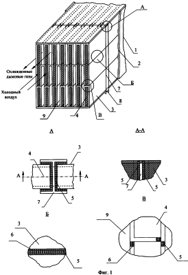
На фиг.1, 2 представлен плоскоканальный стеклянный воздухоподогреватель, содержащий корпус 1 с прокладкой 2, заключающий в себе расположенные однорядной системой перевязки П-образные или Г-образные стеклянные элементы соответственно, выполненные из термостойкого малощелочного стекла, армированного металлической сеткой (на фиг.1,2 не показана), с прямоугольным каналом 4 для прохода воздуха, в виде слоя термостойкой резины 5 с термостойким клеем 6 между стеклоблоками и закрепленные по вертикали стойкой 7 с балкой 8, прямоугольные газовые каналы 9 между стеклоблоками. Трубные решетки на фиг.1, 2 не показаны.
В основу работы предлагаемого плоскоканального стеклянного воздухоподогревателя положена интенсификация теплообмена путем применения поверхностей теплообмена с искусственно созданной шероховатостью. В предложенных вариантах стеклоблочного воздухоподогревателя шероховатая поверхность, предусматриваемая в каналах для прохода среды без механических примесей и с меньшим значением коэффициента теплопроводности, то есть нагреваемого воздуха, обеспечивает интенсификацию процессов теплопередачи путем турбулизации потока среды и разрушения ламинарного подслоя и увеличивает поверхность нагрева, что в свою очередь приводит к снижению размера теплообменных элементов. Выполнение газовых каналов прямоугольного сечения с гладкой стенкой обеспечивает возможность регулярной надежной очистки теплообменной поверхности от механических загрязнений, что также интенсифицирует процесс теплопередачи [3, с.272-276]. Выполнение теплообменных элементов в виде одноканальных блоков обеспечивает удобство монтажа и ремонта воздухоподогревателя. Кроме того, выполнение газовых и воздушных каналов прямоугольного сечения приближает конструкцию стеклоблочного воздухоподогревателя к конструкции пластинчатого воздухоподогревателя, что позволяет уменьшить габариты предлагаемого воздухоподогревателя по сравнению с трубчатым стеклянным воздухоподогревателем. Армирование стеклянных стенок каналов также способствует повышению прочности стеклоблоков и увеличению коэффициента теплопроводности, [4, с.13-15]. Возможность выполнения каналов для прохода дымовых газов с площадью поперечного сечения большей площади каналов для прохода воздуха ведет к выравниванию скоростей обоих потоков и, следовательно, к увеличению коэффициента теплопередачи К [5, с.316]. Возможность разделения общего потока дымовых газов на множество отдельных, протекающих через каналы с гладкими стенками, исключает вероятность возникновения явления акустического резонанса, сопровождающегося пульсациями давления и приводящего к разрушению конструкции воздухоподогревателя [4, с.57-60].
Плоскоканальный стеклянный воздухоподогреватель, представленный на фиг.1, 2 работает следующим образом.
Дымовые газы при разрежении, соответствующем режиму работы котельного агрегата и температуре, близкой к температуре конденсации водяных паров, содержащихся в них, поступают в газовые прямоугольные каналы с гладкими стенками 9, легко подвергающиеся очистке от оседающих на них механических примесей, содержащихся в дымовых газах. В воздушные прямоугольные каналы 4 с шероховатой поверхностью и площадью поперечного сечения меньшей, чем у каналов 9 между стеклянными элементами 3 поступает холодный воздух, который, при прохождении через каналы 4 в результате процесса теплообмена, заключающегося в передаче тепла теплопроводностью через общие стенки газовых и воздушных каналов 9 и 4, соответственно конвекции в газовой и воздушной средах, нагревается до требуемой температуры, а дымовые газы охлаждаются с частичной конденсацией водяных паров, содержащихся в них. При этом, в зависимости от вида укладки стеклянных элементов 3, предложенная конструкция стеклоблочного воздухоподогревателя позволяет осуществлять процесс подогрева воздуха при прямоточном, противоточном и перекрестном движении теплоносителей.
Таким образом, предлагаемый плоскоканальный стеклянный воздухоподогреватель позволяет повысить эксплуатационную надежность и эффективность работы устройства за счет выполнения стеклянных теплообменных элементов П-образной или Г-образной формы, что предотвращает возникновение в них температурных деформаций и снижает стоимость их изготовления.
ЛИТЕРАТУРА
1. Авторское свидетельство СССР №817395, кл. F 23 L 15/04, 1981.
2. Патент РФ №2247281, Мкл. F 23 L/04, 2005
3. М.А.Михеев, И.М.Михеева Основы теплопередачи. – М: «Энергия», 1973, 320 с.
4. Т.С.Добряков, В.К.Мигай и др. Воздухоподогреватели котельных установок, 1977, 184 с.
5. Водяные тепловые сети: Справочное пособие / Под ред. Н.К.Громова, Е.П.Шубина, 1988, 376 с.
Формула изобретения
Плоскоканальный стеклянный воздухоподогреватель, включающий пакет стеклянных теплообменных элементов, выполненных из термостойкого малощелочного стекла, армированного металлической сеткой с внутренней шероховатой поверхностью, закрепленный с применением упругих уплотнений между двумя трубными досками болтами и помещенный в корпус с крышкой, отличающийся тем, что стеклянные теплообменные элементы имеют П-образную или Г-образную форму, уложены рядами друг на друга или в шахматном порядке со смещением по вертикали на высоту элемента с образованием воздушных и газовых каналов, соединены между собой термостойким клеем через слой термостойкой резины и зафиксированы между стойками, прикрепленными к опорным балкам.
РИСУНКИ
MM4A – Досрочное прекращение действия патента СССР или патента Российской Федерации на изобретение из-за неуплаты в установленный срок пошлины за поддержание патента в силе
Дата прекращения действия патента: 04.05.2007
Извещение опубликовано: 27.07.2008 БИ: 21/2008
|
|