|
(21), (22) Заявка: 2003127722/11, 13.02.2002
(24) Дата начала отсчета срока действия патента:
13.02.2002
(30) Конвенционный приоритет:
13.02.2001 (пп.1-20) CA 2,335,897
(43) Дата публикации заявки: 10.02.2005
(46) Опубликовано: 10.12.2006
(56) Список документов, цитированных в отчете о поиске:
SU 1781156 A1, 15.12.1992. US 2001006596, 05.07.2001. SU 1351869 A1, 15.11.1987. SU 206051, 02.12.1967. GB 2187492, 09.09.1987.
(85) Дата перевода заявки PCT на национальную фазу:
15.09.2003
(86) Заявка PCT:
CA 02/00187 (13.02.2002)
(87) Публикация PCT:
WO 02/064487 (22.08.2002)
Адрес для переписки:
103735, Москва, ул. Ильинка, 5/2, ООО “Союзпатент”, пат.пов. Ю.В.Пинчуку, рег.№ 656
|
(72) Автор(ы):
ДЕЛАНИ Франсуа (CA)
(73) Патентообладатель(и):
ДЕЛАНИ МАШИНЕРИ ИНК. (CA)
|
(54) СИСТЕМА ДЛЯ ПОДНИМАНИЯ И ПЕРЕМЕЩЕНИЯ ПРЕДМЕТА
(57) Реферат:
Изобретение относится к системе, предназначенной для поднимания предмета и перемещения его с места на место. Система содержит вертикальную стойку, имеющую подъемный рычаг, шарнирно смонтированный на ней, груз, расположенный внутри стойки и образующий камеру, выполненную с возможностью заполнения сжатой текучей средой, и систему перемещения груза. Вертикальная стойка содержит поршень, соединенный с кареткой, смонтированной с возможностью ее скольжения по упомянутому подъемному рычагу, и элемент крепления предмета, перемещаемого посредством поднимания или опускания груза. Технический результат – расширение эксплуатационных возможностей. 19 з.п. ф-лы, 17 ил.
Область техники, к которой относится изобретение
Данное изобретение относится к устройствам для поднимания предметов и перемещения их из одного места в другое.
Уровень техники
Известно много устройств для поднятия и перемещения предметов из одного места в другое. Однако они неудобны в использовании и имеют высокую стоимость изготовления.
Раскрытие изобретения
Принципиальные аспекты и преимущества данного изобретения заключаются «в действии груза».
1. Его поднимающее движение обеспечивается с помощью низкого давления воздуха в четыре фунта на квадратный дюйм (4 PSI) или 30 Па.
2. Принцип уплотнения груза, выполненного в виде поршня, заключается в использовании трения воздуха, когда он перемещается через узкую щель. Принцип позволяет создавать давление воздуха под поршнем с использованием очень небольшого количества воздуха.
3. Другое преимущество этого принципа заключается в том, что создаваемая небольшая утечка воздуха обеспечивает центральное положение поршня в трубе и исключает действие износа между грузом и внутренними стенками стойки.
4. Наряду с обеспечением направляющего действия и уплотнения, использование этой системы утечки исключает необходимость герметизации днища поршня или использования выпускающего воздух клапана. Эта система требует лишь уменьшения или закрывания входа воздуха для обеспечения опускания груза просто под действием силы тяжести, что приводит к подниманию предмета.
5. Невозможно неправильное обращение или поломка этого оборудования за счет того, что оно может лишь поднимать предмет с использованием 99% массы груза. Трение механических элементов является причиной для 1% потерь.
6. Использование опорной стойки в качестве камеры сжатия обеспечивает непрерывное движение на 360°.
7. Близкое расположение двух шкивов каретки, удерживающей элемент крепления предмета через трос, вызывает тормозящее действие в случае попытки оператором поднять предмет слишком высоко, за счет местного угла, придаваемого тросу между каждым шкивом и элементом крепления предмета.
8. Груз может содержать переменную массу с помощью контейнера с затвором на дне, который обеспечивает быстрое опустошение:
a) этот контейнер открыт сверху. Бак, установленный наверху устройства, можно заполнять гранулированным материалом или жидкостью, используя время простоя. Затвор на его дне используется для заполнения по потребности контейнера груза;
b) способ подачи гранулированного материала или жидкости можно обеспечить с использованием небольшой конвейерной системы мощностью 0,25 л.с. (или 190 Вт) с непрерывным движением ковшов;
c) управление грузом можно осуществлять с использованием жидкостей (воды, масла, ртути) или гранулированного материала (песка, стальных шаров, полимерных шаров);
d) если выбрана ртуть, то необходимо предпринимать все возможное для исключения возможного загрязнения окружающей среды. Следует отметить, что ртуть имеет преимущество большой компактности, хотя является дорогостоящей.
Изобретение относится к системе и устройству для поднимания и перемещения предмета из одного места в другое, содержащее:
а) частично полую стойку, имеющую в основном вертикальную ось;
b) груз, расположенный внутри указанной стойки и образующий под ним камеру стойки, при этом указанная камера стойки выполнена с возможностью заполнения сжатой текучей средой;
с) систему перемещения груза для продольного перемещения вверх груза относительно указанной стойки, при этом система перемещения груза управляет давлением внутри указанной камеры стойки для избирательного расположения указанного груза в указанной стойке;
d) поперечный рычаг, соединенный с указанной стойкой с возможностью поворота вокруг указанной вертикальной оси;
е) трос, имеющий один конец, прикрепленный к указанному грузу, и другой конец, прикрепленный к указанному поперечному рычагу;
f) каретку, соединенную с указанным тросом и установленную на указанном поперечном рычаге; и
g) элемент крепления предмета, соединенный с указанным тросом, для крепления к нему предмета;
при этом предмет поднимается с помощью этого троса при перемещении вниз указанного груза относительно указанной стойки под действием силы тяжести, и опускается при перемещении вверх груза относительно указанной стойки под действием сжатой текучей среды внутри указанной камеры стойки.
Краткое описание чертежей
На чертежах изображено:
фиг.1a – подъемная система, согласно изобретению, в изометрической проекции;
фиг.1b – система, согласно фиг.1, на виде сверху;
фиг.1с – часть D на фиг.1а в увеличенном масштабе;
фиг.2 – часть В на фиг.3а в увеличенном масштабе;
фиг.3а – разрез системы по линии А-А на фиг.1b;
фиг.3b – разрез части С на фиг.3а в увеличенном масштабе;
фиг.3с – частичный разрез основания системы, согласно фиг.1а, на виде сбоку;
фиг.4 – подъемная система, согласно изобретению, в другой изометрической проекции;
фиг.5 – часть Е на фиг.4 в увеличенном масштабе;
фиг.6 – другой частичный разрез части Е на фиг.4 с удаленными частями;
фиг.7 – узел системы шкивов каретки для использования в системе, согласно изобретению, в изометрической проекции;
фиг.8 – узел системы шкивов каретки, согласно фиг.7, с удаленной частью корпуса шкивов крепежного блока, в другой изометрической проекции;
фиг.9 – рычажный узел для использования в системе, согласно изобретению, в изометрической проекции;
фиг.9b – основание для использования в системе, согласно изобретению, в изометрической проекции;
фиг.10 – узел системы тросов для использования в системе, согласно изобретению, в изометрической проекции;
фиг.11 – часть узла системы шкивов каретки для использования в системе, согласно изобретению, в изометрической проекции; и
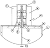
фиг.12 – частичный разрез поворотного рычажного шарнира для использования в системе, согласно изобретению.
Осуществление изобретения
Устройство состоит из, в основном, поперечного рельса 38 длиной 12 футов (или 4 м), прикрепленного к вершине стойки 2 длиной 8-12 футов (2,5-4 м) с диаметром 8 дюймов (20 см).
Рельс 38 прикреплен к стойке 2 с использованием поворотного шарнира 40, или рычажной соединительной системы, которая обеспечивает его неограниченный и беспрепятственный непрерывный поворот на 360° и более вокруг стойки и оси стойки.
В поворотном шарнире 40 предусмотрено отверстие для обеспечения свободного перемещения кабеля 29 во время поднимания или опускания груза 5. Как показано на фиг.2, 10, 11 и 12, поворотный шарнир 40 расположен в центре крышки 35, закрепленной на вершине стойки 2. Трос 29 проходит через направляющую 24 и вокруг шкива 41, который вращается вокруг горизонтальной оси 20. Подшипник 42 расположен между направляющей 24 и опорным цилиндром 21, который прикреплен к рельсу 38 болтами 23 или с помощью других известных средств. Между крышкой 35 и опорой 21 расположена распорка 22.
Отверстие в поворотном шарнире 40 обеспечивает свободное движение троса 29 во время поднимания или опускания груза.
Рельс 38 опирается на две квадратные удлиненные опоры или укосины 26 со стороной квадрата 1 дюйм (2,5 см), один продольный конец которых прикреплен к рельсу, а противоположный продольный конец которых прикреплен болтом к роликовому блоку 27 и вертикальной скобе 25, также соединенной с роликовым блоком тем же болтом 28.
Роликовый блок 27 может совершать боковое перемещение в тангенциальном направлении снаружи стойки 2 с помощью двух подшипников 12′.
Небольшая каретка 50, включающая шкивы 11, установленные на своих осях 13, колеса 12, подшипник 14 и винт 16, установленный внутри рельса 38, обеспечивает свободное перемещение нагрузки по рельсу с использованием двух в основном коаксиальных колес 12.
Конец рельса 38 снабжен насадкой 19 для закрывания отверстия и удерживания конца троса 29.
Дно стойки 2 приварено к треугольному основанию, прикрепленному посредством деталей 3-34 к полу, на каждом углу и заполненному эпоксидной смолой.
Уплотнительный элемент предпочтительно выполнен из двух пластмассовых колец 6, установленных вверху и внизу груза 5, для предотвращения трения между металлическими частями. Они выполнены с возможностью пропускания воздуха или других газов, выходящих при заданном объеме в зависимости от требований.
Система перемещения груза, такая как клапан, установленный у дна стойки, обеспечивает управление впуском воздуха, используемого для подъема груза.
Кусок резины 7, прикрепленный болтом 8 к дну груза, исключает удары при опускании.
Две ленты 17 черной жести высокой плотности внутри рельса 38 сглаживают перемещения каретки 50.
Подшипник 15 диаметром 5/8 дюйма (1,5 см) обеспечивает выравнивание каретки в раскрыве рельса 38.
Относительно небольшая масса закрепляющего предмет элемента, такого как крепежный блок 30, предотвращает соскальзывание тросов 29 с двух расположенных в основном в одной плоскости шкивов 11 посредством удерживания их в натяжении.
Данное устройство имеет три отдельные функции:
а) уравновешивание массы предмета, подлежащего подъему, с помощью груза;
d) обеспечение простого поднимания и опускания предмета оператором; и
с) перемещения предмета с радиусом между 2 и 12 футами (60 см – 4 м) на 360°.
Данное оборудование является подъемным рычагом, обеспечивающим простое обращение с любым твердым предметом, который можно удерживать с помощью дискового присоса, магнита, крюка или любой другой удерживающей системы.
Оператор может выполнять манипуляции с предметом внутри диаметра 24 футов (8 м) и управлять подъемом и опусканием с помощью дистанционного управления по радио или по проводам.
Место, в котором установлено дистанционное управление, можно использовать также в качестве ручки управления оператора у основания удерживающей системы.
Удерживающая система может иметь любую приемлемую форму.
При использовании, например, покрытого меламином листа, оператор вводит воздух под груз. В результате удерживающая система (в данном случае дисковый присос) опускается наверх листа. После того, как лист удерживается приемлемым образом, оператор выпускает воздух, и груз опускается, поднимая тем самым лист. Затем оператор может перемещать лист, куда необходимо, и снова впускает воздух для его опускания. Наконец, оператор освобождает лист и готов к следующему маневру.
Оборудование выполнено с возможностью обращения с небольшими нагрузками в пределах от 50 до 150 фунтов (20-70 кг).
Вертикальная стойка, снабженная внутри поршнем, движущимся вверх и вниз, предпочтительно под действием давления, создаваемого текучей средой, жидкой, газообразной или гранулированной, и предпочтительно выбранной из группы элементов, таких как воздух, инертные газы, синтетическое или природное масло, ртуть, вода или песок, и под действием силы тяжести, соответственно.
Указанный выше поршень, прочно соединяемый тросом с кареткой, движущейся в рельсе или на боковом рычаге, вынуждает удерживающую систему оставаться на одинаковом расстоянии от каретки, независимо от ее положения на рычаге.
Формула изобретения
1. Система для поднимания и перемещения предмета из одного места в другое, содержащая частично полую стойку, имеющую в основном вертикальную ось, груз, расположенный внутри указанной стойки и образующий под ним камеру стойки, при этом указанная камера стойки выполнена с возможностью заполнения сжатой текучей средой, систему перемещения груза для продольного перемещения вверх груза относительно указанной стойки, при этом система перемещения груза выполнена с возможностью управления давлением внутри указанной камеры стойки для избирательного расположения указанного груза в указанной стойке, поперечный рычаг, соединенный с возможностью поворота с указанной стойкой для поворота вокруг указанной вертикальной оси, трос, один конец которого прикреплен к указанному грузу, а другой конец прикреплен к указанному поперечному рычагу, каретку, соединенную с указанным тросом и установленную на указанном поперечном рычаге, и элемент крепления предмета, соединенный с указанным тросом, для крепления к нему предмета, при этом предмет поднимается с помощью этого троса при перемещении вниз указанного груза относительно указанной стойки под действием силы тяжести и опускается при перемещении вверх груза относительно указанной стойки под действием сжатой текучей среды внутри указанной камеры стойки.
2. Система по п.1, содержащая по меньшей мере одну удлиненную опору, один конец которой прикреплен к указанной стойке, а другой конец закреплен на указанном поперечном рычаге.
3. Система по п.1, дополнительно содержащая рычажную соединительную систему, установленную на указанном поперечном рычаге для соединения указанного поперечного рычага с указанной стойкой с возможностью поворота вокруг ее вертикальной оси.
4. Система по п.1, в которой указанный поперечный рычаг соединен с указанной стойкой с возможностью поворота вокруг нее на 360°.
5. Система по п.1, в которой указанная система перемещения груза включает клапан, соединенный с указанной камерой стойки, для управления давлением в ней.
6. Система по п.5, в которой указанный клапан установлен на нижнем продольном конце указанной стойки.
7. Система по п.6, в которой указанный клапан выполнен с возможностью соединения с источником сжатой текучей среды для избирательного повышения давления внутри указанной камеры стойки.
8. Система по п.7, в которой указанная сжатая текучая среда является сжатым воздухом.
9. Система по п.8, в которой давление внутри указанной камеры стойки равно или меньше 4 фунтов на квадратный дюйм (30 Па).
10. Система по п.1, в которой груз используется в качестве поршня и включает уплотнительный элемент между поршнем и стойкой.
11. Система по п.10, в которой указанный уплотнительный элемент имеет отверстие, проходящее через него, при этом указанное отверстие имеет заданную площадь для обеспечения прохождения сжатой текучей среды из указанной камеры стойки с целью по меньшей мере частичного уменьшения трения между указанным грузом и указанной стойкой.
12. Система по п.1, в которой указанный поперечный рычаг соединен с рельсом, при этом каретка установлена с возможностью свободного перемещения по указанному рельсу.
13. Система по п.12, в которой указанная каретка выполнена с возможностью удерживания указанного элемента крепления предмета на постоянном расстоянии от нее во время перемещения указанной каретки по указанному рельсу.
14. Система по п.13, в которой указанная каретка включает несколько тросовых шкивов, установленных с возможностью свободного вращения на ней, и соединенных с указанным тросом.
15. Система по п.1, в которой указанный поперечный рычаг ориентирован в основном перпендикулярно к указанной стойке.
16. Система по п.1, в которой указанный поперечный рычаг соединен с указанной стойкой с возможностью неограниченного поворотного движения вокруг указанной вертикальной оси.
17. Система по п.2, в которой указанный один конец, соединенный с возможностью перемещения с указанной стойкой, установлен на ней с возможностью качения для перемещения в тангенциальном направлении относительно нее вокруг указанной вертикальной оси.
18. Система по п.17, в которой указанный один конец, соединенный с возможностью перемещения с указанной стойкой, прикреплен к роликовому блоку, находящемуся в соприкосновении с возможностью качения с указанной стойкой для качения в тангенциальном направлении относительно нее вокруг указанной вертикальной оси.
19. Система по п.13, в которой указанная каретка содержит два ролика, входящие в соприкосновение с указанным рельсом, при этом указанные ролики расположены коаксиально относительно друг друга.
20. Система по п.14, в которой указанная каретка содержит два тросовых шкива, находящихся в зацеплении с указанным тросом, при этом указанные два тросовых шкива расположены в одной плоскости относительно друг друга.
РИСУНКИ
|