|
|
(21), (22) Заявка: 2005100732/12, 13.01.2005
(24) Дата начала отсчета срока действия патента:
13.01.2005
(30) Конвенционный приоритет:
14.01.2004 (пп.1-23) DE 102004002005.1
(43) Дата публикации заявки: 20.06.2006
(46) Опубликовано: 27.11.2006
(56) Список документов, цитированных в отчете о поиске:
US 2003172813 A1, 18.09.2003. EP 1364605 A1, 26.11.2003. WO 9523544 A1, 08.09.1995. RU 2174837 C1, 20.10.2001.
Адрес для переписки:
129010, Москва, ул. Б.Спасская, 25, стр.3, ООО “Юридическая фирма Городисский и Партнеры”, пат.пов. С.А.Дорофееву
|
(72) Автор(ы):
ШИФФЕРЛЕ Рене (CH)
(73) Патентообладатель(и):
ШИФФЕРЛЕ Рене (CH)
|
(54) КАССЕТА, СОДЕРЖАЩАЯ ОДНУ ПОРЦИЮ ПОРОШКА КОФЕ ДЛЯ ПРИГОТОВЛЕНИЯ НАПИТКА КОФЕ
(57) Реферат:
Предложена кассета, содержащая одну порцию порошка кофе для приготовления напитка кофе. Такая кассета может быть использована в аппарате стандартного кофе эспрессо для приготовления обычного напитка кофе, не имеющего пены на своей поверхности и соответствующего по вкусу нормальному фильтрованному кофе. Дно кассеты выполнено с проходом, покрытым газонепроницаемой фольгой. Фольга вручную удаляется перед тем, как кассета будет вставлена в кофейный аппарат. Между проходом и порошком кофе расположен фильтрующий элемент, предотвращающий утечку порошка кофе из кассеты. Проход должен предотвратить создание гидравлического давления в кассете, которое могло бы привести к образованию пены. 22 з.п. ф-лы, 4 ил.
Настоящее изобретение относится к кассете для размещения одной порции порошка кофе для приготовления напитка кофе. Такие кассеты хорошо известны в данной области техники в большом количестве реализации, вследствие чего кассеты для подготовки так называемого напитка кофе эспрессо особенно широко используются. Основное преимущество таких кассет можно увидеть в том, что они газонепроницаемы, вследствие чего порошок кофе содержится в них без кислорода, который может ухудшать качество порошка кофе в течение хранения кассеты. Таким образом, порошок кофе, содержащийся в таких кассетах, долгое время сохраняет свою свежесть.
Для заваривания порошка кофе, содержащегося в кассете, используются как обслуживающиеся вручную, так и полуавтоматические и автоматические кофеварки. Обычно, в кофеварке ручного управления кассета вставляется в кассетоприемник, который, в свою очередь, вставляется в кофеварку. В полуавтоматической кофеварке кассета вставляется в кассетный фиксатор или непосредственно в заварочную камеру аппарата, в соответствии с чем заварочная камера закрывается вручную средствами центрального рычажного механизма. В автоматической кофеварке, тем не менее, кассета удаляется из кассетного магазина и автоматически вставляется в заварочную камеру; после операции заваривания, кассета удаляется из заварочной камеры и выбрасывается в мусороприемник без какого-либо вмешательства. Все эти упомянутые виды кофеварок обычно содержат полый, так называемый заварочный штырь, предусмотренный с радиальными выходными отверстиями для впрыскивания заваривающей воды в кассету, который также приспособлен к пробиванию дна и крышки кассеты соответственно. Также известны обслуживаемые вручную кофеварки, в которых кассетный фиксатор предусмотрен с множеством тиснений, расположенных на выходной решетке; эти тиснения вскрывают крышку кассеты, как только заваривающая вода впрыснута в кассету с ее противоположной стороны и кассета прижата к тиснениям под влиянием дополнительного гидравлического давления, созданного давящей заваривающей водой. В течение последующей заварочной операции заваривающая вода впрыскивается в кассету посредством заварочного штыря, в результате чего она течет под давлением сквозь порошок кофе, содержащийся в кассете, и вытекает из кассеты через отверстие, образованное тиснениями.
Независимо от того, управляется ли кофеварка вручную или является полуавтоматической или полностью автоматической, кофеварка разработана и приспособлена к кассете так, чтобы производить напиток кофе, имеющий пену на своей поверхности; эта пена обычно считается признаком хорошего напитка кофе.
Несмотря на предпринятые большие усилия, направленные на создание устойчивой пены на поверхности приготовленного напитка кофе, в некоторых странах возникает желание готовить также стандартный кофе, а именно фильтрованный кофе, посредством этой кофеварки. Вместо выражения “фильтрованный кофе” используется также выражение “мягкий кофе”.
В Патентной заявке США 2003/172813 описана кассета типа, относящегося к вышесказанному. Она содержит субстанцию, извлекаемую посредством воды для приготовления напитка, предпочтительно кофе эспрессо. Таким образом, решетчатый элемент расположен между дном кассеты и субстанцией и/или между крышкой кассеты и субстанцией, и предусмотрен со множеством осевых отверстий. Решетчатый элемент оснащен тиснениями, направленными к дну кассеты и крышке кассеты соответственно, так что каналы для жидкости сформированы между решетчатым элементом и дном кассеты, и решетчатым элементом и крышкой кассеты, соответственно. В этих каналах заваривающая вода может быть распределена по всей площади поперечного сечения кассеты, и приготовленный напиток, соответственно, может быть собран в этих каналах. Чтобы предохранить решетчатый элемент от пробивания при прокалывании кассеты, решетчатый элемент содержит центральное углубление, направленное внутрь кассеты, в которое может простираться пробивающий элемент, как только крышка или дно кассеты будут проколоты. Даже если такая кассета хорошо пригодна для приготовления кофе эспрессо, она едва ли может быть использована для приготовления нормального фильтрованного кофе, так как кассета оказывает высокое сопротивление потоку заваривающей воде, протекающей сквозь нее; результатом является образование пены.
Европатент ЕР 0,326,685 раскрывает контейнер, называемый заварочной камерой, приспособленный к ликвидации после использования, являющийся складным и имеющий на дне приклеенный фильтрующий пакет, содержащий молотый кофе или чай.
Предпочтительно, контейнер делается из бумаги, картона или аналогичного материала. Дно контейнера предусмотрено с выходным отверстием, расположенным ниже фильтрующего пакета, через которое может вытекать приготовленный напиток. В предпочтительном варианте осуществления контейнера выходное отверстие покрыто снаружи удаляемой фольгой. Такой контейнер может быть пригоден в аппарате стандартного фильтрованного кофе, но не в аппарате кофе эспрессо.
Технической задачей настоящего изобретения явилось создание кассеты, содержащей одну порцию порошка кофе для приготовления напитка кофе, которая может быть использована в аппарате стандартного кофе эспрессо для приготовления обычного напитка кофе, не имеющего пены на своей поверхности и соответствующего по вкусу нормальному фильтрованному кофе.
Для решения данной технической задачи согласно настоящему изобретению создана кассета для размещения одной порции порошка кофе для приготовления напитка кофе, содержащая корпус кассеты, имеющий донную часть и покрывающую часть, в которой согласно изобретению донная часть корпуса кассеты имеет проход, который покрыт элементом из газонепроницаемой фольги, и фильтрующий элемент, расположенный внутри корпуса кассеты между порошком кофе и проходом в донной части корпуса кассеты.
Предпочтительно элемент из фольги расположен внутри корпуса кассеты между фильтрующим элементом и донной частью корпуса кассеты.
Предпочтительно кассета содержит чашеобразную нижнюю часть корпуса и покрывающий участок, герметично прикрепляемый к нижней части корпуса, причем элемент из фольги, покрывающий проход, тоньше, чем нижняя часть корпуса.
Предпочтительно чашеобразная нижняя часть корпуса кассеты имеет стабильные размеры.
Предпочтительно элемент из фольги имеет более низкую гибкость и/или прочность на разрыв, чем упомянутая чашеобразная нижняя часть кассеты.
Предпочтительно элемент из фольги является композитной фольгой, состоящей по меньшей мере из двух слоев.
Предпочтительно, по меньшей мере, один слой состоит из металла, предпочтительно алюминия.
Предпочтительно, по меньшей мере, один слой выполнен из термопластичного полимера, предпочтительно полипропилена или полиэтилена.
Предпочтительно слой, выполненный из термопластичного полимера, покрывает донную часть корпуса кассеты и приварен к ней.
Предпочтительно фольга прикреплена к внешней стороне донной части и удаляется вручную.
Предпочтительно покрывающая часть и элемент из фольги выполнены из одного и того же материала.
Предпочтительно элемент из фольги имеет цвет, который отличается от цвета донной части.
Предпочтительно фильтрующий элемент имеет стабильные размеры и содержит множество отверстий.
Предпочтительно общая площадь сечения всех отверстий упомянутого фильтрующего элемента достигает по меньшей мере 3%, в отдельных случаях 5%, от средней площади поперечного сечения кассеты, так что приготовленный напиток кофе может течь сквозь фильтрующий элемент без существенного сопротивления к проходу и из кассеты.
Предпочтительно фильтрующий элемент имеет множество каналов для сбора и слива напитка кофе, вытекающего из кассеты.
Предпочтительно кассета дополнительно содержит распределительный элемент со стабильными размерами, расположенный внутри кассеты между покрывающей частью и порошком кофе, содержащемся в кассете, причем распределительный элемент имеет множество отверстий и каналов для равномерного распределения заварочной воды, втекающей в кассету.
Предпочтительно общая площадь сечения всех упомянутых отверстий в указанном распределительном элементе достигает по меньшей мере 3%, а в отдельных случаях 5%, от средней площади поперечного сечения упомянутой кассеты.
Предпочтительно распределительный элемент и указанный фильтрующий элемент содержат тиснения, направленные внутрь кассеты для формирования каналов, в соответствии с чем отверстия расположены в каналах.
Предпочтительно каналы проходят, начиная от центральной оси, по радиусу наружу и по кругу вокруг центральной оси.
Предпочтительно, по меньшей мере, распределительный элемент установлен или сконструирован таким образом, что одно или несколько пробивающих средств могут втыкаться в покрывающую часть, не повреждая распределительный элемент.
Предпочтительно распределительный элемент содержит, по меньшей мере, одно углубление, направленное внутрь кассеты, в которое пробивающие элементы могут проходить после того, как проколют покрывающую часть.
Предпочтительно среднестатистическая величина диаметра одной частицы порошка кофе составляет от 400 до 600 микрон, в соответствии с чем диаметр отверстий, предусмотренных в фильтрующем и распределительном элементах, соответственно, меньше, чем среднестатистический диаметр одной частицы порошка кофе.
Предпочтительно на внутренней поверхности чашеобразной нижней части кассеты выполнена кольцевая канавка, в результате чего фильтрующий элемент, расположенный между проходом и порошком кофе, имеет периферийную краевую часть, взаимодействующую с указанной канавкой для зажимного фиксирования фильтрующего элемента фильтра к нижней части кассеты.
Далее варианты осуществления кассеты согласно изобретению будут описаны со ссылкой на прилагаемые чертежи, на которых:
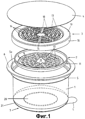
Фиг.1 – элементы кассеты для порошка кофе согласно изобретению в покомпонентном представлении;
Фиг.2 – продольный разрез первого варианта воплощения кассеты с порошком кофе согласно изобретению;
Фиг.3 – продольный разрез второго варианта осуществления кассеты с порошком кофе согласно изобретению; и
Фиг.4 – часть Фиг.3 в увеличенном масштабе.
Кассета с порошком кофе согласно Фиг.1 содержит нижнюю часть 1 чашеобразной формы, нижний фильтрующий элемент 2, верхний распределительный элемент 3 и покрывающий элемент 4 кассеты. На Фиг.1 не показан порошок кофе, который должен быть размещен в нижней части 1 кассеты между фильтрующим элементом 2 и распределительным элементом 3. Фильтрующий элемент 2 и распределительный элемент 3 стабильны по размерам и имеют, по существу, дискообразную форму; предпочтительно они производятся в процессе длительной прокатки.
Верхняя область нижней части 1 кассеты, слегка расщиряющаяся по корпусу к его вершине, имеет расширенный участок 5, образующий кольцевое плечо 5а на внутренней поверхности кассеты, служащее для поддержки верхнего распределительного элемента 3. Вверху чашеобразная часть 1 кассеты содержит периферийный краевой участок 6, на котором крепится крышка 4, предпочтительно путем приваривания. Как схематически показано на Фиг.1 пунктирными линиями, дно 7 чашеобразной части 1 кассеты выполнено с круглым отверстием 20 для формирования прохода 22, который покрыт фольгой 21. Фольга 21 содержит клапан L, выступающий сбоку из чашеобразной части 1 кассеты и облегчающий ручное удаление фольги 21. Чашеобразная часть 1 кассеты и крышка 4 так же, как и фольга 21, состоят из газонепроницаемого многослойного композитного материала, благодаря чему нижняя часть 1, по сравнению с крышкой 4 и фольгой 21, имеет устойчивые размеры, является сравнительно жесткой, гибкой и упругой.
После того как отверстие 20 покрыто фольгой 21 и после того как крышка приварена к периферийному краевому участку 6 чашеобразной части 1 кассеты, сама кассета и, таким образом, ее содержимое воздухонепроницаемо запечатаны. Все эти материалы из фольги, использованные для производства нижней части 1 кассеты, крышки 4 и фольги 21, предпочтительно содержат по меньшей мере один газонепроницаемый слой, а также слой термопластичного полимера. Слои термопластичного полимера легко привариваются друг к другу, например, под влиянием тепла или ультразвука.
Фильтрующий элемент 2, имеющий по существу блюдцеобразную форму, имеет периферийный краевой участок 11 и содержит множество тиснений 9, имеющих по существу форму кольцевидных сегментов и выступающих вниз над дном фильтрующего элемента 2. Как только фильтрующий элемент 2 установлен в чашеобразную часть 1, тиснения 9 встают на дно части 1 кассеты. Таким образом, между тиснениями 9 и дном части 1 кассеты образуется набор каналов 17, которые проходят относительно центральной вертикальной оси по радиусу от центральной оси и по кругу вокруг нее. В областях между тиснениями 9, в области каналов 17, предусмотрен фильтрующий элемент 2 со множеством отверстий 8. В центре фильтрующего элемента 2 предусмотрено центральное углубление 10 в форме конуса, направленного внутрь кассеты.
Верхний распределительный элемент 3 также содержит множество тиснений 13, имеющих по существу форму кольцевидных сегментов и выдающихся вверх над верхушкой распределительного элемента 3. Между тиснениями 13 наверху распределительного элемента 3 сформированы каналы 18 для жидкости, проходящие относительно центральной вертикальной оси по радиусу от центральной оси и по кругу вокруг нее. В областях между тиснениями 13, в области каналов 18, распределительный элемент 3 имеет множество отверстий 14. В центре распределительного элемента 3 имеется центральное конусообразное углубление 15, направленное внутрь кассеты. Вдоль своей периферии распределительный элемент 3 имеет кольцевой поверхностный участок 19, слегка поднятый по отношению к каналам 18 для жидкости и по существу находящийся на одном уровне с тиснениями 13. Край кольцевого поверхностного участка 19 содержит кольцевой участок 16, расширяющийся вниз от поверхностного участка 19.
После введения верхнего распределительного элемента 3 в нижнюю чашеобразную часть 1 кассеты, распределительный элемент 3 устанавливается своим участком 16 на плече 5а расширенного участка 5 части 1 кассеты. При подаче заваривающей воды в кассету для приготовления напитка кофе, распределительный элемент 3, в частности, служит для равномерного распределения заваривающей воды по всей площади поперечного сечения кассеты, тогда как нижний фильтрующий элемент 2 предотвращает утечку любых частиц порошка кофе из кассеты. К тому же верхний распределительный элемент 3 также служит в качестве фильтра, тогда как нижний фильтрующий элемент 2 также служит для сбора и слива в центре приготовленного напитка кофе.
Чтобы достичь оптимального распределения заваривающей воды по всей площади поперечного сечения кассеты и, таким образом, равномерного пропитывания порошка кофе, содержащегося в кассете, как отверстия 14, предусмотренные в распределительном элементе 3, так и отверстия 8 в фильтрующем элементе 2 равномерно распределены по соответствующей поверхности элемента 3 и элемента 2, соответственно. Общая сумма площади сечений отверстий 14, предусмотренных в распределительном элементе, достигает по меньшей мере 3%, предпочтительно 5% от общей площади поперечного сечения кассеты. То же соотношение является также верным для нижнего фильтрующего элемента 2. Такая конструкция обеспечивает протекание заваривающей воды сквозь распределительный элемент 3 внутрь кассеты без какого-либо существенного сопротивления, причем приготовленный напиток кофе может течь сквозь нижний фильтрующий элемент 2 из кассеты также без какого-либо существенного сопротивления. Более того, отверстие 20 в дне 7 кассеты гарантирует, что в начале и в течение заварочной операции отсутствует гидравлическое давление. Благодаря такой конструкции можно наверняка избежать образования пены в готовом напитке кофе.
Тем не менее, размер отверстий 8, 14 в фильтрующем и распределительном элементах 2, 3 не следует выбирать настолько большим, что порошок кофе может давать утечку из кассеты. С этой целью диаметр одного отверстия 8, 14 делается немного меньшим, чем среднестатистическая величина диаметра одной частицы порошка кофе. Чтобы не создавать заваривающей воде высокого сопротивления, когда она течет сквозь порошок кофе, содержащийся в кассете, порошок кофе смолот сравнительно грубо. Среднестатистическая величина одной частицы порошка кофе в настоящем примере составляет от 400 до 600 микрон.
Предпочтительно, фольга 21 имеет цвет, который отличается от цвета кассеты. Цвет фольги 21 может быть выбран, например, чтобы определять содержимое кассеты. Другими словами, в зависимости от количества кофе, содержащегося в кассете, смеси кофе или степени помола, для фольги выбираются разные цвета.
Фиг.2 показывает продольное сечение кассеты на Фиг.1, в соответствии с чем кассета заполнена порошком кофе КР. Порошок кофе КР заключен в кассете между нижним фильтрующим элементом 2 и верхним распределительным элементом 3. Как можно видеть на Фиг.2, каналы 17 для жидкости, в которые подготовленный напиток кофе может течь сквозь отверстие 8, предусмотренное в нижнем фильтрующем элементе 2, сформированы тиснениями 9 нижнего фильтрующего элемента 2, стоящего на дне 7 чашеобразной нижней части 1 кассеты. Аналогично, каналы 18 для жидкости, посредством которых заваривающая вода равномерно распределяется по верху порошка кофе, чтобы течь сквозь отверстия 14 для пропитывания порошка кофе, сформированы между распределительным элементом 3 и крышкой 4 кассеты посредством тиснений 13, предусмотренных в распределительном элементе 3. Из-за того что как распределительный элемент 3, так и фильтрующий элемент 2 имеют стабильные размеры, каналы 17, 18 сохраняются, даже если внешние силы влияют на крышку 4 и дно 7 кассеты. Понятно, что фольга 21 удаляется с дна 7 кассеты до ввода последней в кофейный аппарат, как показано на Фиг.2 пунктирными линиями.
Как только фольга 21 удалена, кассета может быть введена внутрь заварочной камеры кофейного аппарата (не показано). Для пробивания кассеты пробивающее средство, например, в форме пронизывающей иглы 23, опускается к крышке 4 кассеты и прокалывает последнюю. Таким образом, пронизывающая игла 23 движется сквозь крышку 4 в углубление 15, предусмотренное в распределительном элементе 3, тем самым избегая любого повреждения распределительного элемента 3. Для подачи заваривающей воды 24 во внутренность кассеты пронизывающая игла 23 выполнена с центральным каналом, открывающимся в радиальные выходные отверстия.
В данном случае допускается, что заваривающая вода 24 течет сквозь кассету от ее верха до ее дна. Посредством каналов 18 для жидкости заваривающая вода равномерно распределяется по всему поперечному сечению кассеты. Через отверстие 14, предусмотренное в верхнем распределительном элементе 3, заваривающая вода проникает внутрь кассеты, чтобы течь сквозь порошок кофе. Через отверстие 8 в нижнем фильтрующем элементе 2 приготовленный напиток кофе проникает в пространство ниже фильтрующего элемента 2 и вытекает из кассеты через проход 22, образованный отверстием 20; затем он проводится не показанными далее средствами к выходу для напитка кофе из кофейного аппарата.
Посредством установки раскрытых распределительного элемента 3 и фильтрующего элемента 2 обеспечивается то, что частицы кофе, содержащиеся в кассете, однородно пропитываются, результатом чего является оптимальная экстракция всего порошка кофе. Тиснения 9, 13 распределены так, что соответствующий элемент 2, 3 покоится как плоскость на дне 7 кассеты и на крышке 4 кассеты, соответственно. Тем самым обеспечивается, что каналы 17, 18 для жидкости сохраняют свою форму между элементом 2 и дном 7 и элементом 3 и крышкой 4 соответственно, даже если внешние силы прикладываются к кассете.
Диаметр отверстий 8, 14, предусмотренных в распределительном элементе 3 и фильтрующем элементе 2, соответственно, предпочтительно меньше, чем статистический диаметр одной частицы порошка кофе, предпочтительно меньше, чем х- , где х – величина среднего арифметического диаметра, а – среднеквадратичное отклонение. Тем самым гарантируется, что по существу никакие частицы кофе не могут давать утечку из кассеты, независимо от размера отверстия, которое пробивается в крышке 4 пронизывающей иглой 23.
Фиг.3 показывает продольный разрез второго варианта осуществления кассеты, заполненной порошком кофе КР, в соответствии с чем ссылочные позиции частей и элементов те же, что и использованные на Фиг.1 и 2, но с добавленной буквой “а”. Существенное отличие варианта осуществления, показанного на Фиг.1 и 2, состоит в том, что проход 22а, образованный отверстием 20а, покрывается не снаружи кассеты фольгой, которая удаляется вручную, а фольгой 21а, расположенной на внутренней стороне дна 7а кассеты и покрывающей проход 22а, причем фольга 21а пробивается пронизывающей иглой 35 до начала заварочной операции. Чашеобразная нижняя часть 1а кассеты имеет слегка куполообразно выгнутое наружу дно 7а, окруженное по своему внешнему краю периферийным кольцевым краевым участком 26. Диаметр отверстия 20а, предусмотренного в дне 7а кассеты, меньше, чем соответствующее отверстие 20 в первом варианте осуществления. Фольга 21а для покрытия отверстия 20а расположена внутри кассеты между фильтрующим элементом 2а и дном 1а кассеты.
В то время как чашеобразная нижняя часть 1а кассеты является сравнительно жесткой, со стабильными размерами, гибкой и упругой, фольга 21а является по сравнению с ней более тонкой и имеет меньшую упругость, гибкость и прочность на разрыв. Тем самым гарантируется, что фольга 21а легко разрывается под влиянием пронизывающей иглы 35. Чтобы поддерживать фольгу 21а сравнительно тонкой, она делается из двухслойного материала. Комбинация слоя алюминия и слоя термопластичного полимера оказалась особенно предпочтительной. В качестве термопластичного полимера в частности пригодны полипропилен или полиэтилен. Путем образования слоя алюминия может быть достигнуто очень хорошее газонепроницаемое запечатывание, тогда как слой термопластичного полимера дает возможность приваривания фольги к дну 7а кассеты.
Более того, во втором варианте осуществления чашеобразная нижняя часть 1а кассеты имеет круговую канавку 27, расположенную внутри нижнего участка 1а, тогда как край 11а фильтрующего элемента 2а имеет периферийный кольцевой выступ 28, взаимодействующий с канавкой 27, чтобы зафиксировать зажимом элемент фильтра 2а внутри кассеты.
Фиг.4 показывает часть Фиг.3 в увеличенном масштабе, особенно участок дна 7а кассеты вместе с предусмотренным в нем отверстием 20а и фольгу 21а, покрывающую отверстие 20а. На этой иллюстрации можно ясно видеть, что как нижняя часть 1а кассеты, так и фольга 21а содержат множественные слои. В то время как нижняя часть 1а и, тем самым, дно 7а кассеты состоят из трехслойного составного материала, фольга 21а содержит два слоя. В материале, составляющем нижнюю часть 1а кассеты, два внешних слоя 29 и 31 состоят из термопластичного полимера, тогда как промежуточный слой 30 состоит из газонепроницаемой фольги, например EVOH (этилен-виниловый спирт). Нижний слой 32 фольги 21а, обращенный ко дну 7а кассеты, также состоит из термопластичного полимера, тогда как верхний слой 33, обращенный внутрь кассеты, состоит из алюминия. Поскольку оба обращенных друг к другу слоя 31, 32 дна 7а кассеты и фольги 21а, соответственно, состоят из термопластичного полимера, эти два слоя 31, 32 могут быть легко приварены друг к другу. Фольга 21а имеет, по сравнению с составным материалом чашеобразной нижней части 1а кассеты, сравнительно низкую гибкость, упругость и прочность на разрыв.
Фольга 21а, видимая снаружи через отверстие 20а, предпочтительно имеет иной цвет, чем сама кассета. После того, как фольга 21а и крышка 4 приварены к нижней части 1а кассеты, кассета и, тем самым, ее содержимое, газонепроницаемо запечатаны.
Из-за того, что фольга 21а сравнительно тонкая и не проявляет высокую гибкость, упругость или прочность на разрыв, она может быть легко пробита пронизывающей иглой. Таким образом, гарантируется, что в полностью автоматическом аппарате для кофе эспрессо могут использоваться как стандартные кассеты с порошком кофе, пригодные для приготовления кофе эспрессо, имеющего пену на своей поверхности, так и обсуждавшиеся выше кассеты с порошком кофе, пригодные для приготовления обычного кофе без пены. В любом случае, фольга разработана так, что она пробивается пронизывающей иглой даже при относительно малом усилии, тогда как стандартная, цельная кассета с порошком кофе, и особенно ее дно, имеет такую конструкцию, что дно в первой фазе эластично деформируется и пробивается только под воздействием давления заваривающей среды. Такое эластичное поведение дна стандартной кассеты гарантирует, что происходит начальная дозаварочная фаза. С ее завершением заваривающая вода подается внутрь кассеты, дно которой все еще закрыто, создавая таким образом добавочное давление внутри кассеты, чтобы пропитывать и, если предназначено, вызывать набухание порошка кофе, прежде чем будет пробито дно кассеты, в соответствии с чем приготовленный напиток кофе вытекает из кассеты с образованием пены.
Всякий раз, когда выше было использовано выражение “аппарат кофе эспрессо”, оно в целом подразумевает кофейный аппарат, имеющий заварочную камеру, приспособленную для размещения кассеты с порошком кофе, и насос для подачи воды под давлением в кассету, независимо от того, используется ли аппарат кофе эспрессо для приготовления “малого” кофе эспрессо или “большего” кофе. В любом случае, напитки кофе, приготовленные в аппарате кофе эспрессо, характеризуются тем, что они имеют пену на поверхности. Тем не менее, посредством кассеты с порошком кофе согласно настоящему изобретению, можно приготовить напиток кофе, не проявляющий никакой пены и имеющий вкус, весьма близкий к фильтрованному напитку кофе, даже используя стандартный аппарат кофе эспрессо, разработанный для приготовления кофе эспрессо с использованием специальных кассет эспрессо.
Формула изобретения
1. Кассета для размещения одной порции порошка кофе для приготовления напитка кофе, содержащая корпус кассеты, имеющий донную часть и покрывающую часть, отличающаяся тем, что указанная донная часть упомянутого корпуса кассеты имеет проход, который покрыт элементом из газонепроницаемой фольги, и фильтрующий элемент, расположенный внутри упомянутого корпуса кассеты между порошком кофе и проходом в упомянутой донной части корпуса кассеты.
2. Кассета по п.1, отличающаяся тем, что упомянутый элемент из фольги расположен внутри корпуса кассеты между упомянутыми фильтрующим элементом и донной частью корпуса кассеты.
3. Кассета по п.1, отличающаяся тем, что она содержит чашеобразную нижнюю часть корпуса и покрывающий участок, герметично прикрепляемый к нижней части корпуса, причем элемент из фольги, покрывающий упомянутый проход, тоньше, чем указанная нижняя часть корпуса.
4. Кассета по п.3, отличающаяся тем, что упомянутая чашеобразная нижняя часть корпуса кассеты имеет стабильные размеры.
5. Кассета по п.4, отличающаяся тем, что упомянутый элемент из фольги имеет более низкую гибкость и/или прочность на разрыв, чем упомянутая чашеобразная нижняя часть кассеты.
6. Кассета по п.1, отличающаяся тем, что упомянутый элемент из фольги является композитной фольгой, состоящей по меньшей мере из двух слоев.
7. Кассета по п.6, отличающаяся тем, что по меньшей мере один слой состоит из металла, предпочтительно алюминия.
8. Кассета по п.6, отличающаяся тем, что по меньшей мере один слой выполнен из термопластичного полимера, предпочтительно полипропилена или полиэтилена.
9. Кассета по п.8, отличающаяся тем, что упомянутый слой, выполненный из термопластичного полимера, покрывает упомянутую донную часть корпуса кассеты и приварен к ней.
10. Кассета по п.1, отличающаяся тем, что упомянутая фольга прикреплена к внешней стороне донной части и удаляется вручную.
11. Кассета по п.1, отличающаяся тем, что покрывающая часть и элемент из фольги выполнены из одного и того же материала.
12. Кассета по п.1, отличающаяся тем, что элемент из фольги имеет цвет, который отличается от цвета донной части.
13. Кассета по п.1, отличающаяся тем, что фильтрующий элемент имеет стабильные размеры и содержит множество отверстий.
14. Кассета по п.13, отличающаяся тем, что общая площадь сечения всех отверстий упомянутого фильтрующего элемента достигает по меньшей мере 3%, в отдельных случаях 5% от средней площади поперечного сечения кассеты, так что приготовленный напиток кофе может течь сквозь упомянутый фильтрующий элемент без существенного сопротивления к проходу и из кассеты.
15. Кассета по любому из пп.13, 14, отличающаяся тем, что упомянутый фильтрующий элемент имеет множество каналов для сбора и слива напитка кофе, вытекающего из кассеты.
16. Кассета по п.1, отличающаяся тем, что дополнительно содержит распределительный элемент со стабильными размерами, расположенный внутри упомянутой кассеты между указанной покрывающей частью и порошком кофе, содержащемся в кассете, причем указанный распределительный элемент имеет множество отверстий и каналов для равномерного распределения заварочной воды, втекающей в кассету.
17. Кассета по п.16, отличающаяся тем, что общая площадь сечения всех упомянутых отверстий в указанном распределительном элементе достигает по меньшей мере 3%, а в отдельных случаях 5% от средней площади поперечного сечения упомянутой кассеты.
18. Кассета по любому из пп.15, 16, отличающаяся тем, что указанный распределительный элемент и указанный фильтрующий элемент содержат тиснения, направленные внутрь кассеты для формирования упомянутых каналов, в соответствии с чем указанные отверстия расположены в упомянутых каналах.
19. Кассета по любому из пп.15, 16, отличающаяся тем, что указанные каналы проходят, начиная от центральной оси, по радиусу наружу и по кругу вокруг центральной оси.
20. Кассета по п.16, отличающаяся тем, что по меньшей мере указанный распределительный элемент установлен или сконструирован таким образом, что одно или несколько пробивающих средств могут втыкаться в покрывающую часть, не повреждая упомянутый распределительный элемент.
21. Кассета по п.20, отличающаяся тем, что распределительный элемент содержит по меньшей мере одно углубление, направленное внутрь кассеты, в которое пробивающие элементы могут проходить после того, как проколют покрывающую часть.
22. Кассета по любому из пп.13, 16, отличающаяся тем, что среднестатистическая величина диаметра одной частицы порошка кофе составляет от 400 до 600 мкм, в соответствии с чем диаметр отверстий, предусмотренных в фильтрующем и распределительном элементах, соответственно меньше чем среднестатистический диаметр одной частицы порошка кофе.
23. Кассета по п.1, отличающаяся тем, что на внутренней поверхности упомянутой чашеобразной нижней части кассеты выполнена кольцевая канавка, в результате чего упомянутый фильтрующий элемент, расположенный между упомянутым проходом и порошком кофе, имеет периферийный кольцевой выступ, взаимодействующий с указанной канавкой для зажимного фиксирования фильтрующего элемента фильтра к указанной нижней части кассеты.
РИСУНКИ
PC4A – Регистрация договора об уступке патента СССР или патента Российской Федерации на изобретение
Прежний патентообладатель:
ШИФФЕРЛЕ Рене (CH)
(73) Патентообладатель:
КАФФИТА СИСТЕМ СПА (IT)
Договор № РД0018848 зарегистрирован 19.02.2007
Извещение опубликовано: 27.03.2007 БИ: 09/2007
|
|