|
|
(21), (22) Заявка: 2002106599/12, 15.03.2002
(24) Дата начала отсчета срока действия патента:
15.03.2002
(30) Конвенционный приоритет:
19.03.2001 (пп.1-22) GB 0106725.5
(43) Дата публикации заявки: 10.09.2003
(46) Опубликовано: 27.11.2006
(56) Список документов, цитированных в отчете о поиске:
US 5454758 А, 03.10.1995. RU 2073967 C1, 27.02.1997. US 4178943 А, 18.12.1979. SU 946447 А, 30.07.1982. US 5145462 А, 08.09.1992. US 3602230 А, 31.08.1971. US 3556108 А, 19.01.1971. DE 3535427 А1, 09.04.1987.
Адрес для переписки:
191186, Санкт-Петербург, а/я 230, “АРС-ПАТЕНТ”, пат.пов. В.М.Рыбакову
|
(72) Автор(ы):
ВИЗАДЖИ Андри (ZA), БАРРЕЛЬМЕЙЕР Томас (DE)
(73) Патентообладатель(и):
КЛААС Зельбстфаренде Эрнтемашинен ГмбХ (DE)
|
(54) ЗЕРНОУБОРОЧНЫЙ КОМБАЙН (ВАРИАНТЫ)
(57) Реферат:
Изобретения относятся к сельскохозяйственному машиностроению и могут быть использованы при создании зерноуборочных комбайнов. Зерноуборочный комбайн содержит расположенный в продольном направлении корпус с размещенным внутри него сепарирующим ротором. Корпус ротора имеет загрузочную зону для подачи убранной массы над валом сепарирующего ротора, зону сепарирования с просеивающими средствами и разгрузочную зону на разгрузочном конце корпуса ротора. Сепарирующий ротор имеет шнековые лопасти в загрузочной зоне. Для подачи убранной массы в корпус ротора через питающее отверстие над сепарирующим ротором предусмотрен вращающийся элемент с поперечной осью вращения. Питающее отверстие окружено металлическим листом, проходящим по ширине корпуса питателя и выполненным по меньшей мере частично соответствующим окружной конфигурации вращающегося элемента. Питающее отверстие выполнено более широким в нижней части, чем сверху. За счет подачи убранной массы из корпуса питателя в корпус ротора из положения над валом сепарирующего ротора обеспечивается высокая производительность при уборке различных зерновых культур. 2 н. и 20 з.п. ф-лы, 3 ил.
Область техники, к которой относится изобретение
Настоящее изобретение относится к зерноуборочному комбайну, содержащему корпус питателя для подачи убранной массы от переднего конца по меньшей мере к одному сепарирующему узлу или аппарату, который содержит приводимый во вращение сепарирующий ротор, расположенный в корпусе ротора с загрузочной зоной, где убранная масса подается в корпус ротора из положения над валом сепарирующего ротора, с зоной сепарирования с просеивающими средствами, размещенными в корпусе ротора в этой зоне сепарирования, и с разгрузочной зоной, которая расположена на разгрузочном конце корпуса ротора.
Уровень техники
Зерноуборочный комбайн такого типа с осевым потоком убранной массы известен из патента США №3464419. Согласно описанию к этому патенту на зерноуборочный комбайн с осевым потоком убранная масса подавалась в корпус ротора из положения над валом сепарирующего ротора. Для облегчения подачи потока убранной массы в корпус ротора был предложен фасонный кожух, образующий проход с донной поверхностью над валом цилиндра комбайна с осевым потоком. Однако подача убранной массы в корпус ротора не обеспечивалась должным образом, и в появившихся позднее на рынке комбайнах с осевым потоком убранной массы была предусмотрена загрузка убранной массы в корпус ротора через его переднюю часть или снизу от корпуса ротора.
Пример подачи убранной массы в корпус ротора зерноуборочного комбайна с осевым потоком убранной массы показан в патентном документе ГДР №216846. Для передачи убранной массы от корпуса питателя в корпус осевого ротора предусмотрен загрузочный лист или поддон, расположенный у донной части переднего конца корпуса ротора. При этом убранная масса подается в корпус ротора в нижней области поперечного сечения корпуса ротора. Загрузочный лист имеет специальную конфигурацию для облегчения передачи убранной массы в корпус ротора. На одной боковой стороне загрузочного листа зерно закручивается с подачей в донную часть ротора с помощью конусной части. На другой стороне корпуса ротора имеется пандус, который поднимает убранную массу и подает ее в ротор с более высокого положения. Зерно из средней области вводится в ротор с помощью треугольной площадки основания с большим вылетом.
В международной патентной заявке PCT/US97/02432 описан новый принцип отделения зерновой фракции от фракций соломы и половы в убранной массе. На чертежах в упрощенной форме показано, что убранная масса должна подаваться в корпус ротора сверху. Однако в данном документе не раскрыто подробно, каким образом обеспечивается надежная работа системы при всех рабочих условиях уборки зерновых.
Сущность изобретения
Задача, на решение которой направлено настоящее изобретение, заключается в создании конструкции зерноуборочного комбайна с загрузочной зоной, дающей возможность подачи убранной массы из корпуса питателя в корпус ротора из положения над валом сепарирующего ротора с высокой производительностью и надежным функционированием для любого вида зерновых культур.
Решение поставленной задачи достигается в зерноуборочный комбайне, содержащем корпус питателя для подачи убранной массы от переднего конца к по меньшей мере одному сепарирующему узлу или аппарату. Сепарирующий аппарат содержит приводимый во вращение сепарирующий ротор, расположенный в корпусе ротора. Корпус ротора имеет загрузочную зону, где убранная масса подается в корпус ротора из положения над валом сепарирующего ротора, зону сепарирования с просеивающими средствами, размещенными в корпусе ротора в этой зоне сепарирования, и разгрузочную зону, которая расположена на разгрузочном конце корпуса ротора. В соответствии с изобретением, ротор оснащен шнековыми лопастями в загрузочной зоне, кроме того, предусмотрен вращающийся элемент с поперечной осью вращения, расположенной выше, чем передний консольный конец вала сепарирующего ротора, при этом указанный вращающийся элемент подает убранную массу снизу под своей осью вращения к питающему отверстию, питающее отверстие окружено металлическим листом, который выступает вверх до ширины корпуса питателя и выполнен по форме с вогнутым изгибом таким образом, что он по меньшей мере частично соответствует окружной конфигурации вращающегося элемента, а питающее отверстие выполнено более широким в нижней части, чем сверху.
Здесь необходимо заметить, что термин «сепарирующий ротор» не является ограничивающим понятием. Этот термин использован для упрощения описания. Следует понимать, что понятие «сепарирующий ротор» охватывает также молотильные элементы и выполняемые этими элементами молотильные функции, а также захватные элементы, которые могут быть укреплены на валу сепарирующего ротора, и выполняемые этими элементами функции захвата убранной массы в корпус ротора. Следует также отметить, что сепарирующий ротор не обязательно должен выполняться в виде единого изделия. Он может быть сборным из отдельных секций, которые соединены между собой, скомбинированы по функциональному назначению или установлены на отдельных опорных элементах.
В другом варианте изобретения решение поставленной задачи достигается в зерноуборочный комбайне, содержащем корпус питателя для подачи убранной массы от переднего конца к по меньшей мере одному сепарирующему узлу или аппарату. Сепарирующий аппарат содержит приводимый во вращение сепарирующий ротор, расположенный в корпусе ротора. Корпус ротора имеет загрузочную зону, где убранная масса подается в корпус ротора из положения над валом сепарирующего ротора, зону сепарирования с просеивающими средствами, размещенными в корпусе ротора в этой зоне сепарирования, и разгрузочную зону, которая расположена на разгрузочном конце корпуса ротора. В соответствии с изобретением, сепарирующий ротор оснащен шнековыми лопастями в загрузочной зоне, при этом предусмотрен вращающийся элемент с поперечной осью вращения, расположенной выше, чем передний консольный конец вала сепарирующего ротора, и вращающийся элемент подает убранную массу снизу под своей осью вращения к питающему отверстию, причем вращающийся элемент размещен в задней части корпуса питателя, а ось вращения вращающегося элемента совпадает с осью поворота корпуса питателя. В такой компоновке достаточно использовать всего два вращающихся элемента для транспортирования убранной массы от переднего конца до питающего отверстия корпуса ротора. Такая компоновка очень эффективна и проста.
Дополнительная особенность изобретения состоит в том, что в питающем отверстии могут быть образованы несколько площадок, которые направляют убранную массу в пространства, образуемые шнековыми лопастями сепарирующего ротора. Эти площадки направляют убранную массу на различные по высоте уровни питающего отверстия, так что убранная масса хорошо принимается сепарирующим ротором и может быть обеспечен плавный переход от линейного движения к спиральному или винтовому движению.
Дополнительное преимущество создает уменьшение диаметра шнековых лопастей по направлению вперед. С одной стороны, за счет этого сепарирующий ротор может проходить вниз до очень низкого уровня без риска того, что кромки шнековых лопастей ограничат клиренс комбайна. Другой стороны, преимущество заключается в том, что окружная скорость на кромках шнековых лопастей вследствие меньшего диаметра является более низкой на переднем конце сепарирующего ротора и увеличивается по направлению назад с увеличением диаметра. За счет более низкой скорости на переднем конце сепарирующего ротора снижается повреждение зерна. Процесс ускорения растянут вдоль длины сепарирующего ротора. И наконец, что не менее важно, это создает лучшую координацию между шнековыми лопастями и окружностью, описываемой вращающимся элементом, который подает убранную массу в питающее отверстие. Вблизи этой описываемой вращающимся элементом окружности могут находиться более удаленные от конца и находящиеся на более высоком уровне части шнековых лопастей, так что достигается более интенсивное взаимодействие между этими элементами в зоне передачи через питающее отверстие.
Согласно другой особенности изобретения кромка питающего отверстия по границе с металлическим листом выполнена в форме длинной дуги на той стороне, где сепарирующий ротор следует вниз, при этом конфигурация указанной дуги несимметрична относительно противоположной стороны. Такая конфигурация питающего отверстия обусловлена тем, что на той стороне, где сепарирующий ротор следует при своем вращении вниз, размер питающего окна для подачи убранной массы в корпус ротора должен быть выдержан небольшим и близким к нижнему основанию. Тогда убранная масса, которая тангенциально выбрасывается с вращающегося элемента, идет прямо в питающее отверстие без транспортирования вверх и риска забивания или совершения полного оборота на вращающемся элементе.
Согласно еще одной особенности изобретения зазор между окружной формой вращающегося элемента и окружной формой вращающихся шнековых лопастей составляет меньше 15 см в месте их наибольшего приближения. При таком приближении шнековые лопасти срезают убранную массу с окружности вращающегося элемента.
Предложено также, чтобы был предусмотрен пруток с криволинейной поверхностью, укрепленный по меньшей мере вдоль части кромки питающего отверстия. Такой пруток может дополнительно способствовать счесыванию убранной массы с вращающегося элемента и направлению ее в питающее отверстие. Криволинейная поверхность устраняет повреждение зерна и не так подвержена износу.
Согласно другому примеру выполнения предусмотрены направляющие прутки на внутренней поверхности корпуса ротора. Эти направляющие прутки стабилизируют постоянный поток убранной массы и способствуют переходу от линейного или тангенциального потока к спиральному или винтовому потоку убранной массы вокруг сепарирующего ротора.
В оптимальном примере выполнения на той стороне, где сепарирующий ротор следует вверх, в площадке предусмотрено поперечно направленное возвышение или порог. Такое возвышение создается в том случае, если на той стороне, где сепарирующий ротор следует вверх, площадка проходит до уровня расположения центральной линии сепарирующего ротора или под ней, так что убранная масса направляется через возвышение к более высоким уровням сепарирующего ротора. В качестве дополнительного преимущества возвышение может использоваться для размещения вала передачи мощности от сепарирующего ротора к корпусу питателя, к режущему аппарату на переднем конце или к другим рабочим компонентам или генераторам.
Далее, предлагается использовать заднюю стенку площадки для крепления опорного подшипника для сепарирующего ротора или для установки элемента, приводимого валом сепарирующего ротора.
Далее, могут быть предусмотрены направляющие прутки, прикрепленные к основанию корпуса питателя или к окружающему металлическому листу. Такие направляющие прутки расположены наклонно, так что их концы направлены к питающему отверстию корпуса ротора.
Перечень чертежей
Пример осуществления настоящего изобретения будет подробнее описан ниже со ссылками на прилагаемые чертежи, на которых:
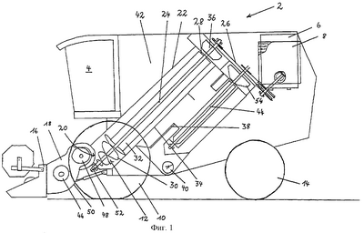
фиг.1 изображает самоходный зерноуборочный комбайн на виде сбоку,
фиг.2 изображает более подробно корпус питателя в области подачи,
фиг.3 изображает на виде в перспективе питающее отверстие в корпусе питателя и окружающий его металлический лист.
Сведения, подтверждающие возможность осуществления изобретения
Представленный на фиг.1 зерноуборочный комбайн 2 содержит кабину 4 водителя, двигатель 6 с системой 8 охлаждения, передние колеса 10 с осью 12 вращения и задние колеса 14. Зерноуборочный комбайн оснащен также передним оборудованием, которое показано здесь в виде режущего аппарата 16, но может представлять собой любое другое оборудование в виде подборщиков, зерновых жаток и подобных аппаратов, и корпусом 18 питателя для подачи убранной массы от режущего аппарата 16 в питающее или загрузочное отверстие 20 корпуса 22 ротора, который является частью сепарирующего узла. Внутри корпуса 22 ротора расположен сепарирующий ротор 24, приводимый во вращение от двигателя 6 с помощью приводных элементов 26, которые показаны здесь в виде ременных передач. По направлению вдоль оси вращения сепарирующего ротора 24 от питающего отверстия 20 к разгрузочному концу корпуса 22 ротора передняя секция сепарирующего ротора 24 содержит шнековые лопасти 30, которые примерно определяют длину загрузочной зоны, где убранная масса подается в корпус 22 ротора. Средняя и задняя секции сепарирующего ротора 24 оснащены бильными пластинами 32, которые примерно определяют длину зоны сепарирования вдоль длины корпуса 22 ротора. Следует отметить, что органы для подачи убранной массы в корпус ротора и для обмолота и сепарирования убранной массы могут быть отличными от шнековых лопастей или бильных пластин 32, которые упомянуты здесь в качестве примеров выполнения. Очевидно, что специалист в данной области может выбрать другие известные органы для выполнения желаемых функций.
Донная часть корпуса 22 ротора содержит просеивающие средства 34, через которые из корпуса 22 ротора могут выходить зерно и полова. Всасывающий вентилятор 36 всасывает воздушный поток по меньшей мере через просеивающие средства в зону сепарирования корпуса 22 ротора и далее к разгрузочной зоне 28, из корпуса 22 ротора и из комбайна 2. Всасывающий вентилятор 36 работает в координации с сепарирующим ротором 24. Корпус 22 ротора, сепарирующий ротор 24 и всасывающий вентилятор 36 вместе образуют основные компоненты сепарирующего узла или сепарирующего аппарата. Зерно, которое выходит из корпуса 22 ротора через отверстия просеивающих средств 34, по меньшей мере частично попадает на сборник 38 зерна, направляющий его под действием гравитационных сил к собирающему шнеку 40 для зерна. В свою очередь собирающий шнек 40 подает зерно в зерновой конвейер (не показан) для подачи зерна в зерновой бункер 42. Создаваемый всасывающим вентилятором 36 воздушный поток проходит через промежуточное пространство между просеивающими средствами 34 и сборником 38.
Данное выше описание относится к одиночному сепарирующему аппарату. Однако при этом понятно, что в зерноуборочном комбайне могут быть установлены рядом два сепарирующих аппарата описанного типа, а вместо обычных просеивающих средств могут быть предусмотрены один или несколько дополнительных сепарирующих аппаратов описанного типа, предназначенных для дальнейшей очистки отделенного зерна и установленных под первыми сепарирующими аппаратами.
Наклонное расположение корпуса 22 ротора и размещенного внутри него сепарирующего ротора 24 с углом наклона больше 30° к горизонтальной плоскости дает несколько преимуществ. Во-первых, это снижает скорость движения убранной массы внутри корпуса ротора к его разгрузочному концу 28, так что масса совершает вращательное движение в корпусе 22 ротора по более длинному пути, создающему больше возможностей для отделения зерна. За счет того, что гравитационные силы воздействуют с большим эффектом на более тяжелые частицы в виде зерен, они стремятся к более медленному движению через корпус 22 ротора, и это способствует их отделению от более легких фракций убранной массы, таких как солома или полова. Дополнительное преимущество заключается в том, что зерно может приниматься простым по конструкции сборником 38, который может быть выполнен в форме лотка, и направляться к собирающему шнеку без применения дополнительных приводных элементов. Для использования второго сепарирующего ротора 44 в качестве очистного аппарата для той фракции зерна с половой, которая выходит из корпуса 22 ротора, также выгодно наклонное расположение корпуса 22 ротора, так как воздушный поток, проходящий вдоль наружной поверхности просеивающих средств 34 к всасывающему вентилятору 36, не может слишком легко засасывать вверх зерна из-за их веса, так что они имеют тенденцию падать либо на сборник 38, либо во второй выпуск ко второму сепарирующему ротору 44. Кроме того, второй сепарирующий ротор 44 скоординирован в своем действии с всасывающим вентилятором 54, который создает воздушный поток, сравнимый с воздушным потоком, создаваемым всасывающим вентилятором 36.
Корпус 18 питателя содержит по меньшей мере два вращающихся элемента – передний вращающийся элемент 46 и задний вращающийся элемент 48. Форма днища 50 корпуса 18 питателя выполнена частично отвечающей окружностям вращающихся элементов 46, 48. В той области, где стрелка 20 (фиг.3) направлена к линии, которая символически обозначает поперечно расположенную, имеющую цилиндрическую форму часть корпуса 18 питателя в месте размещения заднего вращающегося элемента 48 у разгрузочного конца, может быть также расположено питающее окно корпуса 22 ротора. Поперечно расположенная цилиндрическая часть корпуса 18 питателя врезана в верхнюю половину продольно расположенного корпуса 22 ротора цилиндрической формы. Вращательная энергия сепарирующего ротора 22, 44 может передаваться дальше вниз на кинематически подсоединенные к ним элементы, как символически показано стрелкой 52 на фиг.1.
При описанном расположении корпуса 22 ротора в комбайне 2 можно разместить двигатель 6 также в задней верхней части зерноуборочного комбайна 2 за задним концом корпуса 22 ротора. Такое расположение выгодно тем, что мощность двигателя передается сепарирующему ротору коротким путем с соответствующим упрощением и снижением веса. При высоком расположении двигателя система охлаждения двигателя всасывает меньше соломы, выдуваемой вниз назад всасывающим вентилятором 36 и вентилятором второго сепарирующего аппарата. Мощность, необходимая для привода режущего аппарата 16 и питающих элементов 46, 48 внутри питателя 18, а также других рабочих компонентов или генераторов гидравлического давления или электрической энергии, может передаваться валом сепарирующего ротора 24 или 44 от задней части зерноуборочного комбайна 2 к его передней части. Это позволяет обойтись без дополнительных элементов трансмиссии и сохранить небольшой габарит комбайна по ширине. Предназначенные для отбора мощности консольные концы валов сепарирующих роторов могут быть снабжены шестернями, которые передают вращательную энергию на подсоединенные к ним валы, гидравлические насосы, электрические генераторы, редукторы и подобные устройства. Для упрощения эта возможность привода любых компонентов обозначена стрелкой 52.
Зерновой бункер 42 легко разместить в треугольной зоне, образованной между верхней половиной корпуса 22 ротора, задней стенкой кабины 4 и верхней кромкой зерноуборочного комбайна 2. Если в корпусе ротора расположен только один сепарирующий ротор (возможно также расположение двух параллельных роторов), то внутренняя полость зернового бункера 42 может даже проходить вниз вдоль боковых сторон корпуса 22 ротора 22 с образованием конструкции наподобие седельного бункера.
Для того чтобы обеспечить достаточное пространство для размещения переднего конца корпуса 22 ротора как можно ниже, желательно, чтобы передние колеса не имели сплошной жесткой оси и чтобы в области передних колес не было жесткой поперечины рамы комбайна. Для привода передних колес рядом с каждым передним колесом может быть установлен небольшой гидравлический или электрический двигатель для индивидуального привода каждого колеса.
На фиг.2 более подробно показано относительное положение рабочих элементов. Вращающийся элемент 48 размещен в задней части корпуса 18 питателя и снабжен подающими рейками 60, на которых могут быть укреплены специальные рабочие инструменты. Эти рабочие инструменты могут быть бичами для молотильного воздействия на передаваемую вращающимся элементом 48 убранную массу, они могут быть также инструментами небольшой ширины, предназначенными для врезания в полосу передаваемой убранной массы и разделения ее по ширине. Это имеет особые преимущества в том случае, когда вращающийся элемент 48 вращается с большей окружной скоростью, чем вращающийся элемент 46. Подающие рейки 60 или укрепленные на них рабочие инструменты могут быть регулируемыми по величине вылета по направлению к шнековым лопастям 30 ротора для создания небольшого зазора между наружной окружностью вращающегося элемента 48 и шнековыми лопастями 30. Оптимальный зазор между наружной окружностью вращающегося элемента 48 и шнековыми лопастями 30 продемонстрирован с помощью наружной окружности 62, описываемой кромками вращающегося элемента 48. В данном примере выполнения зазор может иметь величину до 1 см. В любом случае зазор не должен превышать 15 см.
Передний вращающийся элемент 46 также оснащен подающими рейками 64, которые могут быть снабжены соответствующими рабочими инструментами, кромки которых описывают наружную окружность 66. На фиг.2 видно также, что передний вал 67 сепарирующего ротора 24 поддерживается подшипником 68 и проходит в редуктор 70, выходной вал которого проходит поперечно к боковой стороне комбайна для привода других компонентов машины. Подшипник 68, а следовательно, и передний вал 67 сепарирующего ротора 24 укреплены на задней стенке 72 нижней секции. На фиг.2 этого не показано, однако оптимальным является крепление редуктора или генератора также на этой задней стенке 72.
Фиг.3 изображает предпочтительный пример выполнения питающего отверстия 20 подачи убранной массы в корпус 22 ротора. Для большей наглядности корпус 18 питателя отсоединен. Как видно из чертежа, питающее отверстие 20 расположено на уровне над сепарирующим ротором 24. В показанном примере выполнения сепарирующий ротор снабжен двумя шнековыми лопастями 30, однако лопастей может быть больше в соответствии функциональными потребностями. Сепарирующий ротор 24 заключен в корпус 22 ротора. На внутренней поверхности корпуса 22 ротора имеются направляющие прутки 74, по которым захватываемая шнековыми лопастями 30 убранная масса проталкивается назад. На передней балке 76, расположенной между корпусом 18 питателя и окружающим питающее отверстие 20 металлическим листом 80, укреплены направляющие прутки 78, так что поток убранной массы уже направляется к более узкой ширине питающего отверстия 20 относительно полной ширины корпуса 18 питателя. Такие направляющие прутки могут быть также расположены в любых местах на днище корпуса 18 питателя ближе к передней части зерноуборочного комбайна 2.
На чертеже видно также, что окружающий питающее отверстие 20 металлический лист 80 имеет криволинейную форму и частично окружает вращающийся элемент 48. Металлический лист 80 может быть изготовлен в виде одного элемента, однако из-за сложной формы донных частей может быть оптимальным его изготовление из нескольких секций, соединенных или сваренных между собой для получения показанной конфигурации. На виде сбоку металлический лист 80 имеет по существу плоскую поверхность, окружающую питающее отверстие 20. Это отверстие 20 представляет собой большой проем в металлическом листе 80. На виде спереди проем питающего отверстия 20 имеет снизу большую ширину, чем сверху. Такая форма обусловлена тем, что убранная масса подается от нижней части вращающегося элемента 48, так что она достигает питающего отверстия 20 вблизи донной части корпуса 18 питателя. Убранная масса забрасывается в питающее отверстие 20 вращающимся элементом 48 в тангенциальном направлении, и большая часть убранной массы идет от вращающегося элемента 48 по направлению, указанному на фиг.2 тремя стрелками. За счет широкого проема питающего отверстия 20 в нижней части основная часть убранной массы может поглощаться сепарирующим ротором 24 в этой области. Та часть убранной массы, которая не сошла с вращающегося элемента 48 на участке движения примерно до одной трети высоты питающего отверстия 20, имеет тенденцию налипать на вращающемся элементе 48 и прокручивается на нем полный оборот. Для предотвращения этого явления должны быть приняты соответствующие меры предосторожности.
Одна из таких мер – это сужение ширины питающего отверстия 20 к его верхней части для того, чтобы налипшая на вращающемся элементе 48 убранная масса понуждалась к движению в боковом направлении, что может способствовать ее отделению от вращающегося элемента 48. Следует отметить, что проем питающего отверстия 20 должен быть уже в верхней части на той стороне, где сепарирующий ротор 24 движется при своем вращении вниз, так как убранная масса должна направляться вниз в эту область, чтобы захватываться сепарирующим ротором 24 без заклинивания. Для достижения плавного перехода от широкого проема внизу до более узкого проема в верхней части питающего отверстия 20 кромка питающего отверстия 20 выполнена по форме длинной дуги. На противоположной стороне, где сепарирующий ротор движется вверх, проем может быть больше в верхней части, потому что в этой части выгоднее, чтобы убранная масса забрасывалась дальше во внутреннее пространство корпуса 22 ротора. В результате достигается асимметричная форма проема питающего отверстия 20. Эта асимметричная форма способствует требуемому изменению направления движения убранной массы от линейного или тангенциального направления к спиральному или винтовому направлению движения внутри корпуса 22 ротора.
Другая мера предосторожности состоит в расположении направляющего прутка 82 с криволинейной поверхностью вдоль части кромки питающего отверстия 20. Криволинейная поверхность не только снижает повреждение зерна, но также устраняет возможность срезания соломы при ее проходе мимо прутка. При срезании только часть соломы попадала бы в корпус ротора, а другая часть оставалась бы на вращающемся элементе и продолжала бы вращаться вместе с ним. Этот пруток 82 расположен в том месте, где убранная масса должна быть счищена с периферии вращающегося элемента 48 и направлена в питающее отверстие 20. Пруток 82 может возвышаться над поверхностью металлического листа 80, и тогда он дополнительно уменьшает зазор между окружностью вращающегося элемента 48 и поверхностью металлического листа 80.
На фиг.3 показаны также различные по уровню площадки для подачи убранной массы в корпус 22 ротора. В данном примере выполнения показаны три площадки I, II, III, хотя их может быть также и две, и четыре. Все три площадки имеют примерно одинаковую ширину, но различную высоту уровня, с которого они передают убранную массу в корпус 22 ротора, а также различную форму поверхности. Площадка I направляет убранную массу по своей плоскости 84 на самый нижний уровень в корпусе 22 ротора на той стороне, где сепарирующий ротор 24 движется вниз при своем вращении. Площадка I может быть направлена даже к уровню вала ротора или даже ниже него. Средняя площадка II направляет убранную массу прямо на трубу сепарирующего ротора внутри корпуса 22 ротора. Площадка III поднимает убранную массу вверх по своей плоскости 86, при этом плоскость 86 проходит дальше в корпус 22 ротора, так что убранная масса проходит в корпус 22 ротора в более высокую и дальнюю область. Такая организация нескольких мест передачи вокруг пути сепарирующего ротора 24 за один оборот способствует изменению направления движения убранной массы от линейного или тангенциального направления к спиральному или винтовому направлению. Кроме того, шнековые лопасти могут подхватывать убранную массу из различных мест, за счет чего достигается разделение общего объема массы и более равномерное распределение убранной массы внутри корпуса 22 ротора. Передача убранной массы может облегчаться и усиливаться с помощью дополнительных направляющих плоскостей 88, которые подталкивают убранную массу поперечно к корпусу 22 ротора.
На фиг.3 видно также возвышение или порог 90. Под этим возвышением или порогом может быть размещен вал, передающий мощность от сепарирующего ротора на вращающиеся элементы 46, 48, режущий аппарат и другие компоненты, такие как генератор. Поверхность возвышения спроектирована таким образом, что оно немного поднимает убранную массу до уровня, на котором находится передняя часть трубы сепарирующего ротора 24.
Базовая конструкция питающего отверстия 20 может быть использована с небольшими изменениями также в зерноуборочном комбайне с двумя сепарирующими роторами, расположенными радом друг с другом. Если оба сепарирующих ротора 24 вращаются в одном направлении, два питающих отверстия 20 могут быть расположены также рядом друг с другом и иметь по меньшей мере по существу одинаковую конфигурацию. Если сепарирующие роторы 24 вращаются в различных направлениях, формы двух питающих отверстий 20 будут зеркальными относительно вертикальной оси между ними. Разумеется, специальная конфигурация необходима в той области, где кромки двух питающих отверстий подходят друг к другу. В этой области металлический лист может быть выполнен очень тонким или между двумя питающими отверстиями может быть расположен пруток для разделения потока убранной массы на два потока к двум приемным корпусам 22 роторов.
Показанные на чертежах и описанные примеры выполнения не являются ограничивающими. Для специалиста в данной области понятно, что при осуществлении общей идеи изобретения возможны различные изменения и модификации, при этом функциональные элементы одного примера выполнения могут быть использованы в общем решении согласно другому примеру выполнения.
Формула изобретения
1. Зерноуборочный комбайн, содержащий корпус питателя для подачи убранной массы от переднего конца к по меньшей мере одному сепарирующему аппарату, который содержит приводимый во вращение сепарирующий ротор, расположенный в корпусе ротора, имеющем загрузочную зону, где убранная масса подается в корпус ротора из положения над валом сепарирующего ротора, имеющем зону сепарирования с просеивающими средствами, размещенными в корпусе ротора в этой зоне сепарирования, и имеющем разгрузочную зону, которая расположена на разгрузочном конце корпуса ротора, отличающийся тем, что сепарирующий ротор (24) оснащен шнековыми лопастями (30) в загрузочной зоне, при этом предусмотрен вращающийся элемент (48) с поперечной осью вращения, расположенной выше, чем передний консольный конец вала сепарирующего ротора (24), и указанный вращающийся элемент (48) подает убранную массу снизу под своей осью вращения к питающему отверстию (20), расположенному на уровне над сепарирующим ротором (24), причем питающее отверстие (20) окружено металлическим листом (80), который проходит по ширине корпуса (18) питателя и выполнен по форме с вогнутым изгибом таким образом, что он по меньшей мере частично соответствует окружной конфигурации вращающегося элемента (48), а питающее отверстие (20) выполнено более широким в нижней части, чем сверху.
2. Зерноуборочный комбайн по п.1, отличающийся тем, что в питающем отверстии (20) образованы несколько площадок (I, II, III), которые направляют убранную массу в пространства, образуемые шнековыми лопастями (30) сепарирующего ротора (24).
3. Зерноуборочный комбайн по п.2, отличающийся тем, что площадки (I, II, III) в питающем отверстии (20) направляют убранную массу в корпус (22) ротора на различных по высоте уровнях.
4. Зерноуборочный комбайн по п.1 или 2, отличающийся тем, что диаметр шнековых лопастей (30) уменьшается по направлению вперед.
5. Зерноуборочный комбайн по любому из предыдущих пунктов, отличающийся тем, что кромка питающего отверстия (20) по границе с металлическим листом (80) выполнена в форме дуги на той стороне, где сепарирующий ротор (24) следует вниз, при этом конфигурация указанной дуги несимметрична относительно противоположной стороны.
6. Зерноуборочный комбайн по любому из предыдущих пунктов, отличающийся тем, что зазор между окружной формой вращающегося элемента (48) и окружной формой вращающихся шнековых лопастей (30) составляет меньше 15 см в месте их наибольшего приближения.
7. Зерноуборочный комбайн по любому из предыдущих пунктов, отличающийся тем, что в нем предусмотрен пруток (82) с криволинейной поверхностью, укрепленный по меньшей мере вдоль части кромки питающего отверстия (20).
8. Зерноуборочный комбайн по любому из пп.2-7, отличающийся тем, что на той стороне, где сепарирующий ротор (24) следует вверх, в указанной площадке предусмотрено поперечно направленное возвышение (90).
9. Зерноуборочный комбайн по любому из пп.2-7, отличающийся тем, что задняя стенка (72) площадки (I, II, III) использована для крепления опорного подшипника для сепарирующего ротора (24).
10. Зерноуборочный комбайн по любому из пп.2-7, отличающийся тем, что задняя стенка (72) площадки (I, II, III) использована для установки элемента, приводимого валом сепарирующего ротора (24).
11. Зерноуборочный комбайн по любому из предыдущих пунктов, отличающийся тем, что в нем предусмотрены направляющие прутки (78), прикрепленные к основанию корпуса питателя или к окружающему металлическому листу (80).
12. Зерноуборочный комбайн, содержащий корпус питателя для подачи убранной массы от переднего конца к по меньшей мере одному сепарирующему аппарату, который содержит приводимый во вращение сепарирующий ротор, расположенный в корпусе ротора, имеющем загрузочную зону, где убранная масса подается в корпус ротора из положения над валом сепарирующего ротора, имеющем зону сепарирования с просеивающими средствами, размещенными в корпусе ротора в этой зоне сепарирования, и имеющем разгрузочную зону, которая расположена на разгрузочном конце корпуса ротора, отличающийся тем, что сепарирующий ротор (24) оснащен шнековыми лопастями (30) в загрузочной зоне, при этом предусмотрен вращающийся элемент (48) с поперечной осью вращения, расположенной выше, чем передний консольный конец вала сепарирующего ротора (24), и указанный вращающийся элемент (48) подает убранную массу снизу под своей осью вращения к питающему отверстию (20), причем вращающийся элемент (48) размещен в задней части корпуса (18) питателя, а ось вращения вращающегося элемента (48) совпадает с осью поворота корпуса (18) питателя.
13. Зерноуборочный комбайн по п. 12, отличающийся тем, что в питающем отверстии (20) образованы несколько площадок (I, II, III), которые направляют убранную массу в пространства, образуемые шнековыми лопастями (30) сепарирующего ротора (24).
14. Зерноуборочный комбайн по п. 13, отличающийся тем, что площадки (I, II, III) в питающем отверстии (20) направляют убранную массу в корпус (22) ротора на различных по высоте уровнях.
15. Зерноуборочный комбайн по п.12 или 13, отличающийся тем, что диаметр шнековых лопастей (30) уменьшается по направлению вперед.
16. Зерноуборочный комбайн по любому из пп.12-15, отличающийся тем, что кромка питающего отверстия (20) по границе с металлическим листом (80) выполнена в форме дуги на той стороне, где сепарирующий ротор (24) следует вниз, при этом конфигурация указанной дуги несимметрична относительно противоположной стороны.
17. Зерноуборочный комбайн по любому из пп.12-16, отличающийся тем, что зазор между окружной формой вращающегося элемента (48) и окружной формой вращающихся шнековых лопастей (30) составляет меньше 15 см в месте их наибольшего приближения.
18. Зерноуборочный комбайн по любому из пп.12-17, отличающийся тем, что в нем предусмотрен пруток (82) с криволинейной поверхностью, укрепленный по меньшей мере вдоль части кромки питающего отверстия (20).
19. Зерноуборочный комбайн по любому из пп.13-18, отличающийся тем, что на той стороне, где сепарирующий ротор (24) следует вверх, в указанной площадке предусмотрено поперечно направленное возвышение (90).
20. Зерноуборочный комбайн по любому из пп.13-19, отличающийся тем, что задняя стенка (72) площадки (I, II, III) использована для крепления опорного подшипника для сепарирующего ротора (24).
21. Зерноуборочный комбайн по любому из пп.13-20, отличающийся тем, что задняя стенка (72) площадки (I, II, III) использована для установки элемента, приводимого валом сепарирующего ротора (24).
22. Зерноуборочный комбайн по любому из пп.12-21, отличающийся тем, что в нем предусмотрены направляющие прутки (78), прикрепленные к основанию корпуса питателя или к окружающему металлическому листу (80).
РИСУНКИ
|
|