|
|
(21), (22) Заявка: 2004134533/12, 26.11.2004
(24) Дата начала отсчета срока действия патента:
26.11.2004
(43) Дата публикации заявки: 10.05.2006
(46) Опубликовано: 27.11.2006
(56) Список документов, цитированных в отчете о поиске:
UA 21412, 30.04.1998. UA 55508 С2, 15.04.2003. SU 1766301 A1, 07.10.1992. SU 1297745 A1, 23.03.1987. SU 1622137 A1, 23.01.1991.
Адрес для переписки:
83049, г. Донецк, ул. Олимпиева, 95, кв.2, В.В. Яворскому
|
(72) Автор(ы):
Яворский Владимир Васильевич (UA), Иваненко Вера Петровна (UA), Яворская Валерия Владимировна (RU)
(73) Патентообладатель(и):
Яворский Владимир Васильевич (UA)
|
(54) РУЧНАЯ ОДНОРЯДНАЯ ГИДРАВЛИЧЕСКАЯ СЕЯЛКА
(57) Реферат:
Изобретение относится к сельскохозяйственному машиностроению, а именно к устройствам для посева семян, в т.ч. легких и мелких, например моркови, укропа, петрушки, лука и др., на приусадебных и садовых участках. Сеялка содержит смесительную камеру с мешалкой и сошник, образующий в почве ложе в виде узких щелей. В нижней части смесительной камеры установлен измельчитель потока семян, включающий шланг-семяпровод и регулирующий кран. Сеялка также содержит плоскорез и лопату-скребок. Сошник и плоскорез закреплены в нижней части державки с возможностью регулирования по высоте. Лопата-скребок установлена перпендикулярно борозде и шарнирно закреплена на сошнике. Измельчитель потока семян имеет сменные вставки. Мешалка выполнена в виде рамки и закреплена на центральной оси смесительной камеры с возможностью вращения вокруг нее. Использование изобретения позволит обеспечить расширение функциональных возможностей сеялки и повысить эффективность посева легких и мелких семян. 2 з.п. ф-лы, 2 ил.
Изобретение относится к сельскохозяйственному машиностроению, а именно к устройствам для посева семян, в том числе легких и мелких, например моркови, укропа, петрушки, лука и др., на приусадебных и садовых участках, и может быть использовано на многорядных механизированных сеялках.
Известно устройство для посева легких и мелких семян, включающее емкость, смешивающее устройство и дозирующее устройство в виде трубки с клапаном, установленное в днище емкости [Авторское свидетельство СССР №1766301, кл. А 01 С 7/02, опубликованное 07.10.92].
К недостаткам известного устройства относится выполнение ним только одной функции – посев семян в верхний слой почвы.
Наиболее близким к заявляемому изобретению является гидравлический высевающий аппарат, содержащий смесительную камеру, в которой размещена лопастная мешалка, сошник, при этом смесительная камера выполнена конической формы, внутри которой установлена трубка с отверстиями, расположенными по винтовой линии, а в нижней части камеры выполнен измельчитель потока семян, который состоит из трубки, регулирующего крана и шланга-семяпровода, соединенного с сошником, образующим в почве ложе в виде узких щелей [Патент Украины №21412, кл. А 01 С 7/00, опубликованный 30.04.98].
Недостатками известного аппарата являются небольшой объем функциональных возможностей, значительный расход времени на посев семян, а также обработку почвы и закрытие борозды сухой почвой.
В основу изобретения поставлена задача усовершенствования ручной однорядной гидравлической сеялки, в которой дополнительная установка плоскореза, с закреплением его и сошника, в нижней части державки, лопаты-скребка, установленной перпендикулярно к борозде и шарнирно закрепленной на сошнике, а также выполнение мешалки в виде рамки, установленной на центральной оси камеры с возможностью вращения вокруг нее обеспечивают расширение функциональных возможностей, этим обеспечивается посев семян различного калибра на определенную глубину, с одновременным удалением сорняков и закрытием борозды сухой почвой, уменьшение затрат времени на посев и послепосевную обработку почвы.
Поставленная задача решается тем, что в ручной однорядной гидравлической сеялке, содержащей смесительную камеру, в которой установлена мешалка, сошник, образующий в почве ложе в виде узких щелей, в нижней части камеры установлен измельчитель потока семян, включающий шланг-семяпровод, регулирующий кран, согласно изобретению предусмотрены следующие конструктивные изменения:
– дополнительно содержит плоскорез, причем сошник и плоскорез закреплены в нижней части державки, с возможностью регулирования по высоте;
– дополнительно содержит лопату-скребок, установленную перпендикулярно к борозде и шарнирно закрепленную на сошнике;
– измельчитель потока семян дополнительно снабжен сменными вставками;
– мешалка выполнена в виде рамки и закреплена на центральной оси смесительной камеры с возможностью вращения вокруг нее.
Кроме того, сеялка установлена на передвижной раме, а смесительная камера сеялки снабжена индикатором уровня смеси.
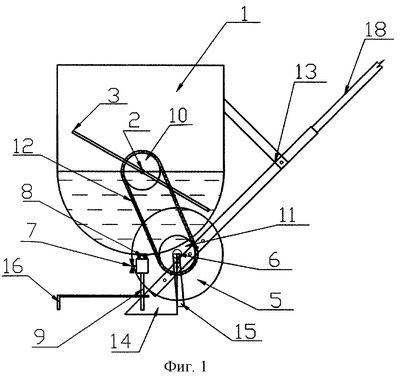
Суть устройства поясняется чертежами, где на фиг.1 изображен вид сеялки сбоку, на фиг.2 – вид спереди.
Ручная однорядная гидравлическая сеялка состоит из смесительной камеры 1, выполненной из металла, с полуцилиндрическим днищем, закрепленной на центральной оси 2, на которой также закреплена внутри камеры 1 мешалка 3, выполненная в виде рамки, передвижной рамы 4, состоящей из ходовых колес 5, установленных на оси 6, измельчителя потока семян, расположенного в нижней части камеры 1 и включающего регулирующий кран 7, сменные вставки 8 различного калибра (в зависимости от размера высеваемых семян), расположенные между выходом из камеры 1 и краном 7, гибкий шланг-семяпровод 9, соединенный с краном 7, ведомой звездочки 10, установленной на оси 2, и ведущей звездочки 11, установленной на оси 6, цепной передачи 12, размещенной на зубцах звездочек 10 и 11, державки 13, в виде прямоугольной трубы, внизу которой выполнены несколько отверстий, и жестко прикрепленной, под углом 45°, к оси 6, сошника 14, выполненного из металлических листов, в форме треугольника, плоскореза 15, выполненного из прочной металлической полосы, с заостренной кромкой, при этом сошник 14 и плоскорез 15, который установлен перед сошником 14, закреплены в отверстиях державки 13 лопаты-скребка 16, установленной перпендикулярно к борозде и шарнирно закрепленной на хвостовой части сошника 14, в камере 1 установлен индикатор 17 уровня жидкостно-семенной смеси, выполненный из полиэтиленовой трубки с поплавком, рукоятки 18, смонтированной в верхней части державки 13.
Устройство работает следующим образом.
В зависимости от размера семян выбирают сменную вставку 8, устанавливают ее между выходом из камеры 1 и регулирующим краном 7, определяют глубину борозды и закрепляют сошник 14 и плоскорез 15 в определенных отверстиях державки 13. В камеру 1 заливают жидкость до расчетного уровня, который показывает индикатор 17, загружают расчетное количество семян и производят несколько холостых оборотов мешалки 3, придавая смеси взвешенное состояние. Рукояткой 18 сеялку приводят в движение, при этом ходовые колеса, вращаясь, через цепную передачу 12 вращают мешалку 3 вокруг оси 2, которая равномерно перемешивает семена с жидкостью в камере 1, открывают регулирующий кран 7, и смесь поступает в борозду, образованную сошником 14, лопатой-скребком 16 закрывают борозду сухой почвой, а расположенный спереди сошника 14 плоскорез 15 срезает сорняки в ниточном состоянии, создавая оптимальные условия для будущих всходов.
Количество семян и жидкости, загружаемых в смесительную камеру 1, рассчитывается в зависимости от следующих факторов: всхожесть семян, средняя скорость движения сеялки, время вытекания смеси из камеры 1, расстоянием между семенами в рядке и др.
Применение предлагаемой гидравлической сеялки позволит расширить функции сеялок, даст возможность сеять семена различного калибра с определенным шагом посева, одновременным уничтожением сорняков и закрытием влаги (мульчирование) в условиях дач, огородов, теплиц, а также в селекционной работе. Конструкция устройства проста в изготовлении и эксплуатации, удобна и доступна по цене для массового потребителя, при этом отпадает необходимость в прореживании всходов, что очень удобно, особенно при посеве легких и мелких семян (моркови, укропа, петрушки, лука и др.), при этом отсутствует потеря семян при посеве. Если семена перед посевом замачивать и проращивать предварительно – всхожесть семян доходит до 100%, что дает большую экономию, т.к. снижаются потери семян в два раза.
Изготовлен опытный образец гидросеялки, который прошел испытания в полевых условиях и показал позитивные результаты.
Формула изобретения
1. Ручная однорядная гидравлическая сеялка, содержащая смесительную камеру с установленной в ней мешалкой, и сошник, образующий в почве ложе в виде узких щелей, при этом в нижней части камеры установлен измельчитель потока семян, включающий шланг-семяпровод, регулирующий кран, отличающаяся тем, что дополнительно содержит плоскорез и лопату-скребок, причем сошник и плоскорез закреплены в нижней части державки с возможностью регулирования по высоте, а лопата-скребок установлена перпендикулярно борозде и шарнирно закреплена на сошнике, при этом измельчитель потока семян дополнительно снабжен сменными вставками, а мешалка выполнена в виде рамки и закреплена на центральной оси смесительной камеры с возможностью вращения вокруг нее.
2. Сеялка по п.1, отличающаяся тем, что установлена на передвижной раме.
3. Сеялка по п.1, отличающаяся тем, что смесительная камера снабжена индикатором уровня смеси.
РИСУНКИ
MM4A – Досрочное прекращение действия патента СССР или патента Российской Федерации на изобретение из-за неуплаты в установленный срок пошлины за поддержание патента в силе
Дата прекращения действия патента: 27.11.2007
Извещение опубликовано: 10.07.2009 БИ: 19/2009
|
|