|
(21), (22) Заявка: 2005109873/09, 05.04.2005
(24) Дата начала отсчета срока действия патента:
05.04.2005
(46) Опубликовано: 20.11.2006
(56) Список документов, цитированных в отчете о поиске:
RU 2239284 С2, 27.10.2004. RU 2212093 С2, 10.09.2003. WO 02/31987 A1, 18.04.2002. WO 01/20789 A1, 22.03.2001. АНДРОНОВ И.С., ФИНК Л.М. Передача дискретных сообщений по параллельным каналам. – М.: Советское радио, 1971, с.46-101.
Адрес для переписки:
394018, г.Воронеж, ул. Плехановская, 14, ОАО “Концерн “Созвездие”
|
(72) Автор(ы):
Жуков Александр Петрович (RU), Мачнева Светлана Алексеевна (RU)
(73) Патентообладатель(и):
Федеральное государственное унитарное предприятие “Воронежский научно-исследовательский институт связи” (RU)
|
(54) СПОСОБ ИЗМЕРЕНИЯ МНОГОСИГНАЛЬНОЙ ИЗБИРАТЕЛЬНОСТИ ПРИЕМНИКА ШИРОКОПОЛОСНЫХ СИГНАЛОВ
(57) Реферат:
Способ измерения многосигнальной избирательности приемника широкополосных сигналов относится к измерительной технике. Техническим результатом предлагаемого способа является получение более точного измерения многосигнальной избирательности приемника широкополосных сигналов с N узкополосными помехами. Для этого в способе измерения многосигнальной избирательности приемника широкополосных сигналов, согласно изобретению, измерения проводят при двух видах распределения частот N (N>2) помех, при первом виде частоты помех выбирают вблизи средней частоты полезного сигнала так, чтобы интермодуляционные составляющие третьего порядка от N помех попадали в каждый канал блока защиты, при втором виде частоты помех распределяют так, чтобы интермодуляционные составляющие попадали только в половину каналов блока защиты (количество помех одинаково в обоих видах), а уровень мощности помех повышают при первом виде распределения частот помех до начала понижения отношения сигнал/шум на выходе пропорционально кубу мощности помех, а при втором виде распределения – до начала понижения отношения сигнал/шум пропорционально мощности помех. 1 з.п. ф-лы, 3 ил.
Способ измерения многосигнальной избирательности приемника широкополосных сигналов (ПРМ ШПС) относится к измерительной технике и может использоваться в радиотехнике для оценки реальной избирательности ПРМ ШПС.
Для узкополосных приемников работа по уточнению параметров избирательности проводилась в течение длительного времени и завершилась стандартизацией как характеристик избирательности, так и методов измерений (ГОСТ 12252-86, ГОСТ 22580-84).
Для ПРМ ШПС нет ни полного общепризнанного набора параметров, ни установившихся способов измерений. Как следствие, прогноз поведения приемников, особенно в экстремально тяжелой электромагнитной обстановке, ненадежен.
Наиболее близким по технической сущности к предлагаемому является способ измерения избирательности однополосных радиоприемников сухопутной подвижной службы по ГОСТу 22579-86, принятому за прототип.
Согласно способу-прототипу многосигнальную избирательность приемника определяют в следующей последовательности:
на вход приемника на частоте настройки подают полезный сигнал от генератора сигналов и устанавливают уровень полезного сигнала Uc, при котором отношение сигнал/шум равно 12 дБ;
увеличивают уровень входного сигнала на 3 дБ;
включают генераторы помех на частотах:
при измерении выше частоты основного канала приема
fг1=fном+11850 Гц, fг2=fном+21850 Гц,
при измерении ниже частоты основного канала приема
fг1=fном-8150 Гц, fг2=fном-18730 Гц,
(где fном – номинальная частота настройки приемника);
увеличивают уровни мешающих сигналов, поддерживая их одинаковыми, до значения, при котором проявляется интермодуляция;
частоту второго генератора помех подстраивают так, чтобы интермодуляция проявилась в наибольшей степени;
увеличивают уровни мешающих сигналов до значения Uп, при котором отношение сигнал/шум на выходе приемника становится равным 12 дБ;
многосигнальную избирательность приемника определяют по формуле

Недостатком способа-прототипа является то, что измерение многосигнальной избирательности проводится для приемников узкополосных сигналов, а для широкополосных приемников с блоком защиты (БЗ) от узкополосных помех этот способ непригоден.
Для устранения указанного недостатка в способе измерения многосигнальной избирательности приемника широкополосных сигналов с блоком защиты от узкополосных помех и имеющего линейный выход, включающем подачу на вход приемника смеси из полезного сигнала и узкополосных помех и измерение отношения сигнал/шум на его выходе, согласно изобретению, измерения проводят при двух видах распределения частот N (N>2) помех, при первом виде частоты помех выбирают вблизи средней частоты полезного сигнала так, чтобы интермодуляционные составляющие третьего порядка от N помех попадали в каждый канал блока защиты, при втором виде частоты помех распределяют так, чтобы интермодуляционные составляющие попадали только в половину каналов блока защиты (количество помех одинаково в обоих видах), а уровень мощности помех повышают при первом виде распределения частот помех до начала понижения отношения сигнал/шум на выходе пропорционально кубу мощности помех, а при втором виде распределения – до начала понижения отношения сигнал/шум пропорционально мощности помех.
Блок защиты ПРМ ШПС выполняет функцию “обеливающего” фильтра, исключая из спектра подаваемого на устройство сжатия ШПС приемника участки, пораженные узкополосными помехами [1]. Как правило, количество частотных каналов в БЗ составляет несколько десятков. Отношение сигнал/шум на выходе устройства сжатия приемника с БЗ определяется по формуле [2]

где h2 – отношение сигнал/шум на выходе устройства сжатия ШПС,
– коэффициент сжатия сигнала, соответствующий полосе канала БЗ,
fк – эквивалентная полоса пропускания устройства сжатия сигнала (коррелятора),
F – ширина полосы пропускания канала БЗ,
i – номер частотного канала БЗ,
М – количество каналов БЗ,
Psi – часть мощности полезного сигнала, попадающая в полосу пропускания i-го канала БЗ,
Pшi – мощность помех в полосе пропускания i-го канала БЗ.
Механизмы влияния узкополосных помех на характеристики приема полезного сигнала одинаковы как для узкополосных ПРМ, так и для ПРМ ШПС. Ухудшение чувствительности из-за наличия помех обусловлено следующими факторами [3]:
1. Прохождение помех из-за линейной избирательности (недостаточный коэффициент прямоугольности и конечная величина ослабления фильтров при отстройках).
2. Нелинейное поражение из-за эффекта блокирования.
3. Нелинейно-параметрический эффект, приводящий к обратному преобразованию шумов гетеродина при воздействии на вход помехи.
4. Нелинейное поражение из-за возникновения интермодуляционных искажений вида 2f1-f2, f1+f2-f3.
Как правило, для верно спроектированных приемников механизмы воздействия по п.п.1-3 начинают сказываться при более высоких уровнях помех, чем механизм по п.4. Однако в различной электромагнитной обстановке возможно как ухудшение характеристик приема из-за воздействия малого количества (в пределе одной) очень мощных помех с механизмами воздействия по п.п.1-3, так и из-за воздействия достаточно большого количества сравнительно маломощных помех с механизмом воздействия по п.4. Поэтому для полной оценки характеристик избирательности ПРМ необходимо измерить характеристики, соответствующие механизмам воздействия по п.п.1-3, отдельно от механизма воздействия по п.4.
Суммарная мощность помех в i-ом канале БЗ определяется по следующей формуле:

где Dij – ослабление (по мощности) фильтром i-го канала БЗ помехи с частотой, соответствующей средней частоте j-го канала БЗ,
Nij – спектральная плотность шумов гетеродина,
К3 – клир-фактор 3-го порядка [4].
В выражении (2) первый член характеризует внутренний шум ПРМ, второй – узкополосную помеху непосредственно в полосе канала БЗ, третий – линейное прохождение помех из-за неидеальности фильтров, четвертый – преобразование шумов гетеродина, пятый – интермодуляционные помехи вида 2f1-f2, шестой – интермодуляционные помехи вида f1+f2-f3.
Если считать мощности всех узкополосных помех, воздействующих на ПРМ, одинаковыми и равными Рп, выражение (2) можно переписать в следующем виде:


– характеризует влияние конечности избирательности фильтров и обратного преобразования шумов гетеродина,

Отметим, что Вi равно количеству интермодуляционных помех 3-го порядка, попадающих в полосу i-го канала БЗ.
Используя (1) и (3), запишем выражение для ухудшения отношения сигнал/шум при воздействии N узкополосных помех на ПРМ. При этом будем учитывать, что мощность полезного сигнала в каждом из каналов БЗ равна

где Pso – мощность полезного сигнала в каждом из каналов БЗ при отсутствии на входе узкополосных помех, KN(Pп) 1 – характеризует уменьшение (блокирование) коэффициента передачи тракта до БЗ при воздействии N помех с мощностью Рп каждая.

Как видно из формул (1) и (4), даже при больших значениях К3 изменение отношения сигнал/шум при воздействии двух помех (как в способе-прототипе) очень мало.
Например, при М=30 отношение сигнал/шум на выходе идеального (без нелинейности) ПРМ и ПРМ с большой нелинейностью из-за наличия в составе БЗ различается на 8% (0,32 дБ).
Измерить столь малое изменение в реальных производственных условиях очень проблематично. Если же приемное устройство предназначено для приема дискретной информации и включает в себя решающую схему и декодер, для измерения может использоваться только вероятность ошибки при приеме символа. В таком случае, учитывая случайный характер оценки вероятности ошибки, подобные различия в характеристике приема требуют огромные объемы статистики, особенно если заданная достоверность передачи велика. Все это практически исключает возможность применения методики по ГОСТу 22579-86 для измерений многосигнальной избирательности ПРМ ШПС с БЗ.
Анализ формулы (4) подсказывает возможный способ раздельного измерения параметров избирательности ПРМ, связанный с механизмами воздействия по п.п.1 и 3, п.п.2 и 4.
Подадим на вход ПРМ полезный сигнал в смеси с N узкополосными помехами. Частоты помех и их количество выберем так, чтобы для всех i выполнялось неравенство

при минимальном значении N. Это соответствует попаданию в полосу каждого из М каналов БЗ или самой узкополосной помехи или комбинационной составляющей вида 2f1-f2 или f1+f2-f3.
Например, при воздействии пяти помех на БЗ, состоящий из 31 канала, чтобы “забить” все каналы БЗ, помехи надо установить на 11, 13, 17, 20, 21 линейки БЗ.
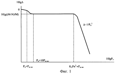
В отсутствии помех =1 (0 дБ), Рп 10 Рш вн, каналы блока защиты, для которых i=1, отключаются, что ведет к незначительному уменьшению до значения =(M-N)/M, при этом значения СiРп и К3Рп 3 существенно меньше Рш вн. При дальнейшем повышении Рп в некотором интервале требуемый уровень сигнала не изменяется, т.к. помехи полностью подавлены. А затем, после достижения равенства К3Рп 3=Рш вн, уменьшается пропорционально Pп 3. Зависимость (в логарифмическом масштабе) от Рп для рассматриваемого распределения частот помех приведена на фиг.1.
Таким образом, определив значение Рп, при котором дальнейшее увеличение уровня помех приводит к кубическому падению сигнал/шум на выходе устройства сжатия ПРМ, определяется значение К3 или, что то же самое, параметр многосигнальной избирательности ПРМ, характеризующий влияние нелинейного поражения из-за эффекта интермодуляции 3-го порядка (механизм по п.4).
Для оценки параметров избирательности ПРМ, характеризующих воздействие по механизмам п.п.1,2,3, необходимо другое распределение частот помех. Выбор его производится из следующих соображений. Во-первых, количество помех должно быть тем же самым, что и ранее. Во-вторых, их частотное расположение должно минимизировать влияние интермодуляционных составляющих на значение сигнал/шум на выходе ПРМ. В третьих, отличие частот помех от частот, использованных в первом измерении, должно быть минимально. Выполнение первого и третьего условий необходимо для минимизации изменений эффектов по п.п.1,2,3 в обоих измерениях. Это позволяет обеспечить измерения даже в случае близких значений пороговых мощностей помех, начиная с которых происходит ухудшение сигнал/шум из-за эффектов (механизмов) по п.4 и п.п.1, 2, 3. Компромиссное решение по распределению частот помех состоит в изменении части частот из набора для первого измерения на частоты ближайших каналов БЗ так, чтобы все частоты помех соответствовали средним частотам четных (или нечетных) каналов БЗ. Например, при воздействии пяти помех на БЗ, состоящий из 31 канала, чтобы помехи и их комбинации как третьего, так и более высокого порядков, попали в полосу только четных (или нечетных) каналов БЗ, помехи надо установить на 11, 13, 17, 19, 21 линейки БЗ. Благодаря этому, за счет эффекта интермодуляции, отключается только половина каналов БЗ, даже в случае большой нелинейности тракта приемника. Это соответствует ухудшению отношения сигнал/шум в 2 раза (на -3дБ) при уровне Рп, большем значения Рп на фиг.1. Дальнейшее повышение мощности помех приведет к уменьшению отношения сигнал/шум только после того, как выполнится равенство СiРп Рш. Последующее повышение Рп будет вести к линейному падению отношения сигнал/шум. Зависимость (в логарифмическом масштабе) от Рп для второго распределения частот помех приведена на фиг.2. Линейный характер изменения от Рп сохраняется до точки Рп, когда начинает проявляться эффект блокирования. Однако, как уже отмечалось ранее, для ПРМ ШПС измерение характеристик по блокированию не очень существенны, т.к. недопустимая потеря характеристик приема сигналов из-за шумов гетеродина наступает при существенно меньших уровнях помех.
Таким образом, для оценки многосигнальной избирательности приемника проводят измерения при двух видах распределения частот помех:
1) помехи распределяют вблизи средней частоты полезного сигнала так, чтобы продукты интермодуляции третьего порядка от N помех попадали в каждый канал БЗ (такое условие соответствует наиболее худшему случаю для помехоустойчивости широкополосного приемника);
2) помехи распределяют так, чтобы продукты интермодуляции попали только в половину каналов БЗ (такое условие соответствует минимально возможному числу подавленных интермодуляцией каналов БЗ).
Количество помех одинаково в обоих тестах, и изменение их частот должно быть минимально возможным.
Структурная схема измерительной установки для осуществления предлагаемого способа оценки многосигнальной избирательности ПРМ ШПС изображена на фиг.3 и содержит 1.1-1.N высокочастотных генераторов помех, выходы которых соединены с соответствующими входами согласующего устройства 3, в свою очередь, выход которого через последовательное соединение с эквивалентом антенны 4 и ПРМ ШПС 5 соединен со входом измерителя отношения сигнал/шум или измерителя вероятности ошибки. Выход источника широкополосных сигналов 2 соединен с соответствующим входом согласующего устройства 3.
На фиг.3 введены следующие обозначения:
1.1-1.N – высокочастотные генераторы помех;
2 – источник широкополосных сигналов;
3 – согласующее устройство;
4 – эквивалент антенны приемника;
5 – ПРМ ШПС;
6 – измеритель отношения сигнал/шум или измеритель вероятности ошибки.
Измерение многосигнальной избирательности приемника широкополосных сигналов сводится к следующему.
Для приемников, имеющих линейный выход:
1) на вход приемника на частоте настройки подают полезный сигнал от генератора 2 мощностью Рс;
2) включают генераторы помех 1.1-1.N на частотах, соответствующих сначала первому виду распределения, затем – второму;
3) фиксируют отношение сигнал/шум;
4) повышают уровень мощности помех Рп до начала понижения отношения сигнал/шум на выходе пропорционально кубу мощности помех при первом варианте распределения частот помех и пропорционально мощности помех – при втором варианте;
5) многосигнальную избирательность приемника определяют по формуле

Для приемников с дискретной информацией:
1) на вход приемника на частоте настройки подают полезный сигнал от генератора 2 и устанавливают мощность полезного сигнала Рс, при которой отношение сигнал/шум на выходе приемника равно характерному для данного вида приемника значению;
2) включают генераторы помех 1.1-1.N на частотах, соответствующих сначала первому виду распределения, затем – второму;
3) увеличивают мощности генераторов помех 1.1-1.N до значения Рп, поддерживая неизменным отношение сигнал/шум изменением мощности полезного сигнала до начала кубического роста требуемого сигнала при первом варианте распределения частот помех и линейного роста – при втором;
4) многосигнальную избирательность приемника определяют по формуле

Литература
1. Тузов Г.И. Статистическая теория сложных сигналов. М.: Сов. радио, 1977.
2. Андронов И.С., Финк Л.М. Передача дискретных сообщений по параллельным каналам. М.: Сов. радио, 1971.
3. Богданович Б.М. Радиоприемные устройства с большим динамическим диапазоном. М.: Радио и связь, 1984.
4. Грибов Э.Б. Нелинейные явления в приемопередающем тракте аппаратуры связи на транзисторах. М.: Связь, 1971.
Формула изобретения
1. Способ измерения многосигнальной избирательности приемника широкополосных сигналов с блоком защиты от узкополосных помех, включающий подачу на вход приемника смеси из полезного сигнала и узкополосных помех и измерение отношения сигнал/шум на его выходе, отличающийся тем, что измерения проводятся при двух видах распределения частот N узкополосных помех, где N>2, причем количество узкополосных помех одинаково в обоих видах, при первом виде частоты узкополосных помех выбираются вблизи средней частоты полезного сигнала так, чтобы интермодуляционные составляющие третьего порядка от N узкополосных помех попадали в каждый канал блока защиты, при втором виде частоты узкополосных помех распределяют вблизи средней частоты полезного сигнала так, чтобы интермодуляционные составляющие попадали только в половину каналов блока защиты, а уровень мощности узкополосных помех повышают при первом виде распределения частот узкополосных помех до начала понижения отношения сигнал/шум на выходе приемника пропорционально кубу мощности узкополосных помех, а при втором виде распределения – до начала понижения отношения сигнал/шум пропорционально мощности узкополосных помех.
2. Способ по п.1, отличающийся тем, что измерения проводят при фиксированном отношении сигнал/шум или фиксированной вероятности ошибки на выходе приемника, поддерживаемые изменением уровня входного полезного сигнала, а уровни мощности узкополосных помех повышают до начала кубического роста уровня полезного сигнала при первом виде распределения частот узкополосных помех и линейного – при втором.
РИСУНКИ
|