|
(21), (22) Заявка: 2004106354/12, 03.03.2004
(24) Дата начала отсчета срока действия патента:
03.03.2004
(43) Дата публикации заявки: 10.08.2005
(46) Опубликовано: 20.11.2006
(56) Список документов, цитированных в отчете о поиске:
US 2325739 А, 03.08.1943. US 2210030 A, 06.08.1940. DE 2362988 B2, 19.02.1976. SU 884691 А, 30.11.1981. US 4475265 А, 09.10.1984. DE 10054135 А1, 08.05.2002.
Адрес для переписки:
445045, Самарская обл., г. Тольятти, ул. Чайкиной, 68, кв.116, Ю.В. Копылову
|
(72) Автор(ы):
Копылов Юрий Всеволодович (RU), Потапейко Александр Федорович (RU), Копылов Дмитрий Юрьевич (RU)
(73) Патентообладатель(и):
Копылов Юрий Всеволодович (RU)
|
(54) НАСАДОК ДЛЯ УБОРКИ ПЫЛИ
(57) Реферат:
Насадок может быть использован в устройствах для вакуумной уборки пыли и позволяет повысить эффективность уборки пыли за счет обеспечения равной скорости всасывания по всей длине насадка. Насадок содержит корпус, верхнее основание которого связано с системой отсоса, а нижнее основание выполнено со всасывающей щелью, средство для перемещения корпуса по очищаемой поверхности и горизонтально размещенную внутри корпуса диафрагму с переменной по длине площадью. Диафрагма разделяет полость корпуса на верхнюю воздухосборную камеру и нижнюю воздухоприемную камеру, выполненную поперечно секционированной. Диафрагма закрепляется на задней стенке корпуса или передней стенке корпуса и может быть выполнена симметричной или несимметричной относительно осевой линии корпуса. 8 з.п. ф-лы, 10 ил.
Изобретение относится к технике очистки поверхностей, в частности к насадкам для устройств вакуумной пылеуборки, и может быть использовано как в индивидуальных пылесосах (домашних и промышленных), так и в системах централизованной пылеуборки на предприятиях строительной, химической, горнообогатительной, металлургической и других отраслях промышленности, а также жилых помещениях.
Конструкция и размеры насадков зависят от физико-химических свойств пыли, формы обеспыливаемой поверхности. При этом они должны обеспечивать высокую производительность и экономичность системы, иметь небольшие габариты и массу и должны быть простыми в эксплуатации.
Совершенствование конструкции уборочных насадков сводится к использованию, помимо напора воздуха, вращающихся щеток, струй сжатого воздуха и т.п.
Однако необходимые для этого устройства усложняют и утяжеляют насадок. Такие насадки трудно изготовить, они ненадежны в работе и требуют частого ремонта, а их значительный вес быстро утомляет уборщиков.
Известен пылеуборочный насадок, содержащий трапециевидный корпус, меньшее основание которого связано с системой отсоса посредством патрубка, а большее – имеет всасывающую щель и снабжено скребком с отверстиями [Авторское свидетельство СССР № 1546079, кл. A 47 L 9/02, 1990].
Наличие скребка должно повышать качество уборки, но одновременно затрудняет процесс пылеуборки на неровных и деформированных поверхностях, а в случаях, когда слой пыли тонкий, насадок работает вхолостую из-за подсоса воздуха, поэтому такой насадок предпочтительнее применять для уборки просыпей пыли. Но главным недостатком является быстрый износ скребка при уборке пыли с абразивными частями.
Известен пылеуборочный насадок, содержащий трапециевидный корпус, меньшее основание которого посредством патрубка связано с системой отсоса, а большее основание имеет всасывающую щель [Авторское свидетельство СССР № 1050658, кл. A 47 L 9/02, 1983]. В этом насадке большее основание по его периметру снабжено копирующим уплотнительным средством, представляющим собой набор карманов.
Этот насадок является громоздким, сложным в изготовлении, а в процессе эксплуатации его карманы быстро изнашиваются особенно при уборке пыли, содержащей абразивные частицы.
Известен пылеуборочный насадок, содержащий трапециевидный корпус, меньшее основание которого связано с системой отсоса, а большее основание выполнено со всасывающей щелью [Донат Е.В. Пневматическая уборка пыли в цехах промышленных предприятий. – М.: Профиздат, 1961. – с.103-104]. Всасывающая щель выполнена с отбортованными краями, к которым прикрепляется резиновая пластинка.
Отбортованные края всасывающей щели быстро изнашиваются при уборке пыли с абразивными частицами, поэтому такой насадок применяют, в основном, для уборки пыли со стен и потолков.
Известен насадок для уборки пыли, содержащий корпус, верхнее основание которого посредством патрубка, рукоятки и шланга связано с системой отсоса, а нижнее основание выполнено с всасывающей щелью, при этом насадок имеет средство для перемещения корпуса по очищаемой поверхности [Патент США № 2325739, кл. НКИ 15-157, 1943].
В этом насадке всасывающая щель из-за неравномерности скоростей всасывания пыли по всей длине насадка не может обеспечить достаточно эффективную уборку пыли, особенно в промышленных условиях, так как при этом происходит неравномерный износ этой щели.
Задача, на решение которой направлено предлагаемое изобретение, заключается в повышении эффективности уборки пыли, достигаемой за счет обеспечения равной скорости всасывания по всей длине насадка.
Эта задача решается тем, что насадок для уборки пыли, содержащий корпус, верхнее основание которого связано с системой отсоса, а нижнее основание выполнено со всасывающей щелью, и средство для перемещения корпуса по очищаемой поверхности, содержит горизонтально размещенную внутри корпуса диафрагму с переменной по длине площадью, разделяющую полость корпуса на верхнюю воздухосборную камеру и нижнюю воздухоприемную камеру, выполненную поперечно секционированной.
Диафрагма может быть закреплена или на передней, или на задней стороне корпуса. Диафрагма может быть выполнена также симметричной или, наоборот, несимметричной относительно осевой линии корпуса. Верхнее основание корпуса может быть связано с системой отсоса посредством патрубка, рукоятки и шланга.
Насадок также может быть снабжен средством для перемещения корпуса по очищаемой поверхности, выполненным в виде колес, при этом оси колес могут быть размещены относительно корпуса таким образом, чтобы при любом угле остановки корпуса относительно очищаемой поверхности оставался зазор между нижней кромкой всасывающей щели и этой поверхностью.
Корпус может быть, в свою очередь, с задней стороны снабжен люком.
Воздухосборная камера может быть связана с системой отсоса через одну из торцевых ее стенок.
Наличие в насадке горизонтально размещенной внутри корпуса диафрагмы с переменной по длине площадью позволяет поддерживать условия равномерного всасывания воздуха с пылью по всей длине всасывающей щели за счет оптимально рассчитанного контура, а разделение этой диафрагмой полости корпуса на верхнюю воздухосборную и нижнюю воздухоприемную камеры позволяет обеспечить оптимальную траекторию всасываемого пылевоздушного потока.
Закрепление диафрагмы на передней стенке корпуса обеспечивает условие работы при наличии пыли с тонкими частицами и не содержащей инородных включений, а закрепление на задней стенке корпуса обеспечивает работу насадка в тяжелых условиях, например, при широком диапазоне размера частиц пыли и при наличии посторонних включений.
Выполнение диафрагмы симметричной относительно осевой линии воздуховода позволяет использовать традиционную конструкцию насадка в целом, а несимметричной – со смещением воздуховода к одному из торцов насадка.
Связь верхнего основания корпуса с системой отсоса посредством патрубка, рукоятки и шланга обеспечивает возможность традиционной компоновки пылесоса.
Снабжение корпуса средством для его перемещения по очищаемой поверхности, выполненным в виде колес, обеспечивает перемещение насадка с гарантированным рабочим зазором щели по любой твердой поверхности.
Размещение осей колес относительно корпуса таким образом, чтобы при любом угле установки корпуса относительно очищаемой поверхности оставался зазор между нижней кромкой всасывающей щели и этой поверхностью, обеспечивает отсутствие всякого контакта щели и поверхности, что исключает износ от трения между ними.
Снабжение корпуса с его задней стороны люком позволяет производить ревизию полости корпуса, а также вытряхивать из него застрявшие в верхней камере (за диафрагмой) посторонние включения.
Обеспечение связи верхней воздухосборной камеры системы отсоса через одну из торцовых его стенок уподобляет насадок своеобразной щетке, которой удобно пользоваться в неудобных местах для пылеуборки, особенно в местах сопряжения горизонтальных и вертикальных поверхностей, например, возле плинтусов, под ящиками, шкафами и т.д.
Насадок для уборки пыли по предлагаемому изобретению иллюстрируется чертежами, представленными на фиг.1-10:
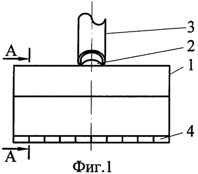
на фиг.1 – показан насадок для уборки пыли, вид спереди;
на фиг.2 – вид А на фиг.1, с диафрагмой на передней стенке корпуса;
на фиг.3 – то же, с диафрагмой на задней стенке корпуса;
на фиг.4 – вид Б на фиг.2, с несимметричной (вверху) и симметричной (внизу) диафрагмами, размещаемыми в зависимости от несимметричного и симметричного расположения патрубка;
на фиг.5 – вид Б на фиг.3 с несимметричной (вверху) и симметричной (внизу) диафрагмами, размещаемыми в зависимости от несимметричного и симметричного расположения патрубка;
на фиг.6 – насадок, вид спереди (а) и сбоку (б), с колесами;
на фиг.7 – то же, с вертикальной установкой корпуса;
на фиг.8 – то же, с горизонтальной установкой корпуса;
на фиг.9 – насадок, вид сбоку, с люком на задней стенке корпуса;
на фиг.10 – насадок, вид спереди, с патрубком отсоса на торцевой стенке воздухоеборной камеры;
Насадок для уборки пыли состоит (фиг.1) из корпуса 1 коробчатой формы, верхнее основание которого посредством патрубка 2 связано с трубой 3, подключаемой к системе отсоса, а нижнее основание выполнено со всасывающей щелью 4. Внутри корпуса 1 закреплена диафрагма 5 (фиг.2 и 3), которая имеет переменную по длине площадь и разделяет этот корпус на две камеры: верхнюю восдухосборную 6 и нижнюю воздухоприемную 7.
Внутри корпуса 1 установлены глухие перегородки 8, плоскость которых перпендикулярна плоскости всасывающей щели 4.
Диафрагма 5 может быть выполнена несимметричной и симметричной оси корпуса насадка (фиг.4 и 5).
Всасывающая щель 4 снабжена колесами 9 (фиг.6-8), причем ось колеса 9 размещена относительно корпуса 1 так, чтобы при любом угле установки корпуса относительно очищаемой поверхности оставался зазор между нижней кромкой всасывающей щели 4 и этой поверхности. На задней стенке корпуса 1 может быть выполнен люк 10 (фиг.9), который может быть, в свою очередь, выполнен со съемной крышкой, откидной, поворотной, любой известной конструкции.
Насадок 1 может быть подключен к системе отсоса через патрубок, размещенный на одном из торцов верхней – воздухосборной камеры 6.
Насадок для уборки пыли работает следующим образом:
Корпус 1 насадка присоединяют посредством трубы 3 к системе отсоса, размещают на обеспыливаемой поверхности и движением от себя или к себе перемещают его по этой поверхности. При этом воздух, двигаясь к всасывающей щели с большой скоростью над слоем пыли, с силой воздействует на частицы, срывает их с поверхности и транспортирует во взвешенном состоянии через всасывающую щель 4, разделяясь в ней на параллельные потоки между глухими перегородками 8, затем через нижнюю воздухоприемную камеру 7, далее, огибая диафрагму 5, через верхнюю воздухоприемную камеру 6 патрубок 2, трубу 3 в систему отсоса, которая может быть подключена к пылеулавливающей системе (не показано). За счет постоянной величины разрежения, создаваемой системой отсоса, и формы диафрагмы 5 на границе камер на камере 6 происходит равномерное приращение объема отсасываемого воздуха на единицу ее расстояния от воздуховода, в результате чего расход воздуха в камере 7 одинаков в различных ее поперечных сечениях, что обеспечивает одинаковую скорость забора воздуха по всей длине всасывающей щели 4. При уборке слоя пыли любой толщины насадок, перемещаясь по поверхности, обеспечивает равномерное всасывание воздуха с пылью по всей длине всасывающей щели 4 и оставляет за собой полосу полностью очищенной от пыли поверхности.
Насадок для уборки пыли по предлагаемому изобретению обеспечивает высокое качество пылеуборки, несложен в изготовлении, удобен в работе, прост в обращении, имеет малый вес, а, главное, имеет возможность при том же расходе воздуха обеспечивать уборку более широкой полосы поверхности, чем насадок традиционной конструкции.
Формула изобретения
1. Насадок для уборки пыли, содержащий корпус, верхнее основание которого связано с системой отсоса, а нижнее основание выполнено со всасывающей щелью, и средство для перемещения корпуса по очищаемой поверхности, отличающийся тем, что он содержит горизонтально размещенную внутри корпуса диафрагму с переменной по длине площадью, разделяющую полость корпуса на верхнюю воздухосборную камеру и нижнюю воздухоприемную камеру, выполненную поперечно секционированной.
2. Насадок по п.1, отличающийся тем, что диафрагма закреплена на передней стенке корпуса.
3. Насадок по п.1, отличающийся тем, что диафрагма закреплена на задней стенке корпуса.
4. Насадок по одному из пп.1-3, отличающийся тем, что диафрагма выполнена симметричной относительно осевой линии корпуса.
5. Насадок по одному из пп.1-3, отличающийся тем, что диафрагма выполнена несимметричной относительно осевой линии корпуса.
6. Насадок по п.1, отличающийся тем, что верхнее основание корпуса связано с системой отсоса посредством патрубка, рукоятки и шланга.
7. Насадок по п.1, отличающийся тем, что средство для перемещения корпуса по очищаемой поверхности выполнено в виде колес, при этом оси колес размещены относительно корпуса таким образом, чтобы при любом угле установки корпуса относительно очищаемой поверхности оставался зазор между нижней кромкой всасывающей щели и этой поверхностью.
8. Насадок по п.1, отличающийся тем, что корпус с его задней стороны снабжен люком.
9. Насадок по п.1, отличающийся тем, что воздухосборная камера связана с системой отсоса через одну из торцевых ее стенок.
РИСУНКИ
|