|
(21), (22) Заявка: 2004117881/12, 14.11.2002
(24) Дата начала отсчета срока действия патента:
14.11.2002
(30) Конвенционный приоритет:
15.11.2001 CH 2105/01
(43) Дата публикации заявки: 27.10.2005
(46) Опубликовано: 20.11.2006
(56) Список документов, цитированных в отчете о поиске:
DE 20100181 U, 13.06.2001. US 3512654 A, 19.05.1970. DE 3239161 A1, 11.05.1983. DE 10035359 A, 01.02.2001. RU 23126 U1, 27.05.2002. FR 945260 A, 29.04.1949.
(85) Дата перевода заявки PCT на национальную фазу:
15.06.2004
(86) Заявка PCT:
CH 02/00612 (14.11.2002)
(87) Публикация PCT:
WO 03/041540 (22.05.2003)
Адрес для переписки:
129010, Москва, ул. Б.Спасская, 25, стр.3, ООО “Юридическая фирма Городисский и Партнеры”, пат.пов. С.А.Дорофееву
|
(72) Автор(ы):
ВАЛЬТЕР Херберт (DE)
(73) Патентообладатель(и):
ВИСПЛЭЙ ИНТЕРНЭШНЛ АГ (CH)
|
(54) УСТРОЙСТВО ДЛЯ ПОДВЕШИВАНИЯ С УСТАНОВЛЕННОЙ ВЕРТИКАЛЬНО ПРОФИЛИРОВАННОЙ РЕЙКОЙ И НАВЕШИВАЕМЫМ НА НЕЕ КРОНШТЕЙНОМ
(57) Реферат:
Устройство для подвешивания состоит прежде всего из расположенного вертикально профиля (1) с предусмотренными на нем контурами (3) захвата, которые расположены предпочтительно попарно напротив друг друга по обеим боковым сторонам. Профиль (1) закрепляется на опорной структуре. К устройству относится, по меньшей мере, один навешиваемый на профиль (1) кронштейн (2) с дополнительными контуру (3) захвата фиксирующими элементами. Кронштейн (2) имеет охватывающую часть (20), на которой или в которой расположены фиксирующие элементы. Лицевая сторона (10), а также обе боковые стороны профиля (1) охватываются кронштейном (2), который может быть соединен с различно конфигурируемыми несущими рейками (4). На уровне выбранного контура (3) захвата кронштейн (2) может быть зафиксирован. Устройство для подвешивания предлагается в нескольких вариантах и предназначено, например, для применения в качестве информационных или декоративных стендов в приемных или как стеллаж для презентаций товаров или экспонатов или для хранения предметов. Профиль (1) применяется как цельная стойка или в виде коротких отрезков, по меньшей мере, с одной парой контуров (3) захвата. Технический результат – повышение потребительских свойств за счет возможности подвешивать на профилированной рейке несколько кронштейнов на различной высоте, соединять кронштейны с различным образом конфигурированными несущими стойками и устанавливать профилированные рейки как в вертикальной линии с различными длинами в зависимости от локальных условий, так и располагать их как короткие отрезки. 4 з.п. ф-лы, 7 ил.
Настоящее изобретение относится к устройству для подвешивания с профилированной рейкой для вертикального размещения на опорной структуре, как, например, задней стенке, панели, раме или каркасе, и кронштейном, навешиваемым на профилированную рейку. Профилированная рейка имеет растр, в котором можно подвешивать кронштейн, который соединен с консолью, поперечиной или балкой типа плиты. Конструкции, образованные отрезками профилированной рейки, могут применяться, например, как информационные и декоративные стенды в приемных или как подставки для презентации товаров или экспонатов или для хранения предметов.
Известны разнообразные устройства для точечной подвески (например, ЕР 0716825 B1; WO 99/20094; DE 20109028 U1). Устройства для подвешивания в различных формах исполнения предлагались также для переменного по горизонтали расположения консолей (например, WO 99/65368; WO 01/43599). Наконец, известно много вариантов устройств для подвешивания для переменного по вертикали расположения профилированных реек и навешиваемых на них кронштейнов (например, DE 20100181 U1).
Устройства, известные из уровня техники, оправдали себя в прошлом. Однако остаются потребности в усовершенствовании, т.е. повышение стабильности, возможность модификации, удобство обслуживания и целесообразность, а также в новых решениях, которые открывают дальнейшие возможности конструктивного оформления.
Ввиду этого в основе изобретения стоит задача предложить улучшенное и оригинальное устройство для подвешивания с повышенными потребительскими свойствами для определенной выше области применения, которое состоит из профилированной рейки для вертикальной установки на опорной структуре и подвешенного на профилированной рейке кронштейна. Должно быть возможным подвешивать на профилированной рейке несколько кронштейнов на различной высоте, соединять кронштейны с различным образом конфигурированными несущими стойками и устанавливать профилированные рейки как в вертикальные линии, с различными длинами, в зависимости от локальных условий, так и располагать их как короткие отрезки.
Поставленная задача в устройстве для подвешивания, состоящем из располагаемого вертикально профиля с лицевой стороной, двумя боковыми сторонами и задней стороной, а также имеющегося у профиля контура захвата; и навешиваемого на профиль кронштейна с дополняющими контуры захвата фиксирующими элементами; и кронштейн охватывает лицевую сторону, а также обе боковые стороны профиля, согласно изобретению решается тем, что фиксирующие элементы расположены на имеющей вид скобок части охватывающей части кронштейна, или на пружине, или выполнены обладающими собственной упругостью; и контуры захвата в профиле расположены в боковых сторонах профиля и заглублены относительно лицевой стороны.
Контуры захвата образованы как заглубленные относительно лицевой стороны клиновидные прорези в боковых сторонах, снизу имеют выступ в виде карниза и постепенно сближаются, предпочтительно в наклонной плоскости, поднимаясь к плоскости боковых сторон.
Контуры захвата на одной из боковых сторон расположены симметрично контурам захвата на другой боковой стороне; фиксирующий элемент в кронштейне является соответственно установленным на пружине клином, причем пружины и клинья предусмотрены соответственно по обеим сторонам паза, принимающего профиль; и пружины, и клинья взаимно удерживают друг друга.
Профиль состоит из задней рейки с контурами захвата, которая предпочтительно является пластмассовой, и передней рейки; и профиль используется как цельная стойка или в виде коротких отрезков, по меньшей мере, с одной парой контуров захвата.
Благодаря изобретению в распоряжении имеется теперь новое устройство для подвешивания в различных вариантах с расположенной вертикально профилированной рейкой и в зависимости от продольного сечения несколькими навешиваемыми на нее кронштейнами. Этим открываются более широкие оригинальные возможности оформления при эффективной стоимости изготовления и монтажа.
На прилагаемых чертежах показано:
фиг.1А – устройство для подвешивания, с профилем, который снабжен сбоку заглубленным относительно лицевой стороны щелевым растром, и измененным кронштейном, в навешенном состоянии, вид в перспективе;
фиг.1В – устройство по фиг.1А, вид спереди;
фиг.1C – устройство по фиг.1А, вид сбоку;
фиг.1D – профиль по фиг.1А;
фиг.1Е – профиль по фиг.1А, вертикальный разрез;
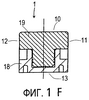
фиг.1F – профиль по фиг.1G, в увеличенном горизонтальном разрезе;
фиг.1G – профиль по фиг.1А, с резьбовым соединением на задней стороне;
фиг.1Н – профиль по фиг.1G, в увеличенном горизонтальном разрезе;
фиг.1I – профиль по фиг.1А, с винтовым соединением на лицевой стороне, с отделенным декоративным покрытием;
фиг.1J – расположение согласно фиг.1I, с декоративным покрытием, надетым на профиль;
фиг.1К – профиль согласно фиг.1J, в увеличенном горизонтальном разрезе;
фиг.1L – вид в перспективе профиля по фиг.1D, вид сзади;
фиг.2А – кронштейн согласно фиг.1А, вид сзади в перспективе;
фиг.2В – кронштейн согласно фиг.2А, в разобранном виде;
фиг.2С – положение пружин и клиньев для кронштейна согласно фиг.2А, с кронштейном, зажатым в профиле;
фиг.2D – положение пружин и клиньев для кронштейна согласно фиг.2А, с кронштейном в свободном положении у профиля;
фиг.3А – расположение согласно фиг.1А, в положении фиксации, вид в перспективе;
фиг.3В – расположение согласно фиг.3А, в увеличенном горизонтальном разрезе;
фиг.4А – расположение согласно фиг.1А, в положении скольжения, в увеличенном горизонтальном разрезе;
фиг.4В – расположение согласно фиг.4А, вертикальный разрез;
фиг.5А – расположение согласно фиг.1А, в свободном положении, вид в перспективе;
фиг.5В – расположение согласно фиг.5А, в увеличенном горизонтальном разрезе;
фиг.5С – расположение согласно фиг.5А, в увеличенном вертикальном разрезе;
фиг.6А – расположение согласно фиг.1А, с универсальным кронштейном, в положении фиксации, вид в перспективе;
фиг.6В – расположение согласно фиг.6А, вид сверху;
фиг.6С – расположение согласно фиг.6А, в увеличенном горизонтальном разрезе;
фиг.7А – панель с устройством для подвешивания согласно фиг.1А и различно конфигурированными несущими рейками;
фиг.7В – часть профиля устройства по фиг.1А с парой пазов;
фиг.7С – универсальный кронштейн согласно фиг.6А;
фиг.7D – кронштейн с прямым плечом;
фиг.7Е – кронштейн со ступенчатым плечом;
фиг.7F – кронштейн с плечом для поддержки перекладины;
фиг.7G – кронштейн с Т-образным плечом;
фиг.7Н – кронштейн с планкой с крючками;
фиг.7I – кронштейн для удержания доски.
Далее с привлечением приложенных чертежей следует детальное описание примеров исполнения соответствующего изобретению устройства для подвешивания в различных модификациях.
Для всего дальнейшего описания справедливы следующие утверждения. Если на какой-то фигуре в целях графической однозначности имеется обозначение, но в относящемся к ней непосредственно описании оно не объясняется, это означает, что оно упоминалось в описании предшествующих фигур. Для наглядности в большинстве случаев отказываются от повторного обозначения конструктивных элементов в следующих фигурах, если из чертежей понятно, что речь идет о “повторяющихся” конструктивных элементах.
На фиг.1А-1L показан профиль 1 с заглубленным относительно лицевой стороны 10 щелевым растром 3. Щелевой растр 3 расположен на обеих боковых сторонах 11, 12 симметрично друг относительно друга, так что образуются пары прорезей, у которых каждая из прорезей находится на одинаковой высоте. Систематизированные по парам прорези 3 имеют снизу выступ в виде карниза 30, а сверху наклонную площадку 31 на плоскости боковых сторон 11, 12. Особенно выгодно выполнить профиль 1 из двух деталей, а именно с задней рейкой 18 из пластмассы, в которой можно удобно сделать прорези 3, и передней рейкой 19, например, из алюминия, которая накрывает заднюю рейку 18 до щелевого растра 3, благодаря чему его контур получается невидимым. Обе рейки 18, 19 соединяются путем геометрического замыкания. Правильное направление монтажа могла бы, например, показывать разметка стрелками на задней рейке 18. Один вариант осуществления профиля 1 предусмотрен для заднего свинчивания – насквозь через заднюю рейку 18 (см. фиг.1F-1H). Другой вариант выполнения профиля 1 служит для фронтального свинчивания – насквозь через переднюю рейку 19, причем в этом случае для накрывания отверстий под винт и головок винта имеется декоративная планка 19′ (см. фиг.1I-1K). Кронштейн 2 с установленной на нем несущей рейкой 4 имеет также охватывающую часть 20 с верхней частью в виде скобок 22 и идущей от нее вниз опорной частью 23.
Кронштейн 2 согласно фиг.2А-2С имеет П-образный идущий вертикально вниз и дополнительный к поперечному сечению профиля 1 паз, чтобы при навешенном кронштейне 2 охватывать им профиль 1, включая его лицевую сторону 10 и обе боковые стороны 11, 12. В расположенной выше части в виде скобок 22 кронштейна 2 с обеих сторон от паза находятся установленные на пружинах 5, ограничено подвижные вбок клинья 50, которые предусмотрены для упругого зацепления в выбранной паре прорезей 3. Пружины 5 вызывают направленное друг на друга предварительное напряжение клиньев 50, острия которых в положении покоя вдаются внутрь паза. Клинья 50 и пружины являются отдельными конструктивными элементами, которые, будучи использованы в скобках 22, взаимно удерживают друг друга.
Если кронштейн 2 навешен на профиль 1 в выбранной высоте согласно порядку и грузоподъемности (это состояние определяется как положение фиксации), клинья 50 выдвинуты пружинами 5 в пару прорезей 3 и садятся на грани 30 обеих прорезей 3. Вертикальный компонент нагрузки, который действует от навешенного кронштейна 2 на несущий профиль 1, будет приниматься клиньями 50, вдвинутыми в пару прорезей 3. Направленные вниз наклонные составляющие нагрузки воспринимаются опорной частью 23 и сторонами клиньев 50. Клинья 50 существенно приблизились друг к другу, и опускание кронштейна 2 блокировано (см. фиг.3С, 3А и 3В).
До того, как перейти в положение фиксации, или при выходе из него кронштейн 2 находится в положении скольжения (см. фиг.4А и 4В). Если висящий на профиле 1 кронштейн 2 поднят вверх, клинья 50 начинают подниматься вдоль на наклонных площадках 31 занятой пары прорезей 3 и будут при этом против натяжения пружины 5 выталкиваться наружу, открытыми почти последовательно с поднятием и выходом из пары прорезей 3.
При дальнейшем поднятии навешенного на профиль 1 кронштейна 2 и увеличивающемся при этом выходе из первоначально занятой пары прорезей 3 будет достигнуто наконец свободное положение кронштейна 2 (см. фиг.2Д, 5А-5С). Клинья 50 полностью вышли из пары прорезей 3, достигли максимального размыкания между собой и сидят теперь на боковых сторонах 11, 12 профиля 1. Здесь кронштейн 2 может быть снят с профиля 1 и сдвигаться дальше вверх или вниз до новой фиксации в первоначально занятой паре прорезей 3.
В разделенном положении кронштейн 2 снят с профиля 1; клинья 50 вдвинуты пружинами 5 максимально до границ в паз и находятся там теперь на минимальном расстоянии друг от друга (см. фиг.2А). Благодаря скосам на клиньях 50 кронштейн 2 может навешиваться на профиль 1 на любой высоте.
Профиль 1 по фиг.6А-7I, составленный из задней рейки 18 с щелевым растром 3 и передней рейки, рассматривается как особенно благоприятный. Показанный на фиг.6А-6С, навешенный на профиль 1 кронштейн 2 может комбинироваться с различно конфигурированными несущими рейками 4, как показано на фиг.7А и 7D-7I.
Для специальных конструкций и применений можно закреплять короткие части профиля 1 на какой-либо опорной структуре. Такие участки должны иметь, по меньшей мере, одну пару лежащих друг против друга прорезей 3. На подобных участках профиля 1 также можно навешивать кронштейны 2, причем здесь вертикальное перемещение по высоте отсутствует (см. фиг.7В и 7С).
Формула изобретения
1. Устройство для подвешивания, состоящее из:
a) расположенного вертикально профиля (1) с лицевой стороной (10), двумя боковыми сторонами (11, 12) и задней стороной (13), а также имеющегося у профиля (1) контура (3) захвата; и
b) навешиваемого на профиль (1) кронштейна (2) с дополняющими контуры (3) захвата фиксирующими элементами (50); причем
c) кронштейн (2) имеет охватывающую часть (20), в которой установлены фиксирующие элементы (50); и
d) кронштейн (2) охватывает лицевую сторону (10), а также обе боковые стороны (11, 12) профиля (1), отличающееся тем, что
e) фиксирующие элементы (50) расположены на имеющей вид скобок части (22) охватывающей части (20) кронштейна (2) или на пружине (5) или выполнены обладающими собственной упругостью; и
f) контуры (3) захвата в профиле (1) расположены в боковых сторонах (11, 12) профиля (1) и заглублены относительно лицевой стороны (10).
2. Устройство для подвешивания по п.1, отличающееся тем, что контуры (3) захвата образованы как заглубленные относительно лицевой стороны клиновидные прорези (3) в боковых сторонах (11, 12), снизу имеют выступ (30) в виде карниза и постепенно сближаются предпочтительно в наклонной плоскости (31), поднимаясь к плоскости боковых сторон (11, 12).
3. Устройство для подвешивания по п.1 или 2, отличающееся тем, что
a) контуры (3) захвата на одной из боковых сторон (11) расположены симметрично контурам (3) захвата на другой боковой стороне (12);
b) фиксирующий элемент (50) в кронштейне (2) является соответственно установленным на пружине (5) клином (50), причем пружины (5) и клинья (50) предусмотрены соответственно по обеим сторонам паза, принимающего профиль (1); и
c) пружины (5) и клинья (50) взаимно удерживают друг друга.
4. Устройство для подвешивания по п.1 или 2, отличающееся тем, что
a) профиль (1) состоит из задней рейки (18) с контурами (3) захвата, которая предпочтительно является пластмассовой, и передней рейки (19); и
b) профиль (1) используется как цельная стойка или в виде коротких отрезков, по меньшей мере, с одной парой контуров (3) захвата.
5. Устройство для подвешивания по п.3, отличающееся тем, что
a) профиль (1) состоит из задней рейки (18) с контурами (3) захвата, которая предпочтительно является пластмассовой, и передней рейки (19); и
b) профиль (1) используется как цельная стойка или в виде коротких отрезков, по меньшей мере, с одной парой контуров (3) захвата.
РИСУНКИ
|