|
|
(21), (22) Заявка: 2005112110/12, 22.04.2005
(24) Дата начала отсчета срока действия патента:
22.04.2005
(46) Опубликовано: 20.11.2006
(56) Список документов, цитированных в отчете о поиске:
SU 1012854 A1, 23.04.1983. SU 1703008 A1, 07.01.1992. RU 2138061 C1, 27.09.1999. GB 1300893 A, 20.12.1972. WO 9803061 А, 29.01.1998.
Адрес для переписки:
625003, г.Тюмень, ул. Семакова, 10, Тюменский государственный университет
|
(72) Автор(ы):
Слинкин Николай Павлович (RU), Мухачев Игорь Семенович (RU)
(73) Патентообладатель(и):
ГОУ ВПО “Тюменский государственный университет” (RU)
|
(54) УСТРОЙСТВО ДЛЯ ЛОВА РЫБЫ
(57) Реферат:
Изобретение относится к озерному рыбоводству и может использоваться для лова пеляди, ряпушки и других сиговых рыб, выращиваемых в озерах. Устройство включает, потокообразователь и орудие лова, установленное в зоне действия потокообразователя. Орудие лова состоит из двух ставных неводов, расположенных в зонах ощутимого обратного течения, один из которых установлен с левой стороны, а другой с правой стороны от потока воды, создаваемого потокообразователем. Ставные невода расположены по концам крыла, перегораживающего поток воды под прямым углом, а вход в котел одного ставного невода размещен напротив входа в котел другого ставного невода. Обеспечивается повышение эффективности лова рыбы, сокращение сроков лова и экономия электроэнергии (топлива). 1 ил.
Изобретение относится к озерному рыбоводству и может использоваться для лова пеляди, ряпушки и других сиговых рыб, выращиваемых в озерах.
Известно устройство для лова рыбы – ставной невод, состоящий из направляющего крыла, дворового образования и котла (см. Орудия промышленного рыболовства внутренних водоемов России. Справочник, том 2. Орудия промышленного рыболовства Сибири и Урала. – Тюмень, 2003. – 187 с.). Это орудие лова широко применяется в Сибири и на Урале для облова озер, зарыбленных сиговыми рыбами – пелядью, ряпушкой и другими. Оно отличается простотой конструкции и удобством эксплуатации. Ставные невода ловят рыбу автоматически, селективно и непрерывно. Работа с ними менее трудоемка, чем с закидными неводами, сетями и вентерями. Однако лов ставными неводами в зарыбляемых озерах эффективен только осенью в период открытой воды, когда под действием преобладающего ветра в озерах образуется устойчивое ветровое течение и стайные рыбы совершают упорядоченные перемещения по течению или против течения. В подледный период лова, когда течение воды в озерах отсутствует, лов ставными неводами становится не эффективным. Поэтому их в это время не применяют.
Для того чтобы успеть выловить ставными неводами до ледостава всю выращенную рыбу, к лову приступают в конце августа – начале сентября, когда среднесуточный прирост сеголетков пеляди достигает 3-4 г, а двухлетков – 9-13 г и они имеют в 2,5 раза меньше жира, чем в середине – октября (Бурдиян Б.Г, Мухачев И.С. Выращивание товарной рыбы в озерах. – М.: Пищевая промышленность, 1975. – 50 с.). В результате преждевременного вылова снижается продуктивность водоемов и качество рыбы и рыбной продукции. Кроме того, для хранения рыбы, выловленной в августе-сентябре, требуются холодильники.
Наиболее близким к изобретению является устройство для лова рыбы, включающее потокообразователь и орудие лова, установленное в зоне действия потокообразователя (а.с. 1012854 А 01 К 79/00). Орудием лова в известном устройстве является ловушка закрытого типа – вентерь с узким входом в камеру. Однако пелядь и другие сиговые, являющиеся стайными рыбами, отрицательно реагируют на узкие входные устройства. Для их успешного лова необходимы широкие входные устройства. (Сергеев Ю.С. Основы теории ставного неводного и тралового лова. – М.: Пищевая промышленность, 1979. – 143 с.). По этой причине для вылова всей выращенной рыбы требуется много времени (от 20 до 50 дней).
Попытка применения ставного невода с широким входом на участке полностью принудительного сноса рыбы (вместо вентеря) успеха не имела, так как передняя и задняя стенки котла невода оказывают значительно большее сопротивление потоку воды. В результате этого уменьшается зона действия потока воды на рыбу и эффективность лова. Кроме того, в котле ставного невода, расположенного на участке полностью принудительного сноса, рыбу течением прижимает к задней стенке и она быстро погибает. Сопротивление задней стенки потоку воды еще больше увеличивается.
Недостатком известного устройства является также то, что для принудительного сноса рыбы в орудие лова требуется большая скорость течения перед входным устройством (она должна быть равна 3-5L, где L длина рыбы в метрах), а значит, требуется источник потока большой мощности, особенно в том случае, когда объектом лова является крупная рыба, например производители пеляди. Неудобной является и переборка ловушки, которая производится с использованием лодки.
Технический результат от использования изобретения заключается в сокращении сроков лова, экономии электроэнергии (топлива) и повышении эффективности лова.
Это достигается тем, что в устройстве для лова рыбы, включающем потокообразователь и орудие лова, установленное в зоне действия потокообразователя, орудие лова состоит из двух ставных неводов, расположенных в зонах ощутимого обратного течения, один из которых установлен с левой стороны, а другой с правой стороны от потока воды, создаваемого потокообразователем, причем ставные невода расположены по концам крыла, перегораживающего поток воды под прямым углом, а вход в котел одного ставного невода размещен напротив входа в котел другого ставного невода.
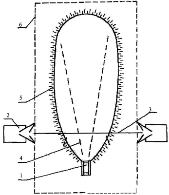
На чертеже схематически изображено предлагаемое устройство, вид сверху.
Устройство для лова рыбы включает потокообразователь 1, ставные невода 2, направляющее крыло 3. Кроме того, на чертеже показаны: линия нулевых споростей 4, граница ощутимого течения 5 и веревочное ограждение 6.
Устройство для лова рыбы работает следующим образом.
Потокообразователь 1, ставные невода 2 и направляющее крыло ставят по тонкому льду в соответствии с чертежем, причем направляющее крыло ставят в 30-40 м от потокообразователя по оси потока с учетом того, что основная масса сиговых входит в поток воды в 5-30 м от потокообразователя (Слинкин Н.П. Особенности реакции рыбы на создаваемое в озере циркуляционное течение / Обмен опытом по выращиванию в поликультуре рыбопосадочного материала в озерах товарных хозяйств. – Тюмень, 1982. – С.89).
Ставные невода ставят за пределами опасной зоны на минимальном расстоянии от границы открытой воды.
При движении в попутном направлении с ощутимым обратным течением, направленным из озера к источнику потока объект лова, встретив на своем пути направляющее крыло и пытаясь его обойти, попадает в ставные невода. Рыбу из ставных неводов выгружают сачками на расположенную рядом площадку для заморозки или непосредственно в транспортное средство.
ИСТОЧНИКИ ИНФОРМАЦИИ
1. Орудия промышленного рыболовства внутренних водоемов России. Справочник, Том 2. Орудия промышленного рыболовства Сибири и Урала. Тюмень, 2003. – 187 с.
2. Бурдиян Б.Г., Мухачев И.С. Выращивание товарной рыбы в озерах. – М.: Пищевая промышленность, 1975. – 62 с.
3. А.с. 1012854, А 01 К 79/00.
4. Сергеев Ю.С. Основы теории лова ставными неводами и тралами. – М.: Пищев. пром-сть, 1979. – 143 с.
5. Слинкин Н.П. Особенности реакции рыбы на создаваемое в озере циркуляционное течение / Обмен опытом по выращиванию в поликультуре рыбопосадочного материала в озерах товарных рыбных хозяйств. Тюмень, 1982. – С.89).
Формула изобретения
Устройство для лова рыбы, включающее потокообразователь и орудие лова, установленное в зоне действия потокообразователя, отличающееся тем, что орудие лова состоит из двух ставных неводов, расположенных в зонах ощутимого обратного течения, один из которых установлен с левой стороны, а другой с правой стороны от потока воды, создаваемого потокообразователем, причем ставные невода расположены по концам крыла, перегораживающего поток воды под прямым углом, а вход в котел одного ставного невода размещен напротив входа в котел другого ставного невода.
РИСУНКИ
|
|