|
|
(21), (22) Заявка: 2004118726/28, 21.06.2004
(24) Дата начала отсчета срока действия патента:
21.06.2004
(43) Дата публикации заявки: 10.12.2005
(46) Опубликовано: 10.11.2006
(56) Список документов, цитированных в отчете о поиске:
RU 2154875 С2, 20.08.2000. SU 857663 А, 23.08.1981. RU 2220649 C2, 10.01.2004. US 6308519 A, 30.10.2001. US 5609032 A, 11.03.1997.
Адрес для переписки:
420110, г.Казань, ул. К. Маркса, 10, КГТУ им. А.Н. Туполева, Отдел интеллектуальной собственности
|
(72) Автор(ы):
Русяев Николай Николаевич (RU), Шипилова Татьяна Александровна (RU), Русяев Илья Николаевич (RU)
(73) Патентообладатель(и):
Казанский государственный технический университет им. А.Н. Туполева (RU)
|
(54) УСТРОЙСТВО ДЛЯ НАГРЕВА ИЛИ ОХЛАЖДЕНИЯ
(57) Реферат:
Изобретение относится к системам нагрева или охлаждения, а именно к устройствам, работа которых основана на эффекте Пельтье. Сущность: устройство содержит термоэлектрическую батарею, составленную из элементов Пельтье. Батарея имеет две поверхности теплового контакта и хотя бы два электрических контакта. В разрыв провода питания термоэлектрической батареи введен переключатель, соединенный со схемой измерения разности потенциалов электрических контактов термоэлектрической батареи. Устройство содержит также автомат управления переключателем, циклически изменяющий его положение. Хотя бы на одной поверхности термоэлектрической батареи может быть установлен датчик температуры и введен электронный термометр с блоком сравнения измеренной температуры с заданной, присоединенный к датчику температуры и к автомату управления переключателем. Технический результат: сокращение длительности переходного процесса установления температуры и уменьшение погрешности измерения температуры. 1 з.п. ф-лы, 2 ил.
Изобретение относится к системам нагрева или охлаждения, а именно к устройствам, работа которых основана на эффекте Пельтье, и может быть использовано в микроэлектронике, а также медицине и фармацевтике.
Прототипом изобретения является устройство для нагрева и охлаждения жидкости, включающее по крайней мере одну термобатарею, содержащую полупроводниковые ветви р- и n- проводимости, теплопереходы, теплообменники горячего и холодного контуров протока жидкости, средства подачи и отвода жидкости и токовые выводы, датчики температуры, цепь питания постоянным током, блок питания с силовыми элементами (Патент РФ №2154875, кл. Н 01 L 35/28, 20.08.2000 г.).
Недостатком устройства является длительный переходной процесс установления температуры и связанная с этим динамическая погрешность измерения температуры.
Техническим результатом настоящего изобретения является сокращение длительности переходного процесса установления температуры и уменьшение погрешности измерения температуры.
Решаемая техническая задача в устройстве для нагрева или охлаждения, содержащем термоэлектрическую батарею, составленную из элементов Пельтье, имеющую две общих поверхности теплового контакта и хотя бы два электрических контакта, камеру, теплообменник, приведенные в тепловой контакт с разными поверхностями термоэлектрической батареи, блок электропитания термоэлектрической батареи, достигается тем, что в разрыв провода питания введен переключатель, имеющий контакт со схемой измерения разности потенциалов электрических контактов термоэлектрической батареи. В устройство для нагрева или охлаждения может быть введен автомат управления переключателем, циклически изменяющий его положение, соединенный со схемой измерения разности потенциалов электрических контактов термоэлектрической батареи, и хотя бы на одной поверхности термоэлектрической батареи установлен датчик температуры и может быть введен электронный термометр с блоком сравнения измеренной температуры с заданной, присоединенный к датчику температуры и к автомату управления переключателем.
Все схемы, содержащиеся в устройстве для нагрева или охлаждения, выполнены в стандартной форме.
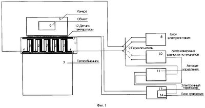
Сущность устройства для нагрева и охлаждения поясняется чертежами, где на фиг.1 показан пример выполнения устройства с постоянным соединением термоэлектрической батареи со схемой измерения разности потенциалов, на фиг.2 – пример выполнения устройства с включением схемы измерения разности потенциалов термоэлектрической батареи на время отключения питания.
Устройство для нагрева или охлаждения содержит термоэлектрическую батарею 1, составленную из элементов Пельтье 2, имеющую две общие поверхности 3 теплового контакта и хотя бы два электрических контакта 4, камеру 5, в которую помещают нагреваемый или охлаждаемый объект 6, теплообменник 7, выполненный, например, в виде радиатора, приведенные в тепловой контакт с разными поверхностями 3 термоэлектрической батареи 1, блок электропитания 8 термоэлектрической батареи 1, в разрыв провода питания термоэлектрической батареи 1 введен переключатель 9, имеющий контакт со схемой измерения разности потенциалов 10 электрических контактов 4 термоэлектрической батареи 1, введен автомат управления переключателем 11, циклически изменяющий его положение, соединенный со схемой измерения разности потенциалов 10 электрических контактов 4 термоэлектрической батареи 1, и хотя бы на одной из поверхностей 3 термоэлектрической батареи 1 установлен датчик температуры 12 и введен электронный термометр 13 с блоком сравнения 14 измеренной температуры с заданной, присоединенный к датчику температуры 12 и к автомату управления переключателем 11.
Рассмотрим устройство для нагрева или охлаждения в работе.
Работу устройства можно разделить на две фазы.
Охлаждение: к электрическим контактам 4 термоэлектрической батареи 1 от блока электропитания 9 подают питание, температуры поверхностей 3 термоэлектрической батареи 1 начинают изменяться, одна из поверхностей 3 (нижняя по чертежу) начинает нагреваться, а другая поверхность 3 (верхняя по чертежу) начинает охлаждаться и охлаждать камеру 5 и, соответственно, объект 6, находящийся в ней. Тепло от нагреваемой поверхности 3 отводится теплообменником 7. В термоэлектрической батарее возникает термоэлектрическая разность потенциалов. При смене полярности тока нагреваемая и охлаждаемая поверхности 3 поменяются местами, и объект 6 в камере 5 будет нагреваться.
Измерение: при измерении температуры внутренних поверхностей 3 термоэлектрической батареи 1 переключатель 9 разрывает питание и присоединяет электрический контакт 4 термоэлектрической батареи к схеме измерения разности потенциалов 10 на время выполнения измерений, а затем восстанавливает питание. Переключение в режим измерения автоматически осуществляется автоматом управления переключателем 11. Датчик температуры 12 на внешней поверхности 3 термоэлектрической батареи 1 присоединен к электронному термометру 13, который передает на блок сравнения 14 сигнал, из которого по достижении требуемой температуры блок сравнения 14 вырабатывает сигнал, по которому автомат управления переключателем 11 прерывает циклы включения электрического питания термоэлектрической батареи 1. Циклические замеры разности температур производятся с периодичностью от 1 мс до 10 с соответственно объему и массе камеры.
Таким образом, зная температуру на внутренней поверхности термоэлектрической батареи, можно добиться сокращения длительности переходного процесса установления температуры и уменьшения погрешности измерения температуры.
Устройство проходило испытания, подтвердившие его работоспособность, и показало следующие результаты.
Холодопроизводительность термоэлектрического преобразователя Пельтье соответствует технической документации при длительности циклов измерения менее 100 мс.
Погрешность измерения температуры не хуже 0,5%.
Время циклов измерения не превышает 1% периода питающего напряжения.
Формула изобретения
1. Устройство для нагрева или охлаждения, содержащее термоэлектрическую батарею, составленную из элементов Пельтье, имеющую две поверхности теплового контакта и хотя бы два электрических контакта, камеру, теплообменник, приведенные в тепловой контакт с разными поверхностями термоэлектрической батареи, блок электропитания термоэлектрической батареи, отличающееся тем, что в разрыв проводов питания термоэлектрической батареи введен переключатель, соединенный со схемой измерения разности потенциалов электрических контактов термоэлектрической батареи и соединенный с автоматом управления переключателем, циклически изменяющий его положение.
2. Устройство по п.1, отличающееся тем, что хотя бы на одной поверхности термоэлектрической батареи установлен датчик температуры и введен электронный термометр с блоком сравнения измеренной температуры с заданной, соединенный с датчиком температуры и автоматом управления переключателем.
РИСУНКИ
MM4A – Досрочное прекращение действия патента СССР или патента Российской Федерации на изобретение из-за неуплаты в установленный срок пошлины за поддержание патента в силе
Дата прекращения действия патента: 22.06.2008
Извещение опубликовано: 20.06.2010 БИ: 17/2010
|
|