|
|
(21), (22) Заявка: 2005116770/28, 02.06.2005
(24) Дата начала отсчета срока действия патента:
02.06.2005
(46) Опубликовано: 10.11.2006
(56) Список документов, цитированных в отчете о поиске:
RU 2221237 C2, 10.01.2004. SU 855445 A1, 17.08.1981. RU 94023383 A1, 27.08.1996. SU 631798 A1, 05.11.1978. JP 10197460 A, 31.07.1998. EP 0774659 A1, 21.05.1997. US 6603544 B1, 05.08.2003. US 4346299 A, 24.08.1982. US 4037109 A, 19.07.1977.
Адрес для переписки:
115230, Москва, Варшавское ш., 46, ВНИИТФА
|
(72) Автор(ы):
Варварица Владислав Петрович (RU), Нагорный Василий Яковлевич (RU), Чарский Михаил Михайлович (RU), Александрова Инна Васильевна (RU), Прохоров Сергей Евгеньевич (RU), Узволок Александр Львович (RU), Ворошилов Владимир Федорович (RU), Мустафин Сергей Владимирович (RU)
(73) Патентообладатель(и):
Федеральное государственное унитарное предприятие “Всероссийский научно-исследовательский институт технической физики и автоматизации” (ФГУП “ВНИИТФА”) (RU)
|
(54) УСТРОЙСТВО ДЛЯ РЕНТГЕНОРАДИОМЕТРИЧЕСКОГО АНАЛИЗА СОСТАВА ПУЛЬП И РАСТВОРОВ
(57) Реферат:
Использование: для рентгенорадиометрического анализа состава пульп и растворов. Сущность заключается в том, что устройство для рентгенорадиометрического анализа состава пульп и растворов содержит источник излучения и блок детектирования, соединенные со стенкой емкости с анализируемой средой через окно для прохождения излучения, затянутое с двух сторон пленками, при этом внешняя пленка окна, непосредственно соприкасающаяся с анализируемой средой, выполнена из материала, или уже имеющего отрицательный электрический заряд, или способного к такому заряду при трении с движущейся средой, и, кроме того, за внутренней пленкой размещен контур из электропроводящего материала, подсоединенный к источнику отрицательного потенциала блока электропитания. Технический результат: повышение точности и достоверности анализа элементного состава пульпы. 1 ил.
Изобретение относится к устройствам для анализа состава вещества и его плотности, в частности к устройствам для рентгенорадиометрического анализа состава пульп, растворов, промывочных кислот и т.п. в технологическом потоке.
Известен датчик для рентгенорадиометрического анализа состава пульпы непосредственно в технологическом потоке, который включает в себя погружной корпус, закрепленный на поддерживающей плите, с окном, вблизи которого расположен источник гамма- или рентгеновского излучения (патент Великобритании №1350523, МПК G 01 N 23/00, 1974 г.).Внутри корпуса расположен блок детектирования. Излучение источника вызывает флуоресцентное излучение анализируемой жидкости, в которую погружен датчик. Это излучение проходит через майларовое окно датчика и попадает на детектор. Для корректировки результатов анализа элементного состава пульпы, которые зависят от плотности, дополнительно устанавливается датчик для измерения плотности пульпы в месте измерения флуоресцентного излучения анализируемых элементов.
Недостатками известного датчика является недостаточная точность и стабильность (достоверность) измерений при анализе из-за того, что датчик жестко связан с элементами технологического оборудования и незащищен от вибраций его узлов и деталей, а также из-за налипания твердой фазы анализируемой среды на пленку окна.
Известно устройство для рентгенорадиометрического анализа состава пульп и растворов, наиболее близкое по назначению и конструкции к заявляемому, которое принято за прототип (патент РФ 2221237 G 01 N 23/223).
В устройстве-прототипе обеспечивается одновременное измерение содержания элементов и плотности в одной точке одним датчиком, а снижение налипания пульпы на майларовое окно обеспечивается за счет конусности в конструкции, при которой создаются условия для смывания налипающих на окне частиц пульпы быстрым турбулентным потоком пульпы.
Однако при медленном продвижении пульпы, а также при остановках ее продвижения, появляется налипание ее на пленку, что обуславливает снижение точности и достоверности анализа, так как измеряется не состав пульпы, а состав налипшего слоя.
Налипание имеет электростатическую природу и происходит из-за разноименности электрических зарядов, а именно из-за отрицательного заряда пульпы и положительного заряда пленки окна, которая заряжается положительно под воздействием проникающего через нее гамма-излучения, когда гамма-кванты выбивают электроны из материала пленки.
Технический результат, получаемый при реализации предлагаемого устройства, заключается в повышении точности и достоверности анализа элементного состава пульпы за счет улучшения условий эксплуатации при существенном уменьшении налипания анализируемой среды на пленку окна.
Указанный технический результат достигается за счет того, что в устройстве для рентгенорадиометрического анализа состава пульп и растворов, содержащем источник радионуклидного или рентгеновского излучения, блок детектирования, внешний блок электропитания и емкость для анализируемой среды с окном для прохождения ионизирующего излучения, затянутым с двух сторон пленками “прозрачными” для излучения, внешняя пленка окна, непосредственно соприкасающаяся с анализируемой средой, выполнена из материала, или уже имеющего отрицательный электрический заряд, или способного к заряду при трении с движущейся средой, а вблизи этой внешней пленки, непосредственно за внутренней пленкой, размещен контур из электропроводящего материала, подсоединенный к источнику отрицательного потенциала блока электропитания.
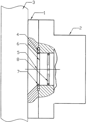
Состав предлагаемого устройства показан на чертеже. Оно состоит из части 1 и части 2. Часть 1, герметично установленная в стенку емкости 3 с анализируемой средой, (в трубопровод) для прохождения излучения имеет отверстие-окно в виде конуса. Часть 2, содержащая источник излучения и детектор, а также для прохождения излучения окно соосное с окном части 1, герметично соединена с частью 1 через прокладку 4, окно которой затянуто с одной, внутренней стороны, пленкой 5 из электрета, а с другой, внешней стороны, – пленкой 6 из майлара. Между пленками размещен датчик 7 разрыва пленки 5, а вблизи пленки 5, практически непосредственно за пленкой 6, размещен контур 8 из электропроводящего материала, подключенный к отрицательному потенциалу блока электропитания.
Работа устройства происходит следующим образом.
На стенку емкости 3 с анализируемой средой устанавливают часть 1, с которой соединяют часть 2. Окно врезанной части 1,затянутое пленкой 5, полностью перекрывают пульпой. Пульпу или раствор облучают через соосные окна части 1 и части 2 потоком рентгеновского или радионуклидного излучения. Вторичное характеристическое и рассеянное излучения регистрируют полупроводниковым детектором, расположенным в части 2. При этом возбуждаемое широким потоком первичного излучения характеристическое излучение металлов пульпы или растворов и рассеянное излучение позволяет одновременно анализировать содержание металла в пульпе и ее плотность.
Полученную информацию преобразуют в электрические импульсы, которые по радиочастотному кабелю передают на обработку и которые составляют информацию о содержании элементного состава и плотности.
Пленки, закрывающие окна, выполняются из материала слабо ослабляющего ионизирующее излучение. Пленка 5 окна, контактирующая с пульпой выполняется или из электретной пленки, имеющей отрицательный электрический заряд, например из пленки на основе фторопласта типа “полимед”, или из пленки, которая приобретает электростатический отрицательный заряд в результате трения движущейся пульпы, например пленка на основе стекловолокна. Пульпа имеет также отрицательный электрический заряд. В результате отталкивания одноименных зарядов налипание пульпы на пленку практически отсутствует. Пленка 6 выполняется, например, из майлара, “прозрачного” для ионизирующего излучения.
Для компенсации утечки отрицательного заряда с электретной пленки, а также для увеличения электростатического заряда на самозаряжающейся пленке при медленном движении пульпы используется подпитка заряда за счет внешнего электростатического поля, создаваемого электропроводящим контуром 8, расположенным вблизи пленки 5 для создания вокруг пленки 5 электростатического поля.
Предварительный расчет оптимального расстояния контура 8 от пленки 5 осуществляют по известной методике: Б.М.Яворский и др. Курс физики, том 2, Электричество и магнетизм, М.: Высшая школа, М., 1966 г, стр.33-35.
Практически расстояние контура 8 от электретной пленки 5 составляет 20-30 мм, что превышает расстояние между пленками 5 и 6, поэтому контур 8 устанавливается непосредственно за пленкой 6.
Сопоставительный анализ аналогичных технических решений, описанных в патентной и технической литературе, показал, что предложенное техническое решение является новым и для специалистов явным образом не следует из уровня техники, имеет изобретательский уровень, промышленно осуществимо и применимо в указанной области, то есть соответствует критериям изобретения.
Формула изобретения
Устройство для рентгенорадиометрического анализа состава пульп и растворов, содержащее источник излучения и блок детектирования, соединенные со стенкой емкости с анализируемой средой через окно для прохождения излучения, затянутое с двух сторон пленками, отличающееся тем, что внешняя пленка окна, непосредственно соприкасающаяся с анализируемой средой, выполнена из материала или уже имеющего отрицательный электрический заряд, или способного к такому заряду при трении с движущейся средой, при этом за внутренней пленкой размещен контур из электропроводящего материала, подсоединенный к источнику отрицательного потенциала блока электропитания.
РИСУНКИ
PD4A – Изменение наименования обладателя патента СССР или патента Российской Федерации на изобретение
(73) Новое наименование патентообладателя:
Открытое акционерное общество «Научно-исследовательский институт технической физики и автоматизации» (RU)
Адрес для переписки:
115230, Москва, Варшавское ш., д. 46, ОАО «НИИТФА»
Извещение опубликовано: 20.04.2009 БИ: 11/2009
|
|