|
|
(21), (22) Заявка: 2005110308/02, 08.04.2005
(24) Дата начала отсчета срока действия патента:
08.04.2005
(46) Опубликовано: 10.11.2006
(56) Список документов, цитированных в отчете о поиске:
Ближайший аналог не обнаружен. SU 100943 A, 01.01.1955. SU 1138607 A, 07.02.1985. FR 2029450 A, 23.10.1970. GB 1512754 A, 01.06.1978.
Адрес для переписки:
623388, Свердловская обл., г. Полевской, ул. Вершинина, 7, ОАО “Северский трубный завод”, начальнику БРИТИ Н.И. Железняк
|
(72) Автор(ы):
Зуев Михаил Васильевич (RU), Засухин Анатолий Леонтьевич (RU), Сухнев Владимир Иванович (RU), Лисиенко Владимир Георгиевич (RU), Воронов Герман Викторович (RU)
(73) Патентообладатель(и):
ОАО “Северский трубный завод” (RU)
|
(54) УСТРОЙСТВО КОМБИНИРОВАННОЙ АКУСТИКО-АЭРОДИНАМИЧЕСКОЙ ЗАЩИТЫ ОБЪЕКТИВОВ ПРИБОРОВ ТЕПЛОВОГО КОНТРОЛЯ
(57) Реферат:
Изобретение относится к области приборостроения, а именно к оптическим устройствам и приборам теплового контроля, используемым в металлургии. Технический результат – повышение надежности и точности теплотехнических измерений. Устройство комбинированной акустико-аэродинамической защиты объективов приборов теплового контроля позволит при использовании одного источника энергии – сжатого газа обеспечить как акустическое воздействие на предлинзовое пространство с коагуляцией мелких частиц аэрозоля, так и аэродинамическое воздействие с выносом этих частиц за пределы этого пространства. При этом обеспечивается подстройка акустического газового излучателя как по интенсивности звуковой энергии, так и по частоте акустических колебаний для более эффективной коагуляции частиц аэрозолей различных концентраций и размеров. Использование разработанного устройства обеспечит эффективную защиту линз приборов теплового контроля от воздействия частиц аэрозолей, уменьшит эксплуатационные затраты и повысит надежность и точность теплотехнических измерений. 2 з.п. ф-лы, 1 ил.
Изобретение относится к области приборостроения, а именно к оптическим устройствам и приборам теплового контроля, используемым в металлургии.
В известных конструкциях устройств фурм, защитных кожухов, используемых для установки радиационных пирометров, фотопирометров, пирометров спектрального отношения и других типов приборов, измеряющих температуру и тепловые потоки, с целью предотвращения попадания пыли, дыма и копоти, излучающих и поглощающих газов от объекта измерения (теплотехнического объекта) на объектив чувствительных элементов прибора перед объективом делается отдув, используя для этого, например, сжатый воздух. Сжатый воздух или инертный газ подают во внутреннюю полость визирной арматуры для создания сопротивления проникновению дымовых газов, продуктов сгорания к оптической системе приборов. Это касается, в первую очередь, таких запыленных технологических объемов, как мартеновские печи (своды и регенераторы), конверторы, печи медной плавки, миксеры, нагревательные печи, стекловаренные печи и др. [1-3].
Однако недостатком этих устройств является сравнительно большой расход сжатого воздуха или инертного газа, к которым предъявляются в этом случае высокие требования по очистке их самих от масла, пыли, влаги. Кроме того, при этом не удается устранить попадание на объективы пирометров чувствительных элементов приборов мелкой пыли, которая, благодаря вихревому характеру потоков, способна диффузно проникать через струйные завесы и потоки. Это приводит к частому засорению оптики пирометров, что искажает показания приборов и требует частой их чистки.
Известны также способ и конструкция устройства для осуществления этого способа защиты объективов датчиков приборов от промышленной пыли, копоти, дыма методом звуковой коагуляции с частотой 0,5-20 кГц [6].
Этот способ и конструкция устройства имеют следующие недостатки: большие энергетические затраты и сложная конструкция устройства, так как воздействию акустического поля подвергается все рабочее пространство агрегата, в котором проводятся измерения. Например, чтобы измерить температуру мартеновской печи нужно подвергнуть акустическому воздействию верхнее и нижнее пространство печи. На это требуется большое количество энергетических ресурсов. Если требуется постоянно контролировать температуру заготовки прокатного стана, то затраты энергии на создание акустического поля будут еще больше. Жесткое требование к уровню шума (не более 75 дБ в производственных помещениях), который возникает при осуществлении метода звуковой коагуляции в открытом помещении, делают этот способ неприемлемым, так как стоит вопрос о защите здоровья обслуживающего эти объекты персонала.
Известны также способ и конструкция устройства, исключающие влияние дыма и паров на результаты измерения температуры радиационным пирометром, в котором предложено использовать известное коагулирующее действие ультразвука [8]. В этом способе и конструкции устройства, реализующей этот способ, определяются основные факторы, обеспечивающие степень и скорость очистки газа методом ультразвуковой коагуляции: интенсивность и частота звука, время экспозиции, исходная концентрация и размер частиц аэрозоля.
Однако недостатком известных способов и конструкций устройств [7, 8] является ориентировка на использование ультразвуковых излучателей. Так в способе [8] указано на применение ультразвукового излучателя кольцевого типа, расположенного коаксиально оптической оси объектива пирометра. В ультразвуковых излучателях используют пьезоэлементы, преобразующие электрические колебания в ультразвуковые. При этом возникает трудность управления (изменения) частоты и интенсивности ультразвука такого излучателя [7] для настройки на исходную концентрацию и размер частиц аэрозоля [8]. Кроме того, известно, что крупные частицы (диаметром 500 и более микрометров) не подвержены действию звуковых колебаний в диапазоне частот колебаний 0,5-20 кГц [6].
Недостатками известных устройств являются: применение ультразвуковых излучателей колебаний, основанных на использовании пьезоэлементов, требующих дополнительного подвода электроэнергии, что усложняет и удорожает конструкцию приборов; кроме того, в процессе измерений трудно при использовании ультразвуковых излучателей изменять интенсивность и частоту звуковых колебаний для подстройки на концентрацию и размеры частиц аэрозоля. При этом сравнительно крупные частицы не подвержены коагуляционному действию ультразвуковых колебаний и налипают на поверхность линз.
Задача, решаемая предлагаемым изобретением – более полное обеспечение защиты линз объективов оптических приборов теплового контроля, а следовательно, и повышение точности измерения, от осаждающихся на линзы взвешенных частиц, копоти и дыма, а также удешевление конструкции прибора.
Задача решена за счет применения одного источника энергии – сжатого газа для одновременного (комбинированного) использования отдува частиц газом (для защиты от крупных частиц) и создания поля звуковых колебаний с регулируемым диапазоном интенсивности и частоты звуковых колебаний (для защиты от мелких частиц), с возможностью подстройки звуковых колебаний на концентрацию и размер частиц для их эффективной коагуляции [6].
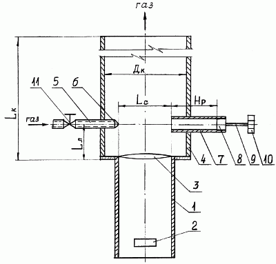
На чертеже изображена схема устройства для комбинированной защиты объективов приборов теплового контроля.
Устройство содержит:
1 – корпус прибора;
2 – чувствительный элемент;
3 – линзу;
4 – визирующую фурму;
5 – трубопровод;
6 – сопло;
7 – трубку резонатора;
8 – торцевую винтовую пробку;
9 – шток;
10 – маховик;
11 – кран.
Сопло 6 установлено соосно трубке резонатора звуковых колебаний 7 и расположено на внутренней полости визирующей фурмы 4. Длина резонатора регулируется с помощью винтовой пробки 8, штока 9 и маховика 10. Расход защитного газа регулируется краном 11.
Заявляемое устройство работает следующим образом: по трубопроводу 5 через сопло 6 в рабочее пространство визирующей фурмы 4 подается струя защитного газа (очищенный воздух, азот или другие инертные газы) с давлением 0,5-2 ат (0,05-0,2 МПа). При этом максимальный расход газа (Gг) определяется при полностью открытом кране 11 площадью выходного сечения сопла 6 по формуле [9, с.119]:

где Кг – коэффициент, зависящий от природы газа;
Рт – давление газа;
Тт – температура газа;
Wкр – площадь выходного сечения газового сопла.
При поступлении струи газа в резонатор 7 в нем возникают звуковые колебания, их частота (f) зависит от длины резонатора Нр и определяется по формуле [4]:
f=bo Нp -m,
где bo=43300-43400,
Нр – длина резонатора, мм,
m=0,8-0,9.
Расход газа (Gг) через сопло 6 связан с интенсивностью звука (Iз) через коэффициент (Кз), определяемый КПД энергии звуковых колебаний [4]:
Iз=КзGг.
В предлагаемом устройстве расход газа и, следовательно, интенсивность звуковых колебаний регулируется краном 11; частота звуковых колебаний регулируется перемещением винтовой пробки 8 с помощью штока 9 и маховика 10. Озвученный газ через внутреннюю полость визирующей фурмы 4 поступает в рабочее пространство контролируемого объема.
Таким образом, данное устройство создает одновременно условия акустико-аэродинамической защиты как от мелкой пыли (до 500 мкм) – акустическая защита, так и крупной пыли (более 500 мкм) – аэродинамическая защита. Мелкая пыль коагулирует за счет воздействия звуковых колебаний. Вынос за пределы оптики образовавшихся крупных частиц и аэродинамический затвор от проникновения в кожух крупных частиц извне обеспечивается потоком газа, выходящего из кожуха после озвучивания. Для подстройки звуковых колебаний на определенную частоту в зависимости от размеров частиц используется изменение длины резонатора (Нр). Для подстройки интенсивности звука в зависимости от концентрации частиц используется изменение расхода газа (GГ). При этом для защиты оптики как от крупных, так и от мелких частиц используется один и тот же энергоноситель – подаваемый сжатый газ.
Изготовлены опытно-экспериментальные образцы на ОАО “Северский трубный завод” для защиты от пыли линз радиационных пирометров на мартеновских и нагревательных печах. В результате испытаний выявлены следующие параметры устройства:
Давление газа 0,5-2 ат (0,05-0,2 МПа);
диаметр сопла 6=14-3 мм;
диаметр резонатора 7=20-25 мм;
расстояние от выходного сечения сопла до входа в резонатор (Lc)=60-80 мм;
длина резонатора изменяется в пределах 35-100 мм;
диаметр визирующей фурмы (Дк)=100-133 мм;
длина визирующей фурмы (Lк)=1400-1600 мм;
расстояние от оси “сопло-резонатор” до линзы (Lл)=50-120 мм.
Изготовление опытных образцов устройств и экспериментальные исследования, связанные с работой этих устройств, выявили простоту изготовления устройства, малый расход потребляемого газа. Если ранее очистку линз пирометров, установленных на мартеновских печах с очень высокой степенью запыленности при простом отдуве воздухом, требовалось проводить несколько раз в сутки, то при использовании предлагаемого устройства такая необходимость вообще практически отпала. Уменьшились эксплуатационные затраты на обслуживание приборов. Исключились случаи отказа работы измерительной аппаратуры вследствие значительных засорений линз. Повысилась надежность и точность измерения температуры объекта. Снизился расход компрессорного воздуха, увеличился срок службы визирующей фурмы.
Использование изобретения позволит максимально обеспечить защиту линз приборов, измеряющих температуру тепловых агрегатов.
Источники информации
1. Топерверх Н.И., Шерман М.Я. Теплотехнические измерительные и регулирующие приборы на металлургических заводах. М.: Металлургиздат, 1956, 606 с.
2. Тулуевский Ю.Н., Нечаев Е.А. Информационные проблемы интенсификации сталеплавильных процессов. М.: Металлургия, 1978, 192 с. (102-103 с.).
3. Котов К.И., Шершевер М.А. Средства измерения, контроля и автоматизации технологических процессов вычислительной и микропроцессорной техники. М.: Металлургия, 1989, 496 (124-125 с.).
4. Воронов Г.В. Интенсификация процессов тепло- и массообмена в металлургических печах и тепловых агрегатах за счет энергии акустического поля. Автореферат диссертации на соискание ученой степени доктора технических наук. Екатеринбург, 1996 г. УГТУ-УПИ.
5. Радиационный пирометр «РАПИР» монтажно-эксплуатационная инструкция, г.Калуга, 1964, 47 с.
6. Ультразвук. – Малая энциклопедия. М.: Советская энциклопедия, 1979, 161-162 с.
7. Авторское свидетельство СССР, №100943 от 01.01.1955.
8. Телескоп ТЕРА – 50 радиационных пирометров. Инструкция по монтажу и эксплуатации, г.Каменец-Подольск, 1969.
9. Телегин А.С. Теплотехнические расчеты металлургических печей. М.: Металлургия, 1970, 528 с.
Формула изобретения
1. Устройство комбинированной акустико-аэродинамической защиты объектива прибора теплового контроля с чувствительным элементом и линзой, включающее цилиндрическую визирующую фурму, патрубок для подачи защитного газа в визирующую фурму для отдува от линзы прибора продуктов сгорания дымовых газов, частиц пыли, сопло для подачи защитного газа и резонатор, расположенные соосно на перпендикулярной оси визирующей фурмы.
2. Устройство по п.1, отличающееся тем, что патрубок для подачи защитного газа содержит регулирующий кран.
3. Устройство по п.1, отличающееся тем, что резонатор содержит торцевую пробку с резьбой, выполненную с возможностью перемещения по длине резонатора для изменения его длины.
РИСУНКИ
|
|