|
|
(21), (22) Заявка: 2004128898/28, 01.10.2004
(24) Дата начала отсчета срока действия патента:
01.10.2004
(43) Дата публикации заявки: 10.03.2006
(46) Опубликовано: 10.11.2006
(56) Список документов, цитированных в отчете о поиске:
RU 2233490 C1, 27.07.2004. RU 2161343 С2, 27.12.2000. US 5461907A, 31.10.1995. JP 2004212304, 29.07.2004. JP 2004239765, 26.08.2004.
Адрес для переписки:
124482, Москва, Зеленоград, корп.167, ЗАО “НТ-МДТ”, В.А. Быкову
|
(72) Автор(ы):
Быков Виктор Александрович (RU), Ефимов Антон Евгеньевич (RU), Саунин Сергей Алексеевич (RU), Фюрст Леонид Георгиевич (RU)
(73) Патентообладатель(и):
ЗАО “НТ-МДТ” (RU)
|
(54) СКАНИРУЮЩИЙ ЗОНДОВЫЙ МИКРОСКОП, СОВМЕЩЕННЫЙ С УСТРОЙСТВОМ СРЕЗАНИЯ ТОНКИХ СЛОЕВ ОБЪЕКТА
(57) Реферат:
Изобретение относится к измерительной технике, а именно к устройствам измерения с помощью сканирующего зондового микроскопа (СЗМ) рельефа, линейных размеров, физических характеристик поверхности и распределения этих характеристик в объеме объекта путем срезания тонких слоев объекта с последующим исследованием вновь образованных поверхностей объекта. СЗМ, совмещенный с устройством срезания тонких слоев объекта, содержит корпус с расположенным в нем трехкоординатным пьезосканером с держателем зонда и зондом, нож, держатель объекта, а также устройство позиционного перемещения зонда относительно объекта. Держатель объекта установлен на механизме его перемещения относительно ножа по криволинейной траектории со смещением на толщину среза. Механизм сопряжения устройства позиционного перемещения зонда с держателем объекта выполнен в виде опорной плиты, расположенной в плоскости смещения по двум координатам устройства позиционного перемещения зонда. Опорная плита имеет три опоры. Одна регулируемая по высоте опора установлена в вертикальной плоскости, проходящей по оси системы зонд – объект. Две поворотные опоры разнесены относительно этой плоскости. Две поворотные опоры могут быть выполнены в виде цапф с осями, закрепленными в корпусе микроскопа. Опорная плита может иметь возможность сдвига по фигурным пазам в каждой из поворотных опор. Технический результат – повышение точности измерений и значительное расширение функциональных возможностей. 1 ил.
Изобретение относится к измерительной технике, а именно к устройствам измерения с помощью сканирующего зондового микроскопа (СЗМ) рельефа, линейных размеров, физических характеристик поверхности и распределения этих характеристик в объеме объекта путем срезания тонких слоев объекта с последующим исследованием вновь образованных поверхностей объекта.
Измерения могут проводиться в режимах сканирующего туннельного микроскопа (СТМ), атомно-силового микроскопа (АСМ) и близкопольного оптического микроскопа (БОМ).
Известен СЗМ, совмещенный с устройством механической модификации поверхности объекта, в котором объект, закрепленный в держателе, установлен на механизме перемещения держателя относительно пуансона, срезающего тонкие слои объекта или производящего иную его механическую модификацию [1]. Перемещение держателя происходит по криволинейной траектории со смещением на толщину среза или соответствующей модификации тонкого слоя объекта. Зонд установлен в держателе зонда, закрепленном на трехкоординатном сканирующем устройстве, расположенном в свою очередь на устройстве позиционирования зонда относительно объекта. После окончания цикла модификации поверхности и возврата механизма в исходное положение проводится сближение зонда с новой модифицированной поверхностью объекта и сканирование этой поверхности. Такое послойное сканирование поверхностей объекта позволяет формировать картину распределения физических параметров объекта по его объему. Этот СЗМ выбран в качестве прототипа предлагаемого изобретения. Он имеет существенные недостатки, а именно:
невысокую точность измерений в процессе сканирования из-за высокого уровня шумов в системе зонд – объект. Шум – это паразитный сигнал, поступающий в систему регистрации с зонда наряду с полезным сигналом при сканировании. Он возникает из-за нефункциональных перемещений зонда относительно объекта (или наоборот) в колебательном процессе в системе зонд – объект при воздействии на систему внешнего импульса силы. Уровень шума зависит от характеристик механической петли из колеблющихся элементов в системе зонд – объект. В приведенном прототипе такой петлей являются следующие элементы: объект – держатель объекта – механизм перемещения держателя объекта – корпус – устройство предварительного сближения держателя зонда – устройство позиционного перемещения зонда относительно объекта – сканирующее устройство – держатель зонда – зонд. Кроме того, в данном прототипе затруднена установка оси сканирующего устройства перпендикулярно поверхности объекта, что важно для точности измерений, а также затруднено оптическое наблюдение за кромкой ножа и процессом срезания слоя объекта. Все это снижает функциональные возможности микроскопа.
Целью изобретения является устранение указанных недостатков:
понижение чувствительности системы к механическим шумам за счет увеличения жесткости и повышения резонансной частоты колебательной петли в системе зонд – объект, а также расширение функциональных возможностей прибора.
Технический результат настоящего изобретения заключается в повышении точности измерений СЗМ и расширении его функциональных возможностей. Это достигается тем, что в СЗМ, совмещенный с устройством срезания тонких слоев объекта, содержащий корпус с расположенным в нем трехкоординатным пьезосканером с держателем зонда и зондом, нож, держатель объекта, который установлен на механизме его перемещения относительно ножа по криволинейной траектории со смещением на толщину среза, а также устройство позиционного перемещения зонда относительно объекта, введен механизм сопряжения устройства позиционного перемещения зонда с держателем объекта. При этом механизм сопряжения может быть выполнен в виде опорной плиты, расположенной в плоскости смещения по двум координатам устройства позиционного перемещения зонда, которая, в свою очередь, имеет три опоры: одну – регулируемую по высоте опору, установленную в вертикальной плоскости, проходящей по оси системы зонд – объект, и две – разнесенные относительно этой плоскости поворотные опоры. Эти две опоры могут быть выполнены в виде цапф с осями, закрепленными в корпусе микроскопа. При этом опорная плита может иметь возможность сдвига по фигурным пазам в каждой из поворотных опор.
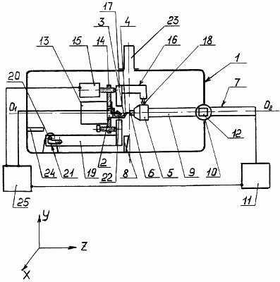
На чертеже представлена конструктивная схема предложенного СЗМ, совмещенного с устройством срезания тонких слоев объекта в позиции сканирования объекта. Этот СЗМ содержит корпус 1, в котором установлен трехкоординатный пьезосканер 2 с первым держателем 3 зонда 4. Во втором держателе 5 закреплен объект 6. Держатель 5 установлен на механизме перемещения 7 держателя 5 относительно ножа 8 по криволинейной замкнутой траектории со смещением на толщину среза. Механизм перемещения 7 может быть выполнен в виде балки 9, установленной посредством шарнира 10 в корпусе 1, и снабжен приводом 11. Внутри шарнира 10 может быть установлена линейная направляющая 12 вдоль оси О1-О2 системы зонд – объект. Подробнее устройство и действие аналогичного механизма описано, например, в [2]. Трехкоординатный пьезосканер 2 установлен на устройстве позиционного перемещения 13 зонда 4 относительно объекта 6, которое может быть выполнено, например, в виде платформы 14 с микрометрическими винтами по двум координатам Х и Y позиционирования. Устройство 13 снабжено устройством предварительного сближения 15 зонда 4 и объекта 6, выполненного, например, в виде моторизованного винтового механизма. В предложенном СЗМ имеется механизм сопряжения 16 устройства позиционного перемещения 13 зонда 4 относительно объекта 6. Конструктивно он может быть выполнен в виде опорной плиты 17 для устройства 13, установленного на платформе 14. При этом опорная плита 17 механизма 16 может иметь одну регулируемую по высоте опору 18 и две (показаны как одна) поворотные опоры 19, выполненные в виде цапф, симметрично разнесенных в корпусе 1 относительно оси О1-О2 на некоторую базу. Оси цапф 20 закреплены в корпусе 1, а опорная плита 17 механизма 16 имеет возможность сдвига по фигурным пазам 21 (показан как один паз) относительно осей цапф 20. Для оптического наблюдения за зоной сканирования на поверхности объекта 6, например, с помощью зеркала 22, установленного вблизи держателя 3, на корпусе 1 размещен оптический микроскоп 23. Он может быть использован также для оптического наблюдения за процессом срезания тонкого слоя объекта 6 и режущей кромкой ножа 8. Также на корпусе 1 расположен упор 24, на который может замыкаться механизм 16 при сдвиге по фигурным пазам 21. Привод 11 механизма перемещения 7 держателя 5, а также трехкоординарный пьезосканер 2 с устройством предварительного сближения 15 зонда с объектом подключены к блоку управления 25, который обеспечивает синхронизацию их согласованной работы.
Устройство работает следующим образом. Объект 6 закрепляют в держателе 5. В качестве объекта может быть, например, полимерный или обработанный специальным образом [3] биологический образец. Приводят в действие привод 11 механизма 7, который осуществляет криволинейное движение относительно ножа 8. Происходит срез слоя объекта, после чего механизм 7 со сдвигом, равным толщине следующего слоя, возвращается в положение по оси О1-О2. Толщина срезаемого слоя образца может быть порядка 100 нм для полимерных образцов и порядка 10 нм для специально обработанных, например замороженных до криогенных температур, образцов. Затем осуществляют сопряжение механизма 16, находящегося перед этим в исходном положении, с держателем 5. При этом опорная плита 17 механизма 16 с помощью регулируемой опоры 18 замыкается на держатель 5, а через две опоры 19 – на корпус 1. В этом случае петля из колеблющихся элементов в системе зонд – объект выглядит следующим образом: объект 6 – держатель объекта 5 – механизм 16 – устройство позиционного перемещения зонда 13 – пьезосканер 2 – держатель зонда 3 – зонд 4. Зонд 3 позиционируют с помощью устройства 13 и выбирают зону сканирования на поверхности объекта 6, наблюдая за поверхностью объекта 6 с помощью микроскопа 23 через зеркало 22. Далее производится грубое сближение с объектом 6 с помощью устройства 15 и выполняется сканирование выбранного участка поверхности. Подробнее устройство СЗМ, блоков его управления и методов сканирования дано в [4] и [5]. Далее механизм 16 возвращают в исходное положение путем сдвига его по фигурным пазам 21 (налево на приведенном рисунке). При этом опора 18 выходит из контакта с держателем 5, а механизм 16 через опоры 19 замыкается на упор 24, расположенный в корпусе 1. Исходное положение механизма 16 позволяет наблюдать кромку ножа, а также процесс срезания слоя образца, так как зонд 4 с держателем 3 выведены в этом случае из зоны наблюдения. Регулируемая по высоте опора 18 позволяет предварительно грубо установить зонд 4 в плоскости реза образца в выбранной зоне сканирования. Исходное положение механизма 16 является начальным для повторения следующего цикла реза очередного слоя образца и сканирования вновь образованной поверхности.
Введение механизма сопряжения устройства позиционного перемещения зонда относительно объекта с держателем объекта значительно уменьшает длину колебательной петли из элементов конструкции в системе зонд – объект. К тому же эти элементы конструкции (например, опора 18, опорная плита 17 механизма 16) могут быть выполнены с высокой механической жесткостью. Это, наряду с исключением из колебательной петли элементов с заведомо низкой механической жесткостью (корпус 1, механизм перемещения 7 держателя 5 относительно ножа), значительно снижает уровень шумов в системе зонд – объект в процессе сканирования и тем самым существенно повышает точность измерений. Так, уровень шума в одной из конструкций СЗМ, выполненной по прототипу, приведенному в заявке, достигал 0,25 нм. Уровень шума в предложенной конструкции СЗМ – 0,02-0,03 нм.
Выполнение механизма сопряжения в виде опорной плиты для устройства позиционного перемещения зонда, установленной в плоскости перемещения этого устройства, при котором опорная плита имеет одну регулируемую по высоте опору на держатель объекта и две соосные поворотные опоры в виде цапф с осями, закрепленными в корпусе микроскопа, с возможностью сдвига опорной плиты по фигурным пазам в поворотных опорах позволяет осуществлять оптическое наблюдение за процессом срезания слоя объекта и кромкой ножа, а также производить замену зонда в процессе измерений, не изменяя взаимного расположения ножа и объекта. Кроме того, регулируемая по высоте опора на держатель объекта обеспечивает достаточно легкую установку оси пьезосканера перпендикулярно поверхности объекта, что также приводит к повышению точности измерений. Все выше перечисленное значительно расширяет функциональные возможности микроскопа.
ЛИТЕРАТУРА
1. Пат. РФ №2233490.
2. Leica Ultracut UCT-E-brochure, Leica Mikrosysteme Gmbh, Vienna, Austria, 2001.
3. AFM of biological material embedded in epoxy resin N. Matsko and M. Mueller, Journal of Stmcturial Biology. Vol.146, 3, 2004, pp.334-343.
4. Зондовая микроскопия для биологии и медицины. В.А.Быков и др. Сенсорные системы, т.12, №1, 1998 г., с.99-121.
5. Сканирующая туннельная и атомно-силовая микроскопия в электрохимии поверхности. А.И.Данилов, Успехи химии 64(8), 1995 г., с 818-833.
Формула изобретения
Сканирующий зондовый микроскоп, совмещенный с устройством срезания тонких слоев объекта, содержащий корпус с расположенным в нем трехкоординатным пьезосканером с держателем зонда и зондом, нож, держатель объекта, установленный на механизме перемещения держателя объекта относительно ножа по криволинейной траектории со смещением на толщину среза, а также устройство позиционного перемещения зонда относительно объекта, отличающийся тем, что в него введен механизм сопряжения устройства позиционного перемещения зонда с держателем объекта, причем механизм сопряжения выполнен в виде опорной плиты, расположенной в плоскости смещения по двум координатам устройства позиционного перемещения зонда, при этом опорная плита имеет одну регулируемую по высоте опору, установленную в вертикальной плоскости, проходящей по оси системы зонд – объект, выполненную с возможностью контакта с держателем объекта, и две разнесенные относительно этой плоскости поворотные опоры, выполненные в виде цапф с осями, закрепленными в корпусе микроскопа, с возможностью сдвига опорной плиты по фигурным пазам в каждой из поворотных опор, в корпусе расположен упор, выполненный с возможностью замыкания механизма сопряжения.
РИСУНКИ
|
|