|
|
(21), (22) Заявка: 2006107628/06, 14.03.2006
(24) Дата начала отсчета срока действия патента:
14.03.2006
(46) Опубликовано: 10.11.2006
(56) Список документов, цитированных в отчете о поиске:
ЕМЕЛЬЯНОВ В.В. и др. О регулировании температуры нефтепродукта на выходе АВО. Автоматизация процессов нефтепереработки и нефтехимии. Труды Куйбышевского филиала СКБАНН, вып.2, Куйбышев, 1974, с.171-176. SU 1044942 А1, 30.09.1983. SU 1765532 A1, 30.09.1992. RU 2087822 C1, 20.08.1997. GB 1487023 A, 28.09.1977. GB 898822 A, 14.06.1962.
Адрес для переписки:
107370, Москва, Открытое ш., 2, корп.12, ООО “Правовое содружество”, пат. пов. О.В. Зобнину, рег.№599
|
(72) Автор(ы):
Ананенков Александр Георгиевич (RU), Ермилов Олег Михайлович (RU), Иванов Сергей Иванович (RU), Давлетов Касим Мухаметгареевич (RU), Асылбаев Расул Гуфранович (RU), Иванов Владимир Яковлевич (RU), Игнатьев Максим Петрович (RU)
(73) Патентообладатель(и):
Ананенков Александр Георгиевич (RU), Ермилов Олег Михайлович (RU), Иванов Сергей Иванович (RU), Давлетов Касим Мухаметгареевич (RU), Асылбаев Расул Гуфранович (RU), Иванов Владимир Яковлевич (RU), Игнатьев Максим Петрович (RU)
|
(54) СПОСОБ ОХЛАЖДЕНИЯ СЫРОГО ГАЗА
(57) Реферат:
Изобретение относится к способу охлаждения сырого газа в аппаратах воздушного охлаждения, используемых в химической, нефтяной, газовой и других отраслях промышленности. Способ охлаждения сырого газа включает подачу газа в трубы многорядной теплообменной секции и подачу воздуха вентилятором по межтрубному пространству поперек трубного пучка. Воздух подают снизу вверх, при этом измеряют температуру внешней стенки труб нижнего ряда на выходе газа, и при понижении температуры труб до температуры поступающего в трубный пучок воздуха вентиляторы выключают и переводят в режим реверса. Использование изобретения позволит удалить гидратные пробки в теплообменных трубах аппаратов воздушного охлаждения. 1 ил.
Изобретение относится к способу охлаждения сырого газа в аппаратах воздушного охлаждения, используемых в химической, нефтяной, газовой и других отраслях промышленности.
Известен способ охлаждения сырого газа в аппарате воздушного охлаждения сырого газа 2АВГ-75С (ТУ 26-02-913-95), который широко используется в газопромысловых установках и на газоперерабатывающих заводах (Проспект ОАО «БОРХИММАШ»). Сырой газ поступает в трубы горизонтально расположенных секций, собранных из оребренных биметаллических труб, и вступает в теплообмен с потоком воздуха, который нагнетается осевыми вентиляторами с приводами от тихоходных электродвигателей.
Основным недостатком данного способа является то, что он дает большую разницу температур продукта и стенки труб по рядам теплообменной секции при перекрестном токе теплоносителей – охлаждаемого продукта и воздуха. Наиболее охлаждаемые трубы первого по ходу воздуха ряда теплообменной секции при температурах атмосферного воздуха ниже температуры гидратообразования подвержены закупорке кристаллогидратами, что снижает теплосъем и надежность аппарата воздушного охлаждения.
Наиболее близким к предлагаемому изобретению является способ охлаждения сырого газа, включающий подачу газа в трубы многорядной теплообменной секции и подачу воздуха вентилятором по межтрубному пространству поперек трубного пучка (В.В.Емельянов, Е.Н.Бочкаров, В.Д.Туманов, О регулировании температуры нефтепродукта на выходе АВО. «Автоматизация процессов нефтепереработки и нефтехимии». Труды Куйбышевского филиала СКБАНН, вып.2, Куйбышев, 1974, с.171-176). Сырой газ охлаждается в аппарате, который состоит из теплообменной секции, собранной из оребренных труб, вентиляторов и системы автоматического регулирования температуры путем изменения расхода воздуха.
В данном способе процесс охлаждения газа, проходящего по трубам теплообменных секций, которые обдуваются воздухом в перекрестном токе, осуществляют при контроле гидратообразования по температуре газа на выходе из аппарата, а при понижении его температуры прекращают подачу воздуха на определенный период. Прекращение подачи воздуха приводит к освобождению гидратных слоев, отложившихся на стенках труб, за счет тепла газа, протекающего внутри частично загидраченных труб.
Недостатком способа является невозможность растепления труб в случае их полного перекрытия гидратами, т.к. при естественной конвекции вследствие загидрачивания нижних рядов вверх поднимается холодный воздух, а горячий газ не поступает в закупоренные трубы. К недостаткам также можно отнести повышение температуры газа на выходе из аппарата в момент растепления труб. Контроль гидратообразования по температуре газа на выходе является неточным, т.к. замеряется средняя по рядам труб температура, что не позволяет контролировать процесс гидратоообразования в первых по ходу воздуха трубах и возникает риск полной закупорки проходного сечения труб.
Задачей изобретения является удаление гидратных пробок в теплообменных трубах аппаратов воздушного охлаждения.
Поставленная задача решается тем, что в способе охлаждения сырого газа, включающем подачу газа в трубы многорядной теплообменной секции и подачу воздуха вентилятором по межтрубному пространству поперек трубного пучка, согласно изобретению воздух подают снизу вверх, при этом измеряют температуру внешней стенки труб нижнего ряда на выходе газа, и при понижении температуры труб до температуры поступающего в трубный пучок воздуха вентиляторы выключают и переводят в режим реверса.
Сопоставление температуры внешней стенки труб и воздуха точно определяет момент перекрытия наиболее охлаждаемой трубы гидратами газа, так как прекращается при этом движение теплого газа внутри трубы и температура внешней стенки трубы быстро опускается до температуры подаваемого воздуха. При переключении вентиляторов в режим реверса создается принудительное движение воздуха «сверху – вниз», который, проходя по межтрубному пространству верхних более теплых труб, нагревается и вступает в теплообмен с охлажденными загидраченными трубами нижних рядов, растапливая при этом гидратные пробки.
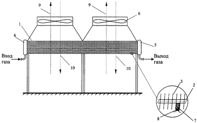
На чертеже представлены схема аппарата воздушного охлаждения для реализации предлагаемого способа и схема движения воздушных потоков.
Аппарат воздушного охлаждения сырого газа для реализации предлагаемого способа состоит из теплообменной секции 1, собранной из нескольких рядов труб 2 с ребрами 3, установленных на торцах труб распределительных камер для входа горячего газа 4 и выхода охлажденного газа 5 и вентиляторов 6, установленных над теплообменной секцией 1. На внешней поверхности одной или нескольких труб 2 нижнего ряда – первого по ходу воздуха – между ребрами 3 вблизи распределительной камеры выхода охлажденного газа 5 установлен датчик температуры 7 стенки труб 2, защищенный от прямого охлаждения воздухом слоем теплоизоляции 8.
Описываемый способ реализуют следующим образом.
Горячий сырой газ через распределительную камеру 4 поступает в трубы 2 теплообменной секции 1, где охлаждается при контакте с потоком холодного воздуха 8, подаваемого вентиляторами 6 снизу вверх, и выводится из аппарата через распределительную камеру 5. При движении холодного воздуха снизу вверх происходит неравномерное охлаждение газа по рядам труб. Наиболее охлажденными являются нижние ряды труб 2 теплообменного пучка 1. При понижении температуры внешней стенки труб 2 нижнего ряда на их внутренней поверхности начинается процесс накопления слоя гидратов, который продолжается до полного перекрытия проходного сечения, и происходит закупорка труб, при которой температура внешней поверхности труб 2 становится равной температуре потока воздуха 9 на входе в теплообменную секцию. Датчик температуры 7, установленный вблизи распределительной камеры выхода горячего воздуха 4, на внешней поверхности стенки труб 2, плотно прижатый к ребрам 3 и защищенный от прямого охлаждения воздухом слоем теплоизоляции 8, с высокой точностью определяет температуру внешней поверхности стенки трубы 2. При появлении слоя гидратов на внутренней поверхности трубы 2, который имеет малую теплопроводность, разность температур трубы и воздуха уменьшается в несколько раз. Снижение температуры распознается приборными методами и при достижении температуры стенки трубы 2 значения температуры воздушного потока 9 дается сигнал на выключение вентиляторов 6. При выключении вентиляторов 6 и переключении их в реверсивный режим возникает принудительное движение потока воздуха 10 сверху вниз. Поток воздуха 10, проходя через верхние более теплые ряды труб 2, нагревается и, поступая в нижние ряды труб 2 теплообменной секции 1, отдает тепло нижним загидраченным рядам, что приводит к удалению гидратных пробок.
Проведенные эксперименты на аппаратах воздушного охлаждения газа показали эффективность данного способа. При этом температура газа на выходе из аппаратов воздушного охлаждения на 7÷12°С ниже, чем у прототипа, что позволяет повысить качество подготовки газа на газовых промыслах за счет увеличения количества конденсированной жидкости и извлечения ее в сепараторах.
Формула изобретения
Способ охлаждения сырого газа, включающий подачу газа в трубы многорядной теплообменной секции и подачу воздуха вентилятором по межтрубному пространству поперек трубного пучка, отличающийся тем, что воздух подают снизу вверх, при этом измеряют температуру внешней стенки труб нижнего ряда на выходе газа и при понижении температуры труб до температуры поступающего в трубный пучок воздуха вентиляторы выключают и переводят в режим реверса.
РИСУНКИ
MM4A – Досрочное прекращение действия патента СССР или патента Российской Федерации на изобретение из-за неуплаты в установленный срок пошлины за поддержание патента в силе
Дата прекращения действия патента: 15.03.2008
Извещение опубликовано: 27.03.2010 БИ: 09/2010
|
|