|
|
(21), (22) Заявка: 2006107627/06, 14.03.2006
(24) Дата начала отсчета срока действия патента:
14.03.2006
(46) Опубликовано: 10.11.2006
(56) Список документов, цитированных в отчете о поиске:
Основы расчета и проектирования теплообменников воздушного охлаждения. Справочник, под ред. КУНТЫША В.В. и др., Санкт-Петербург, Недра, 1996, с.36-38. SU 1562656 А1, 07.05.1990. SU 601553 A1, 05.04.1978. RU 2262056 C2, 10.10.2005. RU 2013736 C1, 30.05.1994. JP 3148593 A, 25.06.1991. GB 1487023 A, 28.09.1977.
Адрес для переписки:
107370, Москва, Открытое ш., 2, корп.12, ООО “Правовое содружество”, пат. пов. О.В. Зобнину, рег.№599
|
(72) Автор(ы):
Ананенков Александр Георгиевич (RU), Ермилов Олег Михайлович (RU), Иванов Сергей Иванович (RU), Давлетов Касим Мухаметгареевич (RU), Асылбаев Расул Гуфранович (RU), Иванов Владимир Яковлевич (RU), Игнатьев Максим Петрович (RU)
(73) Патентообладатель(и):
Ананенков Александр Георгиевич (RU), Ермилов Олег Михайлович (RU), Иванов Сергей Иванович (RU), Давлетов Касим Мухаметгареевич (RU), Асылбаев Расул Гуфранович (RU), Иванов Владимир Яковлевич (RU), Игнатьев Максим Петрович (RU)
|
(54) ТЕПЛООБМЕННАЯ СЕКЦИЯ АППАРАТА ВОЗДУШНОГО ОХЛАЖДЕНИЯ УГЛЕВОДОРОДНОГО ГАЗА
(57) Реферат:
Изобретение относится к теплообменным секциям аппаратов воздушного охлаждения газа, используемых на дожимных компрессорных станциях, и может найти применение в газовой и нефтяной промышленности. Теплообменная секция аппарата воздушного охлаждения состоит из многорядного трубного пучка, камер входа и выхода продукта, боковых стенок, поперечных балок и дистанционирующих элементов между рядами труб. Между одной из боковых стенок и трубным пучком установлена прокладка из упругого сжимаемого воздухонепроницаемого материала в сжатом состоянии с толщиной, обеспечивающей упругое расширение прокладки на величину, равную от длины трубного пучка. Использование изобретения позволит повысить надежность теплообменной секции за счет исключения разрушения труб. 1 ил.
Изобретение относится к теплообменным секциям аппаратов воздушного охлаждения газа, используемых на дожимных компрессорных станциях, и может найти применение в газовой и нефтяной промышленности.
Известна конструкция теплообменной секции аппарата воздушного охлаждения, состоящая из горизонтального трубного пучка, включающая несколько рядов труб, опорных элементов для предотвращения прогиба, камер подвода и отвода продукта (Современные конструкции аппаратов воздушного охлаждения. Обзорная информация ХМ-1. М., ЦИНТИХИМНЕФТЕМАШ, 1979, с.25).
Наиболее близким к заявляемому устройству является теплообменная секция аппарата воздушного охлаждения, включающая многорядный трубный пучок, камеры входа и выхода продукта, боковые стенки, поперечные балки и дистанционирующие элементы между рядами труб (Основы расчета и проектирования теплообменников воздушного охлаждения. Справочник. А.Н. Бессонный, Г.А. Дрейцнер, В.Б. Кунтыш и др., под ред. В.Б. Кунтыша, А.Н. Бессонного – СПб.: Недра, 1996, с.36-38). Недостатком такой конструкции является искривление труб верхних рядов из-за более высоких температур стенок по сравнению с нижними рядами.
В результате искривления образуются щели между трубным пучком и одной из боковых стенок. В области образования щелей скорость воздуха увеличивается, что приводит к более интенсивному охлаждению труб всех рядов, примыкающих к щели. Интенсификация охлаждения представляет опасность в случае охлаждения сырого газа при низких температурах окружающего воздуха. Следствием охлаждения стенки труб до температуры гидратообразования является образование твердых отложений гидратов внутри труб, которые приводят к частичной или полной закупорке их проходного сечения. В дальнейшем при колебаниях температуры воздуха образуются ледяные пробки и трубы разрушаются.
Задачей изобретения является повышение надежности теплообменной секции за счет исключения разрушения труб.
Поставленная задача решается тем, что в теплообменной секции аппарата воздушного охлаждения, включающей многорядный трубный пучок, камеры входа и выхода продукта, боковые стенки, поперечные балки и дистанционирующие элементы между рядами труб, согласно изобретению между одной из боковых стенок и трубным пучком установлена прокладка из упругого сжимаемого воздухонепроницаемого материала в сжатом состоянии с толщиной, обеспечивающей упругое расширение прокладки на величину, равную от длины трубного пучка.
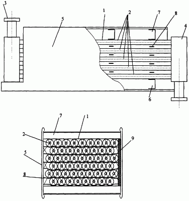
На чертеже показана конструкция предлагаемой теплообменной секции.
Теплообменная секция состоит из трубного пучка 1 прямоугольного фронтального сечения, собранного из нескольких рядов труб 2, которые герметично соединены с одной стороны с камерой 3 для входа и распределения по трубам охлаждаемого продукта, а с другой стороны с камерой 4 для выхода охлажденного продукта. С боковых сторон трубного пучка установлены боковые стенки 5, длина и высота которых равны длине труб и высоте трубного пучка соответственно, имеющие большую жесткость на изгиб. Трубы 2 уложены на нижние поперечные балки 6, а сверху прижаты верхними поперечными балками 7. Между рядами труб расположены дистанционирующие элементы 8, выполненные в виде волнистых полос. Между одной из боковых стенок 5 и трубным пучком 1 установлена в сжатом состоянии прокладка 9 из упругого сжимаемого воздухонепроницаемого материала.
Теплообменная секция работает следующим образом.
Горячий продукт через камеру 3 поступает в трубы 2 трубного пучка 1, где охлаждается и выводится через камеру 4. Охлаждающий воздух поступает в межтрубное пространство трубного пучка 1. Проходя через ряды труб 2 в перекрестном токе с горячим продуктом, нагревается и выводится из межтрубного пространства пучка 1. Одновременно происходит снижение температуры труб 2 по рядам. Наиболее холодными будут трубы первого ряда по ходу воздуха с постепенным порядным повышением температуры.
Каждая труба 2 получает температурное удлинение. Поскольку все трубы 2 жестко соединены концами с камерами 3 и 4 и зажаты между боковыми стенками 5 и балками 6 и 7, то все трубы 2 трубного пучка 1 могут получить только одинаковое удлинение, равное среднему значению удлинений труб 2. Разность удлинений выбирается за счет силовой деформации труб. В трубах 2 возникают осевые напряжения. Расчетные оценки показали, что осевые напряжения в аппаратах воздушного охлаждения газа могут достигать значительных величин, приближающихся к пределу текучести материала труб. Причем в более холодных трубах первых рядов возникают напряжения растяжения, а в последних – напряжения сжатия. При сжатии трубы 2 склонны к потере устойчивости – теряют прямолинейность, искривляются. Установлено, что трубы 2 пучка 1 искривляются организованно за счет подвижки в какую-либо одну сторону к боковым стенкам или в две стороны. Искривленные трубы получают форму полуволны. Следствием искривления является образование увеличенных щелей между трубным пучком 1 и одной из боковых стенок. В исходном состоянии прокладка 8, расположенная между трубным пучком 1 и боковой стенкой 3, находится в сжатом состоянии. Давление прокладки на трубы стимулирует потерю их устойчивости со сдвигом в сторону, противоположную прокладке. Образовавшаяся щель заполняется материалом расширившейся прокладки, что исключает проток воздуха через щель. Опытным путем установлено, что размеры щели могут достигать доли от длины трубного пучка 1. Соответственно упругое расширение прокладки 8 должно быть равно или выше этого значения.
Формула изобретения
Теплообменная секция аппарата воздушного охлаждения, включающая многорядный трубный пучок, камеры входа и выхода продукта, боковые стенки, поперечные балки и дистанционирующие элементы между рядами труб, отличающаяся тем, что между одной из боковых стенок и трубным пучком установлена прокладка из упругого сжимаемого воздухонепроницаемого материала в сжатом состоянии с толщиной, обеспечивающей упругое расширение прокладки на величину длины трубного пучка.
РИСУНКИ
MM4A – Досрочное прекращение действия патента СССР или патента Российской Федерации на изобретение из-за неуплаты в установленный срок пошлины за поддержание патента в силе
Дата прекращения действия патента: 15.03.2008
Извещение опубликовано: 27.03.2010 БИ: 09/2010
|
|