|
|
(21), (22) Заявка: 2005110253/06, 08.04.2005
(24) Дата начала отсчета срока действия патента:
08.04.2005
(46) Опубликовано: 10.11.2006
(56) Список документов, цитированных в отчете о поиске:
US 5054279 А, 08.10.1991. US 5303542 А, 19.04.1994. RU 2162953 C1, 10.12.2001. RU 2237815 C2, 10.10.2004. SU 883537 A, 25.11.1981. US 5743080 А, 28.04.1998.
Адрес для переписки:
198097, Санкт-Петербург, ул. Трефолева, 2В, Энергомаш, патентно-лицензионное бюро
|
(72) Автор(ы):
Ануров Юрий Михайлович (RU), Постников Александр Михайлович (RU), Федорченко Дмитрий Геннадиевич (RU), Цибизов Юрий Ильич (RU), Ярославцев Виктор Григорьевич (RU)
(73) Патентообладатель(и):
Открытое Акционерное Общество “Энергомашкорпорация” (RU)
|
(54) СПОСОБ ПОДАЧИ ПАРА В КАМЕРУ СГОРАНИЯ ПАРОГАЗОТУРБИННОЙ УСТАНОВКИ
(57) Реферат:
Изобретение относится к способам подачи пара в камеру сгорания парогазотурбинной установки, например, для привода электрогенераторов. В способе подачи пара в камеру сгорания парогазовой установки, включающем подачу пара в первичную зону камеры сгорания и во вторичную зону камеры сгорания, расход пара в первичную зону регулируют перепуском части пара во вторичную зону и поддерживают оптимальную температуру пламени в первичной зоне на всех основных режимах работы парогазовой установки, при этом пар во вторичную зону подается непосредственно в жаровую трубу камеры сгорания без предварительного смешения с воздухом, подаваемым во вторичную зону. Изобретение позволяет обеспечить при всех условиях эксплуатации установки в диапазоне основных режимов работы низкий уровень эмиссии оксидов азота, монооксида углерода и несгоревших углеводородов, устойчивую и надежную работу камеры сгорания, значительное повышение мощности и КПД парогазотурбинной установки. 2 з.п. ф-лы, 3 ил.
Предлагаемое изобретение относится к способам подачи пара в камеру сгорания парогазотурбинной установки, например, для привода электрогенераторов.
Подачу пара в камеру сгорания производят для улучшения экологических характеристик установки и повышения ее мощности и КПД. Снижение эмиссии вредных веществ (оксидов азота NOx, монооксида углерода СО, несгоревших углеводородов CnHm) является одной из самых актуальных проблем, решаемых при создании современных газотурбинных установок.
Известно, что для снижения эмиссии вредных веществ организуют горение предварительно перемешанной (гомогенной) топливовоздушной смеси (ТВС) в узком диапазоне температуры пламени Тпл=1750…1900 К, где генерация оксидов азота NOx, монооксида углерода СО и несгоревших углеводородов CnHm достаточно низка.
Температура пламени и концентрации вредных веществ NOx и СО зависят от коэффициента избытка воздуха предварительно перемешанной топливовоздушной смеси в первичной зоне горения. При традиционной системе регулирования коэффициент в зоне горения существенно изменяется с изменением режима работы двигателя.
При значительном уменьшении мощности двигателя топливовоздушная смесь обедняется (коэффициент увеличивается) и температура пламени настолько снижается, что горение становится неэффективным (уменьшается полнота сгорания топлива, увеличивается концентрация монооксида углерода СО) и пламя может срываться.
Известны различные способы поддержания оптимальной температуры пламени. Например, регулированием расходов воздуха в камеру сгорания по патенту США №5303542 от 16.11.1992 г. и изменением площади горения путем последовательного подключения в работу нескольких топливных контуров по патенту Российской Федерации №2162953 от 10.02.2001 г. Указанные способы применимы при использовании регулируемого входного направляющего аппарата, клапанов перепуска воздуха из компрессора, нескольких топливных контуров (коллекторов, горелок, дозаторов), управляемых процессорами, что существенно усложняет систему регулирования двигателя.
Эффективным способом снижения температуры пламени и соответственно выбросов оксидов азота NOx с выхлопными газами является впрыск пара в камеру сгорания. Так на газотурбинной установке LM-5000 фирмы Дженерал Электрик (США) впрыск пара в компрессор, камеру сгорания и турбину обеспечил снижение концентрации NOx в выхлопных газах с 225 ppm до 25 ppm, увеличение мощности с 32,5 до 49,5 МВт, прирост КПД с 36 до 43%. При этом выбросы монооксида углерода «СО» не превышают значения 60 ppm, нормы для LM-5000.
Однако значительное повышение расхода пара для дополнительного уменьшения NOx приводит к излишнему снижению температуры пламени и повышению выбросов монооксида углерода СО и несгоревших углеводородов CnHm, особенно на дроссельных режимах работы установки. Это ограничивает возможности повышения мощности ГТУ за счет впрыска пара в камеру.
Наиболее близким к предлагаемому изобретению является способ подачи и регулирования расхода пара и воды в камеру сгорания стационарных двигателей с целью повышения мощности двигателя и обеспечения экологических характеристик (патент США №5054279 от 08.10.1991). В нем предусматривается подача пара и воды в первичную и вторичную зоны. Количество пара и воды в первичную зону регламентируется так, чтобы суммарно отношение перегретого пара к топливу было около 2,75/1 или чтобы не допустить срыва пламени. Во вторичную зону пар подводится только для авиапроизводных ГТД через патрубок отбора воздуха на самолетные нужды, смешивается с воздухом, обтекающим жаровую трубу, и через все имеющиеся на ней отверстия смесь поступает внутрь. Указанный способ регулирования расхода пара в первичную зону к расходу топлива (2,75/1) на пониженных режимах работы неизбежно приведет к снижению эффективности горения и увеличения выбросов монооксида углерода СО и несгоревших углеводородов СН. Кроме того, пар, подаваемый в воздух, обтекающий жаровую трубу, снижает надежность работы, так как:
– появляются значительные градиенты температур на стенках жаровой трубы;
– возможна конденсация пара в кольцевых каналах между жаровой трубой и корпусами, особенно на пониженных режимах, что чревато неустойчивой работой камеры.
Эти факторы ограничивают количество пара, которое можно подать в камеру указанным в патенте способом, а следовательно, возможность значительного повышения мощности ГТУ.
Технический результат изобретения заключается в обеспечении при всех условиях эксплуатации установки в диапазоне основных режимов работы низкого уровня эмиссии оксидов азота, монооксида углерода и несгоревших углеводородов, устойчивой и надежной работы камеры сгорания, значительного повышения мощности и КПД парогазотурбинной установки.
Для достижения указанного технического результата в предлагаемом способе подачи пара в камеру сгорания парогазовой установки, включающем подачу пара в первичную зону камеры сгорания и во вторичную зону камеры сгорания, в соответствии с изобретением расход пара в первичную зону регулируют перепуском части пара во вторичную зону, и поддерживают оптимальную температуру пламени в первичной зоне на всех основных режимах работы парогазовой установки, при этом пар во вторичную зону подается непосредственно в жаровую трубу камеры сгорания без предварительного смешения с воздухом, подаваемым во вторичную зону.
Для дополнительного улучшения экологических характеристик пар, подаваемый в первичную зону камеры сгорания, предварительно перемешивают с топливом в смесителе, а пар, перепускаемый во вторичную зону, отбирают до смесителя.
Регулирование расхода пара в первичную зону камеры сгорания осуществляют по сигналам датчиков концентрации оксидов азота и монооксида углерода на выхлопе установки.
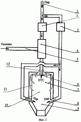
Предлагаемый способ иллюстрируется фиг.1, на которой приведена схема подачи предварительно перемешанного с топливом пара в камеру сгорания.
Способ осуществляется следующим образом.
В общем случае, пар, подаваемый в камеру сгорания парогазовой установки, распределяется в первичную и вторичную зоны камеры. Пар во вторичную зону подается через форсунки непосредственно в жаровую трубу камеры сгорания без предварительного смешения с воздухом, подаваемым во вторичную зону через отверстия в жаровой трубе.
Расход пара в первичную зону регулируют дроссельным краном, перепуская часть пара во вторичную зону, и поддерживают оптимальную температуру пламени в первичной зоне на всех основных режимах работы парогазовой установки. Регулирование расхода пара в первичную зону камеры осуществляют по сигналам датчиков концентрации оксидов азота и монооксида углерода. Пробоотборник устанавливают, например, на выхлопе установки. Если «Nox» больше установленной нормы, перепуск пара во вторичную зону уменьшают. Если «СО» больше нормы – перепуск пара увеличивают. При уменьшении режима работы установки по мощности расход пара в смеситель и, соответственно, в первичную зону камеры сгорания уменьшают увеличением его перепуска во вторичную зону. При увеличении режима, наоборот, расход пара в первичную зону увеличивают уменьшением его перепуска во вторичную зону.
В случае предварительного смешения пара с топливом (фиг.1), пар по трубопроводу 1 через управляемый дроссельный кран 2 подается в смеситель 4, туда же, по трубопроводу 5, поступает топливо. Из смесителя 4 предварительно перемешанное топливо через горелки 6 подают в первичную зону 7 камеры сгорания 10. Через управляемый дроссельный кран 3 пар через специальные форсунки 8 подается непосредственно во вторичную зону 9 камеры сгорания 10. При этом пар не смешивается с воздухом 12 поступающим в первичную зону 7 камеры сгорания 10, на охлаждение жаровой трубы 11 и во вторичную зону 9.
На фиг.2 приведены расчетные зависимости температуры горения в первичной зоне камеры от режима работы установки по мощности без перепуска (11) и с перепуском (12) пара во вторичную зону по зависимости 13. Из этого примера следует, что, выбирая перепуск пара по зависимости типа 13 можно обеспечить постоянство оптимальной температуры пламени (12) в эксплуатационном диапазоне (14) режимов работы установки.
На фиг.3 приведены расчетные зависимости концентраций NOx и СО от режима работы установки по мощности без перепуска (15, 16) и с перепуском (17, 18) пара во вторичную зону камеры сгорания. Из сравнений этих зависимостей следует, что, например, на режиме концентрация «СО» при перепуске пара во вторичную зону уменьшается с 150 мг/нм3 до 50 мг/нм3, т.е. в 3 раза. Концентрация NOx при этом возрастает с 20 мг/нм3 до 50 мг/нм3, но не превышает допустимую норму, обеспечиваемую на номинальном режиме.
Разработанная с использованием предлагаемого способа парогазотурбинная установка обеспечивает мощность N=135 МВт при базовом значении N=30 МВт с КПД более 42%, без применения специальной паровой турбины. Количество пара, подаваемое при этом в камеру сгорания, в 4,5 раза превышает количество топлива.
Таким образом, предлагаемый способ подачи пара в камеру сгорания парогазотурбинной установки позволяет значительно уменьшить эмиссию монооксида углерода с выхлопными газами на дроссельных режимах работы установки в эксплуатационном диапазоне, обеспечить устойчивое горение, снизить концентрацию оксидов азота, повысить мощность и КПД установки.
Формула изобретения
1. Способ подачи пара в камеру сгорания парогазовой установки, включающий подачу пара в первичную зону камеры сгорания и во вторичную зону камеры сгорания, отличающийся тем, что расход пара в первичную зону регулируют перепуском части пара во вторичную зону и поддерживают оптимальную температуру пламени в первичной зоне на всех основных режимах работы парогазовой установки, при этом пар во вторичную зону подается непосредственно в жаровую трубу камеры сгорания без предварительного смешения с воздухом, подаваемым во вторичную зону.
2. Способ по п.1, отличающийся тем, что пар, подаваемый в первичную зону камеры сгорания, предварительно перемешивают с топливом в смесителе, а пар, поступающий во вторичную зону, отбирают до смесителя.
3. Способ по п.1 или 2, отличающийся тем, что регулирование расхода пара в первичную зону камеры сгорания осуществляют по сигналам датчиков концентрации оксидов азота и монооксида углерода на выхлопе установки.
РИСУНКИ
|
|