|
|
(21), (22) Заявка: 2003115454/03, 23.10.2001
(24) Дата начала отсчета срока действия патента:
23.10.2001
(30) Конвенционный приоритет:
24.10.2000 (пп.1-10) US 60/242,543
(43) Дата публикации заявки: 27.11.2004
(46) Опубликовано: 10.11.2006
(56) Список документов, цитированных в отчете о поиске:
US 5532180 А, 02.07.1996. RU 2090919 C1, 20.09.1997. RU 2108988 C1, 20.04.1998. US 4898798 A, 06.02.1990. GB 2302102 A, 08.01.1998.
(85) Дата перевода заявки PCT на национальную фазу:
26.05.2003
(86) Заявка PCT:
US 01/46087 (23.10.2001)
(87) Публикация PCT:
WO 02/40418 (23.05.2002)
Адрес для переписки:
103735, Москва, ул. Ильинка, 5/2, ООО “Союзпатент”, Н.Н.Высоцкой
|
(72) Автор(ы):
БЬЮЭЙ Херри (US), ФИНЛИ Джеймс Дж. (US), ТИЛЬ Джеймс П. (US), ЛЕХАН Джон П. (US)
(73) Патентообладатель(и):
ППГ ИНДАСТРИЗ ОГАЙО, ИНК. (US)
|
(54) СПОСОБ ИЗГОТОВЛЕНИЯ ИЗДЕЛИЙ С ПОКРЫТИЕМ И ИЗДЕЛИЯ С ПОКРЫТИЕМ
(57) Реферат:
Использование: для изготовления изделий с покрытием, например автомобильных стекол. Техническая задача – уменьшение химических повреждений и коррозии автомобильных стекол. Способ изготовления подложки с покрытием содержит создание подложки, имеющей функциональное покрытие с первой величиной коэффициента излучения; нанесение материала покрытия, имеющего вторую величину коэффициента излучения, по меньшей мере на часть функционального покрытия перед нагреванием для создания пакета покрытий, имеющего величину коэффициента излучения больше величины коэффициента излучения функционального покрытия; нагревание покрытой подложки. Защитное покрытие содержит, мас.%: 35-100 оксида алюминия, 0-65 диоксида кремния. Величина коэффициента излучения защитного покрытия больше величины коэффициента излучения функционального покрытия. 3 н. и 7 з.п. ф-лы, 8 ил.
Область техники, к которой относится изобретение
Данное изобретение относится в целом к способам изготовления изделий с покрытием, например автомобильных прозрачных частей с покрытием, и к изделиям с покрытием, изготовленным с помощью этого способа.
Уровень техники
Известен способ уменьшения степени нагревания во внутреннем пространстве автомобиля за счет создания слоистого лобового стекла, имеющего два слоя стекла с покрытием, управляющим ослаблением инфракрасного (ИК) или ультрафиолетового (УФ) солнечного излучения, расположенным между двумя слоями для защиты солнцезащитного покрытия от механического и/или химического повреждения. Эти обычные лобовые стекла изготавливают посредством формирования и отжига двух плоских стеклянных заготовок (одна из которых имеет нанесенное на нее солнцезащитное покрытие) для образования сформированных, закаленных стеклянных слоев с последующим соединением стеклянных слоев друг с другом с помощью пластмассового промежуточного слоя. Поскольку обычные солнцезащитные покрытия включают металлические слои, которые отражают тепло, то стеклянные заготовки располагают друг над другом во время нагревания, при этом функциональное покрытие расположено между стеклянными заготовками для предотвращения неравномерного нагревания и охлаждения, что может влиять на конечную форму слоев. Примеры слоистых автомобильных лобовых стекол и способы их изготовления раскрыты в патентах США №№4820902, 5028759 и 5653903, полное содержание которых включается в данное описание.
Было бы предпочтительным предусматривать солнцезащитное покрытие на других автомобильных прозрачных частях, таких как боковые стекла, задние стекла, солнечные крыши, лунные крыши и т.д. Однако процессы изготовления слоистых лобовых стекол не просто приспособить для изготовления других типов слоистых и/или не слоистых автомобильных прозрачных частей. Например, обычные автомобильные боковые стекла изготавливаются из одной стеклянной заготовки, которую отдельно нагревают, формируют и закаливают до желаемого изгиба, обусловленного размерами отверстия в автомобиле, в которое следует установить боковое стекло. Проблема, возникающая при изготовлении, которая не возникает при изготовлении лобовых стекол, заключается в отдельном нагревании стеклянных заготовок, имеющих отражающее тепло солнцезащитное покрытие.
Дополнительно к этому, если боковое стекло располагается так, что покрытие расположено на поверхности бокового стекла, обращенной от автомобиля (на наружной поверхности), то покрытие является чувствительным к механическому повреждению от объектов, ударяющих в покрытие, и к химическому повреждению от кислотного дождя или моющих средств при мойке автомобиля. Если покрытие находится на поверхности бокового стекла, обращенной внутрь автомобиля (на внутренней поверхности), то покрытие чувствительно к механическому повреждению от соприкосновения с пассажирами автомобиля или от опускания и поднимания в оконном канале или к химическому повреждению от контакта с обычными чистящими средствами для стекла. Дополнительно к этому, если покрытие является покрытием с низкой излучательной способностью, то оно может усиливать парниковый эффект, удерживая тепло внутри автомобиля.
Хотя известно уменьшение химического повреждения или коррозии покрытия с помощью покрывания сверху химически стойким материалом, эти защитные покрытия обычно наносятся как можно более тонко для того, чтобы не оказывать отрицательного воздействия на внешний вид подстилающего покрытия и не повышать значительно излучательную способность подстилающего покрытия. Такие тонкие защитные покрытия не соответствуют требованиям стойкости для транспортировки, обработки и конечного использования автомобильных прозрачных частей, которые легко повредить и которые постоянно подвергаются внешним воздействиям. Дополнительно к этому, такие тонкие покрытия не могут смягчить указанную выше проблему парникового эффекта. Примеры обычных защитных покрытий раскрыты в патентах США №№4716086, 4786563, 5425861, 5344718, 5376455, 5584902 и 5532180. Поэтому предпочтительно создать способ изготовления изделия, например слоистой или не слоистой автомобильной прозрачной части, имеющей функциональное покрытие, который уменьшает или исключает по меньшей мере некоторые из указанных выше проблем.
Сущность изобретения
Создан способ для изготовления подложки с покрытием. Способ содержит создание подложки, имеющей функциональное покрытие, включающее один или более инфракрасных отражающих слоев, содержащих отражательный металл с первой величиной коэффициента излучения; нанесение материала защитного покрытия, содержащего от 35 мас.% до 100 мас.% оксида алюминия и от 0 мас.% до 65 мас.% диоксида кремния, имеющего вторую величину коэффициента излучения, по меньшей мере на часть функционального покрытия перед нагреванием для создания пакета покрытий, имеющего величину коэффициента излучения больше величины коэффициента излучения функционального покрытия; и нагревание подложки с покрытием. При этом материал покрытия наносят толщиной от 100 Å до 1,5 микрон с коэффициентом преломления 1,5±0,2 и при этом наносимая подложка является стеклом.
Изобретение можно применять на практике для изготовления как слоистых, так и однослойных изделий. Для многослойных изделий защитное покрытие может быть обычно более тонким, чем для изделий из одного слоя. Защитное покрытие согласно изобретению не только обеспечивает повышенную защиту от механического и/или химического повреждения подстилающего функционального слоя, но также обеспечивает улучшенные нагревательные характеристики при нагревании и/или формировании покрытой подложки.
Другой вариант (способ) изготовления подложки с покрытием заключается в создании подложки, имеющей функциональный слой с первой величиной коэффициента излучения; нанесении материала защитного покрытия, содержащего от 75 мас.% до 85 мас.% оксида алюминия и от 15 мас.% до 25 мас.% диоксида кремния, имеющего вторую величину коэффициента излучения по меньшей мере на часть функционального покрытия для создания пакета покрытий, имеющего величину коэффициента излучения больше величины коэффициента излучения функционального покрытия.
Третий вариант (способ) изготовления подложки с покрытием содержит стадии получения подложки, имеющей функциональный слой с первой величиной коэффициента излучения; нанесение материала защитного покрытия, содержащего от 86 мас.% до 90 мас.% оксида алюминия и от 10 мас.% до 14 мас.% диоксида кремния, имеющего вторую величину коэффициента излучения по меньшей мере на часть функционального покрытия для создания пакета покрытий, имеющего величину коэффициента излучения больше величины коэффициента излучения функционального покрытия.
Способ изготовления слоистого изделия согласно данному изобретению содержит создание первой подложки, имеющей основную поверхность; нанесение функционального слоя, имеющего величину коэффициента излучения, по меньшей мере на часть главной поверхности первой подложки; нанесение защитного покрытия по меньшей мере на часть функционального покрытия с образованием пакета покрытий, имеющего величину коэффициента излучения больше величины коэффициента излучения функционального покрытия; создание второй подложки; нагревание первой и второй подложек по отдельности для придания желательной формы; и ламинирование первой и второй подложек вместе с помощью промежуточного слоя.
Способ предусмотрен также для изготовления изделия с покрытием, в котором подложку с функциональным покрытием нагревают в печи и охлаждают. Согласно изобретению повышающий излучательную способность защитный покрывающий материал наносят перед нагреванием по меньшей мере на часть функционального покрытия для увеличения коэффициента излучения покрытой подложки.
Другой способ изготовления изделия с покрытием согласно данному изобретению содержит создание покрытия, имеющего заданную отражательную способность в инфракрасном диапазоне солнечного света и заданную излучательную способность; и изменение покрытия так, что коэффициент излучения увеличивается, а коэффициент отражения в инфракрасном диапазоне солнечного света остается по существу прежним.
Изделие согласно изобретению содержит подложку, функциональное покрытие, нанесенное по меньшей мере на часть подложки, и защитное покрытие, нанесенное на функциональное покрытие. Функциональное покрытие и защитное покрытие образуют пакет покрытий, и защитное покрытие снабжает пакет покрытий излучательной способностью, более высокой, чем излучательная способность только функционального покрытия.
Слоистое изделие согласно изобретению содержит первый слой, имеющий первую главную поверхность, функциональное покрытие, нанесенное по меньшей мере на часть первой главной поверхности и имеющее величину коэффициента излучения, и защитное покрытие, нанесенное по меньшей мере на часть функционального покрытия с образованием пакета покрытий, имеющего коэффициент излучения, при этом защитное покрытие выполнено с возможностью увеличения коэффициента излучения пакета покрытий свыше коэффициента излучения только функционального покрытия. Кроме того, изделие содержит второй слой и промежуточный слой, расположенный между первым и вторым слоями.
Монолитное изделие, например автомобильная прозрачная часть, согласно изобретению содержит подложку, например стеклянную подложку, и функциональное покрытие, нанесенное по меньшей мере на часть подложки. Защитное покрытие нанесено на функциональное покрытие с образованием пакета покрытий. Защитное покрытие может включать оксид алюминия, оксид кремния или их смесь и может иметь толщину от 1 микрона до 5 микрон. Защитное покрытие может создавать пакет покрытий предпочтительно с коэффициентом излучения, равным по меньшей мере 0,5.
Краткое описание чертежей
фиг.1 – боковой разрез (без соблюдения масштаба) краевой части слоистой автомобильной прозрачной части, например бокового стекла, согласно изобретению;
фиг.2 – устройство (с удаленными отдельными частями для наглядности) для изготовления стеклянных заготовок G (с покрытием или без него) согласно изобретению, в изометрической проекции
фиг.3 – боковой разрез (без соблюдения масштаба) части монолитного изделия согласно изобретению;
фиг.4 – график с результатами испытания Табера на абразивное истирание для подложек, имеющих защитное покрытие, согласно изобретению в сравнении с подложками без защитного покрытия;
фиг.5 – график средней матовости для некоторых подложек на фиг.4;
фиг.6 – график величины коэффициента излучения в зависимости от толщины покрытия для подложек, имеющих защитное покрытие, согласно изобретению;
фиг.7 – график с результатами испытания Табера на абразивное истирание для подложек, имеющих защитное покрытие, согласно изобретению;
фиг.8 – столбчатая диаграмма, отображающая влияние нагревания и толщины покрытия на истирание Табера для покрытых подложек, имеющих защитное покрытие, согласно изобретению.
Используемые в данном описании понятия “плоская” или “по существу плоская” подложка относятся к подложке, которая по форме по существу является плоской, т.е. к подложке, лежащей первично в одной геометрической плоскости, при этом подложка, как понятно для специалистов в данной области техники, может включать легкие изгибы, выступы или впадины. Кроме того, используемые понятия “нанесенный на”, “наложенный на” или “созданный на” обозначают нанесение или создание на, однако не обязательно в контакте по поверхности. Например, покрытие, “нанесенное на” подложку, не исключает наличие одной или более других пленок покрытия того же или другого состава, расположенных между нанесенным покрытием и подложкой.
Как следует из последующего описания, защитное покрытие согласно изобретению можно использовать при изготовления как слоистых, так и не слоистых, например однослойных изделий. Для использования для слоистых изделий защитное покрытие может быть обычно более тонким, чем для не слоистых изделий. Ниже приводится сначала описание структурных компонентов и способа изготовления согласно изобретению на примере слоистого изделия, а затем на примере монолитного изделия. Под “монолитным” понимается единая по структуре подложка или первичный слой, например стеклянный слой. Под “первичным слоем” понимается первичная опора или структурный элемент. В последующем описании служащее примером изделие (слоистое или монолитное) описывается как автомобильное боковое стекло. Однако изобретение не ограничивается автомобильными боковыми стеклами и его можно использовать для других изделий, таких как, но не ограничиваясь этим, изолирующие стеклянные пакеты, жилые или коммерческие слоистые окна (например, стеклянные крыши) или же прозрачные части для наземных, воздушных, космических, надводных и подводных транспортных средств, например лобовые стекла, задние стекла, люки, чтобы назвать некоторые изделия.
На фиг.1 показано слоистое боковое стекло 10, обладающее признаками изобретения. Слоистое боковое стекло 10 содержит первую заготовку или слой 12, имеющий наружную главную поверхность 13 и внутреннюю главную поверхность 14. Функциональное покрытие 16 нанесено по меньшей мере на часть, предпочтительно на всю внутреннюю главную поверхность 14. Как будет более подробно описано ниже, защитное покрытие 17 согласно изобретению нанесено по меньшей мере на часть, предпочтительно на все функциональное покрытие 16 и помогает не только увеличивать механическую и химическую стойкость, но также обеспечивает улучшенные нагревательные характеристики для изгиба и/или формирования заготовки, на которую он нанесен. Промежуточный слой 18 расположен между первым слоем 12 и второй заготовкой или слоем 20, имеющим внутреннюю главную поверхность 22 и наружную главную поверхность 23. В одном варианте выполнения наружная главная поверхность 23 обращена наружу автомобиля, а наружная главная поверхность 13 обращена внутрь автомобиля. Обычный краевой герметик 26 может быть нанесен на периметр слоистого бокового стекла 10 во время и/или после ламинирования обычным образом. Декоративная полоса 90, например непрозрачная, полупрозрачная или цветная полоса, может быть предусмотрена на поверхности по меньшей мере одного из слоев 12 и 20, например по периметру одной внутренней или наружной главной поверхности.
При практическом применении изобретения первый слой 12 и второй слой 20 могут быть из любого желаемого материала, имеющего любые желаемые характеристики, такого как непрозрачные, полупрозрачные, прозрачные или по существу прозрачные подложки. Под “по существу прозрачными” понимаются подложки, имеющие коэффициент пропускания видимого света 60% или более. Под “полупрозрачными” понимаются подложки, имеющие коэффициент пропускания видимого света от более 0% до менее 60%. Под “непрозрачными” понимаются подложки, имеющие коэффициент пропускания видимого света 0%. Слои 12 и 20 могут быть из одинакового или различных материалов. Примеры подходящих подложек включают, не ограничиваясь этим, пластмассовые подложки (такие как полиакрилаты, поликарбонаты и полиэтилентерефталат (PET)); металлические подложки; эмалевые или керамические подложки; стеклянные подложки или их смеси и комбинации. Стекло может быть, например, обычным не окрашенным натриево-кальциево-силикатным стеклом, т.е. “оконным стеклом”, или же может быть окрашенным или цветным стеклом, боросиликатным стеклом, свинцовым стеклом, закаленным, не закаленным, отожженным или укрепленным нагреванием стеклом. Стекло может быть любого типа, таким как обычное флоат-стекло, листовое стекло или лента флоат-стекла, и может иметь любой состав, имеющий любые оптические свойства, например любую величину пропускания видимого света, ультрафиолетового света, инфракрасного света и/или пропускания всей солнечной энергии. Типы стекла, подходящего для применения изобретения, описаны, например, но не ограничиваясь этим, в патентах США №№4746, 4792536, 5240886, 5385872 и 5393593. Хотя изобретение не ограничено толщиной подложки, для использования при формировании слоистого автомобильного бокового стекла первый и второй слои 12, 20 могут иметь толщину менее около 3,0 мм, например менее около 2,5 мм, например в диапазоне толщин от около 1,0 мм до около 2,1 мм. Как будет указано ниже, подложка для монолитных изделий обычно толще.
Функциональное покрытие 16 может быть любого желаемого типа. В данном описании понятие “функциональное покрытие” относится к покрытию, которое модифицирует одно или более физических свойств подложки, на которую оно наносится, например оптические, термические, химические или механические свойства, и не предназначено для полного удаления с подложки во время последующей обработки. Функциональное покрытие 16 может иметь одну или более пленок функционального покрытия одного или различного состава или функциональности. Используемые в данном описании понятия “слой” или “пленка” относятся к зоне покрытия желаемого или выбранного состава. “Покрытие” или “пакет покрытий” состоит из одного или более “пленок” или “слоев”.
Функциональное покрытие 16 может быть электрически проводящим покрытием, таким как, например, электрически проводящее покрытие, используемое для изготовления нагреваемых стекол, как раскрыто в патентах США №№5653903 и 5028759, или же однослойным или многослойным покрытием, используемым в качестве антенны. Аналогичным образом функциональное покрытие 16 может быть солнцезащитным покрытием. Используемое в данном описании понятие “солнцезащитное покрытие” относится к покрытию, содержащему один или более слоев или пленок, которые оказывают влияние на солнечные свойства покрытого изделия, такие как, но не ограничиваясь этим, количество солнечного излучения, например видимого, инфракрасного или ультрафиолетового излучения, падающего на и/или проходящего через изделие с покрытием, поглощение или отражение инфракрасного или ультрафиолетового света, коэффициент затенения, коэффициент излучения и т.д. Солнцезащитное покрытие может блокировать, поглощать или отфильтровывать выбранные части солнечного спектра, такие как, но не ограничиваясь этим, инфракрасный, ультрафиолетовый и/или видимый спектр. Примеры солнцезащитных покрытий, которые можно использовать при осуществлении изобретения, можно найти, например, в патентах США №№4898789, 5821001, 4716086, 4610771, 4902580, 4716086, 4806220, 4898790, 4834857, 4948677, 5059295 и 5028759, а также в заявке на патент США №09058440.
Функциональное покрытие 16 может быть также покрытием с низким коэффициентом излучения, которое обеспечивает прохождение через покрытие энергии видимого света с длиной волны, например, от 400 нм до 780 нм, но отражает энергию инфракрасного солнечного излучения с большей длиной волны. Под “низким коэффициентом излучения” понимается коэффициент излучения менее 0,4, предпочтительно менее 0,3, более предпочтительно менее 0,2, еще более предпочтительно менее 0,1 и еще более предпочтительно менее или равный 0,05. Примеры покрытий с низким коэффициентом излучения можно найти, например, в патентах США №№4952 и 4504109, а также в GB 2302102. Функциональное покрытие 16 может быть однослойным покрытием или многослойным покрытием и может включать один или более металлов, неметаллов, полуметаллов, полупроводников и/или их сплавов, соединений, композитов, комбинаций или смесей. Например, функциональное покрытие 16 может быть однослойным покрытием из оксида металла, многослойным покрытием из оксида металла, покрытием из оксида неметалла, покрытием из нитрида металла или оксинитрида, или покрытием из нитрида неметалла или оксинитрида, или многослойным покрытием.
Примеры подходящих функциональных покрытий для использования в данном изобретении предлагаются фирмой PPG Industries, Inc. of Pittsburgh, Pennsylvania под названием SUNGATE® и SOLARBAN®. Такие функциональные покрытия обычно включают одну или более противоотражательных покрывающих пленок, содержащих диэлектрические или противоотражательные материалы, такие как оксиды металлов или оксиды сплавов металлов, которые является предпочтительно прозрачными или по существу прозрачными для видимого света. Функциональное покрытие может включать одну или более отражающих инфракрасный свет пленок, содержащих отражательный металл, например благородный металл, такой как золото, медь или серебро, или комбинации их сплавов, и могут дополнительно содержать грунтовочную или запирающую пленку, такую как титановая пленка, известная из уровня техники, расположенная на и/или под металлическим отражательным слоем. Функциональный слой может иметь любое желаемое число инфракрасных отражательных пленок, таких как один или более слоев серебра, например 2 или более слоев серебра, например 3 или более слоев серебра.
Хотя это не ограничивает изобретения, функциональный слой 16 может быть расположен на одной из внутренних главных поверхностей 14, 22 слоистого изделия для обеспечения меньшей чувствительности покрытия 16 к износу от окружающей среды и к механическому износу, чем на наружной поверхности слоистого изделия. Однако функциональное покрытие 16 может быть также предусмотрено на одной или на обеих наружных главных поверхностях 13 или 23. Как показано на фиг.1, часть покрытия 16, например от около 1 мм до 20 мм, такую, как зона с шириной от 2 мм до 4 мм вокруг наружного периметра покрытой зоны, можно удалить или стереть обычным образом, например с помощью шлифования перед склеиванием или же маскирования во время покрытия для минимизации повреждения покрытия 16 на кромке слоистого изделия под воздействием погодных или окружающих условий во время использования. Дополнительно к этому, удаление можно выполнять для обеспечения функциональных параметров, например для антенн, нагреваемых лобовых стекол или для улучшения пропускания радиоволн, и удаляемая часть может иметь любой размер. Для эстетических целей цветная, непрозрачная или матовая полоса 90 может быть предусмотрена на любой поверхности слоев или покрытий, например на одной или обеих поверхностях одного или обоих слоев, например по периметру наружной главной поверхности 13 для сокрытия стертой части. Полоса 90 может быть выполнена из керамического материала или же выжжена на наружной главной поверхности 13 обычным образом.
Защитное покрытие 17, согласно изобретению, наносится по меньшей мере на часть, предпочтительно на всю наружную поверхность функционального покрытия 16. Защитное покрытие 17, среди прочего, увеличивает коэффициент излучения пакета покрытий (например, функциональное покрытие плюс защитное покрытие) свыше коэффициента излучения только функционального покрытия 16. Например, если функциональное покрытие 16 имеет величину коэффициента излучения 0,2, то добавление защитного покрытия 17 повышает величину коэффициента излучения полученного пакета покрытий свыше 0,2. В одном варианте выполнения защитное покрытие увеличивает коэффициент излучения полученного пакета покрытий в два или более раз по сравнению с коэффициентом излучения функционального покрытия (т.е. если коэффициент излучения функционального покрытия составляет 0,05, то дополнение защитного покрытия увеличивает коэффициент излучения полученного пакета покрытий до 0,1 или более), например, в пять и более раз, например в десять и более раз, например в двадцать и более раз. В другом варианте выполнения изобретения защитное покрытие 17 увеличивает коэффициент полученного пакета покрытий по существу до коэффициента излучения подложки, на которую нанесено покрытие, например, внутри 0,2 от коэффициента излучения подложки. Например, если подложка является стеклом, имеющим коэффициент излучения около 0,84, то защитное покрытие 17 предпочтительно обеспечивает создание пакета покрытий, имеющего коэффициент излучения в диапазоне от 0,3 до 0,9, такой как более 0,3, например более 0,5, например более 0,6, например от 0,5 до 0,9. Как будет описано ниже, увеличение коэффициента излучения функционального покрытия 16 посредством нанесения защитного покрытия 17 улучшает характеристики нагревания и охлаждения покрытого слоя 12 во время обработки. Защитное покрытие 17 также защищает функциональное покрытие 16 от механического и химического повреждения во время обращения, хранения, транспортировки и обработки.
В одном варианте выполнения защитное покрытие 17 предпочтительно имеет показатель преломления, который примерно тот же, что и у слоя 12, на который он нанесен. Например, если слой 12 является стеклом, имеющим показатель преломления 1,5, то защитное покрытие 17 предпочтительно имеет показатель преломления менее 2, такой как от 1,3 до 1,8, например 1,5±0,2.
Защитное покрытие 17 может иметь любую желаемую толщину. В одном примере выполнения слоистого изделия защитное покрытие 17 имеет толщину от 500 до 50000, например от 500 до 10000. Кроме того, защитное покрытие 17 не обязательно должно иметь равномерную толщину на функциональном покрытии 16, а может иметь высокие и низкие точки или зоны.
Защитное покрытие 17 может быть из любого желаемого материала. В одном варианте выполнения защитное покрытие 17 может включать один или более материалов из оксидов металлов, такие как, но не ограничиваясь этим, оксид алюминия, оксид кремния или их смеси. Например, защитное покрытие может иметь оксид алюминия в диапазоне от 35 масс.% до 100 масс.% и оксид кремния в диапазоне от 65 масс.% до 0 масс.%, например от 70 масс.% до 90 масс.% оксида алюминия и от 10 масс.% до 30 масс.% оксида кремния, например от 75 масс.% до 85 масс.% оксида алюминия и от 15 масс.% до 25 масс.% оксида кремния, например 88 масс.% оксида алюминия и 12 масс.% оксида кремния, например от 65 масс.% до 75 масс.% оксида алюминия и от 25 масс.% до 35 масс.% оксида кремния, например 70 масс.% оксида алюминия и 30 масс.% оксида кремния. Могут присутствовать другие материалы, такие как алюминий, хром, гафний, иттрий, никель, бор, фосфор, титан, цирконий и их оксиды, для оказания влияния на показатель преломления защитного покрытия.
Промежуточный слой 18 может быть материалом, который используется для склеивания вместе слоев, такая как, не ограничиваясь этим, пластмасса, такая как поливинилбутераль, или аналогичным материалом и может иметь любую желаемую толщину, например в диапазоне от 0,50 до около 0,80 мм, такую как 0,76 мм.
Ниже приводится описание примера выполнения способа изготовления слоистого бокового стекла 10 с использованием признаков изобретения.
Создают первую подложку и вторую подложку. Первая и вторая подложки могут быть плоскими стеклянными заготовками, имеющими толщину от около 1,0 мм до 6,0 мм, обычно от около 1,0 мм до около 3,0 мм, такую как от около 1,5 мм до около 2,3 мм. Функциональное покрытие 16 наносится по меньшей мере на часть главной поверхности первой стеклянной подложки, например на главную поверхность 14. Функциональное покрытие 16 может быть нанесено любым обычным способом, таким как, но не ограничиваясь этим, магнетронное осаждение напылением из паровой или газовой фазы (MSVD), пиролитическое осаждение, такое как химическое осаждение из паровой или газовой фазы (CVD), пиролиз пульверизованного слоя, химическое осаждение из паровой или газовой фазы при атмосферном давлении (APCVD), химическое осаждение из паровой или газовой фазы при пониженном давлении (LPCVD), усиленное плазмой химическое осаждение из паровой или газовой фазы (PEVCD), поддерживаемое плазмой химическое осаждение из паровой или газовой фазы (PACVD) или термическое испарение посредством резистивного нагревания или нагревания электронным лучом, катодное дуговое осаждение, плазменное осаждение распылением, мокрое химическое осаждение (например, обратимый гель, зеркальное серебрение и т.д.) или любой другой способ. Например, функциональное покрытие 16 можно наносить на первую подложку после разрезания первой подложки на заданный размер. В качестве альтернативного решения, функциональное покрытие 16 можно наносить на стеклянный лист перед его обработкой и/или на ленту флоат-стекла, опирающегося на ванну из расплавленного металла, например олова, в обычной флоат-ванне с помощью одного или более обычных устройств химического осаждения из паровой или газовой фазы, расположенных в флоат-ванне. После выхода из флоат-ванны ленту можно разрезать с образованием первой подложки с покрытием.
В качестве альтернативного решения, функциональное покрытие 16 можно наносить на ленту флоат-стекла после выхода ленты из флоат-ванны. Например, в патентах США №№4584206, 4900110 и 5714199, полное содержание которых включается в данное описание, раскрыты способы и устройство для нанесения содержащей металл пленки на нижнюю поверхность ленты стекла. Такое известное устройство может быть расположено по потоку ниже ванны расплавленного олова в процессе получения флоат-стекла для создания функционального покрытия на нижней поверхности ленты стекла, т.е. на стороне ленты, которая находилась в соприкосновении с расплавленным металлом. Дополнительно к этому, функциональное покрытие 16 можно наносить на первую подложку с помощью MSVD после разрезания подложки на заданный размер.
Защитное покрытие 17 согласно изобретению наносится по меньшей мере на часть функционального покрытия 16. Защитное покрытие 17 обеспечивает несколько преимуществ при изготовлении слоистого изделия. Например, защитное покрытие 17 защищает функциональное покрытие 16 от механических и/или химических повреждений во время обращения, транспортировки, хранения и обработки. Дополнительно к этому, как будет описано ниже, защитное покрытие 17 облегчает нагревание и охлаждение заготовки с функциональным покрытием за счет повышения коэффициента излучения полученного пакета покрытий. В то время как в прошлом наносили верхние покрытия на функциональные покрытия для обеспечения защиты функционального покрытия от химических и механических воздействий во время обработки, при этом эти верхние покрытия были как можно более тонкими для исключения отрицательного влияния на эстетические и солнцезащитные свойства функционального покрытия, такие как коэффициент излучения покрытия. В противоположность этому, защитное покрытие 17 согласно данному изобретению изготавливается достаточно толстым для увеличения коэффициента излучения пакета покрытий. Кроме того, за счет по существу согласования показателя преломления защитного покрытия 17 с показателем преломления подложки, на которую он наносится, защитным покрытием 17 оказывается лишь небольшое или вообще не оказывается отрицательного влияния на эстетические характеристики функционального покрытия 16 после ламинирования.
Если функциональное покрытие 16 является покрытием с низким коэффициентом излучения, имеющим один или более отражающих инфракрасный свет металлических слоев, то добавление защитного покрытия 17 для повышения коэффициента излучения пакета покрытий уменьшает термические характеристики отражения инфракрасного света функционального покрытия 16. Однако пакет покрытий сохраняет способность отражения инфракрасного спектра солнечного света.
Защитное покрытие можно наносить любым обычным способом, таким как, но не ограничиваясь этим, способы, указанные выше применительно к нанесению функционального покрытия, т.е. химическое осаждение из паровой или газовой фазы в ванной или вне ванны, MSDV, обратимый гель, чтобы назвать некоторые из них. Например, подложку с функциональным покрытием можно направлять в обычное устройство нанесения покрытия с помощью MSVD, имеющее один или более металлических электродов, например катодов, которые можно распылять в содержащей кислород атмосфере с образованием защитного покрытия из оксидов металлов. Устройство MSDV может содержать один или более катодов из алюминия, кремния или смесей или сплавов из алюминия и кремния. Катоды могут содержать, например, от 35 масс.% до 100 масс.% алюминия и от 0 масс.% до 65 масс.% кремния, например от 50 масс.% до 80 масс.% алюминия и от 20 масс.% до 50 масс.% кремния, например 70 масс.% алюминия и 30 масс.% кремния. Дополнительно к этому могут присутствовать другие материалы или присадки, такие как алюминий, хром, гафний, иттрий, никель, бор, фосфор, титан или цирконий, для облегчения распыления катодов и/или для оказания влияния на показатель преломления или стойкость полученного покрытия. Защитное покрытие 17 наносится в достаточном количестве или с достаточной толщиной для увеличения коэффициента излучения пакета покрытий свыше коэффициента излучения только одного функционального покрытия. В одном варианте выполнения защитное покрытие может наноситься с толщиной от 500 Å до 50000 Å и/или увеличивать коэффициент излучения пакета покрытий до более или около 0,3, например более или около 0,4, например более или около 0,5.
Функциональное покрытие 16 и/или защитное покрытие 17 можно наносить на плоскую подложку или на подложку после ее изгибания и формирования в желаемую форму.
Покрытую первую подложку и непокрытую вторую подложку можно разрезать для получения первой, покрытой заготовки или слоя и второй, непокрытой заготовки или слоя, соответственно, каждый из которых имеет желаемую форму и желаемые размеры. Покрытый и непокрытый слои соединяют, промывают, изгибают и формируют до желаемой формы с образованием первого и второго слоев 12 и 20, соответственно, подлежащих ламинированию. Как очевидно для специалистов в данной области техники, общая форма покрытой и непокрытой заготовок или слоев зависит от конкретного автомобиля, в который они должны вставляться, поскольку конечная форма бокового стекла отличается у различных производителей автомобилей.
Покрытые и непокрытые заготовки можно формовать с использованием любого желаемого способа. Например, заготовки можно формировать с использованием способа “RPR”, раскрытого в патенте США №5286271, или модифицированного способа RPR, раскрытого в заявке на патент США №09/512852, полное содержание которых включается в данное описание. На фиг.2 показано дополнительное устройство 30 RPR, подходящее для осуществления изобретения и содержащее печь 32, например излучательную печь или туннель Лера, имеющий печной конвейер 34, содержащий множество расположенных на расстоянии друг от друга валков 36 печного конвейера. Нагреватели, такие как излучающие нагревательные катушки, расположены над и/или под печным конвейером 34 по длине печи 32 и ими можно управлять для образования зон нагревания с разной температурой по длине печи 32.
Участок 50 формирования расположен вблизи разгрузочного конца печи 32 и содержит нижнюю форму 51, имеющую вертикально перемещаемое гибкое кольцо 52, и конвейер 54 формовочного участка, имеющего множество валков 56. Верхняя вакуумная форма 58, имеющая съемную или изменяемую формовочную поверхность 60 заданной формы, расположена над нижней формой 51. Вакуумная форма 58 установлена с возможностью перемещения с помощью возвратно-поступательной системы 61.
Передаточный участок 62, имеющий множество фасонных передаточных валков 64, расположен вблизи разгрузочного конца формовочного участка 50. Передаточные валки 64 предпочтительно имеют поперечный изгиб по высоте, соответствующий по существу поперечному изгибу формируемой поверхности 60.
Участок 70 отпуска или охлаждения расположен вблизи разгрузочного конца передаточного участка 62 и содержит множество валков 72 для перемещения заготовок через участок 70 для охлаждения, отпуска и/или закаливания. Валки 72 имеют поперечный изгиб по высоте, по существу такой же, что и передаточные валки 64.
В прошлом нагревание заготовок с функциональным покрытием представляло трудности вследствие отражения тепла функциональным покрытием 16, что приводило к неравномерному нагреванию покрытой и непокрытой сторон заготовки. В заявке на патент США №09/512852 раскрыт способ преодоления этой проблемы посредством модификации процесса нагревания RPR для подачи тепла первично в направлении поверхности заготовки без функционального покрытия. Согласно данному изобретению эта проблема решена с помощью нанесения увеличивающего коэффициент излучения защитного покрытия 17, который позволяет использовать по существу тот же процесс нагревания как для заготовок с функциональным покрытием, так и для заготовок без функционального покрытия.
Как показано на фиг.2, первую заготовку 80 с пакетом покрытий (например, с функциональным покрытием 16 и защитным покрытием 17) и вторую заготовку 82 без функционального покрытия можно по отдельности нагревать, формировать и охлаждать перед ламинированием. Под “нагреванием по отдельности” понимается, что заготовки не установлены друг на друга во время нагревания. В одном варианте выполнения первую заготовку 80 размещают на печном конвейере 34 защитным покрытием 17 вниз, т.е. в соприкосновении с валками 36 печного конвейера, во время процесса нагревания. Наличие защитного покрытия 17 с более высоким коэффициентом излучения уменьшает проблему отражения тепла металлическими слоями функционального покрытия 16 и способствует более равномерному нагреванию покрытой и непокрытой сторон первой заготовки 80. Это помогает предотвратить коробление первой заготовки 80, обычно случающееся в процессах нагревания, согласно уровню техники. В одном примере выполнения, заготовки нагревают до температуры от около 640°С до около 704°С в течение около 10-30 минут.
В конце печи 32 размягченные стеклянные заготовки, покрытые 80 или непокрытые 82, перемещаются из печи 32 на формовочный участок 50 и в нижнюю форму 51. Нижняя форма 51 перемещается вверх, поднимая стеклянную заготовку для прижимания размягченной нагреванием стеклянной заготовки к формовочной поверхности 60 верхней формы 58 для придания стеклянной заготовке формы, например изгиба, формовочной поверхности 60. Верхняя поверхность стеклянной заготовки находится в соприкосновении с формовочной поверхностью 60 верхней формы 58 и удерживается с помощью вакуума.
Возвратно-поступательную систему 61 приводят в действие для перемещения вакуумной верхней формы 58 из формовочного участка 50 на передаточный участок 62, где вакуум прерывают для опускания сформированной стеклянной заготовки на изогнутые передаточные валки 64. Передаточные валки 64 перемещают сформированную стеклянную заготовку на валки 72 и на участок 70 охлаждения для отпуска или закаливания нагреванием любым обычным образом. На участке 70 охлаждения на сформированные стеклянные заготовки направляют сверху и снизу воздух для отпуска или закалки стеклянных заготовок с образованием первого и второго слоев 12 и 20. Наличие защитного покрытия 17 с большим коэффициентом излучения также способствует более ровному охлаждению покрытой заготовки 80 на участке 70 охлаждения.
Для формирования слоистого изделия 10 согласно изобретению покрытый слой 12 располагают покрытой внутренней главной поверхностью 14 в направлении по существу дополняющей внутренней главной поверхности 22 непокрытого слоя 20 и отделенной от нее промежуточным слоем 18. Часть функционального покрытия 16 и/или защитного покрытия 17, например ленту шириной около 2 мм, можно удалить по периметру первого слоя 12 перед ламинированием. На одном или обоих слоях 12 или 20, например на наружной поверхности 13 первого слоя 12, может быть создана керамическая лента 90 для закрывания непокрытой периферийной краевой зоны слоистого бокового стекла и/или для обеспечения дополнительного затенения для пассажиров внутри автомобиля. Первый слой 12, промежуточный слой 18 и второй слой 20 можно ламинировать любым обычным образом, например, но не ограничиваясь этим, как раскрыто в патентах США №№3281296, 3769133 и 5250146, полное содержание которых включается в данное описание, для формирования бокового стекла 10 согласно изобретению. На кромку бокового стекла 10 может быть нанесен краевой герметик 26, как показано на фиг.1.
Хотя в указанном выше способе для формирования слоистого бокового стекла 10 согласно изобретению используется устройство и способ RPR, боковое стекло 10 согласно данному изобретению можно формировать с помощью других способов, таких как способы изгибания в горизонтальном прессе, раскрытых, например, в патентах США №№4661139, 4197108, 4272274, 4265650, 4508556, 4830650, 3459526, 3476540, 3527589 и 4579577, полное содержание которых включается в данное описание.
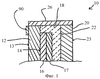
На фиг.3 показано монолитное изделие 100, в частности монолитная автомобильная прозрачная часть, включающая признаки изобретения. Изделие 100 содержит слой 102, имеющий первую главную поверхность 104 и вторую главную поверхность 106. Функциональное покрытие 108 нанесено по меньшей мере на часть, предпочтительно на большую часть и наиболее предпочтительно на всю площадь поверхности первой главной поверхности 104. Защитное покрытие 110 согласно изобретению нанесено по меньшей мере на часть, предпочтительно на большую часть и наиболее предпочтительно на всю площадь поверхности функционального покрытия 108. Функциональное покрытие 108 и защитное покрытие 110 можно наносить любым желаемым образом, таким как указаны выше. Функциональное покрытие 108 и защитное покрытие 110 образуют пакет 112 покрытий. Пакет 112 покрытий может включать другие покрывающие слои или пленки, такие как, но не ограничиваясь этим, обычный подавляющий цвет слой, барьерный слой диффузии ионов натрия, чтобы назвать некоторые.
Слой 102 может состоять из любого желаемого материала, такого как указаны выше применительно к слоям 12, 20. Для использования в качестве монолитного автомобильного бокового стекла слой 102 предпочтительно имеет толщину, большую или равную 20 мм, например менее около 10 мм, такую как от около 2 мм до около 8 мм, например от около 2,6 мм до около 6 мм.
Функциональное покрытие 108 может иметь любую желаемую толщину, такую как указана выше для функционального покрытия 16. В одном варианте выполнения функциональное покрытие 108 является солнцезащитным покрытием, имеющим толщину от около 600 Å до около 2400 Å.
Защитное покрытие 110 может быть из любого желаемого материала, такого как указаны выше для защитного покрытия 17. Защитное покрытие 110 согласно изобретению наносится в достаточном количестве для увеличения, например существенного увеличения, коэффициента излучения пакета 112 покрытий по сравнению с коэффициентом излучения только одного функционального покрытия 108. В одном примере выполнения монолитного изделия защитное покрытие 110 может иметь толщину, большую или равную 1 микрону, такую как в диапазоне от 1 микрона до 5 микрон. В одном варианте выполнения защитное покрытие 112 увеличивает коэффициент излучения пакета 112 покрытий по меньшей мере в 2 раза по сравнению с коэффициентом излучения одного функционального покрытия 108 (т.е., если коэффициент излучения функционального покрытия 108 равен 0,05, то добавление защитного покрытия 110 увеличивает коэффициент излучения полученного пакета 112 покрытий по меньшей мере до 0,1). В другом варианте выполнения защитное покрытие 110 увеличивает коэффициент излучения по меньшей мере в 5 раз, например в 10 или более раз. В другом варианте выполнения защитное покрытие 110 увеличивает коэффициент излучения пакета 112 покрытий до 0,5 или более, предпочтительно до более 0,6 и более предпочтительно до диапазона от около 0,5 до около 0,8.
Увеличение коэффициента излучения пакета 112 покрытий сохраняет отражение солнечной энергии функциональным покрытием 108 (например, отражение электромагнитной энергии в диапазоне от 700 нм до 2100 нм), однако уменьшает способность функционального покрытия 108 отражать тепловую энергию (например, способность отражать электромагнитную энергию в диапазоне от 5000 нм до 25000 нм). Увеличение коэффициента излучения функционального покрытия 108 за счет нанесения защитного покрытия 110 также улучшает характеристики нагревания и охлаждения покрытой подложки во время обработки, как указывалось выше применительно к слоистому изделию. Защитное покрытие 110 также защищает функциональное покрытие 108 от механических и химических воздействий во время обращения, хранения, турбулентности и обработки.
Защитное покрытие 110 может иметь показатель преломления, который примерно равен коэффициенту преломления слоя 102, на который он нанесен. Например, если слой 102 является стеклом, имеющим показатель преломления 1,5, то защитное покрытие 110 предпочтительно имеет показатель преломления менее 2, такой как от 1,3 до 1,8, например 1,5±0,2.
Защитное покрытие 110 может иметь любую толщину. В монолитном варианте выполнения защитное покрытие 110 имеет толщину 1 микрон или более для уменьшения или исключения изменения цвета внешнего вида изделия 100. Толщина защитного покрытия 110 предпочтительно меньше 5 микрон и более предпочтительно от около 1 до около 3 микрон. В одном варианте выполнения защитное покрытие 110 является достаточно толстым для прохождения обычного испытания ANSI/SAE 26/1-1996 с менее чем 2% потери глянца после 1000 оборотов для использования в качестве автомобильной прозрачной части. Защитное покрытие 110 необязательно должно иметь равномерную толщину по поверхности функционального покрытия 108, а может иметь высокие и низкие точки или зоны. Подложку с пакетом 112 покрытий можно нагревать и/или формировать любым способом, таким как указаны выше для нагревания покрытой заготовки для слоистого изделия.
Монолитное изделие 110 особенно полезно для применения в качестве автомобильной прозрачной части. Используемое в данном случае понятие “автомобильная прозрачная часть” относится к автомобильному боковому стеклу, заднему стеклу, стеклянной крыше, люку и т.п. “Прозрачность” может иметь пропускание видимого света в любом желаемом количестве, например от 0% до 100%. Для зон обзора пропускание видимого света составляет предпочтительно более 70%. Для не обзорных зон пропускание видимого света может составлять менее 70%.
Если применять слой 102 только с функциональным покрытием 108 в качестве автомобильной прозрачной части, такой как боковое стекло, то низкая излучательная способность функционального покрытия 108 уменьшала бы солнечную энергию, проходящую в автомобиль, но способствовала бы также парниковому эффекту, удерживая тепловую энергию внутри автомобиля. Защитное покрытие 110 согласно изобретению снимает эту проблему за счет создания пакета 112 покрытий, имеющего функциональное покрытие 108 с низким коэффициентом излучения (например, коэффициентом излучения 0,1 или менее) на одной стороне пакета 112 покрытий и защитное покрытие 110 с высоким коэффициентом излучения (например, коэффициентом излучения 0,5 или более) на другой стороне. Отражающие солнечную энергию металлические слои в функциональном покрытии 108 уменьшают количество солнечной энергии, проходящей внутрь автомобиля, а защитное покрытие 110 с высоким коэффициентом излучения уменьшает парниковый эффект и обеспечивает удаление тепловой энергии из внутреннего пространства автомобиля. Дополнительно к этому, слой 110 (или слой 17) может быть выполнен с возможностью поглощения солнечного света в ультрафиолетовой, инфракрасной и/или видимой части электромагнитного спектра.
Относительно фиг.3, изделие 100 может быть расположено в автомобиле функциональным покрытием 110 в направлении первой стороны 114 автомобиля и слоем 102 в направлении второй стороны 116 автомобиля. Если первая сторона 114 автомобиля направлена наружу автомобиля, то пакет 112 покрытий отражает солнечную энергию за счет отражательных слоев, присутствующих в функциональном покрытии 108. Однако, за счет большого коэффициента излучения, например более 0,5, пакета 112 покрытий по меньшей мере часть тепловой энергии будет поглощаться. Чем больше коэффициент излучения пакета 112 покрытий, тем больше тепловой энергии будет поглощаться. Защитное покрытие 110, дополнительно к обеспечению увеличения коэффициента излучения пакета 112 покрытий, также защищает менее стойкое функциональное покрытие 108 от механических и химических повреждений.
И наоборот, если первая сторона 114 направлена внутрь автомобиля, то изделие 100 все еще обеспечивает отражение солнечного света за счет металлических слоев в функциональном покрытии 108. Однако наличие защитного покрытия 110 уменьшает отражение тепловой энергии за счет поглощения тепловой энергии для исключения нагревания тепловой энергией внутреннего пространства автомобиля с повышением его температуры и уменьшает парниковый эффект. Тепловая энергия из внутреннего пространства автомобиля поглощается защитным покрытием 110 и не отражается обратно во внутреннее пространство автомобиля.
Хотя пакет покрытий согласно изобретению является особенно полезным для автомобильных прозрачных частей, изобретение не следует рассматривать как ограниченное применением в автомобилях. Например, пакет покрытий можно включать в обычный стеклопакет, например может быть образован на поверхности на внутренней или наружной поверхности, одного из стеклянных листов стеклопакета. При расположении на внутренней стороне в воздушном пространстве пакет покрытий не должен быть таким механически и/или химически стойким, как на наружной стороне. Дополнительно к этому, пакет покрытий можно использовать в регулируемом в соответствии с погодой окне, таком как раскрытый в патенте США №4081934, содержание которого включается в данное описание. При расположении на наружной поверхности окна защитное покрытие должно быть достаточно толстым для защиты функционального покрытия от механических и/или химических повреждений. Изобретение можно также использовать в виде монолитного окна.
Ниже приводится описание иллюстрирующих изобретение примеров, которые однако не следует рассматривать как ограничивающие своими деталями изобретение. Все части и процентные содержания в последующих примерах, а также во всем описании, относятся к массе, если не указано другое.
Примеры
Несколько образцов функциональных покрытий с разными защитными покрытиями были подготовлены и испытаны на стойкость, матовость рассеянного света после истирания Табера и излучательную способность. Функциональные покрытия не оптимировались по механическим или оптическим свойствам, а просто использовались для иллюстрации относительных свойств, например стойкости, излучательной способности и/или матовости имеющей функциональное покрытие подложки, имеющей защитное покрытие, согласно изобретению. Методы подготовки таких функциональных покрытий описаны, например, но не рассматриваются в качестве ограничения, в патентах США №№4898789 и 6010602.
Испытательные образцы были подготовлены посредством покрытия сверху различных функциональных покрытий указанным ниже образом (на обычном натриево-кальциево-силикатном оконном стекле) защитным покрытием из оксида алюминия, включающем признаки изобретения и имеющим толщину в диапазоне от 300 Å до 1,5 микрон. Функциональные покрытия, использованные для испытаний, имеют высокую отражательную способность для инфракрасного спектра солнечного света и характеристическую низкую излучательную способность и состоят из многослойных интерференционных тонких пленок, выполненных путем нанесения чередующихся слоев станната цинка и серебра с помощью магнетронного вакуумного нанесения распылением (MSVD). В указанных ниже образцах в функциональном покрытии обычно присутствуют два слоя серебра и три слоя станната цинка. В функциональных покрытиях используются также титановые металлические грунтовочные слои поверх слоев серебра для защиты слоев серебра от окисления во время нанесения с помощью MSVD оксидных слоев станната цинка и для выдерживания нагревания для изгиба стеклянной подложки. Два функциональных покрытия, используемых в последующих примерах, отличаются в основном самым наружным тонким слоем многослойного покрытия, при этом один является металлическим титаном, а другой – оксидом TiO2. Толщина наружного слоя из Ti или TiO2 находится в диапазоне от 10 Å до 100 Å. Альтернативными примерами, которые также возможны, но не были подготовлены, являются функциональные покрытия без наружного слоя из Ti или TiO2 или других металлических или оксидных наружных слоев. Функциональные покрытия, использованные для примеров, имеющих тонкий наружный слой из Ti, имеют после нагревания голубой отраженный цвет, а наружный слой с TiO2 имеет после нагревания зеленый отраженный цвет. Другие отраженные цвета функциональных покрытий после нагревания, которые можно защищать с помощью защитного покрытия, согласно изобретению можно обеспечить посредством изменения толщины отдельных слоев из серебра или станната цинка в функциональном покрытии.
Тонкие или толстые защитные покрытия из оксида алюминия для последующих примеров наносили с помощью среднечастотного, биполярного магнетрона с двойными импульсами, распыляющего алюминий в устройстве Airco ILS 1600, специально модифицированном для подачи питания на две или более мишеней. Питание обеспечивалось с помощью источника питания постоянного тока Advanced Energy (AE) Pinnacle ® Dual и переключательного устройства Astral ®, которое преобразует питание источника постоянного тока в биполярное, импульсное питание. Стеклянные подложки с функциональным покрытием помещали в устройство Airco ILS 1600 MSVD, имеющее реакционную окислительную атмосферу из кислорода и аргона. Два алюминиевых катода распыляли в течение различного времени для получения разных по толщине покрытий из оксида алюминия на функциональных покрытиях.
Были подготовлены три опытных образца (образцы А-С) и оценены следующим образом:
Образец А – куски оконного флоат-стекла толщиной 2 мм и размером 4 на 4 дюйма (10 на 10 см), предлагаемые в торговле фирмой PPG Industries, Inc. of Pittsburgh, Pennsylvania.
Образец В – куски оконного стекла толщиной 2 мм и размером 4 на 4 дюйма (10 на 10 см), имеющие экспериментальное функциональное покрытие с низким коэффициентом излучения толщиной примерно 1600 с зеленым отраженным цветом, изготовленное с помощью MVSD (как указывалось выше) и без защитного покрытия из оксида алюминия, использовались в качестве контрольного образца.
Образец С – куски оконного стекла толщиной 2 мм и размером 4 на 4 дюйма (10 на 10 см), имеющие экспериментальное функциональное покрытие толщиной примерно 1600 Å с синим отраженным цветом, изготовленное с помощью MVSD, но имеющее защитное покрытие из оксида алюминия (Al2О3) толщиной 1,53 , согласно изобретению, нанесенное на функциональное покрытие.
Копии образцов А-С затем испытывали в соответствии со стандартным испытанием Табера на истирание (ANSI/SAE 26.1-1996) и результаты показаны на фиг.4. Измерения склерометрической плотности (SD) по Таберу для заданного числа циклов осуществлялись посредством измерения с помощью микроскопа по всей длине всех царапин на площади в один квадратный микрон с использованием программного обеспечения дискредитации и анализа изображения. Образец С (с защитным покрытием) показал меньшую склерометрическую плотность, чем образец В (с функциональным покрытием). Образец С имел примерно ту же стойкость, что и образец А стекла без покрытия. Результаты испытаний по Таберу были получены для защитного покрытия в том виде, как оно было нанесено, т.е. покрытые образцы стекла не подвергались нагреванию после нанесения с помощью MSVD защитного покрытия. Предполагается, что склерометрическая плотность должна улучшится (т.е. склерометрическая плотность для меньшего количества циклов Табера должна уменьшаться) после нагревания покрытой подложки за счет увеличенной плотности нагретого пакета покрытий. Например, покрытые подложки можно нагревать от окружающей температуры до максимальной температуры в диапазоне от 640°С до 704°С и охлаждать в течение от около 10 минут до около 30 минут.
На фиг.5 показана средняя матовость рассеивания света в зависимости от циклов Табера (в соответствии с ANSI/SAE 26.1-1996) для образцов А и С, указанных выше. Образец А является стеклом без покрытия, используемым в качестве контрольного. Результаты показывают, что матовость, которая развивается в образце С после 1000 циклов близка к 2%, т.е. к допустимому минимальному значению, заданному ANSI для безопасности автомобиля вследствие матовости. Небольшое улучшение стойкости защитного покрытия приводит к менее чем 2% матовости после 1000 циклов Табера, что превышает требования ANSI к безопасности автомобиля вследствие матовости.
На фиг.6 показано влияние защитного покрытия согласно изобретению, нанесенного при разных давлениях разрежения процесса MSVD на два разных функциональных покрытия. Образцы, показанные на фиг.6, являются образцами толщиной 2 мм из оконного флоат-стекла со следующими покрытиями, нанесенными на них:
Образец D – контрольный образец; синее отражающее функциональное покрытие с номинальной толщиной 1600 Å, не имеющее защитного покрытия.
Образец Е – контрольный образец; зеленое отражающее функциональное покрытие с номинальной толщиной 1600 Å, не имеющее защитного покрытия.
Образец F (HP) – функциональное покрытие образца D плюс защитное покрытие из оксида алюминия 8 микрон, нанесенное распылением, как указывалось выше, в процессе MSVD в разреженной атмосфере кислорода и аргона.
Образец F (LP) – функциональное покрытие образца D плюс защитное покрытие из оксида алюминия 4 микрона, нанесенное распылением, как указывалось выше, в процессе MSVD в разреженной атмосфере кислорода и аргона.
Образец G (HP) – функциональное покрытие образца Е плюс защитное покрытие из оксида алюминия 8 микрон, нанесенное распылением, как указывалось выше, в процессе MSVD в разреженной атмосфере кислорода и аргона.
Образец G (LP) – функциональное покрытие образца D плюс защитное покрытие из оксида алюминия 4 микрон, нанесенное распылением, как указывалось выше, в процессе MSVD в разреженной атмосфере кислорода и аргона.
Как показано на фиг.6, при увеличении толщины защитного покрытия увеличивается также коэффициент излучения пакета покрытий. При толщине защитного покрытия около 1,5 микрон пакет покрытий имеет коэффициент излучения более около 0,5.
На фиг.7 показаны результаты измерения склерометрической плотности после 10 циклов истирания по Таберу для образцов F (HP), F (LP), G (HP) и G (LP). Контрольные образцы D и Е с функциональным покрытием без защитного покрытия имеют начальную склерометрическую плотность порядка от около 45 мм-1 до около 50 мм-1. Как показано на фиг.7, нанесение защитного покрытия, согласно изобретению (даже порядка менее около 800 Å) улучшает стойкость результирующего пакета покрытий.
На фиг.8 показаны результаты измерения склерометрической плотности после 10 циклов истирания по Таберу для следующих образцов синего и зеленого отражающих функциональных покрытий с защитными покрытиями из оксида алюминия толщиной 300 Å, 500 Å и 700 Å:
Образец Н – функциональное покрытие образца D плюс защитное покрытие из оксида алюминия 8 микрон, нанесенное распылением, как указывалось выше, с помощью MSVD.
Образец I – функциональное покрытие образца Е плюс защитное покрытие из оксида алюминия, нанесенное распылением, как указывалось выше, с помощью MSVD.
Как показано в правой части фиг.8, нагревание пакета покрытий, согласно изобретению, улучшает стойкость пакета покрытий. Покрытия на правой стороне фиг.8 нагревали посредством помещения в печь при температуре 1300°F (704°С) в течение 3 минут, а затем удалили и поместили в печь при 400°F (204°С) на 5 минут, после чего покрытые образцы удалили и оставили охлаждаться в окружающих условиях.
Для специалистов в данной области техники понятно, что возможны модификации изобретения без отхода от концепции, изложенной в предшествующем описании. Например, хотя в предпочтительном варианте выполнения слоистого изделия только один слой содержит функциональное покрытие, очевидно, что изобретение можно осуществлять на практике с функциональным покрытием на обоих слоях или же с одним слоем, имеющим не функциональное покрытие, например фотокаталитическое покрытие. Кроме того, как очевидно для специалистов в данной области техники, предпочтительные рабочие параметры, указанные выше, можно при необходимости согласовывать с различными материалами подложки и/или с величинами толщины. В соответствии с этим, частные варианты выполнения, описанные выше, служат только для целей иллюстрации и не ограничивают объема изобретения, представленного во всей полноте в прилагаемой формуле изобретения и в любом и всех ее эквивалентах.
Формула изобретения
1. Способ изготовления подложки с покрытием, отличающийся тем, что содержит следующие стадии:
создание подложки, имеющей функциональное покрытие, включающее один или более инфракрасных отражающих слоев, содержащих отражательный металл с первой величиной коэффициента излучения; нанесение материала защитного покрытия, содержащего от 35 до 100 мас.% оксида алюминия и от 0 до 65 мас.% диоксида кремния, имеющего вторую величину коэффициента излучения по меньшей мере на часть функционального покрытия для создания пакета покрытий, имеющего величину коэффициента излучения больше величины коэффициента излучения функционального покрытия.
2. Способ по п.1, отличающийся тем, что нагревают покрытую подложку.
3. Способ по п.1, отличающийся тем, что материал покрытия содержит от 75 до 85 мас.% оксида алюминия и от 15 до 25 мас.% диоксида кремния.
4. Способ по п.1, отличающийся тем, что материал покрытия содержит от 86 до 90 мас.% оксида алюминия и от 10 до 14 мас.% диоксида кремния.
5. Способ по п.1, отличающийся тем, что наносят материал покрытия с толщиной в диапазоне от 100 Å до 1,5 мкм.
6. Способ по п.1, отличающийся тем, что материал покрытия имеет показатель преломления по существу такой же, что и показатель преломления подложки.
7. Способ по п.1, отличающийся тем, что наносят материал покрытия с толщиной в диапазоне от 100 Å до 1,5 мкм и с коэффициентом преломления 1,5±0,2, при этом подложка является стеклом.
8. Способ по п.1, отличающийся тем, что первая величина коэффициента излучения отличается от второй величины коэффициента излучения.
9. Способ изготовления подложки с покрытием, отличающийся тем, что содержит следующие стадии: получение подложки, имеющей функциональный слой с первой величиной коэффициента излучения; нанесение материала защитного покрытия, содержащего от 75 до 85 мас.% оксида алюминия и от 15 до 25 мас.% диоксида кремния, имеющего вторую величину коэффициента излучения по меньшей мере на часть функционального покрытия для создания пакета покрытий, имеющего величину коэффициента излучения больше величины коэффициента излучения функционального покрытия.
10. Способ изготовления подложки с покрытием, отличающийся тем, что содержит следующие стадии: получение подложки, имеющей функциональный слой с первой величиной коэффициента излучения, нанесение материала защитного покрытия, содержащего от 86 до 90 мас.% оксида алюминия и от 10 до 14 мас.% диоксида кремния, имеющего вторую величину коэффициента излучения по меньшей мере на часть функционального покрытия для создания пакета покрытий, имеющего величину коэффициента излучения больше величины коэффициента излучения функционального покрытия.
РИСУНКИ
|
|