|
|
(21), (22) Заявка: 2005108602/12, 24.09.2003
(24) Дата начала отсчета срока действия патента:
24.09.2003
(30) Конвенционный приоритет:
27.09.2002 (пп.1-14) JP 2002-283159
(43) Дата публикации заявки: 20.08.2005
(46) Опубликовано: 10.11.2006
(56) Список документов, цитированных в отчете о поиске:
JP 6263273 А, 20.09.1994. US 5116038 A, 26.05.1992. US 5240239 А, 31.08.1993. US 4667244 А, 19.05.1987. US 5624109 A, 29.04.1997. SU 1070103 А, 30.01.1984. SU 1668262 A, 07.08.1991.
(85) Дата перевода заявки PCT на национальную фазу:
25.03.2005
(86) Заявка PCT:
IB 03/04129 (24.09.2003)
(87) Публикация PCT:
WO 2004/028935 (08.04.2004)
Адрес для переписки:
129010, Москва, ул. Б.Спасская, 25, стр.3, ООО “Юридическая фирма Городисский и Партнеры”, пат.пов. С.А.Дорофееву
|
(72) Автор(ы):
ЦУНЕМАЦУ Синитиро (JP)
(73) Патентообладатель(и):
МАЦУСИТА ЭЛЕКТРИК ИНДАСТРИАЛ КО., ЛТД. (JP)
|
(54) ДИСКРЕТНОЕ БУМАГОПОДАЮЩЕЕ УСТРОЙСТВО (ВАРИАНТЫ)
(57) Реферат:
Изобретение относится к устройству для подачи бумаги в факсах, принтерах, копировальных машинах и т.д. Дискретное бумагоподающее устройство включает секцию механизма снижения скорости для передачи вращения приводного двигателя разделительному валику после снижения скорости вращения, дисковый элемент, на котором образованы канавки, рычажный элемент, выполненный сбоку канавок дискового элемента, и штифт скольжения, расположенный на рычажном элементе, выступающий и скользящий по канавкам посредством вращения дискового элемента. Секция механизма снижения скорости включает центральное зубчатое колесо, зубчатое колесо с зубцами на внутренней поверхности и планетарные зубчатые колеса. Дисковый элемент расположен на одном конце вала вращения разделительного валика и прикреплен к зубчатой секции, имеющей зубчатое колесо с зубцами на внутренней поверхности. Рычажный элемент расположен с возможностью скольжения в радиальном направлении дискового элемента. Вращение рычажного элемента регулируется вращением элемента остановки вращения. Эта конструкция позволяет предотвращать искажения и удлинения печатываемого изображения, уменьшая разность периферийных скоростей. Даже когда разность периферийных скоростей мала, может быть обеспечен заданный интервал между листами документа, которые перемещают последовательно. 2 н. и 12 з.п. ф-лы, 14 ил.
Настоящее изобретение относится к дискретному бумагоподающему устройству для использования в факсах, принтерах, копировальных машинах и т.д., в котором два или больше листа документа или копировальной бумаги могут быть дискретно перемещены один за другим.
В последние годы дискретные бумагоподающие устройства используются в факсах, принтерах, копировальных машинах и т.д. для того, чтобы дискретно перемещать два или более листов документа или копировальной бумаги один за другим. В таком дискретном бумагоподающем устройстве необходимо определять задний конец документа датчиком и т.п., расположенным в устройстве для определения окончания перемещения листа документа. Для этой цели необходимо, чтобы устройство могло распознавать, что считывание листа документа было закончено. Таким образом, необходимо устанавливать интервал между каждым из листов документа, подаваемых последовательно. Чтобы устанавливать интервал между каждым листом, можно использовать различные конфигурации, такие как принудительная установка интервалов при подаче, посредством использования реверсивного валика, электромагнитной муфты или соленоида. Особенно, для многочисленных разработанных дискретных бумагоподающих устройств, интервалы документа создаются путем создания разности между периферийными скоростями вращения передающего валика и разделительного валика и вращения передающего валика со скоростью на 10-30% выше, чем скорость разделительного валика.
Фиг.14 представляет собой вид в перспективе основной части примера обычного дискретного бумагоподающего устройства. Обычное дискретное бумагоподающее устройство 61 включает в себя разделительный валик 62, передающий валик 63, разделительную пластину 64, зубчатое колесо 65 разделительного валика, элемент 66 задержки, пружину 67 односторонней муфты, зубчатое колесо 68 передающего валика, считывающее устройство 69 и стыковой элемент 69А.
Описание действия обычного дискретного бумагоподающего устройства 61, имеющего вышеописанную конструкцию, будет дано со ссылкой на чертеж.
Зубчатое колесо 65 разделительного валика и вал 62А вращения передают усилие приводного двигателя (не показан) к разделительному валику 62. Разделительный валик 62 вращается посредством этого усилия и перемещает документ 80 к считывающему устройству 69 и передающему валику 63. В течение этого процесса документ 80 дискретно подается один за одним разделительной пластиной 64, прижатой к разделительному валику 62.
Зубчатое колесо 68 передающего валика и вал 63В вращения передают усилие приводного двигателя (не показан) к передающему валику 63. Передающий валик 63 вращается посредством этого усилия. Здесь устройство имеет такую конструкцию, что передающий валик 63 вращается с периферийной скоростью, которая на 10-30% больше скорости разделительного валика 62. Такая конструкция реализуется посредством выбора передаточного числа двух или более передающих зубчатых колес (не показаны), которые передают усилие приводного двигателя. Эта разность периферийных скоростей создает временную разность между временем захвата и передачи документа 80 передающим валиком 63 и временем, когда следующий лист документа захватывается разделительным валиком 62 и перемещается к передающему валику 63 и захватывается им. Эта временная разность создает интервал между двумя последовательно перемещаемыми листами документа.
Пружина 67 односторонней муфты расположена в части, где вал 62А вращения разделительного валика 62 и зубчатое колесо 65 разделительного валика соединены для поглощения разности периферийных скоростей между разделительным валиком 62 и передающим валиком 63. Кроме того, элемент 66 задержки расположен в части, где соединяются вал 62А вращения разделительного валика 62 и зубчатое колесо 65 разделительного валика. То есть вал 62А вращения и зубчатое колесо 65 разделительного валика соединены с зазором. Благодаря этой конструкции, момент захвата документа разделительным валиком 63 задерживается, тем самым вызывая дополнительное увеличение интервала листов документа.
В таком дискретном бумагоподающем устройстве 61 имеется один единственный передающий валик 63, а считывающее устройство 69 расположено между разделительным валиком 62 и передающим валиком 63. Это делается для уменьшения размера и производственных расходов. При такой конструкции документ 80, который захвачен разделительным валиком 62 и перемещен, захвачен передающим валиком 63 и начато считывание документа 80 считывающим устройством 69. Когда документ 80 захвачен передающим валиком 63, документ 80 перемещается из этого положения с периферийной скоростью передающего валика 63. Затем скорость перемещения документа 80 изменяется из-за разности периферийных скоростей разделительного валика 62 и передающего валика 63. Соответственно, создается искажение и удлинение изображения, считываемого с документа 80 считывающим устройством 69 в положении, где меняется скорость перемещения. Для того чтобы избежать ситуации, в дискретном бумагоподающем устройстве 61 разность периферийных скоростей между разделительным валиком 62 и передающим валиком 63 устанавливается такой, чтобы быть насколько возможно малой для минимизации искажения и удлинения считываемых изображений так, чтобы они не были видны. Кроме того, с целью уменьшения искажения и удлинения считываемых изображений из-за разности периферийных скоростей между разделительным валиком 62 и передающим валиком 63 передающий валик 63 расположен на сколько можно ближе к считывающему устройству 69, прижимаясь к стыковому элементу 69А.
Также, другой пример обычного дискретного бумагоподающего устройства, раскрытый в выложенной заявки Японии №Н6-263273, включает в себя центральное зубчатое колесо, планетарный рычаг и планетарное зубчатое колесо, вал планетарного зубчатого колеса и прижимную пружину. Устройство также включает в себя кулачковый механизм с фиксированным диском для поглощения усилия прижатия прижимной пружины посредством планетарного зубчатого колеса и в то же самое время обеспечения вращения и поворота планетарного зубчатого колеса.
Однако обычные дискретные бумагоподающие устройства, описанные выше, имеют следующие недостатки.
(1) Даже когда передающий валик 63 расположен вблизи считывающего устройства 69, как описано выше, происходит искажение и удлинение считываемых изображений в переднем конце документа 80, делая переданный документ трудночитаемым или портя его.
(2) Есть предел в установке разности периферийных скоростей, поскольку достаточный интервал между листами документа не может быть получен, когда разность периферийных скоростей установлена слишком маленькой. Если должен быть установлен достаточный интервал документа, неизбежно возникновение искажения и удлинения считываемого изображения документа.
(3) Если считывающее устройство является высококачественным, возможно считывание документа при высокой скорости посредством увеличения скорости перемещения. Здесь разность периферийных скоростей должна быть мала, поскольку вход документа под передающий валик 63 не может быть осуществлен плавно. Однако, когда разность периферийных скоростей установлена слишком малой, не может быть получен заданный интервал документа.
Согласно одному объекту настоящего изобретения создано дискретное бумагоподающее устройство, содержащее разделительный валик для отделения одного листа бумаги от множества загруженных листов бумаги; передающий валик, установленный в направлении перемещения упомянутого листа бумаги упомянутым разделительным валиком и приводимый во вращение с заданной разностью периферийных скоростей относительно упомянутого разделительного валика; центральное зубчатое колесо; кольцеобразную зубчатую секцию, установленную коаксиально с упомянутым центральным зубчатым колесом и имеющую зубчатое колесо с зубцами на внутренней поверхности на внутренней периферийной поверхности; опорную секцию планетарного зубчатого колеса, расположенную на концевой части вала вращения упомянутого разделительного валика; планетарное зубчатое колесо, установленное на упомянутой опорной секции планетарного зубчатого колеса и входящее в зацепление с упомянутым центральным зубчатым колесом и упомянутым зубчатым колесом с зубцами на внутренней поверхности; дисковый элемент, прикрепленный к упомянутой зубчатой секции и имеющий канавку, образованную на стороне, противоположной стороне, к которой прикреплена упомянутая зубчатая секция; рычажный элемент, установленный на боковой стороне упомянутой канавки упомянутого дискового элемента с возможностью скольжения в радиальном направлении упомянутого дискового элемента; и штифт скольжения, расположенный на упомянутом рычажном элементе таким образом, чтобы он выступал и скользил вдоль упомянутых канавок упомянутого дискового элемента посредством вращения упомянутого дискового элемента.
Предпочтительно, дискретное бумагоподающее устройство дополнительно содержит считывающее устройство для считывания содержания упомянутого листа бумаги и установленное между упомянутым разделительным валиком и упомянутым передающим валиком.
Преимущественно, упомянутый дисковый элемент включает в себя секцию зацепления на конце упомянутой канавки для зацепления упомянутым штифтом скольжения.
Предпочтительно, дискретное бумагоподающее устройство дополнительно содержит секцию остановки вращения для регулировки вращения упомянутого рычажного элемента в заданном направлении.
Наиболее предпочтительно, дискретное бумагоподающее устройство дополнительно содержит упорный элемент, поджатый к периферии упомянутого дискового элемента; и упругий элемент, один конец которого опирается на упомянутый упорный элемент, и другой конец опирается на упомянутую секцию остановки вращения для поджатия упомянутого упорного элемента к наружному краю упомянутого дискового элемента, для того чтобы направить упомянутый рычажный элемент в направлении от упомянутого дискового элемента.
Преимущественно, упомянутый дисковый элемент в качестве канавки имеет канавку зацепления с секцией зацепления для зацепления упомянутого штифта скольжения; канавку скольжения для разности периферийных скоростей, расположенную последовательно с упомянутой канавкой зацепления со стороны периферии упомянутого дискового элемента вдоль периферии упомянутого дискового элемента; и канавку скольжения для интервала документа, расположенную последовательно с упомянутой канавкой скольжения для разности периферийных скоростей к боковой стороне упомянутой канавки зацепления и расположенную так, что она проходит от упомянутой канавки скольжения для разности периферийных скоростей к периферии.
При этом упомянутый дисковый элемент может иметь множество упомянутых канавок зацепления, упомянутых канавок скольжения для разности периферийных скоростей и упомянутых канавок скольжения для интервала документа на равных интервалах симметрично относительно центра упомянутого дискового элемента, и каждая из упомянутых канавок скольжения для интервала документа проходит в направлении периферии упомянутого дискового элемента и соединяется с каждой из соседних упомянутых канавок зацепления.
Предпочтительно, множество упомянутых секций зацепления расположено на упомянутом дисковом элементе симметрично относительно центра вращения упомянутого дискового элемента.
Дискретное бумагоподающее устройство может дополнительно содержать приводной двигатель для вращения упомянутого центрального зубчатого колеса.
Преимущественно, дискретное бумагоподающее устройство дополнительно содержит секцию загрузки бумаги для подачи упомянутых листов бумаги упомянутому разделительному валику.
Согласно другому объекту настоящего изобретения создано дискретное бумагоподающее устройство, содержащее разделительный валик для отделения листа бумаги от множества загруженных листов бумаги; передающий валик, установленный в направлении передачи упомянутого листа бумаги упомянутым разделительным валиком и приводимый во вращение с заданной разностью периферийных скоростей относительно упомянутого разделительного валика; центральное зубчатое колесо; кольцеобразную зубчатую секцию, установленную коаксиально с упомянутым центральным зубчатым колесом и имеющую зубчатое колесо с зубцами на внутренней поверхности на внутренней периферийной поверхности; опорную секцию планетарного зубчатого колеса, расположенную на концевой части вала вращения упомянутого разделительного валика; планетарное зубчатое колесо, установленное на упомянутой опорной секции планетарного зубчатого колеса и входящее в зацепление с упомянутым центральным зубчатым колесом и упомянутым зубчатым колесом с зубцами на внутренней поверхности; дисковый элемент, прикрепленный к упомянутой зубчатой секции и имеющий канавку, образованную на стороне, противоположной стороне, к которой прикреплена упомянутая зубчатая секция; рычажный элемент, установленный на боковой стороне упомянутой канавки упомянутого дискового элемента с возможностью скольжения в радиальном направлении упомянутого дискового элемента; и штифт скольжения, расположенный на упомянутом рычажном элементе таким образом, чтобы он выступал и скользил вдоль упомянутой канавки упомянутого дискового элемента посредством вращения упомянутого дискового элемента; в котором когда упомянутый лист бумаги захвачен как упомянутым разделительным валиком, так и упомянутым передающим валиком, упомянутый дисковый элемент вращается посредством разности периферийных скоростей между упомянутым разделительным валиком и упомянутым передающим валиком, и разность периферийных скоростей между упомянутым разделительным валиком и упомянутым передающим валиком поглощается посредством перемещения упомянутого штифта скольжения в упомянутых канавках; и когда упомянутый лист бумаги сходит с упомянутого разделительного валика, упомянутый дисковый элемент вращается в обратном направлении, в то время как упомянутый штифт скольжения двигается в обратном направлении в упомянутой канавке, таким образом прерывая передачу приводного усилия от упомянутого центрального зубчатого колеса к упомянутому разделительному валику, до тех пор, пока упомянутый штифт скольжения находится в зацеплении.
Предпочтительно, упомянутый дисковый элемент включает секцию зацепления на конце упомянутой канавки для зацепления с упомянутым штифтом скольжения.
При этом дискретное бумагоподающее устройство может дополнительно содержать секцию остановки вращения для регулирования вращения упомянутого рычажного элемента в заданном направлении; в котором когда упомянутый лист бумаги захвачен только упомянутым разделительным валиком, приводное усилие от упомянутого центрального зубчатого колеса передается к упомянутому разделительному валику через упомянутую опорную секцию планетарного зубчатого колеса посредством остановки вращения упомянутой зубчатой секции упомянутой секцией остановки вращения и упомянутым рычажным элементом с упомянутым штифтом скольжения.
Преимущественно, дискретное бумагоподающее устройство дополнительно содержит упорный элемент, поджимаемым к периферии упомянутого дискового элемента; и упругий элемент, один конец которого опирается на упомянутый упорный элемент, и другой конец опирается на упомянутую секцию остановки вращения для поджатия упомянутого упорного элемента к наружному краю упомянутого дискового элемента, для того чтобы направить упомянутый рычажный элемент в направлении от упомянутого дискового элемента.
Далее, настоящее изобретение будет описано более подробно со ссылкой на прилагаемые чертежи, на которых:
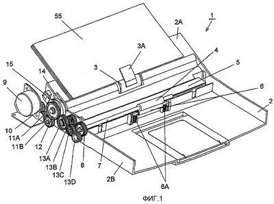
Фиг.1 – вид в перспективе дискретного бумагоподающего устройства в примере варианта воплощения настоящего изобретения.
Фиг.2А – вид в перспективе с разнесением деталей основной части дискретного бумагоподающего устройства с фиг.1.
Фиг.2В – вид в перспективе дискового элемента с фиг.2А.
Фиг.3 – вид в перспективе сборки основной части дискретного бумагоподающего устройства с фиг.1.
Фиг.4 – вид спереди секции с канавками, образованной на дисковом элементе дискретного бумагоподающего устройства с фиг.1.
Фиг.5А – иллюстрация действия дискового элемента и рычажного элемента дискретного бумагоподающего устройства с фиг.1 при готовности к действию.
Фиг.5В – иллюстрация действия разделительного и передающего валиков дискретного бумагоподающего устройства с фиг.1 при готовности к действию.
Фиг.5С – иллюстрация действия центрального зубчатого колеса и планетарных зубчатых колес дискретного бумагоподающего устройства с фиг.1 при готовности к действию.
Фиг.6А – иллюстрация действия дискового элемента и рычажного элемента дискретного бумагоподающего устройства с фиг.1 при предподаче и подаче документа.
Фиг.6В – иллюстрация действия разделительного и передающего валиков дискретного бумагоподающего устройства с фиг.1 при предподаче и подаче документа.
Фиг.6С – иллюстрация действия центрального зубчатого колеса и планетарных зубчатых колес дискретного бумагоподающего устройства с фиг.1 при предподаче и подаче документа.
Фиг.7А – иллюстрация действия дискового элемента и рычажного элемента дискретного бумагоподающего устройства с фиг.1 при чтении документа.
Фиг.7В – иллюстрация действия разделительного и передающего валиков дискретного бумагоподающего устройства с фиг.1 при чтении документа.
Фиг.7С – иллюстрация действия центрального зубчатого колеса и планетарных зубчатых колес дискретного бумагоподающего устройства с фиг.1 при чтении документа.
Фиг.8 и 9 – иллюстрации действия дискового элемента и рычажного элемента дискретного бумагоподающего устройства с фиг.1 при чтении документа.
Фиг.10А – иллюстрация действия дискового элемента и рычажного элемента дискретного бумагоподающего устройства с фиг.1 при чтении документа.
Фиг.10В – иллюстрация действия разделительного и передающего валиков дискретного бумагоподающего устройства с фиг.1 при чтении документа.
Фиг.10С – иллюстрация действия центрального зубчатого колеса и планетарных зубчатых колес дискретного бумагоподающего устройства с фиг.1 при чтении документа.
Фиг.11А – иллюстрация действия дискового элемента и рычажного элемента дискретного бумагоподающего устройства с фиг.1 при повторном включении подачи бумаги.
Фиг.11В – иллюстрация действия разделительного и передающего валиков дискретного бумагоподающего устройства с фиг.1 при повторном включении подачи бумаги.
Фиг.12А – иллюстрация действия дискового элемента и рычажного элемента дискретного бумагоподающего устройства с фиг.1 при передаче длинного документа.
Фиг.12В – иллюстрация действия центрального зубчатого колеса и планетарных зубчатых колес дискретного бумагоподающего устройства с фиг.1 при передаче длинного документа.
Фиг.13 – иллюстрация части напечатанной бумаги, когда наклонная линия напечатана на типографской бумаге путем изменения разности периферийных скоростей между разделительным и передающим валиками до различных величин в дискретном бумагоподающем устройстве с фиг.1.
Фиг.14 – схематический вид в перспективе основной части примера обычного дискретного бумагоподающего устройства.
Фиг.1 представляет собой вид в перспективе дискретного бумагоподающего устройства в примере воплощения изобретения. Фиг.2А представляет собой вид в перспективе с разнесением деталей основной части дискретного бумагоподающего устройства. Фиг.2В представляет собой вид в перспективе дискового элемента дискретного бумагоподающего устройства. Фиг.3 представляет собой вид в перспективе основной части в сборе дискретного бумагоподающего устройства. Фиг.4 представляет собой вид спереди секции с канавками, образованной на дисковом элементе дискретного бумагоподающего устройства.
На фиг.1, дискретное бумагоподающее устройство 1 включает в себя секцию 2А загрузки бумаги (далее – секция загрузки), расположенную на задней верхней поверхности кожуха 2, имеющего боковую пластину 2В. Разделительный валик 3 расположен у секции 2А загрузки на боковой стороне по направлению передачи документа. Разделительная пластина 3А расположена сверху разделительного валика 3, соприкасаясь с ним, и отделяет одну страницу от двух или более страниц документа. Передающий валик 4 расположен на заданном расстоянии на боковой стороне по направлению передачи документа разделительным валиком 3. Считывающее устройство 5 расположено между разделительным валиком 3 и передающим валиком 4. Считывающее устройство 5 включает в себя КДИ (контактный датчик изображения) и т.д.
Осевой валик 6 расположен под передающим валиком 4 в контакте с ним. Поджимающая пружина 6А поджимает осевой валик 6 к передающему валику 4. Зубчатое колесо 8 передающего валика расположено на одном конце вала 7 вращения передающего валика 4. Приводной двигатель 9 вращает разделительный валик 3 и передающий валик 4 посредством передающих зубчатых колес 11А, 11В, 13А, 13В, 13С, 13D, зубчатого колеса 12 разделительного валика и зубчатого колеса 8 передающего валика с заданной разностью периферийных скоростей. Зубчатое колесо 10 приводного двигателя расположено на валу двигателя приводного двигателя 9.
Передающие зубчатые колеса 11А, 11В передают вращение зубчатого колеса 10 приводного двигателя зубчатому колесу 12 разделительного валика. Зубчатое колесо 12 разделительного валика зацепляется с передающим зубчатым колесом 11В. Передающие зубчатые колеса 13А, 13В, 13С, 13D расположены на боковой пластине 2В, зацепляясь друг с другом, и передают вращение зубчатого колеса 12 разделительного валика зубчатому колесу 8 передающего валика. Дисковый элемент 14 расположен на одном конце вала вращения разделительного валика 3 вместе с зубчатым колесом 12 разделительного валика. Рычажный элемент 15 установлен так, чтобы соединяться с дисковым элементом 14.
На фиг.2А, 2В и 3, дисковый элемент 21А прикреплен к одному концу вала 21 вращения разделительного валика 3. Опорные секции 22А, 22В планетарного зубчатого колеса расположены по вертикали симметрично относительно центра дискового элемента 21А, то есть оси вала вращения разделительного валика 3. Планетарные зубчатые колеса 23А, 23В опираются соответственно на опорные секции 22А, 22В планетарных зубчатых колес. Зубчатая секция 24 прикреплена к боковой стороне дискового элемента 14, которая обращена к разделительному валику 3. Зубчатое колесо 25 с зубцами на внутренней поверхности образовано на внутренней периферии зубчатой секции 24. В центре дискового элемента 14 выполнено отверстие 26 для введения. Секция с канавками 27 образована на боковой стороне дискового элемента 14 напротив зубчатой секции 24. Цилиндрическая секция 28 вала с отверстием 26 для введения в нее выступает из боковой стороны секции 27 с канавками дискового элемента 14.
Кольцевая часть 29 рычажного элемента 15 посажена на секцию 28 вала. Отверстие 30 для введения кольцевой части 29 имеет зазор в заданном направлении и имеет приблизительно эллиптическую форму. Штифт 31 скольжения выступает из кольцевой части 29 рычажного элемента 15, введен в секцию 27 с канавками и скользит. Секция 32 остановки вращения прикреплена к периферии кольцевой части 29 и зацепляет элемент 51 зацепления, раскрытый в дальнейшем описании к фиг.5А. Канавка 33 скольжения образована на секции 32 остановки вращения. Упорный элемент 35 прижат к периферии дискового элемента 14. Элемент 35А скольжения выполнен за одно целое с упорным элементом 35. Он входит в канавку 33 скольжения и скользит.
Опорная часть 34 упругого элемента расположена на конце секции 32 остановки вращения. Один конец упругого элемента 36 прикреплен к упорному элементу 35, а другой конец опирается на опорную часть 34 упругого элемента. Упругий элемент 36 прижимает упорный элемент 35 к периферии дискового элемента 14. Упругий элемент 36 представляет собой, например, цилиндрическую пружину. Центральное зубчатое колесо 37, выполненное за одно целое с зубчатым колесом 12 разделительного валика, введено через отверстие 26 для введения и расположено внутри зубчатого колеса 25 с зубцами на внутренней поверхности, зацепляя при этом планетарные зубчатые колеса 23А, 23В.
Отверстие 37А для введения образовано в центрах зубчатого колеса 12 разделительного валика и центрального зубчатого колеса 37. Механизм 40 снижения скорости состоит из центрального зубчатого колеса 37, планетарных зубчатых колес 23А, 23В и зубчатого колеса 25 с зубцами на внутренней поверхности. Вал 38 введен в отверстие 37А для введения и отверстие 26 для введения и удерживает с возможностью вращения зубчатое колесо 12 разделительного валика, центральное зубчатое колесо 37 и дисковый элемент 14. Отверстие 39 для закрепления вала образовано на валу 21 вращения, причем один конец вала 38 введен и закреплен в нем.
На фиг.4 канавки 41А, 41В, 41С зацепления (далее канавки) расположены симметрично относительно центра дискового элемента 14. Секции 42А, 42В, 42С зацепления расположены в соответствующих канавках 41А, 41В, 41С зацепления. Канавки 43А, 43В, 43С скольжения для разности периферийных скоростей (далее – канавки) расположены последовательно с канавками 41А, 41В, 41С, соответственно, со стороны периферии дискового элемента диска 14 и по периферии дискового элемента 14. Канавки 44А, 44В, 44С скольжения для интервала документов (далее – канавки) проходят от соответствующих канавок 43А, 43В, 43С на дисковом элементе 14 в направлении по часовой стрелке. Здесь канавки 41А, 41В, 41С, канавки 43А, 43В, 43С и канавки 44А, 44В, 44С расположены на дисковом элементе 14 на равных интервалах, симметрично относительно центра дискового элемента диска 14. Канавки 41А, 41В, 41С и секции 42А, 42В, 43С зацепления, соответственно, выполнены с угловым интервалом 120 градусов друг относительно друга. Точно также канавки 44А, 44В, 44С проходят в направлении по часовой стрелке на дисковом элементе 14 и, соответственно, соединены с канавками 41В, 41С, 41А. Секция регулирования приводной мощности включает в себя механизм 40 снижения скорости, дисковый элемент 14, рычажный элемент 15, включающий в себя секцию 32 остановки вращения, и штифт 31 скольжения.
Со ссылкой на чертежи будет дано описание данного примера воплощения работы дискретного бумагоподающего устройства с конструкцией, описанной выше. Будет дано описание работы дискретного бумагоподающего устройства 1 для каждого из следующих состояний:
(1) готовность к действию: состояние перед подачей документа, в котором приводной двигатель остановлен.
(2) предподача и подача документа: состояние, в котором приводной двигатель приведен в действие, страница документа захвачена разделительным валиком, до момента захвата передающим валиком.
(3) чтение документа: состояние, в котором страница документа захватывается как разделительным, так и передающим валиками.
(4) чтение документа (после выхода с разделительного валика): состояние, в котором страница документа сходит с разделительного валика и захватывается передающим валиком.
(5) перезапуск подачи бумаги: состояние, в котором страница документа передана и сходит с передающего валика.
(1) готовность к действию:
Фиг.5А показывает действие дискового элемента 14 и рычажного элемента 15. Фиг.5В показывает действие разделительного валика 3 и передающего валика 4. Фиг.5С показывает действие центрального зубчатого колеса 37, зубчатого колеса 25 с зубцами на внутренней поверхности и планетарных зубчатых колес 23А, 23В в механизме 40 снижения скорости. Здесь фиг.5А-5С представляют собой схематические виды сбоку дискретного бумагоподающего устройства, если смотреть с левой стороны устройства.
Элемент зацепления 51, расположенный на боковой пластине 2В корпуса 2, закреплен в положении, в котором секция 32 остановки вращения рычажного элемента 15 может входить в контакт. Вращение рычажного элемента 15 в заданном направлении (вращение против часовой стрелки) регулируется посредством упора секции 32 остановки вращения в элемент 51 зацепления.
Как показано на фиг.5А, рычажный элемент 15 состоит из кольцевой части 29 и секции 32 остановки вращения. Кольцевая часть 29 имеет приблизительно эллиптическую форму. Отверстие 30 для введения внутри кольцевой секции 29 имеет зазор со стороны секции 32 остановки вращения и с противоположной стороны. Кольцевая часть 29 посажена на валу 28 дискового элемента 14. Точно также секция 32 остановки вращения соприкасается и взаимодействует с элементом 51 зацепления, имеющимся в направлении против часовой стрелки. Это позволяет рычажному элементу 15 скользить в радиальном направлении дискового элемента 14. Также элемент 35А скольжения упорного элемента 35 установлен с возможностью скольжения в канавке скольжения секции 32 остановки вращения, а упорный элемент 35 установлен с возможностью скольжения на боковой стороне дискового элемента 14. Кроме того, упругий элемент 36 расположен в опорной части 34 упругого элемента секции 32 остановки вращения, и упругий элемент 36 прижимает упорный элемент 35 к периферии дискового элемента 14. При таком соединении рычажный элемент 15 постоянно прижимается в радиальном направлении наружу дискового элемента 14, как показано стрелкой.
При готовности к действию штифт 31 скольжения секции 32 остановки вращения расположен на канавке 41В дискового элемента 14. Кроме того, штифт 31 скольжения поджимается в направлении наружу дискового элемента 14 вместе с рычажным элементом 15 и взаимодействует с секцией 42В зацепления. Более того, секция 32 остановки вращения взаимодействует с элементом 51 зацепления. При такой конструкции, даже если к дисковому элементу приложено усилие против часовой стрелки, дисковый элемент 14 не будет вращаться.
Также при готовности к действию приводной двигатель 9 не находится в движении, и разделительный валик 3, передающий валик 4 и механизм 40 снижения скорости находятся в положениях, показанных на фиг.5В, 5С.
(2) Предподача и подача документов:
Фиг.6А показывает действие дискового элемента 14 и рычажного элемента 15. Фиг.6В показывает действие разделительного валика 3 и передающего валика 4. Фиг.6С показывает действие центрального зубчатого колеса 37, зубчатого колеса 25 с зубцами на внутренней поверхности и планетарные зубчатые колеса 23А, 23В в механизме 40 снижения скорости.
Как показано на фиг.6А, штифт 31 скольжения на рычажном элементе 15 находится в канавке 41В дискового элемента 14 и соприкасается с секцией 42В зацепления. Также, поскольку секция 32 остановки вращения рычажного элемента 15 находится в зацеплении с элементом 51 зацепления, дисковый элемент 14 не будет вращаться, даже когда поворотное усилие, направленное против часовой стрелки, приложено к дисковому элементу 14, как показано стрелкой.
Когда приводной двигатель 9 приведен в действие в состоянии готовности, показанном на фиг.5А-5С, зубчатое колесо 12 разделительного валика повернуто посредством передающих зубчатых колес 11А, 11В. Когда зубчатое колесо 12 разделительного валика повернуто, центральное зубчатое колесо 37, закрепленное на зубчатом колесе 12 разделяющего валика, повернуто, и каждое из планетарных зубчатых колес 23А, 23В, которые находятся в зацеплении с центральным зубчатым колесом 37 сверху и снизу, повернуто. И, поскольку планетарные зубчатые колеса 23А, 23В находятся в зацеплении с зубчатым колесом 25 с зубцами на внутренней поверхности, поворотное усилие приложено к зубчатой секции 24 по направлению стрелки. Однако, поскольку вращение против часовой стрелки дискового элемента 14, который представляет собой единое целое с зубчатой секцией 24, тормозится штифтом 31 скольжения, каждое из планетарных зубчатых колес 23А, 23В движется вокруг центрального зубчатого колеса 37 при его вращении на своей собственной оси. При этом вал 21 вращения разделительного валика 3 вращается посредством опорных секций 22А, 22В планетарных зубчатых колес, тем самым вращая разделительный валик 3.
Сначала, когда поскольку разделительная пластина 3А находится в прямом контакте с разделительным валиком 3, сопротивление вращению разделительного валика 3 велико. Однако, когда документ 55 проходит между ними, сопротивление вращению разделительного валика 3 несколько уменьшается. Вращением разделительного валика 3 документ 55 перемещен к считывающему устройству 5 и передающему валику 4, как показано на фиг.6В.
Тем временем механизм 40 снижения скорости установлен таким образом, что при каждом обороте зубчатого колеса 12 разделительного валика, прикрепленного к центральному зубчатому колесу 37, разделительный валик 3 поворачивается примерно на 1/4 оборота. Более точно, диаметр и число зубцов центрального зубчатого колеса 37, планетарных зубчатых колес 23А, 23В и зубчатого колеса 25 с зубцами на внутренней поверхности выбираются такими, чтобы обеспечить вышеупомянутое понижающее передаточное число.
Также вращением зубчатого колеса 12 разделительного валика зубчатое колесо 8 передающего валика вращается посредством передающих зубчатых колес 13A-13D, а передающий валик 4 и осевой валик 6, который находится в контакте с передающим валиком 4, вращаются посредством вала 7 вращения.
(3) Чтение документа:
Фиг.7А, 8 и 9 показывают действие дискового элемента 14 и рычажного элемента 15. Фиг.7В показывает действие разделительного валика 3 и передающего валика 4. Фиг.7С показывает действие центрального зубчатого колеса 37, зубчатого колеса 25 с зубцами на внутренней поверхности и планетарных зубчатых колес 23А, 23В в механизме 40 снижения скорости.
Из состояния предподачи и подачи документа, как показано на фиг.6А-фиг.6С, документ 55 дополнительно перемещается к считывающему устройству 5 разделительным валиком 3. Затем, как показано на фиг.7В, начинается чтение документа 55 считывающим устройством 5, и документ 55 далее перемещается к передающему валику 4 и захватывается передающим валиком 4. Здесь для разделительного валика 3 и передающего валика 4 устанавливается заданная разность периферийных скоростей. Поскольку периферийная скорость передающего валика 4 выше, чем периферийная скорость разделительного валика 3, документ 55, захваченный разделительным валиком 3, постепенно проталкивается к передающему валику 4. Подталкиваемая документом 55 скорость вращения разделительного валика 3 становится больше на величину разности периферийных скоростей. В результате, величина этого дополнительного вращения передается с разделительного валика 3 через вал 21 вращения, опорные секции 22А, 22В планетарных зубчатых колес, планетарные зубчатые колеса 23А, 23В и зубчатое колесо 25 с зубцами на внутренней поверхности в виде усилия, вызывающего вращение по часовой стрелке. Посредством этого зубчатая секция 24 постепенно создает вращение по часовой стрелке, как показано стрелкой на фиг.7С. То есть разность периферийных скоростей между разделительным валиком 3 и передающим валиком 4 компенсируется.
Когда зубчатая секция 24 совершает вращение по часовой стрелке, дисковый элемент 14, прикрепленный к зубчатой секции 24, также совершает вращение по часовой стрелке, как показано на фиг.7А. В это же время штифт 31 скольжения выходит из зацепления с секцией 42В зацепления, рычажный элемент 15 перемещается от дискового элемента 14 под действием усилия от упругого элемента 36, и штифт 31 скольжения передвигается в направлении к канавке 43В.
Когда дисковый элемент 14 совершает вращение по часовой стрелке, к рычажному элементу 15 прикладывается некоторое усилие для вращения по часовой стрелке благодаря небольшому трению между упорным элементом 35 и дисковым элементом 14. Однако посредством собственного веса секции 32 остановки вращения, являющейся единым целым с рычажным элементом 15, и опорной секции 34 упругого элемента рычажный элемент 15 не будет вращаться вслед за дисковым элементом 14 и всегда будет оставаться в контакте с элементом 51 зацепления. В случае недостаточного собственного веса соответствующий груз может быть расположен на рычажном элементе 15. Посредством этого, как только дисковый элемент 14 совершает вращение по часовой стрелке, штифт 31 скольжения рычажного элемента 15 выходит из зацепления с секцией 42В зацепления.
Когда зубчатая секция 24 и дисковый элемент 14 продолжают вращение по часовой стрелке, штифт 31 скольжения передвигается из канавки 41В дискового элемента 14 в канавку 43В на наружной боковой поверхности, как показано на фиг.8. Когда дисковый элемент 14 совершает вращение по часовой стрелке еще дальше, штифт 31 скольжения передвигается по канавке 43В, пока он не достигнет самой внутренней части канавки 43В, как показано на фиг.9. А именно, штифт 31 скольжения перемещается против часовой стрелки относительно дискового элемента 14 по канавке 43В. Длина канавки 43В выполняется такой, чтобы штифт 31 скольжения мог передвигаться в самую внутреннюю часть, как показано на фиг.9, даже когда длина документа 55 в направлении перемещения составляет 356 мм, то есть является наибольшей установленной длиной документа среди в основном учитываемых размеров документов.
(4) Чтение документа (после того, как он сходит с разделительного валика):
Фиг.10А показывает действие дискового элемента 14 и рычажного элемента 15. Фиг.10В показывает действие разделительного валика 3 и передающего валика 4. Фиг.10С показывает действие центрального зубчатого колеса 37, зубчатого колеса 25 с зубцами на внутренней поверхности и планетарных зубчатых колес 23А, 23В в механизме 40 снижения скорости.
Как показано на фиг.9, штифт 31 скольжения передвигается по канавке 43В, пока он не достигнет самой внутренней части канавки 43В. После того, как документ 55 сходит с разделительного валика 3, документ 55 захватывается только передающим валиком 4, как показано на фиг.10В, и далее передается передающим валиком 4 в направлении перемещения.
Когда документ 55 сходит с разделительного валика 3, разделительная пластина 3А входит в непосредственный контакт с разделительным валиком 3, тем самым увеличивая сопротивление вращению и останавливая вращение разделительного валика 3. Когда вращение разделительного валика 3 прекращается, останавливается и вращение опорных секций 22А, 22В планетарных зубчатых колес. Затем вращение центрального зубчатого колеса 37 передается на зубчатое колесо 25 с зубцами на внутренней поверхности посредством планетарных зубчатых колес 23А, 23В, как показано на фиг.10С. При этом как зубчатая секция 24, так и дисковый элемент 14 вращаются в направлении против часовой стрелки.
Когда документ 55 сходит с разделительного валика 3, а дисковый элемент 14 совершает вращение против часовой стрелки, штифт 31 скольжения перемещается из самой внутренней части, показанной на фиг.9, по канавке 43В. Далее он перемещается по канавке 44В, как показано на фиг.10А. В это время передача приводного усилия на разделительный ролик 3 прерывается.
Таким образом, в то время, когда штифт 31 скольжения перемещается по канавке 44В от самой внутренней части канавки 43В, разделительный валик 3 находится в неподвижном состоянии. Соответственно, следующая страница документа не подается. Это образует заданные интервалы между последовательно подаваемыми страницами документа 55. Длины канавок 43В и 44В определяют интервал документа.
(5) Перезапуск подачи бумаги:
Фиг.11А показывает действие дискового элемента 14 и рычажного элемента 15. Фиг.11В показывает действие разделительного валика 3 и передающего валика 4.
Как показано на фиг.10А, штифт 31 скольжения перемещается по канавке 44В, пока не достигнет переднего конца канавки 44В. Затем штифт 31 скольжения движется под действием под нажимом упругого элемента 36 к канавке 41С в направлении наружу дискового элемента 14 и зацепляет секцию 42С зацепления, как показано на фиг.11А. Также секция 32 остановки вращения рычажного элемента 15 зацепляет элемент 51 зацепления. Посредством этого вращение против часовой стрелки дискового элемента 14 прекращается.
Затем подача следующей страницы документа 55 выполняется также, как и на этапе (2) “Предподачи и подачи документа”. В течение этого периода приводной двигатель 9 работает, при этом повторяется вышеописанный цикл из (2) “Предподачи и подачи документа”, затем (3) “Чтения документа”, затем (4) “Чтения документа (после его выхода с разделительного валика)”, затем (5) “Возобновление подачи бумаги”, затем (2) “Предподачи и подачи документа”. И подача бумаги осуществляется с заданными интервалами между страницами документа 55, которые подаются так, как показано на фиг.11В. Такое повторяющееся действие может осуществляться, поскольку секция 27 с канавками и секции 42А, 42В, 42С зацепления расположены симметрично относительно точки.
В случае, если длина в направлении перемещения документа 55 больше основной длины 356 мм, даже когда штифт 31 скольжения перемещается к самой внутренней части, показанной на фиг.9, документ 55 не сходит с разделительного валика 3 и остается захваченным разделительным валиком 3. Описание этого случая приводится ниже.
Фиг.12А показывает действие дискового элемента 14 и рычажного элемента 15. Фиг.12В показывает действие центрального зубчатого колеса 37, зубчатого колеса 25 с зубцами на внутренней поверхности и планетарных зубчатых колес 23А, 23В в механизме снижения скорости 40.
Документ 55, захваченный разделительным валиком 3, понемногу проталкивается к передающему валику 4 благодаря разности периферийных скоростей между разделительным валиком 3 и передающим валиком 4, и разделительный валик 3 выполняет дополнительное вращение, соответствующее разности периферийных скоростей. Как показано на фиг.12В, величина дополнительного вращения передается от разделительного валика 3 через вал 21 вращения, опорные секции 22А, 22В планетарного зубчатого колеса, планетарные зубчатые колеса 23А, 23В и зубчатое колесо 25 с зубцами на внутренней поверхности, тем самым вызывая дополнительное вращение зубчатой секции 24 в направлении по часовой стрелке.
Когда дисковый элемент 14, выполненный за одно целое с зубчатой секцией 24, дополнительно вращается в направлении по часовой стрелке со штифтом 31 скольжения в самой внутренней части канавки 43В, как показано на фиг.9, рычажный элемент 15 вращается вместе с дисковым элементом 14, как показано на фиг.12А. Соответственно, даже когда длина в направлении перемещения документа 55 превышает 356 мм, разделительный валик 3 вращается, следуя за вращением рычажного элемента 15. Дисковый элемент 14 также вращается, не нарушая вращение разделительного валика 3. Следовательно, может передаваться даже длинный документ.
Однако в этом примере воплощения каждые тройки канавок 41А, 41В, 41С, канавок 43А, 43В, 43С и канавок 44А, 44В, 44С расположены с равными интервалами, симметрично относительно центра дискового элемента 14. Количество комплектов канавок не ограничено тремя. Канавки зацепления, канавки скольжения разности периферийных скоростей и канавки скольжения для интервала документов могут располагаться и парами, четверками или большими комбинациями.
Затем будет дано описание разности периферийных скоростей разделительного валика 3 и передающего валика 4. Фиг.13 показывает часть бумаги 56 для печати, когда наклонные линии 71-75 напечатаны на бумаге 56 для печати, подаваемой из секции 2А загрузки бумаги при изменении разности периферийных скоростей разделительного валика 3 и передающего валика 4.
Как показано на фиг.13, когда разность периферийных скоростей разделительного валика 3 и передающего валика 4 составляет 5%, получается наклонная линия 73, на которой видно любое искажение линии по сравнению с наклонной линией 72 с разностью периферийных скоростей в 2,5% и наклонной линии 71 с разностью периферийных скоростей в 0%. Наклонная линия 74 и наклонная линия 75 представлены для случаев разности периферийных скоростей в 10 и 18%, соответственно.
С другой стороны, когда разность периферийных скоростей составляет 1% или ниже, разность периферийных скоростей разделительного валика 3 и передающего валика 4 становится незначительной, и разделительный валик 3 выполняет дополнительное вращение, соответствующее разности периферийных скоростей на этапе (3) “Чтение документа”, как описано ранее. Особенно в случае, когда минимальная длина документа, который считывается, фиксирована, существует риск, что штифт 31 скольжения не сможет двигаться из канавки 41В дискового элемента 14 к стороне внешней канавки 43В прежде, чем задний конец документа сойдет с разделительного валика 3. По этой причине, предпочтительно, чтобы разность периферийных скоростей между разделительным валиком 3 и передающим валиком 4 была установлена в диапазоне от 1 до 5%, более предпочтительно в диапазоне от 2,5 до 3,5%.
Дискретное бумагоподающее устройство 1 этого варианта воплощения имеет считывающее устройство 5. Однако в случае, если бумага для печати, подлежащая подаче, является иной, чем бумага в принтере, считывающее устройство 5 не требуется.
Дискретное бумагоподающее устройство согласно настоящему изобретению сокращает расстояние в направлении перемещения бумаги путем размещения считывающего устройства между разделительным и передающим валиками. Это позволяет сократить размер и производственные расходы. Также, создавая небольшую разность периферийных скоростей между разделительным валиком и передающим валиком, можно предотвратить искажение и удлинение печатываемого изображения документа. Кроме того, даже когда разность периферийных скоростей является малой, возможно установить заданный интервал между двумя или более страницами документа, которые перемещаются последовательно. То есть, когда страница документа сходит с разделительного валика, вращение разделительного валика прекращается, и вращение центрального зубчатого колеса передается зубчатому колесу с зубцами на внутренней поверхности посредством вращения планетарных зубчатых колес. Это заставляет дисковый элемент вращаться. Разделительный валик остается в режиме ожидания до тех пор, пока не начнет вращаться и не придет в контакт со штифтом скольжения на рычажном элементе дисковый элемент. В результате следующая страница документа не подается, таким образом приводя к увеличению интервала страниц документа, подлежащих последовательной подаче. Даже когда разность периферийных скоростей между разделяющим и передающим валиками устанавливается малой, возможно установить заданный интервал между двумя или более страницами документа, которые перемещаются последовательно. Также вращение приводного двигателя может всегда быть в одном направлении, таким образом не требуя реверсирования.
Кроме того, упорный элемент расположен с возможностью скольжения на боковой стороне дискового элемента внутри элемента остановки вращения рычажного элемента. Более того, упругий элемент расположен в секции остановки вращения так, что упорный элемент поджат к периферии дискового элемента упругим элементом. При такой конфигурации рычажный элемент постоянно поджат к наружной по радиусу стороне дискового элемента, таким образом обеспечивая свободную установку положения зацепления рычажного элемента.
Также при передаче документа, который длиннее обычного документа, штифт скольжения перемещается в самую внутреннюю часть канавки скольжения для разности периферийных скоростей. Более того, поскольку зубчата секция и дисковый элемент вращаются в направлении по часовой стрелке, рычажный элемент совершает вращение по часовой стрелке отдельно от элемента зацепления. Следовательно, даже для документа с длиной большей обычной разделительный валик вращается вслед за документом. Дисковый элемент также вращается, не нарушая вращение разделительного валика. В результате можно перемещать даже длинный документ.
Также посредством расположения двух или более канавок зацепления, канавки скольжения для разности периферийных скоростей и канавки скольжения для интервала документов соответствующие длины канавки скольжения для разности периферийных скоростей и канавки скольжения для интервала документов такого дискретного бумагоподающего устройства могут быть установлены, таким образом, обеспечивая должный интервал документов.
Формула изобретения
1. Дискретное бумагоподающее устройство, содержащее разделительный валик для отделения одного листа бумаги от множества загруженных листов бумаги; передающий валик, установленный в направлении перемещения упомянутого листа бумаги упомянутым разделительным валиком и приводимый во вращение с заданной разностью периферийных скоростей относительно упомянутого разделительного валика; центральное зубчатое колесо; кольцеобразную зубчатую секцию, установленную коаксиально с упомянутым центральным зубчатым колесом и имеющую зубчатое колесо с зубцами на внутренней поверхности на внутренней периферийной поверхности; опорную секцию планетарного зубчатого колеса, расположенную на концевой части вала вращения упомянутого разделительного валика; планетарное зубчатое колесо, установленное на упомянутой опорной секции планетарного зубчатого колеса и входящее в зацепление с упомянутым центральным зубчатым колесом и упомянутым зубчатым колесом с зубцами на внутренней поверхности; дисковый элемент, прикрепленный к упомянутой зубчатой секции и имеющий канавку, образованную на стороне, противоположной стороне, к которой прикреплена упомянутая зубчатая секция; рычажный элемент, установленный на боковой стороне упомянутой канавки упомянутого дискового элемента с возможностью скольжения в радиальном направлении упомянутого дискового элемента; и штифт скольжения, расположенный на упомянутом рычажном элементе таким образом, чтобы он выступал и скользил вдоль упомянутых канавок упомянутого дискового элемента посредством вращения упомянутого дискового элемента.
2. Дискретное бумагоподающее устройство по п.1, дополнительно содержащее считывающее устройство для считывания содержания упомянутого листа бумаги и установленное между упомянутым разделительным валиком и упомянутым передающим валиком.
3. Дискретное бумагоподающее устройство по п.1, в котором упомянутый дисковый элемент включает в себя секцию зацепления на конце упомянутой канавки для зацепления упомянутым штифтом скольжения.
4. Дискретное бумагоподающее устройство по п.1, дополнительно содержащее секцию остановки вращения для регулировки вращения упомянутого рычажного элемента в заданном направлении.
5. Дискретное бумагоподающее устройство по п.4, дополнительно содержащее упорный элемент, поджатый к периферии упомянутого дискового элемента; и упругий элемент, один конец которого опирается на упомянутый упорный элемент, и другой конец опирается на упомянутую секцию остановки вращения для поджатия упомянутого упорного элемента к наружному краю упомянутого дискового элемента, для того чтобы направить упомянутый рычажный элемент в направлении от упомянутого дискового элемента.
6. Дискретное бумагоподающее устройство по п.1, в котором упомянутый дисковый элемент в качестве канавки имеет канавку зацепления с секцией зацепления для зацепления упомянутого штифта скольжения; канавку скольжения для разности периферийных скоростей, расположенную последовательно с упомянутой канавкой зацепления со стороны периферии упомянутого дискового элемента вдоль периферии упомянутого дискового элемента; и канавку скольжения для интервала документа, расположенную последовательно с упомянутой канавкой скольжения для разности периферийных скоростей к боковой стороне упомянутой канавки зацепления и расположенную так, что она проходит от упомянутой канавки скольжения для разности периферийных скоростей к периферии.
7. Дискретное бумагоподающее устройство по п.6, в котором упомянутый дисковый элемент имеет множество упомянутых канавок зацепления, упомянутых канавок скольжения для разности периферийных скоростей и упомянутых канавок скольжения для интервала документа на равных интервалах симметрично относительно центра упомянутого дискового элемента, и каждая из упомянутых канавок скольжения для интервала документа проходит в направлении периферии упомянутого дискового элемента и соединяется с каждой из соседних упомянутых канавок зацепления.
8. Дискретное бумагоподающее устройство по п.6, в котором множество упомянутых секций зацепления расположено на упомянутом дисковом элементе симметрично относительно центра вращения упомянутого дискового элемента.
9. Дискретное бумагоподающее устройство по п.1, дополнительно содержащее приводной двигатель для вращения упомянутого центрального зубчатого колеса.
10. Дискретное бумагоподающее устройство по п.1, дополнительно содержащее секцию загрузки бумаги для подачи упомянутых листов бумаги упомянутому разделительному валику.
11. Дискретное бумагоподающее устройство, содержащее разделительный валик для отделения листа бумаги от множества загруженных листов бумаги; передающий валик, установленный в направлении передачи упомянутого листа бумаги упомянутым разделительным валиком и приводимый во вращение с заданной разностью периферийных скоростей относительно упомянутого разделительного валика; центральное зубчатое колесо; кольцеобразную зубчатую секцию, установленную коаксиально с упомянутым центральным зубчатым колесом и имеющую зубчатое колесо с зубцами на внутренней поверхности на внутренней периферийной поверхности; опорную секцию планетарного зубчатого колеса, расположенную на концевой части вала вращения упомянутого разделительного валика; планетарное зубчатое колесо, установленное на упомянутой опорной секции планетарного зубчатого колеса и входящее в зацепление с упомянутым центральным зубчатым колесом и упомянутым зубчатым колесом с зубцами на внутренней поверхности; дисковый элемент, прикрепленный к упомянутой зубчатой секции и имеющий канавку, образованную на стороне, противоположной стороне, к которой прикреплена упомянутая зубчатая секция; рычажный элемент, установленный на боковой стороне упомянутой канавки упомянутого дискового элемента с возможностью скольжения в радиальном направлении упомянутого дискового элемента; и штифт скольжения, расположенный на упомянутом рычажном элементе таким образом, чтобы он выступал и скользил вдоль упомянутой канавки упомянутого дискового элемента посредством вращения упомянутого дискового элемента, в котором, когда упомянутый лист бумаги захвачен как упомянутым разделительным валиком, так и упомянутым передающим валиком, упомянутый дисковый элемент вращается посредством разности периферийных скоростей между упомянутым разделительным валиком и упомянутым передающим валиком, и разность периферийных скоростей между упомянутым разделительным валиком и упомянутым передающим валиком поглощается посредством перемещения упомянутого штифта скольжения в упомянутых канавках; и когда упомянутый лист бумаги сходит с упомянутого разделительного валика, упомянутый дисковый элемент вращается в обратном направлении, в то время как упомянутый штифт скольжения двигается в обратном направлении в упомянутой канавке, таким образом, прерывая передачу приводного усилия от упомянутого центрального зубчатого колеса к упомянутому разделительному валику, до тех пор, пока упомянутый штифт скольжения находится в зацеплении.
12. Дискретное бумагоподающее устройство по п.11, в котором упомянутый дисковый элемент включает секцию зацепления на конце упомянутой канавки для зацепления с упомянутым штифтом скольжения.
13. Дискретное бумагоподающее устройство по п.11, дополнительно содержащее секцию остановки вращения для регулирования вращения упомянутого рычажного элемента в заданном направлении; в котором когда упомянутый лист бумаги захвачен только упомянутым разделительным валиком, приводное усилие от упомянутого центрального зубчатого колеса передается к упомянутому разделительному валику через упомянутую опорную секцию планетарного зубчатого колеса посредством остановки вращения упомянутой зубчатой секции упомянутой секцией остановки вращения и упомянутым рычажным элементом с упомянутым штифтом скольжения.
14. Дискретное бумагоподающее устройство по п.13, дополнительно содержащее упорный элемент, поджимаемый к периферии упомянутого дискового элемента; и упругий элемент, один конец которого опирается на упомянутый упорный элемент, и другой конец опирается на упомянутую секцию остановки вращения для поджатия упомянутого упорного элемента к наружному краю упомянутого дискового элемента, для того чтобы направить упомянутый рычажный элемент в направлении от упомянутого дискового элемента.
РИСУНКИ
|
|