|
|
(21), (22) Заявка: 2003117715/12, 19.11.2001
(24) Дата начала отсчета срока действия патента:
19.11.2001
(30) Конвенционный приоритет:
17.11.2000 NL 1016636
(43) Дата публикации заявки: 20.12.2004
(46) Опубликовано: 27.10.2006
(56) Список документов, цитированных в отчете о поиске:
US 5025619 А, 25.06.1991. RU 2129360 C1, 27.04.1999. SU 1014551 A, 30.04.1983. US 6010243 A, 04.01.2000. SU 1055450 A, 23.11.1983. FR 2728761 A1, 05.07.1996.
(85) Дата перевода заявки PCT на национальную фазу:
17.06.2003
(86) Заявка PCT:
NL 01/00835 (19.11.2001)
(87) Публикация PCT:
WO 02/39812 (23.05.2002)
Адрес для переписки:
129010, Москва, ул. Б. Спасская, 25, стр.3, ООО “Юридическая фирма Городисский и Партнеры”, пат.пов. Ю.Д.Кузнецову, рег.№ 595
|
(72) Автор(ы):
МЕТЕР Тьитзе (NL)
(73) Патентообладатель(и):
ХАТЧТЕК ГРУП Б.В. (NL)
|
(54) СПОСОБ И УСТАНОВКА ДЛЯ УПРАВЛЕНИЯ ТЕМПЕРАТУРОЙ В КАМЕРЕ С УПРАВЛЯЕМЫМ КЛИМАТОМ
(57) Реферат:
Изобретение касается способа управления температурой в камере с управляемым климатом. Организм типа растения или животного помещают в камеру с управляемым климатом; температуру в камере с управляемым климатом поддерживают по существу постоянной при определенном значении (Т1); измеряют по меньшей мере одну характеристику (G) развития организма, например, такую, как вырабатывание СО2; температуру в камере с управляемым климатом повышают или понижают на определенное значение ( Т); величину характеристики развития измеряют снова; определяют изменение ( G) измеренного значения характеристики развития; и температуру в камере с управляемым климатом регулируют в зависимости от изменения ( G) измеренного значения характеристики развития, которое было определено. Обеспечивает измерение одной или более определенных характеристик развития организма. 3 н. и 13 з.п. ф-лы, 1 ил.
Настоящее изобретение касается способа и установки для управления температурой в камере с управляемым климатом.
Для ясности следует отметить, что в этом тексте ссылка сделана в особенности на камеру с управляемым климатом, которая специально оборудована для выведения цыплят из яиц. Следует понимать, что изобретение также касается камер с управляемым климатом, в которых полностью выращивают различные организмы.
Способ согласно настоящему изобретению особенно подходит для инкубатора, типа инкубатора, который описан в патенте Нидерландов №1009860, выданном на имя заявителя, который касается камеры с управляемым климатом.
Камера с управляемым климатом согласно упомянутому патенту, в частности, подходит для выведения цыплят из яиц. Яйца помещают в камеру с управляемым климатом, и климатические условия приводят в соответствие, насколько это возможно, с оптимальными условиями для развития эмбрионов в яйцах. Общепринято подвергать яйца температурной прогрессии. Эта температурная прогрессия начинается приблизительно со 100°F. Затем температуру понижают, потому что сами яйца начинают вырабатывать тепло. В настоящее время регулирование температуры происходит на основе эмпирических данных. Нет никакой прямой связи между определенными требованиями для оптимального развития эмбрионов в определенной партии и определенными климатическими условиями, которые поддерживаются в камере с управляемым климатом.
Тем не менее, существует много факторов, определяющих специфические климатические условия, которые должны поддерживаться в камере с управляемым климатом для выведения цыплят из яиц на группу яиц. Первым фактором, который имеет влияние на требуемые оптимальные условия, является количество яиц, помещенных в камеру с управляемым климатом. Яйца самостоятельно выработают тепло в течение инкубирования, и яйца, находящиеся рядом друг с другом, будут нагревать друг друга. То есть, чем больше количество яиц будет находиться в камере с управляемым климатом, тем больше тепла будет вырабатываться яйцами.
Вторым важным параметром, который определяет требуемые условия для яиц, является возраст матерей. 28-Недельные цыплята, которые начинают откладывать яйца, производят относительно маленькие яйца. Такие яйца обычно имеют вес 45-50 грамм. Более старшие цыплята, например, в возрасте до 60 недель производят большие яйца, обычно с весом до 70 грамм. Эмбрионы в этих яйцах не только больше, чем эмбрионы в случае яиц меньшего веса, но и воздушный поток вокруг таких яиц будет проходить иным путем по сравнению с воздушным потоком, который имеет место вокруг меньших яиц.
Обычные климатические условия в камере с управляемым климатом предпочтительно также согласовывают с генетическим фондом, которым обладают эмбрионы в яйцах. Если цыплята, которых выращивают из яиц, выведены специально для производства относительно большого количества филе грудинки, эти цыплята вырабатывают больше тепла, чем в случае, когда бы процентное содержание филе грудинки ниже.
Несмотря на то, что все эти факторы имеют влияние на конкретные идеальные климатические условия в камере с управляемым климатом, в настоящее время в камере с управляемым климатом используют стандартные условия, которые несомненно не могут быть оптимальными для каждой партии яиц, помещаемой в камеру с управляемым климатом.
Ввиду вышеизложенного в основу настоящего изобретения положена задача обеспечить способ такого типа, как упомянут в преамбуле, при котором температуру в камере с управляемым климатом можно регулировать таким образом, чтобы температурные условия лучше согласовывались с количеством яиц, присутствующим в камере с управляемым климатом, чем условия согласно современному техническому уровню.
Упомянутая задача достигается в соответствии с настоящим изобретением тем, что настоящее изобретение обеспечивает способ управления температурой в камере с управляемым климатом, в котором:
– организм типа растения или животного помещают в камеру с управляемым климатом,
– температуру в камере с управляемым климатом поддерживают, по существу, постоянной при определенном значении (Т1),
– измеряют по меньшей мере одну характеристику (G) развития организма, например такую как вырабатывание CO2,
– температуру в камере с управляемым климатом повышают или понижают на определенное значение ( T),
– величину характеристики (G) развития измеряют снова,
– определяют изменение ( G) измеренного значения характеристики развития, и
– регулируют температуру в камере с управляемым климатом в зависимости от изменения ( G) измеренного значения характеристики развития, которая была определена.
С помощью этой процедуры возможно добиться, чтобы новая установленная в камере с управляемым климатом температура являлась первоначальной температурой (Т1) в камере с управляемым климатом, увеличенной или уменьшенной на температурный скачок ( Т), определенный в момент времени, когда изменение ( G) измеренного значения характеристики развития больше 0, причем новая установленная температура представляет собой первоначально установленную температуру (Т1) в момент времени, когда изменение ( G) в характеристике развития, которое было определено, меньше 0.
Способ согласно изобретению позволяет измерять одну или более определенных характеристик развития организма, который присутствует в камере с управляемым климатом. Для многих организмов наиболее просто определять вырабатывание CO2. Затем температуру в камере с управляемым климатом можно изменять. Например, температуру в камере с управляемым климатом слегка повышают. После того, как прошло некоторое время, снова определяют значение характеристики развития, например такой как вырабатывание CO2.
Если нашли, что повышение температуры производит выгодное влияние на развитие организма в камере с управляемым климатом, температура может поддерживаться на новом установленном температурном уровне. Если нашли, что изменение температуры произвело неблагоприятное влияние на развитие организма в камере с управляемым климатом, тогда камеру с управляемым климатом можно переключить обратно на первоначальный температурный уровень в камере с управляемым климатом. Можно, например, поочередно повышать и понижать температуру в камере с управляемым климатом для непрерывного поиска оптимальной величины температуры в камере с управляемым климатом, чтобы в максимально возможной степени способствовать развитию организма в камере с управляемым климатом.
Должно быть понятно, что если присутствующий в камере с управляемым климатом организм имеет, по существу, те же характеристики, что и организм, который был предварительно выращен в камере с управляемым климатом, температурные изменения, которые оказались благоприятными для такого предыдущего организма, можно использовать в качестве руководящих принципов для повышения или понижения температуры в камере с управляемым климатом.
Согласно изобретению, выгодно, чтобы температурный скачок ( T) имел значение от 0 до 1°, предпочтительно 0,1-0,6°, и наиболее предпочтительно 0,2°.
Организмы, которые растут в камере с управляемым климатом, обычно растут лучше всего при некотором температурном уровне. Очевидно, что повышать или понижать температуру следует небольшими этапами от этого температурного уровня. В конкретном случае для яиц выгодно делать изменения не более чем на несколько десятых градуса.
В соответствии с изобретением, кроме того, можно определять значение характеристики развития снова после того, как пройдет некоторый период времени после изменения температуры в камере с управляемым климатом, где период времени имеет величину 10-20 минут, предпочтительно 15 минут.
Чтобы обеспечить возможность эффективно измерять влияние изменения температуры на развитие организма, новая температура должна иметь возможность воздействовать на организм в течение определенного периода времени. То есть нет смысла измерять влияние температуры за очень короткий период времени (например, несколько секунд). В случае яиц достаточным обычно является минимальный период времени, составляющий, например, 15 минут.
Должно быть ясно, что способ согласно настоящему изобретению не предназначен для однократной установки температурного уровня в камере с управляемым климатом. Его замыслом является то, что оптимальную температуру непрерывно ищут и переустанавливают в течение времени пребывания организма в камере с управляемым климатом. Это означает, что этапы способа, которые были описаны выше, многократно последовательно повторяют полностью или частично. Таким образом достигают того, что температурный уровень в камере с управляемым климатом поддерживается, по существу, оптимальным в течение всего времени пребывания организма в камере с управляемым климатом.
Кроме того, в соответствии с изобретением можно помещать яйца в инкубатор и поддерживать температуру в инкубаторе, по существу, на уровне постоянной температуры, определять по меньшей мере одну характеристику развития яиц в инкубаторе, температуру в инкубаторе повышать или понижать на определенный температурный скачок, снова определять характеристику развития яиц, определять изменение измеряемого значения характеристики развития и затем регулировать температуру в камере с управляемым климатом в зависимости от значения изменения измеряемой характеристики развития. При этой методике в качестве характеристики развития яиц можно определять вырабатываемый яйцами CO2.
Как было уже показано выше, способ согласно изобретению является подходящим, в частности, для выведения цыплят из яиц в инкубаторе. На практике доказано, что можно легко определять изменение в вырабатывании CO2 в инкубаторе. Вырабатывание CO2 является очень хорошим показателем развития эмбрионов в яйцах.
В качестве альтернативы можно также определять изменение температуры эмбрионов в инкубаторе. Изменение температуры можно определять двумя способами. Во-первых, можно определять температуру самих яиц, следя за изменениями их температуры. Во-вторых, можно определять изменение температуры во всей камере с управляемым климатом. Изменение температуры непосредственно связано с величиной охлаждения, которое необходимо обеспечивать для установки.
Кроме того, можно определять потребление кислорода яйцами в качестве характеристики развития яиц. Эмбрионы в яйцах имеют сердце, биение которого также можно определять в качестве характеристики развития для эмбрионов.
Изобретение дополнительно касается удобочитаемого для компьютера носителя, где упомянутый носитель содержит компьютерную программу, которая после загрузки в установку, обеспеченную компьютерным средством, обеспечивает установку функциональными возможностями способа.
В дополнительном аспекте настоящее изобретение касается камеры с управляемым климатом, обеспеченной средством для поддержания по существу постоянной температуры в упомянутой камере с управляемым климатом, и эта камера с управляемым климатом обеспечена средством измерения для измерения характеристики развития организма типа растения или животного, помещенного в камеру с управляемым климатом. Установка согласно изобретению отличается тем, что камера с управляемым климатом имеет средство управления, при помощи которого можно управлять температурой в камере с управляемым климатом, причем средство измерения для измерения характеристики развития организма, помещенного в камеру с управляемым климатом, связано со средством управления таким образом, что при помощи средства измерения сигнал управления может передаваться в средство управления для изменения температуры в камере с управляемым климатом.
Как было показано выше, установка для выведения цыплят из яиц раскрыта в патенте Нидерландов №1009860, выданном на имя того же заявителя. В этой установке уже есть измеритель CO2. Однако согласно изобретению, в нем присутствует средство управления для изменения температуры в камере с управляемым климатом, и это средство управления способно использовать результаты считывания из измерителя СО2 в качестве входного сигнала. Такое средство управления отсутствует в известной камере с управляемым климатом.
В качестве альтернативы также можно установить средство для измерения температуры для определения изменения температуры яиц в камере с управляемым климатом согласно изобретению. Также можно измерять потребление кислорода. Кроме того, возможно, чтобы присутствовали средства измерения для определения сердцебиения эмбрионов в камере с управляемым климатом.
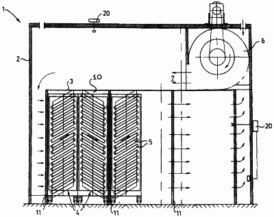
Далее изобретение будет описано со ссылкой на прилагаемый чертеж, на котором: можно увидеть вид сбоку камеры с управляемым климатом согласно изобретению, которую можно использовать в соответствии со способом согласно изобретению.
На чертеже показана камера 1 с управляемым климатом, которая имеет внешнюю стенку 2. Отсек, в котором размещены тележки 4, отделен от камеры 1 с управляемым климатом посредством дополнительной стенки 3. Лотки 5, которые содержат подлежащие инкубированию яйца, можно помещать в тележки 4. Воздушный поток, который схематически обозначен ссылочной позицией 7, производится в камере 1 с управляемым климатом при помощи насоса 6. На чертеже воздушный поток через установку проходит против часовой стрелки. Воздушный поток входит в отсек 10 слева и покидает его справа. Воздушный поток протекает по яйцам, которые помещены на лотки 5 в тележках 4. Прежде, чем он входит в отсек 10 и после того, как он проходит через одну или более тележки 4, воздушный поток 7 принудительно проходит через перфорированную стенку 11. Эта перфорированная стенка 11 содержит средство для регулирования температуры воздушного потока 7. Если воздушный поток 7 выделяет тепло для яиц в лотках 5, то температуру можно увеличить, чтобы компенсировать температурное изменение. И, наоборот, возможно, что если воздушный поток принимает тепло от яиц в лотках 5, воздух охлаждают, чтобы привести температуру обратно к прежнему уровню до продувки воздуха через лотки 5. Описание установки согласно чертежу в этой заявке ограничено, и для подробного описания установки в соответствии с чертежом делается ссылка на вышеупомянутый патент Нидерландов №1009860.
В установке согласно чертежу представлены дополнительные средства измерения 20 для определения содержания CO2 в воздушном потоке 7. Например, можно выполнить определение CO2 в различных местоположениях в камере 1 с управляемым климатом. Первое определение вырабатывания СО2 в камере 1 с управляемым климатом делается в момент времени, когда в камере с управляемым климатом может поддерживаться некоторая температура, по существу, постоянной.
После этого первого определения содержания CO2 в камере 1 с управляемым климатом температуру в камере с управляемым климатом поднимают, в частности, при помощи стенок 11 в камере с управляемым климатом. Если температура в камере 1 с управляемым климатом должна быть установлена на новый уровень, который будет выше или ниже, чем первоначальная температура, проводят второе определение вырабатывания CO2 в камере 1 с управляемым климатом. Затем определенное первым значение сравнивают со значением, определенным вторым. Если первое значение выше, изменение температуры, очевидно, неблагоприятно для развития организмов в камере 1 с управляемым климатом. Температуру будут повторно регулировать до первоначального уровня. Если, с другой стороны, оказывается, что второе определение дает более высокий результат, чем первое определение содержания CO2, в этом случае второй температурный уровень, как очевидно, более благоприятен для организма в камере 1 с управляемым климатом. То есть в камере с управляемым климатом в качестве нового температурного уровня поддерживают повторно установленный температурный уровень.
После того, как пройдет некоторое время, рассмотренный выше способ можно повторить, температуру изменяют снова и после прохождения некоторого времени выполняют третье, четвертое и т.д. определение содержания CO2 в камере 1 с управляемым климатом.
При помощи установки, которая была описана выше, и при помощи рассмотренного способа в камере 1 с управляемым климатом можно поддерживать оптимальные температурные условия в течение всего периода, в который организм находится в камере 1 с управляемым климатом.
Вместо измерителей 20 для определения содержания CO2 в камере 1 с управляемым климатом также можно установить измеритель для определения потребления кислорода организмом в камере 1 с управляемым климатом. Кроме того, можно установить температурные измерители, распределенные по камере 1 с управляемым климатом, для измерения тепла, которое вырабатывается организмом в камере 1 с управляемым климатом. В конкретном случае, когда в камере 1 с управляемым климатом выводят цыплят из яиц, в камере 1 с управляемым климатом также можно установить средство для записи сердцебиения эмбрионов в яйцах.
Формула изобретения
1. Способ управления температурой в камере с управляемым климатом, в котором организм, типа растения или животного, помещают в камеру с управляемым климатом, температуру в камере с управляемым климатом поддерживают по существу постоянной при определенном значении (Т1), измеряют по меньшей мере одну характеристику (G) развития организма, например, такую, как вырабатывание СО2, температуру в камере с управляемым климатом повышают или понижают на определенное значение ( Т), величину характеристики (G) развития измеряют снова, определяют изменение ( G) измеренного значения характеристики развития, и температуру в камере с управляемым климатом регулируют в зависимости от изменения ( G) измеренного значения характеристики развития, которое было определено.
2. Способ по п.1, отличающийся тем, что новая установленная температура в камере с управляемым климатом является первоначальной температурой (Т1) в камере с управляемым климатом, повышенной или пониженной на температурный скачок ( Т), определенный в момент времени, когда изменение ( G) измеренного значения характеристики развития больше 0, причем установленная новая температура является первоначально установленной температурой (Т1) в момент времени, когда изменение ( G) в характеристике развития, которое было определено, меньше 0.
3. Способ по п.1 или 2, отличающийся тем, что температурный скачок ( Т) имеет значение от 0 до 1°, предпочтительно 0,1-0,6°, и наиболее предпочтительно 0,2°.
4. Способ по одному из предыдущих пунктов, отличающийся тем, что значение характеристики (G) развития определяют снова через некоторый период времени, прошедший после изменения температуры в камере с управляемым климатом, причем период времени имеет величину 10-20 минут, предпочтительно 15 минут.
5. Способ по одному из предыдущих пунктов, отличающийся тем, что все или некоторые из этапов способа повторяют после того, как пройдет некоторый период времени.
6. Способ по одному из предыдущих пунктов, отличающийся тем, что яйца помещают в инкубатор, а температуру в инкубаторе поддерживают по существу на уровне постоянной температуры, определяют по меньшей мере одну характеристику развития яиц в инкубаторе, температуру в инкубаторе повышают или понижают на определенный температурный скачок, снова определяют характеристику развития яиц, определяют изменение измеренного значения характеристики развития, а затем в зависимости от значения изменения измеренной характеристики развития в камере с управляемым климатом регулируют температуру.
7. Способ по п.6, отличающийся тем, что в качестве характеристики развития яиц определяют вырабатывание яйцами СО2.
8. Способ по п.6 или 7, отличающийся тем, что в качестве характеристики развития яиц определяют вырабатывание яйцами тепла.
9. Способ по любому из пп.6-8, отличающийся тем, что в качестве характеристики развития яиц определяют потребление кислорода.
10. Способ по любому из пп.6-9, отличающийся тем, что в качестве характеристики развития яиц определяют сердечный ритм эмбриона в яйце.
11. Удобочитаемый для компьютера носитель, отличающийся тем, что он содержит компьютерную программу, которая после загрузки в установку, обеспеченную компьютерным средством, обеспечивает реализацию установкой способа по любому из пп.1-10.
12. Камера с управляемым климатом, обеспеченная температурным средством для поддержания по существу постоянной температуры в упомянутой камере с управляемым климатом, причем эта камера с управляемым климатом обеспечена средством измерения для измерения характеристики развития организма, такого, как растение или животное, помещенного в камеру с управляемым климатом, отличающаяся тем, что камера с управляемым климатом имеет средство управления, связанное и с температурным средством, и со средством измерения, в которой средство управления приспособлено для того, чтобы сначала определять первое значение характеристики развития с помощью средства измерения, и в которой средство управления приспособлено для повышения или понижения температуры после этого в камере с управляемым климатом на определенное значение ( Т) с помощью температурного средства, и в которой средство управления приспособлено для сравнения упомянутого первого значения характеристики развития с упомянутым вторым значением характеристики развития, и в которой средство управления приспособлено для поддержания нового температурного уровня в камере с управляемым климатом в случае, если второе значение характеристики развития выше, чем первое значение характеристики развития, и в которой средство управления приспособлено для повторного регулирования температуры до первоначального уровня, если второе значение характеристики развития ниже, чем первое значение характеристики развития.
13. Установка по п.12, отличающаяся тем, что средство измерения для измерения характеристики развития организма, помещенного в камеру с управляемым климатом, содержит измеритель СО2.
14. Установка по п.12 или 13, отличающаяся тем, что средство для измерения характеристики развития организма, помещенного в камеру с управляемым климатом, содержит средство для измерения тепла, вырабатываемого организмом, помещенным в камеру с управляемым климатом.
15. Установка по любому из пп.12-14, отличающаяся тем, что средство для измерения характеристики развития организма, помещенного в камеру с управляемым климатом, содержит средство для измерения потребления организмом кислорода.
16. Установка по любому из пп.12-15, отличающаяся тем, что средство для измерения характеристики развития организма, помещенного в камеру с управляемым климатом, содержит средство для осуществления записи сердцебиения эмбриона в яйце.
РИСУНКИ
MM4A – Досрочное прекращение действия патента СССР или патента Российской Федерации на изобретение из-за неуплаты в установленный срок пошлины за поддержание патента в силе
Дата прекращения действия патента: 20.11.2007
Извещение опубликовано: 27.07.2010 БИ: 21/2010
|
|