|
|
(21), (22) Заявка: 2005106181/28, 05.03.2005
(24) Дата начала отсчета срока действия патента:
05.03.2005
(46) Опубликовано: 20.10.2006
(56) Список документов, цитированных в отчете о поиске:
US 4189686 A, 19.02.1980. RU 95114068 А, 20.08.1997. US 5263035 A, 16.11.1993. SU 1802641 A1, 20.12.1995. US 4825441 A, 25.04.1989.
Адрес для переписки:
607188, Нижегородская обл., г. Саров, пр. Мира, 37, ФГУП “РФЯЦ-ВНИИЭФ”, начальнику ОПИНТИ
|
(72) Автор(ы):
Порхаев Владимир Владимирович (RU), Завьялов Николай Валентинович (RU), Пунин Валерий Тихонович (RU), Тельнов Александр Валентинович (RU), Хохлов Юрий Анатольевич (RU)
(73) Патентообладатель(и):
Российская Федерация, от имени которой выступает государственный заказчик – Федеральное агентство по атомной энергии (RU), Федеральное государственное унитарное предприятие “Российский федеральный ядерный центр – Всероссийский научно-исследовательский институт экспериментальной физики” – ФГУП “РФЯЦ-ВНИИЭФ” (RU)
|
(54) УСТРОЙСТВО ДЛЯ ПОЛУЧЕНИЯ ЭЛЕКТРОМАГНИТНОГО ИЗЛУЧЕНИЯ ОПТИЧЕСКОГО ДИАПАЗОНА
(57) Реферат:
Изобретение относится к технической физике – к области генерации когерентного электромагнитного излучения – и может быть использовано при создании автономных источников лазерного излучения. Устройство включает задающее устройство, источник нейтронов, квантовый усилитель. Усилитель содержит газовую кювету с делящимся материалом на ее внутренней поверхности и торцевыми окнами. Задающее устройство состоит из ускорителя электронов и ондулятора. Источник нейтронов окружен блоком замедлителя и выполнен в виде оболочки с делящимся материалом и мишенного устройства. Кюветы квантового усилителя расположены в каналах блока замедлителя или на его наружной поверхности. Техническим результатом является увеличение к.п.д. преобразования ядерной энергии в энергию электромагнитного излучения. 3 ил.
Изобретение относится к технической физике – к области генерации когерентного электромагнитного излучения – и может быть использовано при создании автономных источников энергии лазерного излучения большой мощности, в частности в системах, предназначенных для мониторинга метеоритной и астероидной опасности.
Известно устройство для получения электромагнитного излучения оптического диапазона в виде комбинации ускорителя электронов, лазера на свободных электронах и газового лазера патент US №4189686, кл. МПК H 01 S 3/09, кл. НКИ 331-945, опубл. 19.02.1980 г. Ускоритель электронов выполнен на базе микроволнового клистрона. Лазер на свободных электронах представляет собой генератор периодического магнитного поля с оптическим резонатором, а газовый лазер – это кювета с газовой средой и оптическим резонатором.
Недостатком известного устройства является низкий к.п.д. из-за того, что ширина линии генерации лазера на свободных электронах прямо пропорциональна энергии, теряемой электроном в его магнитном поле. В газовом лазере, возбуждаемом высокоэнергичным пучком электронов, распространяющимся вдоль оптической оси резонатора, экстраполированная длина пробега электронов определяется давлением смеси. В плотных газовых смесях, которые могут использоваться в качестве лазерно-активной среды, существенную роль играют время жизни верхнего уровня рабочего перехода лазерного компонента, а также градиенты плотности частиц. В газовых лазерах, работающих в режиме автогенерации, для снижения порога возникновения лазерного излучения необходимо поддерживать время жизни верхнего уровня рабочего перехода лазерного компонента большим (низкий уровень параметра насыщения активной среды), а для получения максимальной мощности лазерного излучения время жизни верхнего уровня рабочего перехода лазерного компонента должно быть предельно малым (предельно высокий уровень параметра насыщения активной среды). Параметр насыщения активной среды прямо зависит от удельной мощности ее возбуждения, поэтому вдоль траектории пучка электронов в активной среде формируется распределение удельной мощности накачки и параметра насыщения активной среды от нуля (конечная часть траектории пучка) до их максимального значения (начальная часть траектории пучка). Поэтому вдоль оптической оси резонатора возникают зоны усиления и поглощения излучения, что существенно снижает к.п.д. лазера.
Наиболее близким к заявляемому является устройство для получения электромагнитного излучения оптического диапазона авторов А.П. Барзилов, А.В. Гулевич, А.В. Зродников, Б.В. Качанов, О.Ф. Кухарчук, Е.А. Пашин “Расчетные исследования в обоснование безопасности и проектных характеристик энергетического макета реакторно-лазерного устройства”. Труды второй Международной конференции “Физика ядерно-возбуждаемой плазмы и проблемы лазеров с ядерной накачкой”, ВНИИЭФ, Арзамас-16, 1995, том 2, стр. 127-137. Устройство содержит задающее устройство, источник нейтронов (генератор нейтронного потока) и квантовый усилитель, включающий, по меньшей мере, одну газовую кювету с делящимся материалом (ДМ) на ее внутренней поверхности и торцевыми окнами, прозрачными для электромагнитного излучения. Нейтронным источником является двухзонный импульсный ядерный реактор “БАРС-5”, задающим устройством является газовый лазер, а в качестве делящегося материала на внутренней поверхности кювет квантового усилителя используется двуокись урана. В основе устройства по прототипу использована схема генератор-усилитель, включающая создание в генераторе лазерного излучения с требуемыми характеристиками и его усиление в ядерно-возбуждаемой плазме, которая образуется в размножающей сборке, окруженной отражателем нейтронов, – бустерном каскаде реактора “БАРС-5”.
Недостатками прототипа являются потенциальная опасность возникновения самоподдерживающейся цепной реакции (СЦР) в активной зоне реакторно-лазерного устройства и низкий к.п.д. преобразования ядерной энергии в энергию лазерного излучения.
В данном изобретении решалась задача создания ядерно-безопасной системы с принципиально невозможной СЦР при любом уровне возбуждения активной среды квантового усилителя, создание автономного ядерно-безопасного источника мощного лазерного излучения оптического диапазона, а также повышение к.п.д. преобразования ядерной энергии в энергию лазерного излучения.
Техническим результатом при решении данной задачи является увеличение к.п.д. преобразования ядерной энергии в энергию электромагнитного излучения.
Указанный технический результат достигается тем, что по сравнению с известным устройством для получения электромагнитного излучения оптического диапазона, который включает задающее устройство, источник нейтронов и квантовый усилитель, содержащий, по меньшей мере, одну газовую кювету с делящимся материалом на ее внутренней поверхности и торцевыми окнами, прозрачными для электромагнитного излучения, в заявляемом устройстве задающее устройство состоит из ускорителя электронов и ондулятора. Источник нейтронов, окруженный блоком замедлителя, выполнен в виде оболочки с делящимся материалом и мишенного устройства, а кюветы квантового усилителя расположены в каналах блока замедлителя или на его наружной поверхности.
При любом числе делений ядер радиоактивных изотопов всегда имеет место равенство kэф<1 (где kэф – эффективный коэффициент размножения нейтронов), поэтому в такой системе исключена сама возможность СЦР.
Особенности предлагаемой схемы получения когерентного электромагнитного излучения заключаются в том, что данный источник электромагнитного излучения является генератором с перестраиваемыми параметрами излучения с максимально полным использованием энергии пучка электронов и энергии ядерных излучений для образования и усиления электромагнитного излучения оптического диапазона. Это достигается путем введения в схему ондулятора, который располагается между ускорителем электронов и кюветой квантового усилителя и является задающим устройством когерентного электромагнитного излучения с перестраиваемыми параметрами. Максимально полное использование энергии электронов для усиления электромагнитного излучения достигается путем использования мишенного устройства, которое является источником нейтронов. Электроны взаимодействуют с материалом мишени, в результате чего образуется поток гамма-излучения. Поток нейтронов образуется в результате фотоядерных реакций. В результате взаимодействия нейтронов с делящимся материалом, расположенным внутри кюветы квантового усилителя, происходит возбуждение его активной среды продуктами ядерных реакций – осколками деления, -излучением и вторичными электронами. Взаимодействие ондуляторного излучения с возбужденной активной средой квантового усилителя приводит к увеличению энергии лазерного излучения и повышению к.п.д. преобразования ядерной энергии и энергии электронов в энергию электромагнитного излучения.
На фиг.1 изображено заявляемое устройство с кюветами квантового усилителя, расположенными на наружной поверхности блока замедлителя.
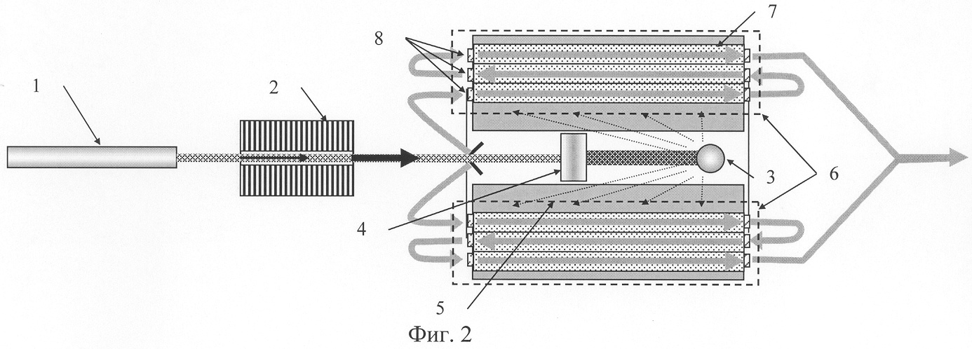
На фиг.2 изображено заявляемое устройство с кюветами квантового усилителя, расположенными в каналах блока замедлителя.
На фиг.3 изображен вид А на фиг.1.
Устройство для получения электромагнитного излучения оптического диапазона включает задающее устройство 1 и 2, источник нейтронов 3 и 4, окруженный блоком замедлителя 5, и квантовый усилитель 6, содержащий, по меньшей мере, одну газовую кювету 7 с делящимся материалом на ее внутренней поверхности и торцевыми окнами 8, прозрачными для электромагнитного излучения. Задающее устройство состоит из ускорителя электронов 1 и ондулятора 2. Источник нейтронов выполнен в виде оболочки с делящимся материалом 3 и мишенного устройства 4. Кюветы 7 квантового усилителя расположены в каналах блока замедлителя 5 фиг.2 или на его наружной поверхности фиг.1.
В примере реализации заявляемого устройства в качестве ускорителя электронов 1 используют линейный резонансный ускоритель ЛУ-50, рабочие параметры которого опубликованы в журнале «Приборы и техника эксперимента» №3 с.56-58 за 1990 в статье Завьялов Н.В., Иванин И.А., Иньков В.И., Ситников Н.П., Тельнов А.В., Хохлов Ю.А., Галкин А.В., Григоренко А.В. «Получение электронного пикосекундного импульса на сильноточном линейном ускорителе». Энергия электронов в ЛУ-50 составляет 50 МэВ, а средний ток электронов в импульсе – 10 А. Ондулятор 2 выполнен из последовательности соосно расположенных тонких соленоидов, создающих на оси реверсивное магнитное поле. На оси ондулятора расположен электроновод, представляющий собой отрезок трубы из немагнитного материала с вакуумированной внутренней полостью. Источник нейтронов состоит из оболочки 3 с делящимся материалом (нептуний-237) и мишенного устройства 4 (алюминий). Блок замедлителя нейтронов 5 выполнен из полиэтилена. Квантовый усилитель выполнен из набора кювет – труб, заглушенных с обоих концов прозрачными для электромагнитного излучения окнами и заполненных газовой смесью высокого давления с делящимся материалом (окись-закись урана-235) на их внутренней поверхности.
Работает заявляемое устройство следующим образом. В магнитном поле ондулятора 2 электроны пучка испускают магнитотормозное излучение. В результате радиационного энергообмена в пучке электронов образуются ансамбли когерентных осцилляторов, которые при соответствующих параметрах поля ондулятора являются источником электромагнитного излучения с заданной длиной волны. Изменение длины волны генерации в рабочем диапазоне квантового усилителя (полоса люминесценции активной среды) происходит в результате изменения периода структуры магнитного поля ондулятора и/или энергии электронов пучка. Когерентное ондуляторное излучение с помощью зеркала и системы поворотных зеркал (не показаны) направляется на входные окна 8 каналов квантового усилителя. Усиление оптического сигнала происходит в результате взаимодействия фронта бегущей волны с ядерно возбуждаемой плазмой высокого давления. На выходе каналов усиления с помощью системы поворотных зеркал (не показаны) излучение формируется в световой пучок, который обладает свойствами мощного лазерного излучения. Ядерно возбуждаемая плазма является активной средой оптического квантового усилителя. ДМ оболочки 3 связан с ДМ, расположенным внутри кюветы квантового усилителя односторонней связью по нейтронному потоку. В результате этого образуется двухсекционная бланкетная структура, состоящая из внутренней секции – оболочка 3 с ДМ – и внешней секции – делящимся материалом, расположенным внутри каналов квантового усилителя. ДМ оболочки 3 обладает пороговой зависимостью сечения деления от энергии нейтронов. Диодная нейтронная связь между секциями бланкета возникает в результате взаимодействия нейтронов, испущенных ДМ оболочки 3, с материалом замедлителя, в результате чего энергия нейтронов уменьшается до значений ниже пороговых. Первоначальное нейтронное излучение в оболочке 3 образуется в результате фотоядерных реакций при взаимодействии электронного пучка или его тормозного излучения с пороговым ДМ внутренней секции. Тормозное излучение образуется в мишени 4. Замедленные нейтроны внутренней секции при взаимодействии с ДМ в кюветах квантового усилителя вызывают в ней деление ядер ДМ, что приводит к увеличению нейтронного потока. Нейтроны, образуемые при делении ядер радиоактивных изотопов в кюветах квантового усилителя, не вызывают деления вещества в оболочке 3, так как являются подпороговыми.
Режим работы источника электромагнитного излучения задается режимом работы ускорителя электронов (импульсный или частотно-импульсный) и может изменяться в достаточно широких пределах по следующим параметрам: частота следования импульсов =1/Т (где Т – период), их скважность k=Т/ (где – длительность импульса), импульсный ток и энергия электронов пучка. Однако минимальная длительность нейтронного импульса в источнике и, соответственно, максимальное энерговыделение в устройстве определяется его инерционностью.
При разработке данного источника электромагнитного излучения преследовалась цель обеспечения необходимого уровня ядерной безопасности. Поэтому в его структуре отсутствуют подвижные элементы, а двухсекционный бланкет всегда находится в подкритичном состоянии и работает в режиме усиления нейтронного потока.
Предварительные расчеты показывают, что, по сравнению с прототипом, заявляемое устройство является ядерно-безопасным и позволяет увеличить к.п.д. преобразования энергии ядерных реакций в энергию оптического излучения, примерно, в 5 раз за счет использования диодной связи по нейтронному потоку между ДМ, расположенными в оболочке 3 и кюветах квантового усилителя.
Формула изобретения
Устройство для получения электромагнитного излучения оптического диапазона, включающее задающее устройство, источник нейтронов и квантовый усилитель, содержащий, по меньшей мере, одну газовую кювету с делящимся материалом на ее внутренней поверхности и торцевыми окнами, прозрачными для электромагнитного излучения, отличающееся тем, что задающее устройство состоит из ускорителя электронов и ондулятора, источник нейтронов окружен блоком замедлителя и выполнен в виде оболочки с делящимся материалом и мишенного устройства, а кюветы квантового усилителя расположены в каналах блока замедлителя или на его наружной поверхности.
РИСУНКИ
MM4A – Досрочное прекращение действия патента СССР или патента Российской Федерации на изобретение из-за неуплаты в установленный срок пошлины за поддержание патента в силе
Дата прекращения действия патента: 06.03.2007
Извещение опубликовано: 27.06.2008 БИ: 18/2008
|
|