|
|
(21), (22) Заявка: 2003136150/06, 20.06.2002
(24) Дата начала отсчета срока действия патента:
20.06.2002
(30) Конвенционный приоритет:
20.06.2001 SE 0102191-4
(43) Дата публикации заявки: 20.05.2005
(46) Опубликовано: 10.10.2006
(56) Список документов, цитированных в отчете о поиске:
US 4565297 А, 21.01.1986. RU 2049589 C1, 10.12.1995. SU 100084 A, 01.01.1985. US 225488 А, 12.08.1941. US 2821325 А, 28.01.1958.
(85) Дата перевода заявки PCT на национальную фазу:
20.01.2004
(86) Заявка PCT:
SE 02/01210 (20.06.2002)
(87) Публикация PCT:
WO 02/103228 (27.12.2002)
Адрес для переписки:
191036, Санкт-Петербург, а/я 24, “НЕВИНПАТ”, пат.пов. А.В.Поликарпову
|
(72) Автор(ы):
БЕРГМАН Карл (SE), ПЕРССОН Ерт (SE)
(73) Патентообладатель(и):
Авуре Текнолоджиз АБ (SE)
|
(54) ПРЕСС
(57) Реферат:
Изобретение относится к прессам. Технический результат – упрощение процесса управления. В прессе камера давления выполнена таким образом, что ее крышка может занимать два различных положения вдоль оси этой камеры, а именно первое положение, при котором камера давления является герметизированной, а указанные элементы передают усилия от крышки к внутренней стенке камеры давления, и второе положение, при котором камера давления по существу является негерметизированной, а каждый элемент может быть смещен от контактной поверхности крышки и контактной поверхности внутренней стенки камеры давления в направлении продольной центральной оси камеры давления. Способ отличается этапами смещения элементов от контактной поверхности крышки и контактной поверхности внутренней стенки камеры давления внутрь к продольной центральной оси камеры давления и снятия крышки и указанных элементов, вследствие чего обеспечивается доступ к внутреннему пространству камеры давления. 2 н. и 21 з.п. ф-лы, 7 ил.
Область применения изобретения
Настоящее изобретение относится к прессу, который содержит камеру давления, оснащенную внутренним укупорочным приспособлением, а также к способу открывания камеры давления, входящей в состав пресса.
Уровень техники
Прессы, например прессы высокого давления, используются во многих промышленных производственных процессах. Пресс обычного типа, предназначенный, например, для изготовления алюминиевых деталей, включает в себя камеру давления, в которой происходит прессование. Указанная камера оснащена укупорочным приспособлением некоторого типа, например крышкой. Традиционно крышку привинчивают к стенке камеры давления посредством резьбового соединения. Для того чтобы вынимать обработанный материал из пресса, указанную крышку необходимо отвинчивать после каждой операции прессования, данная процедура требует много времени.
В патенте США 4565297 описан альтернативный вариант выполнения укупорочного приспособления между крышкой и камерой давления, при котором между крышкой и камерой давления располагают несколько опорных сегментов. Направленное на герметизацию усилие передается через эти сегменты от крышки к камере давления. В частности, передача усилия происходит через параллельные, специально спроектированные контактные поверхности. Недостатком указанной конструкции является то, что сегменты подвергаются большому физическому напряжению при существующей опасности концентрации давлений в некоторых их частях, вследствие чего может произойти растрескивание этих сегментов, и необходимость их замены возникнет раньше, чем этого бы хотелось.
Другой недостаток заключается в том, что любые действующие на сегменты поперечные силы могут вызвать смещение этих сегментов вверх к оси камеры давления и, следовательно, необходимо устанавливать специальные блокирующие элементы, которые своими вертикальными контактными поверхностями опираются, соответственно, на сегменты и крышку, и таким образом предотвращают указанное смещение. Кроме того, снятие крышки для доступа внутрь камеры давления требует много времени.
В патенте США 2821325 описан еще один вариант укупорочного приспособления для камеры давления. Между крышкой и камерой давления размещено несколько сегментов со скругленными контактными поверхностями. Однако при данной конструкции крышку трудно снимать. Перед тем как снять крышку, сегментам необходимо придать наклонное положение, для этого используется рычаг управления. Таким образом, данный способ тоже включает в себя процедуру, требующую много времени.
Сущность изобретения
Цель настоящего изобретения заключается в создании пресса, который прост в управлении и ослабляет вышеупомянутые недостатки.
Другая цель изобретения заключается в разработке способа, посредством которого можно легко открывать камеру давления, после того как операция прессования выполнена.
Указанные цели изобретения, равно как и другие, ниже поясненные цели, достигаются путем применения предложенных пресса и способа, отличительные признаки которых приведены в формуле изобретения.
Согласно одному из аспектов изобретения предложен пресс, который содержит камеру давления, оснащенную внутренним укупорочным приспособлением. Внутреннее укупорочное приспособление содержит крышку и элементы, которые предназначены для передачи усилий между крышкой и внутренней стенкой камеры давления, возникающих при работе под высоким давлением. Каждый передающий усилие элемент имеет первую контактную поверхность, выполненную с возможностью прилегания к контактной поверхности крышки, и вторую контактную поверхность, выполненную с возможностью прилегания к контактной поверхности внутренней стенки камеры давления. Согласно изобретению камера давления выполнена таким образом, что ее крышка может занимать два различных положения вдоль оси этой камеры, а именно – первое положение, при котором камера давления является герметизированной, а указанные элементы передают усилия от крышки к внутренней стенке камеры давления, и второе положение, при котором камера давления по существу является негерметизированной, а каждый элемент можно смещать от контактной поверхности крышки и контактной поверхности внутренней стенки камеры давления в направлении продольной центральной оси камеры давления.
Таким образом, основная идея изобретения заключается в том, что нет необходимости использовать контактные поверхности крышки и камеры давления в качестве опор для указанных элементов непосредственно при открывании камеры давления, а также в том, что крышка может быть выполнена подвижной, чтобы облегчить смещение элементов от этих контактных поверхностей. Данные обстоятельства позволяют легко осуществлять процедуру открывания, поскольку крышке приданы такие размеры, что указанные элементы можно устанавливать быстро и при этом они не будут соприкасаться с контактными поверхностями камеры давления и крышки.
Следует также иметь в виду, что согласно по меньшей мере одному из вариантов выполнения данного изобретения, указанное смещение элементов может включать в себя этап первоначального отделения этих элементов от упомянутой контактной поверхности крышки и последующий этап отделения элементов от контактной поверхности внутренней стенки камеры давления.
Несмотря на то, что данное изобретение распространяется как на случай прямых контактных поверхностей, так и на случай других форм контактных поверхностей передающих усилие элементов, крышки и внутренней стенки камеры давления, наиболее благоприятным может оказаться случай использования скругленных контактных поверхностей. В случае использования элементов, контактные поверхности которых искривлены в продольной плоскости сечения, проходящей через ось камеры давления, может быть обеспечена возможность относительных перемещений между крышкой и стенкой камеры без риска вредных концентраций давления, действующего на указанные элементы. В таких конструкциях контактные поверхности должным образом искривлены или скруглены в продольной плоскости сечения, проходящей через ось камеры давления, вследствие чего усилия, передаваемые между крышкой и внутренней стенкой камеры давления, создают по существу равномерно распределенное контактное давление между крышкой и передающим усилие элементом, с одной стороны, и этим передающим усилие элементом и внутренней стенкой камеры давления, с другой стороны. В остальной части описания основное внимание уделяется именно таким изогнутым поверхностям. Однако, как отмечено выше, следует иметь в виду, что изобретение также можно использовать и в отношении других форм контактных поверхностей.
В предложенном прессе давление в камере давления во время операции прессования обычно составляет 50-2000 бар. Во время такой операции прессования крышка стремится изогнуться аксиально вверх/наружу, а стенка камеры давления стремится изогнуться радиально наружу. Криволинейные контактные поверхности учитывают эти деформации в крышке и в стенке камеры давления, вследствие чего обеспечивается умеренное и равномерное распределенное контактное давление. При деформации крышки и стенки камеры из-за внутреннего избыточного давления пространственная адаптация происходит за счет “качательного скольжения” в криволинейных контактных поверхностях. Благодаря этим криволинейным контактным поверхностям обеспечивается существенное преимущество, которое заключается в том, что деформации стенки камеры давления и крышки не вызывают таких существенных концентраций контактного давления, которые могли бы возникнуть в случае прямых контактных поверхностей.
Как упомянуто выше, каждый передающий усилие элемент имеет первую контактную поверхность, прилегающую к контактной поверхности крышки, и вторую контактную поверхность, прилегающую к контактной поверхности внутренней стенки камеры. Первая контактная поверхность имеет подходящий поперечный профиль, выполненный по существу в виде дуги окружности, радиус которой по существу соответствует радиусу контактной поверхности крышки, также имеющей поперечный профиль в виде дуги окружности. Вторая контактная поверхность и контактная поверхность камеры давления также подобным образом согласованы в отношении радиусов соответствующих поперечных профилей, выполненных по существу в виде дуг окружностей.
Таким образом, кривизну контактных поверхностей рассчитывают подходящим образом с учетом деформаций крышки и стенки камеры давления, причем значения кривизны выбирают так, чтобы в результате можно было обеспечить максимально равномерное контактное давление между передающими усилие элементами и, соответственно, крышкой и стенкой камеры давления. Контактное давление следует поддерживать равномерным даже несмотря на изменения углов между крышкой и стенкой камеры.
Благоприятная форма может быть либо выпуклой, либо вогнутой. Следовательно, передающие усилие элементы можно выполнять таким образом, что упомянутые первая и вторая контактные поверхности будут изгибаться наружу к крышке и стенке камеры давления, соответственно. В альтернативном случае пресс высокого давления можно использовать с элементами, контактные поверхности которых изогнуты внутрь. Как вариант, одна из указанных контактных поверхностей, первая или вторая, может изгибаться внутрь, а другая контактная поверхность – изгибаться наружу.
Передающие усилие элементы совместно образуют кольцевую конструкцию, проходящую вдоль окружности камеры давления. Таким образом, каждый передающий усилие элемент представляет собой тороидальную часть. При открывании крышки указанные элементы перемещаются путем радиального смещения к центральной оси камеры давления и вследствие этого удаляются от контактных поверхностей крышки и стенки камеры давления, соответственно, что ниже описано более подробно. Это значит, что в кольцевой конструкции, образованной передающими усилие элементами, между двумя смежными элементами должно быть достаточно места для их смещения радиально внутрь к центральной оси, поскольку длина окружности кольцевой конструкции уменьшается по мере приближения к центральной оси. Число передающих усилие элементов в предпочтительном случае составляет по меньшей мере три, например, по меньшей мере четыре, а в частности, шесть. Однако, как вариант, можно использовать передающие усилие элементы в количестве всего двух штук. В этом случае передающие усилие элементы являются изгибаемыми.
В контексте данной заявки центральная ось определяется, как прямая центральная ось, проходящая по высоте цилиндра. Передающие усилие элементы, по существу, выполнены с возможностью передачи осевых нагрузок.
Согласно изобретению крышка пресса выполнена с возможностью перемещения между первым и вторым положениями. В случае вертикально ориентированной камеры давления, крышка, а именно нижняя крышка или верхняя крышка, является регулируемой по вертикали. Эта возможность регулирования позволяет осуществлять удаление и установку указанных элементов более просто. В прессе по патенту США 4565297 такого механизма нет, поскольку плоские контактные поверхности допускают смещение указанных сегментов в направлении с наклоном вверх к центральной оси камеры давления без регулировки вертикального положения крышки. Однако между сегментами и крышкой должны находится специальные блокирующие элементы, предотвращающие нежелательное смещение сегментов к центральной оси, когда они подвержены воздействию поперечных сил. Следует также заметить, что если камера давления в предложенном прессе ориентирована горизонтально, т.е. ее центральная ось проходит в горизонтальном направлении, то первое и второе положения крышки будут разнесены по горизонтали.
В отличие от гладких и плоских контактных поверхностей, известных из уровня техники, округлой форме контактных поверхностей предложенного пресса присуще особое свойство, согласно которому элементы в некоторой степени удерживаются от радиального смещения к центральной оси. Таким образом, в данном изобретении дополнительный блокирующий элемент можно не использовать. Однако ниже проиллюстрирован предпочтительный вариант выполнения изобретения, согласно которому между крышкой и передающими усилие элементами имеется прокладочный элемент.
Несмотря на то, что дополнительный блокирующий элемент в данном изобретении использовать необязательно, в некоторых случаях все-таки целесообразно обеспечивать дополнительную защиту от возникновения нежелательного смещения указанных элементов к центральной оси под действием поперечных сил, то есть неуправляемое смещение какого-либо элемента с его центром масс в направлении центральной оси является нежелательным. Однако было бы целесообразным обеспечить скользящее движение передающих усилие элементов, которые поворачиваются относительно центра масс и достигают вследствие этого своего правильного положения перед операцией прессования. Принимая во внимание вышесказанное, укупорочное приспособление может быть выполнено таким образом, что сторона каждого передающего усилие элемента, обращенная к центральной оси, будет находиться в контакте с частью крышки, при этом крышка будет по существу блокировать поперечное смещение элементов.
По окончании операции прессования обработанный материал следует вынуть из камеры давления, это значит, что сначала необходимо снять крышку. Для обеспечения возможности снятия крышки сначала удаляют передающие усилие элементы. Выше отмечалось, что в предпочтительном случае их поперечное смещение предотвращается частью крышки. Решение проблемы заключается в начальном опускании крышки на достаточное расстояние, при котором отсутствует препятствие для поперечного смещения передающих усилие элементов. Двигаясь поступательно, передающие усилие элементы затем смещаются к центральной оси камеры давления, например, посредством исполнительных механизмов, таких как гидравлические поршни, шариковые винты с приводом от двигателя, пневматические или механические исполнительные механизмы, после чего крышку, а в предпочтительном случае и расположенные на ней передающие усилие элементы, поднимают над камерой давления, вследствие чего обеспечивается доступ к внутреннему пространству указанной камеры. Таким образом, передающие усилие элементы удаляются от той контактной поверхности крышки, которая используется во время прессования, переходя в положение над указанной контактной поверхностью.
Как упомянуто выше, первая контактная поверхность указанных элементов выполнена с возможностью прилегания во время операции прессования к контактной поверхности крышки, представляющей собой первую контактную поверхность этой крышки. В соответствии с по меньшей мере одним из вариантов данного изобретения, крышка также имеет вторую контактную поверхность, к которой может прилегать первая контактная поверхность указанных элементов при поднятии крышки после операции прессования или при опускании крышки перед операцией прессования.
Вышеописанный способ относится к случаю верхней крышки. Что касается нижней крышки, то ее снятие производят в обратную по вертикали сторону, то есть сначала крышку поднимают, элементы сдвигают внутрь к центру, и затем снимают крышку, опуская ее.
В альтернативном случае можно использовать прокладочный элемент, который помещают между крышкой и той стороной каждого передающего усилие элемента, которая обращена к центральной оси камеры давления. Указанный прокладочный элемент, способствующий удержанию указанных передающих усилие элементов и предотвращению радиального смещения, содержит одну единственную кольцевую деталь. Таким образом, прокладочный элемент представляет собой дополнительное средство защиты. Однако передающие усилие элементы будут, по существу, качаться, в отличие от сегментов, имеющих прямые контактные поверхности, которые при отсутствии дополнительного блокирования стремятся сместиться из своего положения. Именно в этой связи и проявляется важное преимущество прокладочного элемента, даже несмотря на то, что сам по себе он не является необходимым. Согласно предыдущему варианту выполнения изобретения, без прокладочного элемента, крышку необходимо опускать на достаточное расстояние, обеспечивая возможность отвода передающих усилие элементов от контактной поверхности крышки радиально внутрь к центральной оси. Если часть крышки, реализующая эту блокирующую функцию, имеет такую же высоту, как и каждый передающий усилие элемент, то крышку следует опустить на соответствующее этой высоте расстояние, которое может составлять 100-200 мм. Использование прокладочных элементов несомненно связано с их обязательным подъемом, обеспечивающим возможность удаления передающих усилие элементов, однако с другой стороны в этом случае крышку можно не опускать более чем на несколько миллиметров, а обычно менее чем на 20 мм. Расстояние также зависит от того, насколько сильно изогнуты контактные поверхности.
Расположенную сверху крышку поднимают и опускают, предпочтительно автоматически, между верхним положением, в котором крышка находится при герметизированном состоянии пресса, и нижним положением, в котором крышка находится при негерметизированном состоянии пресса. При негерметизированном состоянии крышка находится в нижнем положении, а каждый передающий усилие элемент своей первой контактной поверхностью прилегает к контактной поверхности крышки. Однако между второй контактной поверхностью каждого передающего усилие элемента и контактной поверхностью внутренней стенки камеры давления имеется зазор. При герметизации камеры образуемое в ней избыточное давление действует на крышку таким образом, что вызывает ее смещение вверх, при этом вторая контактная поверхность каждого передающего усилие элемента входит в контакт с внутренней стенкой камеры давления. Если давление после операции прессования сбрасывают и опускают крышку обратно, то указанный контакт прекращается соответствующим образом. Несмотря на то, что это описанное движение крышки в значительной степени является автоматическим, для этой же цели можно также использовать, например, гидравлические поршни для обеспечения дополнительной безопасности. В предпочтительном случае эти гидравлические поршни также используют для удаления крышки от пресса, посредством чего обеспечивают доступ к содержимому камеры давления.
В альтернативном случае упомянутый зазор можно создавать между крышкой и передающими усилие элементами, например, с помощью гидравлических поршней, удерживающих передающие усилие элементы в контакте с контактной поверхностью стенки камеры давления, пока крышка опускается после операции прессования и поднимается (механически или посредством внутреннего давления) перед новой операцией прессования. Указанные элементы можно выполнять с возможностью удерживания по существу в том же самом положении при помощи удерживающих средств (например, гидравлических, пневматических, механических или электрических средств) пока крышка опускается из верхнего положения в нижнее положение, вследствие чего происходит удаление этих элементов от контактной поверхности крышки. Смещение крышки следует рассматривать эквивалентным смещению самих элементов, поскольку взаимное расположение в обоих случаях является одинаковым, т.е. первая контактная поверхность элементов и контактная поверхность крышки удаляются друг от друга.
В соответствии по меньшей мере с одним из вариантов выполнения изобретения удаление контактных поверхностей передающих усилие элементов от контактной поверхности крышки и контактной поверхности внутренней стенки камеры давления можно выполнять за два отдельных этапа. На первом этапе элементы удаляют от контактной поверхности крышки при ее опускании, т.е. при ее перемещении из первого положения во второе положение, а на следующем, втором этапе элементы удаляют от контактной поверхности внутренней стенки камеры давления, при этом каждый элемент смещается к центральной оси камеры давления.
В предпочтительном случае предложенные передающие усилие элементы, имеющие искривленные контактные поверхности, изготавливают путем токарной обработки.
Краткое описание чертежей
Фиг.1 в аксонометрии изображает предложенный пресс высокого давления.
Фиг.2 является упрощенным видом, изображающим в разрезе часть камеры давления, которая оснащена внутренним укупорочным приспособлением и входит в состав предложенного пресса.
Фиг.3 схематически изображает показанную на фиг.2 камеру давления в момент, когда она готова к открыванию.
Фиг.4 является упрощенным видом, изображающим в разрезе часть камеры давления, которая оснащена внутренним укупорочным приспособлением и входит в состав пресса, соответствующего другому варианту выполнения изобретения.
Фиг.5 схематически изображает показанную на фиг.4 камеру давления при отсутствии давления.
Фиг.6 является упрощенным видом, изображающим в разрезе часть камеры давления, которая оснащена внутренним укупорочным приспособлением и входит в состав пресса, соответствующего еще одному варианту выполнения изобретения.
Фиг.7 схематически изображает кольцевую конструкцию, образованную передающими усилие элементами, входящими в состав изобретения.
Подробное описание чертежей
Фиг.1 в аксонометрии изображает предложенный пресс 10 высокого давления. Пресс 10 высокого давления содержит округлую цилиндрическую камеру 12 давления, опускаемую в яму. Нижний конец камеры 12 давления находится на опоре 14, на дне указанной ямы. Верхняя часть камеры давления проходит выше уровня 16 пола или земли. На полу закреплено удерживающее приспособление 18 для гидравлического устройства. Гидравлическое устройство содержит гидравлический блок 20, который управляет вертикальным перемещением четырех гидравлических поршней 22 для поднятия и опускания крышки, закрывающей камеру давления. Гидравлическое устройство также содержит гидравлические поршни (не показаны) для смещения передающих усилие элементов, которые описаны ниже. Кроме того, показан гидравлический поршень 23, назначение которого, среди прочего, заключается в удалении прокладочного элемента, изображенного на фиг.4 и 5.
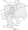
Фиг.2 схематически показывает продольный разрез части камеры 30 давления, которая оснащена внутренним укупорочным приспособлением и входит в состав предложенного пресса. Верхняя часть 32 камеры 30 давления имеет увеличенный радиус. Камера давления имеет стенку 33, внутренняя сторона 34 которой (называемая также внутренней стенкой) поднутрена в пределах этой увеличенной части 32 с образованием выемки 36. Внутренняя стенка 34 вдоль выемки 36, по существу, параллельна внешней стороне камеры 30 давления, за исключением верхней части выемки. В верхней части выемки 36 создана контактная поверхность 38, искривленная в показанной на этом виде плоскости. Камера 30 давления является цилиндрической, следовательно, ее стенка 33 искривлена по кругу относительно ее продольной центральной оси, то есть в поперечной плоскости сечения камеры 30 давления. Это также относится к указанной контактной поверхности 38, которая, таким образом, искривлена в двух плоскостях.
В камере 30 давления находится цельная крышка 40, которая имеет плоскую нижнюю поверхность и оснащена каким-либо подходящим уплотнением (не показано). Крышка 40 аналогично внутренней стенке 34 камеры 30 давления имеет контактную поверхность 42, искривленную в продольной плоскости показанного сечения камеры 30 давления. Между внутренней стенкой 34 камеры 30 давления и крышкой 40 расположен передающий усилие элемент 44. Передающий усилие элемент 44 имеет первую, нижнюю контактную поверхность 46 и вторую, верхнюю контактную поверхность 48, искривленные в показанной плоскости. Нижняя контактная поверхность 46 прилегает к контактной поверхности 42 крышки 40, а верхняя контактная поверхность 48 прилегает к контактной поверхности 38 внутренней стенки 34. Для обеспечения оптимального прилегания контактные поверхности 38, 48 и 42, 46 имеют, соответственно, по существу одинаковые радиусы кривизны в показанной плоскости. Согласно данному чертежу радиусы кривизны первой контактной поверхности и второй контактной поверхности передающего усилие элемента 44 по существу имеют одинаковый размер, т.е. 100 мм. Основываясь на расчете деформации крышки 40 и стенки 33 камеры, контактные поверхности 38, 42, 46, 48 выполнены с возможностью принятия максимально равномерного давления контакта. Таким образом, размеры (а также относительные пропорции) радиусов могут изменяться, в зависимости от вида пресса и его назначения.
Передающий усилие элемент 44 своими по существу вертикальными боковыми поверхностями 50, 52 соприкасается с по существу вертикальными поверхностями 54, 56 крышки 40 и внутренней стенки 34 камеры 30 давления, соответственно. Вертикальная поверхность 54 крышки 40 предотвращает смещение передающего усилие элемента 44 из его положения. Показанная на фиг.2 камера 30 давления находится под давлением, достигающим например 1000 бар, это означает, что внутреннее избыточное давление действует по оси вверх на крышку 40, которая, в свою очередь, передает осевое усилие стенке 33 камеры давления через передающий усилие элемент 44. Равномерное распределение контактного давления обеспечивается согласно изобретению благодаря кривизне контактных поверхностей 38, 42, 46, 48.
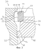
Кроме того, крышка 40 имеет в верхней части дополнительную контактную поверхность 58, а стенка 33 камеры имеет выступ 60, проходящий в сторону центра. Назначение этих элементов 58 и 60 описано со ссылкой на фиг.3.
Фиг.3 схематически изображает показанную на фиг.2 камеру давления в момент, когда она готова для открывания, причем для обозначения одинаковых элементов на чертежах используются совпадающие номера позиций. После завершения операции прессования крышку 40 опускают в камеру давления на расстояние, соответствующее высоте передающих усилие элементов 44, при этом эти элементы удерживаются в вертикальном положении при помощи соответствующего оборудования, такого как гидравлические поршни (не показаны). Таким образом, во время опускания крышки контактная поверхность 42 крышки удаляется от первой контактной поверхности 46 передающих усилие элементов. Периферический выступ 60, отходящий от стенки 33 камеры, действует в качестве опоры для крышки 40 после того, как она опущена. Затем передающие усилие элементы 44 можно переместить, посредством гидравлических поршней (не показаны), от стенки 33 камеры давления радиально внутрь к центральной оси этой камеры 30. В результате, нижняя контактная поверхность 46 передающего усилие элемента 44 будет опираться на контактную поверхность 58 крышки 40, образованную в ее верхней части, как показано на фиг.3 (штриховые линии изображают положение передающего усилие элемента перед его смещением). Затем крышку 40 вместе с опирающимися на нее передающими усилие элементами 44 поднимают наружу из камеры 30 давления посредством гидравлических поршней (не показаны), после чего крышку 40 подходящим образом удаляют в сторону от отверстия камеры 30 давления. Теперь обработанный материал можно вынуть и поместить в камеру 30 давления новый материал. Далее следует обратная процедура, в ходе которой крышку 40 вместе с расположенными на ней передающими усилие элементами 44 опускают в камеру 30 давления, элементы 44 смещают в направлении стенки 33 камеры, в камере 30 создают давление и крышку 40 поднимают в направлении элементов 44. Благодаря кривизне контактных поверхностей 38, 42, 46, 48 элементы 44 смещаются согласно изобретению, в надлежащее угловое положение.
На фиг.4 упрощенно показана в разрезе часть камеры 70 давления, оснащенная внутренним укупорочным приспособлением, которое входит в состав пресса, соответствующего другому варианту выполнения изобретения. На чертеже показана как верхняя часть 72, так и нижняя часть 74 камеры давления, а средняя часть удалена для большей наглядности. В камере 70 давления верхняя крышка 76 и нижняя крышка 78 расположены таким образом, что между ними образовано пространство, в котором создают давление для обработки материала. Верхняя крышка 76, подобно крышке, показанной на фиг.2, также имеет контактную поверхность 80, изогнутую в продольной плоскости осевого сечения камеры 70 давления, причем к этой контактной поверхности примыкает нижняя контактная поверхность 84 передающего усилие элемента 82. Как и в случае, проиллюстрированном со ссылкой на фиг.2, верхняя контактная поверхность 86 передающего усилие элемента 82 также находится в плотном контакте с контактной поверхностью 88 внутренней стенки 90 камеры 70 давления. Стенка 92 камеры 70 давления имеет круговой выступ 94, ограничивающий движение вниз верхней крышки 76 в камере 70 давления.
Криволинейные контактные поверхности 80, 84, 86, 88 предотвращают (по меньшей мере в некоторой степени) смещение передающего усилие элемента 82 в радиальном направлении к центральной оси камеры 70 давления. Кроме того, в качестве дополнительного предохранительного средства между внутренней стороной передающих усилие элементов 82 и верхней крышкой 76 размещают прокладочный элемент 96, имеющий по существу ту же высоту, что и передающий усилие элемент 82. К стороне передающего усилие элемента 82, обращенной к центральной оси, прикреплен гидравлический поршень 98, проходящий через верхнюю крышку 76 и прокладочный элемент 96. Наклон гидравлического поршня 98 свидетельствует о том, что передающий усилие элемент 82 является смещаемым в диагональном направлении вверх/вниз. Прокладочный элемент 96 выполнен в виде непрерывного кольца, проходящего вокруг верхней крышки 76. Прокладочный элемент 96 имеет щели, вследствие чего его можно надеть на гидравлические поршни 98, прикрепленные к передающим усилие элементам 82. Такая щель показана, помимо прочих элементов, на фиг.4, изображающей поперечное сечение. На данном чертеже показано, что в верхней крышке 76 выполнен канал 100, через который проходит гидравлический поршень 98. Внутренний диаметр или ширина канала 100 превышает внешний диаметр или ширину гидравлического поршня 98, обеспечивая таким образом возможность смещения верхней крышки 76 в вертикальном направлении.
Внутри камеры 70 давления находится печь (не показана), выполненная с возможностью нагревания обрабатываемого материала. Под верхней крышкой 76 имеется охладительная пластина 102 с каналами для охлаждающей воды, которая представляет собой средство защиты от температурного роста. На охладительной пластине 102 установлено резиновое уплотнение 104, которое проходит по кругу и герметизирует как внутреннюю стенку 90 камеры 70 давления, так и крышку 76. Кроме того, резиновое уплотнение 104 опирается на металлическое кольцо 106, которое имеет треугольное поперечное сечение и предотвращает выдавливание резинового уплотнения 104 между крышкой 76 и внутренней стенкой 90 камеры 70 давления. Еще одно уплотнение 108 установлено ниже резинового уплотнения 104. Это дополнительное уплотнение 108 защищает резиновое уплотнение 104 от вредных поднимающихся газов, а также используется для его удержания.
Соответствующая конструкция, оснащенная охладительной пластиной 102 и уплотнениями 104, 106, 108, также расположена и в нижней части 74 камеры 70 давления, как показано на фиг.4. В нижней части 74 камеры 70 давления также имеется передающий усилие элемент 110, расположенный между нижней крышкой 78 и внутренней стенкой камеры давления. Вследствие этого, распределение контактного давления происходит так, как это описано выше. Жесткость передающего усилие элемента 110 при необходимости можно уменьшать, создавая в нем щели.
В то время как фиг.4 иллюстрирует камеру, находящуюся в своем обычном состоянии под давлением, фиг.5 схематически показывает верхнюю часть 72 этой камеры 70 в состоянии, когда давление снято, причем для обозначения одинаковых элементов используются совпадающие номера позиций. Пока крышка 76 опускается после завершения операции прессования, гидравлический поршень 98 удерживает передающий усилие элемент 82 прижатым к внутренней стенке 90 камеры 70 давления. Крышку 76 опускают всего лишь на несколько миллиметров до тех пор, пока она не соприкоснется с выступом 94 стенки 92 камеры 70 давления. Таким образом, между нижней криволинейной контактной поверхностью 84 передающего усилие элемента 82 и контактной поверхностью 80 крышки 76 образуется зазор. Выполненный в крышке 76 канал 100, в котором проходит гидравлический поршень 98, является достаточно широким для этого поршня и поэтому обуславливает возможность его наклонного положения также и при опускании крышки 76. Вследствие использования прокладочного элемента 96 (вместо более широкой верхней части крышки, показанной на фиг.2) крышку 76 не обязательно опускать на расстояние, равное высоте передающего усилие элемента 82.
Прокладочный элемент 96 поднимают непосредственно вверх, предпочтительно посредством гидравлических поршней (не показаны), и выполняют это таким образом, что в результате передающий усилие элемент 82 можно будет свободно вытащить по диагонали в направлении оси показанного гидравлического поршня 98, после чего крышку 76 и передающий усилие элемент 82 можно будет поднять, обеспечив таким образом доступ к внутреннему пространству камеры 70 давления.
Фиг.6 упрощенно изображает в разрезе часть камеры 120 давления, которая оснащена укупорочным приспособлением и входит в состав пресса, соответствующего еще одному варианту выполнения данного изобретения. Показанная на фиг.6 камера 120 давления в значительной степени соответствует камере давления, показанной на фиг.5. Тем не менее, отличие существует. Нижняя контактная поверхность 124 передающего усилие элемента 122 и соответствующая контактная поверхность 126 крышки 128 изогнуты в противоположном направлении. Это значит, что в показанном на фиг.6 прессе эти поверхности со стороны центральной оси камеры давления выглядят как вогнутые, в то время как в показанном на фиг.5 прессе эти поверхности со стороны центральной оси камеры давления выглядят как выпуклые.
Фиг.7 схематически изображает кольцевую конструкцию 140, образованную передающими усилие элементами, входящими в состав изобретения. Так, показаны шесть отдельных передающих усилие элементов 142, каждый из которых имеет форму дуги окружности. Положение элементов 142 при герметизированном состоянии камеры давления показано сплошными линиями, в то время как положение элементов 142 в момент, когда крышка готова к поднятию, показано штриховыми линиями. Из чертежа видно, что после завершения операции прессования элементы 142 смещаются радиально внутрь, после чего крышку можно удалить, а обработанный материал вынуть из камеры давления.
Несмотря на то, что выше описаны некоторые варианты выполнения изобретения, данное изобретение не ограничивается только ими. Следует понимать, что может быть предложено множество различных вариантов и модификаций данного изобретения, не выходящих за рамки патентных притязаний, определенных в приложенной формуле изобретения.
Формула изобретения
1. Пресс (10), в частности пресс высокого давления, который содержит предпочтительно округлую цилиндрическую камеру (12, 30, 70, 120) давления, имеющую внутреннее укупорочное приспособление, включающее в себя крышку (40, 76, 128), элементы (44, 82, 122, 142), предназначенные для передачи усилий при операции прессования между крышкой и внутренней стенкой (34, 90) камеры давления, причем каждый из этих элементов имеет первую контактную поверхность (46, 84, 124), выполненную с возможностью прилегания к контактной поверхности (42, 80, 126) крышки, и вторую контактную поверхность (48, 86), выполненную с возможностью прилегания к контактной поверхности (38, 88) внутренней стенки камеры давления, отличающийся тем, что камера давления выполнена таким образом, что ее крышка может занимать два различных положения вдоль оси этой камеры, а именно: первое положение, при котором камера давления является герметизированной, а указанные элементы передают усилия от крышки к внутренней стенке камеры давления, и второе положение, при котором камера давления, по существу, является негерметизированной, а каждый элемент может быть смещен от контактной поверхности крышки и контактной поверхности внутренней стенки камеры давления в направлении продольной центральной оси камеры давления.
2. Пресс по п.1, отличающийся тем, что контактные поверхности искривлены в продольной плоскости сечения, проходящей через ось камеры давления, вследствие чего усилия, передаваемые между крышкой и внутренней стенкой камеры давления, создают, по существу, равномерно распределенное контактное давление между крышкой и передающим усилие элементом с одной стороны и этим передающим усилие элементом и внутренней стенкой камеры давления с другой стороны.
3. Пресс по п.1 или 2, отличающийся тем, что при нахождении крышки в первом положении указанные элементы являются запертыми между плотно прилегающими к ним крышкой и внутренней стенкой камеры давления, а при нахождении крышки во втором положении это запирание с плотным прилеганием снимается.
4. Пресс по п.1, отличающийся тем, что указанное первое положение является верхним положением, а указанное второе положение является нижним положением.
5. Пресс по п.4, отличающийся тем, что указанные элементы выполнены с возможностью удержания, по существу, в одном и том же положении при помощи удерживающих средств, (98) таких, как гидравлические, пневматические, механические или электрические средства, пока крышка опускается из верхнего положения в нижнее положение, вследствие чего происходит удаление этих элементов от контактной поверхности крышки.
6. Пресс по п.1, отличающийся тем, что первая контактная поверхность (46) указанных элементов выполнена с возможностью прилегания во время операции прессования к контактной поверхности крышки, представляющей собою первую контактную поверхность (42), при этом крышка также имеет вторую контактную поверхность (58), к которой может прилегать первая контактная поверхность (46) указанных элементов при поднятии крышки после операции прессования или при опускании крышки перед операцией прессования.
7. Пресс по п.1, отличающийся тем, что между стороной каждого передающего усилие элемента, обращенной к продольной центральной оси камеры давления, и крышкой расположен, по меньшей мере, один съемный прокладочный элемент (96), предотвращающий смещение передающих усилие элементов внутрь к продольной центральной оси этой камеры давления.
8. Пресс по п.1, отличающийся тем, что передающие усилие элементы выполнены с возможностью принимать со скольжением такое положение, при котором их контактные поверхности обеспечивают равномерное распределение контактного давления.
9. Пресс по п.1, отличающийся тем, что первая и вторая контактные поверхности каждого передающего усилие элемента имеют соответственно первый и второй поперечные профили в виде дуги окружности в плоскости, включающей в себя продольную центральную ось камеры давления, при этом контактная поверхность крышки имеет в указанной плоскости поперечный профиль в виде дуги окружности, радиус которой, по существу, соответствует радиусу указанного первого поперечного профиля в виде дуги окружности, а контактная поверхность внутренней стенки камеры имеет в указанной плоскости поперечный профиль в виде дуги окружности, радиус которой, по существу, соответствует радиусу указанного второго поперечного профиля в виде дуги окружности.
10. Пресс по п.9, отличающийся тем, что, по меньшей мере, один из указанных первого и второго поперечных профилей в виде дуги окружности изогнут наружу от передающих усилие элементов.
11. Пресс по п.9, отличающийся тем, что, по меньшей мере, один из указанных первого и второго поперечных профилей в виде дуги окружности изогнут внутрь к передающим усилие элементам.
12. Пресс по п.1, отличающийся тем, что указанные передающие усилие элементы образуют кольцевую конструкцию (140), при этом число таких элементов составляет, по меньшей мере, три, предпочтительно, по меньшей мере, четыре, а в частности шесть.
13. Пресс по п.4, отличающийся тем, что крышка при герметизации камеры давления поднимается без внешнего воздействия автоматическим образом, перемещаясь от указанного нижнего положения в указанное верхнее положение.
14. Пресс по п.4, отличающийся тем, что при сбросе давления в камере давления крышка опускается без внешнего воздействия автоматическим образом, перемещаясь от указанного верхнего положения в указанное нижнее положение.
15. Пресс по п.1, отличающийся тем, что в нем имеются исполнительные механизмы (98), такие, как гидравлические поршни, шариковые винты с приводом от двигателя, пневматические или механические исполнительные механизмы, которые выполнены с возможностью смещать передающие усилие элементы при негерметизированном состоянии камеры давления к продольной центральной оси камеры или в обратную от этой оси сторону, а в предпочтительном случае также смещать к крышке или в обратную от этой крышки сторону, посредством чего обеспечивается диагональное смещение.
16. Способ открывания цилиндрической камеры (12, 30, 70, 120) давления, в предпочтительном случае являющейся округлой, которая входит в состав пресса, в частности пресса высокого давления, и оснащена внутренним укупорочным приспособлением, содержащим крышку (40, 76, 128) и элементы (44, 82, 122, 142), которые выполнены с возможностью прилегания к контактной поверхности (42, 80, 126) крышки и к контактной поверхности (38, 88) внутренней стенки (34, 90) камеры давления для того, чтобы при работе под давлением передавать усилия между крышкой и внутренней стенкой камеры давления, включающий этапы
сброса давления в камере давления,
освобождения указанных элементов путем смещения крышки в продольном направлении камеры давления из первого положения, которое крышка занимает при герметизированном состоянии камеры давления, во второе положение
и отличающийся этапами
смещения элементов от контактной поверхности крышки и контактной поверхности внутренней стенки камеры давления внутрь к продольной центральной оси камеры давления,
снятия крышки и указанных элементов, вследствие чего обеспечивается доступ к внутреннему пространству камеры давления.
17. Способ по п.16, отличающийся тем, что указанное смещение крышки из первого положения во второе положение включает в себя опускание крышки из верхнего положения в нижнее положение, а этап снятия крышки включает ее поднятие относительно камеры давления.
18. Способ по п.17, отличающийся тем, что смещение передающих усилие элементов от контактной поверхности крышки осуществляют, удерживая эти передающие усилие элементы, по существу, в одном и том же положении и опуская при этом крышку из верхнего положения в нижнее положение.
19. Способ по п.18, отличающийся тем, что этап смещения указанных элементов от контактной поверхности крышки и контактной поверхности внутренней стенки камеры давления внутрь к продольной центральной оси камеры давления включает в себя этап первоначального отделения этих элементов от контактной поверхности крышки и последующий этап отделения элементов от контактной поверхности внутренней стенки камеры давления.
20. Способ по любому из пп.17-19, отличающийся тем, что указанный этап смещения передающих усилие элементов внутрь включает в себя их помещение на другую контактную поверхность (58) крышки, при этом этап поднятия крышки включает в себя поднятие крышки с расположенными на ней элементами.
21. Способ по п.16, отличающийся тем, что этапу смещения передающих усилие элементов внутрь предшествует этап удаления, по меньшей мере, одного прокладочного элемента (96), который предотвращает радиальное смещение передающих усилие элементов и расположен между крышкой и той стороной каждого передающего усилие элемента, которая обращена к центральной оси.
22. Способ по п.16, отличающийся тем, что при сбросе давления в камере давления крышку опускают без внешнего воздействия автоматическим образом.
23. Способ по п.16, отличающийся тем, что этап освобождения указанных элементов включает в себя освобождение этих элементов из состояния плотного прилегания.
РИСУНКИ
|
|