|
|
(21), (22) Заявка: 2005110577/06, 11.04.2005
(24) Дата начала отсчета срока действия патента:
11.04.2005
(46) Опубликовано: 10.10.2006
(56) Список документов, цитированных в отчете о поиске:
US 4335994 А, 22.06.1982. SU 1071807 A, 07.02.1984. SU 1370308 A1, 30.01.1988. SU 284612 А, 14.10.1970. GB 2126653 A, 28.03.1984.
Адрес для переписки:
392000, г.Тамбов, Советская, 106, ГОУ ВПО “ТГТУ”, патентный отдел
|
(72) Автор(ы):
Мищенко Сергей Владимирович (RU), Ткачев Алексей Григорьевич (RU), Баранов Андрей Алексеевич (RU), Меметов Нариман Рустемович (RU), Негров Владимир Леонидович (RU), Пасько Александр Анатольевич (RU), Пасько Татьяна Владимировна (RU), Шубин Игорь Николаевич (RU)
(73) Патентообладатель(и):
Государственное образовательное учреждение высшего профессионального образования “Тамбовский государственный технический университет” (RU)
|
(54) ДИСКОВЫЙ НАСОС
(57) Реферат:
Изобретение предназначено для перемещения жидкости, в том числе содержащей крупные твердые включения. Дисковый насос содержит ведущий диск, к которому посредством стержней крепятся ведомые диски с центральными отверстиями. Диски снабжены магнитными элементами, которые расположены так, что в каждом междисковом зазоре магнитные элементы, принадлежащие смежным дискам, обращены навстречу друг другу одноименными полюсами. Ведомые диски установлены с возможностью перемещения вдоль стержней. Изобретение обеспечивает повышение эффективности работы дискового насоса за счет возможности пропускать через насос крупные твердые включения без уменьшения напора. 2 ил.
Изобретение предназначено для перемещения жидкости и может быть использовано в различных отраслях для перемещения жидкости, в том числе содержащей крупные твердые включения.
Известен дисковый насос, состоящий из размещенного в корпусе колеса, выполненного из нескольких тонких скрепленных между собой по периферии дисков, между которыми имеются небольшие зазоры для прохождения жидкости, и отводящего устройства (В.И.Мисюра, Б.В.Овсянников, В.Ф.Присняков. Дисковые насосы. – М.: Машиностроение, 1986, с.3-4). Конструкция этого дискового насоса позволяет обеспечить высокий напор, однако исключает возможность прохождения через насос крупных включений, что является недостатком.
Прототипом предлагаемого дискового насоса является насос для перекачивания жидкости с твердыми включениями крупных размеров (патент США №4335994). На приводном валу насоса крепится ведущий диск, к которому с помощью стержней крепятся ведомые диски с центральными отверстиями. Зазоры между дисками обеспечивают дистанционные втулки, причем диски установлены так, что узкие зазоры чередуются с широкими. Величина широких зазоров должна соответствовать размеру находящихся в жидкости твердых включений.
Недостатком этого насоса является низкий напор, так как установка дисков с широкими зазорами происходит за счет уменьшения количества дисков.
Задачей изобретения является повышение эффективности работы насоса за счет возможности пропускать крупные твердые включения без уменьшения напора.
Поставленная задача достигается тем, что диски снабжены магнитными элементами, которые расположены так, что в каждом междисковом зазоре магнитные элементы, принадлежащие смежным дискам, обращены навстречу друг другу одноименными полюсами, а ведомые диски устанавливаются с возможностью перемещения вдоль стержней.
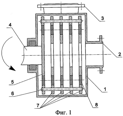
Сущность заявляемого решения поясняется чертежом, где представлена конструкция дискового насоса (Фиг.1).
Дисковый насос состоит из корпуса 1, снабженного штуцером 2 для подвода жидкости и штуцером 3 для отвода жидкости. На валу 4 закреплен ведущий диск 5, к которому посредством стержней 6 крепятся ведомые диски 7. На торцевых поверхностях смежных дисков устанавливают магнитные элементы 8 таким образом, что в каждом междисковом зазоре магнитные элементы, принадлежащие смежным дискам, обращены навстречу друг другу одноименными полюсами, а ведомые диски устанавливаются с возможностью перемещения вдоль стержней.
Дисковый насос работает следующим образом, жидкость поступает в корпус 1 через штуцер 2. При вращении вала 4, жидкость, находящаяся в зазорах между дисками 5 и 7, закручивается за счет сил трения и энергия от вращающихся дисков передается жидкости. Жидкость выводится из насоса через штуцер 3. Зазор между дисками обеспечивается установленными на торцевых поверхностях смежных дисков магнитными элементами 8.
В предлагаемой конструкции дискового насоса, содержащего ведущий диск, к которому посредством стержней крепятся ведомые диски с центральными отверстиями, ведомые диски устанавливаются с возможностью перемещения вдоль стержней, а на дисках устанавливают магнитные элементы таким образом, что в каждом междисковом зазоре магнитные элементы, принадлежащие смежным дискам, обращены навстречу друг другу одноименными полюсами, а ведомые диски устанавливаются с возможностью перемещения вдоль стержней.
Если в процессе работы насоса в него попадает частица с размером больше, чем расстояние между дисками, то она увлекается потоком жидкости в один из междисковых зазоров, где за счет возможности перемещения дисков вдоль стержней, преодолевая силы взаимодействия магнитных элементов, расстояние между дисками увеличивается и частица транспортируется к выходному штуцеру (Фиг.2).
После прохождения частицы под действием сил взаимодействия магнитных элементов диски устанавливаются в первоначальное положение.
Таким образом, прохождение через насос крупных твердых включений обеспечивается за счет кратковременного перераспределения междисковых зазоров.
Возможны различные схемы размещения магнитных элементов на дисках.
На Фиг.1 показана схема размещения магнитных элементов, в которой каждый магнитный элемент (кроме расположенных на крайних дисках) взаимодействует с одноименными полюсами магнитных элементов, расположенных слева и справа, образуя, например, следующую цепочку магнитных взаимодействий:

Также возможна установка магнитных элементов на торцевых поверхностях дисков:

Предлагаемая конструкция дискового насоса обладает простой конструкцией и сочетает в себе возможность обеспечить высокий напор, а также возможность перекачивать жидкость с крупными твердыми включениями.
Формула изобретения
Дисковый насос, содержащий ведущий диск, к которому посредством стержней крепятся ведомые диски с центральными отверстиями, отличающийся тем, что диски снабжены магнитными элементами, которые расположены так, что в каждом междисковом зазоре магнитные элементы, принадлежащие смежным дискам, обращены навстречу друг другу одноименными полюсами, а ведомые диски устанавливаются с возможностью перемещения вдоль стержней.
РИСУНКИ
MM4A – Досрочное прекращение действия патента СССР или патента Российской Федерации на изобретение из-за неуплаты в установленный срок пошлины за поддержание патента в силе
Дата прекращения действия патента: 12.04.2007
Извещение опубликовано: 20.07.2008 БИ: 20/2008
|
|