|
|
(21), (22) Заявка: 2005122110/06, 12.07.2005
(24) Дата начала отсчета срока действия патента:
12.07.2005
(46) Опубликовано: 10.10.2006
(56) Список документов, цитированных в отчете о поиске:
ЗАЙЦЕВ Ю.В. и др. Освоение и ремонт нефтяных и газовых скважин под давлением, Москва, Недра, 1982, с.168-169, рис.70. RU 2250350 C1, 20.04.2005. RU 2201529 С1, 27.03.2003. RU 2224086 C1, 20.02.2004. SU 252977 A, 25.11.1970. US 1596630 A, 17.08.1926. US 5137083 А, 11.08.1992. US 4099562 А, 11.07.1978.
Адрес для переписки:
423236, Республика Татарстан, г. Бугульма, ул. М. Джалиля, 32, “ТатНИПИнефть”, Сектор создания и развития промышленной собственности
|
(72) Автор(ы):
Валовский Владимир Михайлович (RU), Фадеев Владимир Гелиевич (RU), Валовский Константин Владимирович (RU), Басос Георгий Юрьевич (RU)
(73) Патентообладатель(и):
Открытое акционерное общество “Татнефть” им. В.Д. Шашина (RU)
|
(54) УСТРОЙСТВО ДЛЯ ГЕРМЕТИЗАЦИИ УСТЬЕВОГО ШТОКА СКВАЖИННОЙ ШТАНГОВОЙ НАСОСНОЙ УСТАНОВКИ
(57) Реферат:
Устройство предназначено для использования в нефтепромысловом оборудовании для герметизации устьевого штока скважинной штанговой насосной установки при работе с высоким устьевым давлением, в частности в процессе откачки воды в системе межскважинной перекачки для поддержания пластового давления при разработке нефтяных месторождений заводнением. Устройство содержит смонтированный на устьевой арматуре скважины корпус, три уплотнения, смонтированные последовательно в корпусе. Нижняя часть корпуса с первым и вторым снизу вверх уплотнениями со стороны высокого давления размещена в колонне труб, спущенных в скважину. Полость корпуса между этими уплотнениями сообщена с затрубным пространством колонны труб. Полость корпуса между вторым и третьим уплотнениями сообщена с дополнительным резервуаром для смазочной жидкости. Первое уплотнение может быть выполнено в виде плунжерной пары. Повышается надежность и упрощается обслуживание, поскольку первое уплотнение, выполненное в виде плунжерной пары, воспринимает основной перепад давления. Небольшая утечка через зазор плунжерной пары автоматически отводится обратно в скважину через каналы, соединяющие полость над первым уплотнением с межтрубным пространством, а второе контактное уплотнение, работающее под небольшим перепадом давления, постоянно смазывается из дополнительного резервуара достаточно большого объема смазочной жидкостью. Предотвращается замерзание воды в каналах в зимнее время. 1 з.п.ф-лы, 2 ил.
Изобретение относится к нефтепромысловому оборудованию и может быть использовано для герметизации устьевого штока скважинной штанговой насосной установки при работе с высоким устьевым давлением, в частности в процессе откачки воды в системе межскважинной перекачки для поддержания пластового давления (ППД) при разработке нефтяных месторождений заводнением.
Известен «Сальник устьевой» (Пат. RU №2118707, МПК F 04 В 47/00, Е 21 В 33/03. Опубл. Бюл. №25 от 10.09.98), содержащий верхний и нижний корпусы, камеру для смазки уплотнения для герметизации штока штангового насоса, выполненного в виде сальника, грундбуксу, обойму и пресс-масленку, при этом под сальником установлен обратный клапан, а в расточке нижнего корпуса между грундбуксой и нижней обоймой расположен пакер, поджимаемый винтами, уплотненными в корпусе, расположенными под углом к оси штока насоса.
Известный устьевой сальник имеет низкую надежность работы при высоком устьевом давлении в процессе откачки воды в системе межскважинной перекачки для поддержания пластового давления. При работе под большим перепадом давления контактные уплотнения быстро изнашиваются и возникает утечка воды в атмосферу, которая вымывает смазку из полостей между уплотнениями, в результате чего сальник быстро выходит из строя.
Наиболее близким по технической сущности к предлагаемому устройству является устройство для герметизации устьевого штока скважинной штанговой насосной установки, содержащее в смонтированном на устьевой арматуре скважины корпусе три уплотнения, установленные последовательно в корпусе, в котором первое со стороны высокого давления уплотнение выполнено с гидродинамической смазкой, второе уплотнение – контактного типа с дистанционным гидроуправлением, состоящее из нажимного элемента и полого поршня, а верхнее выполнено в виде упругого элемента, при этом после первого и второго уплотнения в корпусе выполнены соответственно нижний и верхний каналы для отвода утечек скважинной жидкости в сборную емкость (книга «Освоение и ремонт нефтяных и газовых скважин под давлением». Ю.В.Зайцев, А.А.Даниельянц, А.В.Круткин, А.В.Романов. – М.: «Недра», 1982. – Стр.168-169, рис.70).
Недостатком устройства является то, что оно имеет низкую надежность работы при высоком устьевом давлении в процессе откачки воды в системе межскважинной перекачки для поддержания пластового давления, особенно в зимнее время, когда вода замерзает в каналах отвода утечки и сборной емкости. Другой недостаток устройства – повышенная трудоемкость обслуживания (требуется сбор и последующая периодическая утилизация утечки, а также размораживание системы сбора утечки в зимнее время).
Техническая задача изобретения состоит в том, чтобы повысить надежность работы устройства при повышенном устьевом давлении и низких температурах при откачке из скважины воды и упростить его обслуживание.
Техническая задача решается устройством для герметизации устьевого штока скважинной штанговой насосной установки, содержащим смонтированный на устьевой арматуре скважины корпус и три уплотнения, смонтированные в корпусе последовательно.
Новым является то, что нижняя часть корпуса с первым и вторым снизу верх уплотнениями со стороны высокого давления размещена в колонне труб, спущенных в скважину, при этом полость корпуса между этими уплотнениями сообщена с затрубным пространством колонны труб, а полость корпуса между вторым и третьим уплотнениями сообщена с дополнительным резервуаром для смазочной жидкости.
Новым является также то, что первое уплотнение выполнено в виде плунжерной пары.
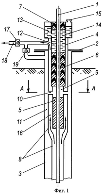
На Фиг.1 представлена принципиальная схема предлагаемого устройства.
На Фиг.2 изображен разрез А-А.
Устройство для герметизации устьевого штока 1 (см. Фиг.1) скважинной штанговой насосной установки (не показана) содержит смонтированный на устьевой арматуре 2 скважины 3 корпус 4, три уплотнения 5, 6 и 7, смонтированные последовательно в корпусе 4. Нижняя часть корпуса 4 с первым 5 и вторым 6 снизу верх уплотнениями со стороны высокого давления размещена в колонне труб 8, спущенных в скважину 3. Полость 9 корпуса 4 между этими уплотнениями 5 и 6 сообщена каналами 10 (см. Фиг.2) с затрубным пространством 11 (см. Фиг.1) колонны труб 8. Полость 12 корпуса 4 между вторым 6 и третьим 7 уплотнениями сообщена с дополнительным резервуаром 13 для смазочной жидкости каналами 14. При этом первое уплотнение 5 может быть выполнено в виде плунжерной пары. Пополнение смазочной жидкости в резервуаре 13 позволяет заправочная горловина 15. Для прохоция из скважины 3 (см. Фиг.1) поступает через обратный клапан 17 в выкидную линию 18. Для сброса газа из затрубного пространства 11 колонны труб 8 в устьевой арматуре 2 предусмотрено сообщение этого пространства 11 через обратный клапан 19 с выкидной линией 18 скважины 3.
Устройство работает следующим образом.
Предлагаемая конструкция крепится на устьевой арматуре 2 (Фиг.1) скважины 3. Скважинная насосная установка придает штоку 1 возвратно-поступательное перемещение вверх-вниз. При этом если первое уплотнение 5 жестко соединено с корпусом 4, то герметизация происходит по внутренней поверхности, взаимодействующей со штоком 1, а если оно выполнено в виде плунжерной пары, то оно жестко соединено со штоком 1 и герметизировано по наружной поверхности, взаимодействующей с корпусом 4. В ходе работы могут возникать незначительные неконтролируемые утечки первого уплотнения 5, которые из полости 9 по каналам 10 (Фиг.1 и 2) отводятся в затрубное пространство 11 (Фиг.1) колонны труб 8. В полости 12 между вторым 6 и третьим 7 уплотнениями находится смазочная жидкость, которая поступает по каналам 14 из резервуара 13, благодаря чему уменьшается трение между штоком 1 и уплотнениями 5, 6, 7 и уменьшается вероятность коррозии наружной поверхности штока 1. Продукция скважины 3 поднимается по колонне труб 8 и каналам 16, откуда она отбирается в выкидную линию через обратный клапан 17.
В ходе работы смазочную жидкость в резервуаре 13 пополняют через заправочную горловину 15. Скопленный газ в пространстве 11 из устьевой арматуры 2 через обратный клапан 19 сбрасывается в выкидную линию 18 до обратного клапана 17.
При работе с высоким устьевым давлением в процессе откачки воды в системе межскважинной перекачки для поддержания пластового давления устройство имеет повышенную надежность и упрощается его обслуживание, поскольку первое уплотнение, выполненное в виде плунжерной пары, воспринимает основной перепад давления, небольшая утечка через зазор плунжерной пары (необходимая для смазки пары) автоматически отводится обратно в скважину через каналы, соединяющие полость над первым уплотнением с межтрубным пространством, а второе контактное уплотнение, работающее под небольшим перепадом давления, постоянно смазывается из дополнительного резервуара достаточно большого объема смазочной жидкостью. Размещение первого уплотнения и каналов отвода утечки в скважине, в зоне омывания поднимаемой из скважины продукцией, имеющей плюсовую температуру, предотвращает замерзание воды в каналах в зимнее время.
Формула изобретения
1. Устройство для герметизации устьевого штока скважинной штанговой насосной установки, содержащее смонтированный на устьевой арматуре скважины корпус, три уплотнения, смонтированные последовательно в корпусе, отличающееся тем, что нижняя часть корпуса с первым и вторым снизу вверх уплотнениями со стороны высокого давления размещена в колонне труб, спущенных в скважину, при этом полость корпуса между этими уплотнениями сообщена с затрубным пространством колонны труб, а полость корпуса между вторым и третьим уплотнениями сообщена с дополнительным резервуаром для смазочной жидкости.
2. Устройство для герметизации устьевого штока скважинной штанговой насосной установки по п.1, отличающееся тем, что первое уплотнение выполнено в виде плунжерной пары.
РИСУНКИ
|
|