|
(21), (22) Заявка: 2003134827/06, 02.12.2003
(24) Дата начала отсчета срока действия патента:
02.12.2003
(46) Опубликовано: 10.10.2006
(56) Список документов, цитированных в отчете о поиске:
US 6584765 B1, 01.07.2003. GB 1081149 A, 31.08.1967. US 3517510 A, 30.01.1970. FR 2043647 A, 19.02.1971. FR 2149313 A, 30.03.1973. RU 2200864 C2, 20.03.2003. RU 2078974 C1, 10.05.1997.
Адрес для переписки:
117208, Москва, ул. Чертановская, 3, корп.2, кв.210, В.О. Соловьеву
|
(72) Автор(ы):
Гаранин Игорь Васильевич (RU), Соловьев Виктор Олегович (RU), Суслов Юрий Владимирович (RU)
(73) Патентообладатель(и):
Гаранин Игорь Васильевич (RU), Соловьев Виктор Олегович (RU), Суслов Юрий Владимирович (RU)
|
(54) СПОСОБ РАБОТЫ И УСТРОЙСТВО ЭНЕРГОСИЛОВОЙ ДЕТОНАЦИОННОЙ УСТАНОВКИ
(57) Реферат:
Способ работы энергосиловой детонационной установки включает в каждый рабочий цикл: впрыск в инициирующую детонационную трубу топлива, инициирование топлива с одного из торцов детонационной трубы, распространение вдоль детонационной трубы процесса горения с переходом в режим детонационного горения. После инициирования очередной порции топлива, благодаря геометрии и конструкции инициирующих детонационных труб и конусов, обеспечивается создание кумулятивной струи с зоной повышенного давления у днища камеры, что достигается синхронизацией истечения продуктов детонационного горения из нескольких детонационных труб или конусов и наложением зон повышенного давления, ориентированных относительно осевой линии камеры детонационной установки под углом от 0° до 90°. Изобретение направлено на повышение удельной мощности и кпд. 2 н. и 8 з.п. ф-лы, 33 ил.
Изобретение относится к области реактивного двигателестроения и электроэнергетики и позволяет повысить эффективность энергосиловых установок, используемых на летательных аппаратах и мобильных комплексах.
Известен способ работы и устройство пульсирующего генератора с периодическим инициированием порций топливной смеси, создающее силу тяги серией единичных импульсов, воздействующих на отражатель (днище полузамкнутой камеры в традиционном понимании), используемое в качестве пульсирующего двигателя [Пушкин Р.М., Тарасов А.И. Способ получения тяги и устройство для получения тяги. Патент СССР №1672933 от 22.04.91 г., с приоритетом от 30.11.89 г.; Антоненко В.Ф., Пушкин Р.М., Тарасов А.И. и др. Способ получения тяги и устройство для его осуществления. Патент Российской Федерации №2034996 от 10.05.95 г., с приоритетом от 11.10.93 г.].
По сравнению с предложенным изобретением данные разработки обладают следующими основными недостатками:
1) высоким разбросом непрореагировавшего топлива из-за вероятностного многолокального его воспламенения, в том числе и в зоне открытого торца отражателя (резонатора);
2) неоптимальной геометрией и конструкцией инициируемых зарядов (зон) топлива и отражателя (резонатора);
3) возможностью возникновения пульсаций в камере с частотой 5…7 кГц при холодной продувке воздухом и с частотой 20…25 кГц при подаче топливной смеси с давлениями на фронте волны, сопоставимыми с давлениями подачи в камеру исходных компонентов [Нечаев Ю.Н. Термодинамический анализ рабочего процесса пульсирующих детонационных двигателей. – М.: ВВИА, им. Н.Е.Жуковского, 2002, 52 с.(см. стр.20-21)], свидетельствует не о режиме детонационного горения, а о неустойчивых режимах, возникающих в жидкостных ракетных двигателях, в том числе и при горении топливной смеси [Неустойчивость горения в ЖРД. Под редакцией Д.Т.Харрье и Ф.Г.Рирдона. – М.: Мир, 1975, 869 с.].
Для предлагаемого изобретения ближайшим техническим решением является детонационный двигатель с ротационной камерой сгорания [Richard В. Morrison, Ann Arbor, Perry O. Hays. Rotary Detonation Power Plant. United States Patent Office №3240010, patented Mar.15,1966. Filed Feb. 2, 1962, Ser. №86,714,5 Claims (Cl. 60-213); Денисов Ю.Н. Газодинамика детонационных структур. – М.: Машиностроение, 1989, 176 с. (см. стр.33)].
Способ работы и устройство детонационного двигателя с ротационной камерой сгорания [Richard В. Morrison, Ann Arbor, Perry O. Hays. Rotary Detonation Power Plant. United States Patent Office №3240010, patented Mar. 15, 1966. Filed Feb. 2, 1962, Ser. №86,714,5 Claims (Cl. 60-213); Денисов Ю.Н. Газодинамика детонационных структур. – М.: Машиностроение, 1989, 176 с. (см. стр.33)] имеет с предлагаемым изобретением ряд общих признаков, изложенных ниже.
Каждой рабочий цикл способа работы двигателя включает в себя:
– впрыск в инициирующую детонационную трубу топлива;
– инициирование топлива с одного из торцов трубы;
– распространение вдоль трубы процесса горения с переходом в режим детонационного горения;
– догорание топлива в косых и поперечных волнах при спиновой детонации при изменении вектора истечения продуктов реакции;
– взаимодействие ударной волны с днищем камеры энергосиловой установки;
– отражение ударной волны от днища камеры и истечение ударной волны и газов через открытый канал энергосиловой установки.
Двигатель включает в себя:
– инициирующую детонационную трубу;
– средство инициирования;
– инициируемое химическое топливо;
– полузамкнутую камеру.
Однако конструкция этого двигателя и способ его работы [Richard В. Morrison, Ann Arbor, Perry O. Hays. Rotary Detonation Power Plant. United States Patent Office №3240010, patented Mar. 15, 1966. Filed Feb. 2, 1962, Ser. №86,714,5 Claims (Cl. 60-213); Денисов Ю.Н. Газодинамика детонационных структур. – М.: Машиностроение, 1989, 176 с. (см. стр.33)] не позволяют реализовать высокие потенциальные возможности данного класса энергосиловых установок, что обусловлено недостаточно высокими давлениями, развиваемыми на днище полузамкнутой камеры двигателя.
Технической задачей данного изобретения является обеспечение более высоких удельных мощностей и импульсов (коэффициента полезного действия) по сравнению с известными энергосиловыми установками данного класса, а также расширение областей их применения.
Это достигается за счет того, что в способах работы энергосиловой детонационной установки обеспечивается повышение:
1) давления на днище полузамкнутой камеры за счет создания:
Это достигается за счет того, что в способе работы энергосиловой детонационной установки, включающей в каждый рабочий цикл: впрыск в инициирующую детонационную трубу топлива, инициирование топлива с одного из торцов детонационной трубы, распространение вдоль детонационной трубы процесса горения с переходом в режим детонационного горения, согласно изобретению после инициирования очередной порции топлива, благодаря геометрии и конструкции инициирующих детонационных труб и конусов, обеспечивается создание кумулятивной струи с зоной повышенного давления у днища камеры, эффект достигается синхронизацией истечения продуктов детонационного горения из нескольких детонационных труб или конусов и наложением зон повышенного давления, ориентированных относительно осевой линии камеры детонационной установки под углом от 0° до 90°.
Поставленная задача решается также за счет того, что на днище камеры происходит синхронное или асинхронное истечение кумулятивных струй из нескольких детонационных пакетов.
Поставленная задача решается также за счет того, что на днище камеры и на удалении от днища камеры происходит синхронное или асинхронное истечение кумулятивных струй из детонационных пакетов нескольких поясов, причем отраженные от днища продукты детонационного горения после взаимодействия с кумулятивными струями или продуктами их расширения, находящимися на удалении от днища камеры (отражателя), образуют фазу двойного отражения, ударная волна и прореагировавшие газы вторично воздействуют на днище камеры, отражаются от него и совместно с продуктами расширения кумулятивных струй, истекающих на удалении от днища камеры под углом к осевой линии от 0° до 180°, выбрасываются в окружающую среду.
Поставленная задача решается также за счет того, что ударная волна и прореагировавшие газы после завершения фазы первого двойного отражения вторично воздействуют на кумулятивные струи или продукты их расширения, находящиеся на удалении от днища камеры, отражаются от них и воздействуют на днище камеры, причем количество фаз двойных отражений составляет от 2 до 7 и возрастает с увеличением плотности энергии продуктов детонационного горения в камере.
Поставленная задача решается также за счет того, что увеличение скорости истечения продуктов детонационного горения из детонационных пакетов достигается использованием зон разряжения, следующих за ударной волной, продуктов детонационного горения перед ударными волнами последующих детонационных импульсов, эффект обеспечивается диапазоном частот v инициирования топливной смеси:
(DK/lK)(DK+vK)/lK![]()
где DK и vK – скорости, соответственно, ударной волны и волны разряжения, распространяющиеся в к-ой детонационной трубе или конусе длиной 1K.
Поставленная задача решается также за счет того, что в энергосиловой детонационной установке, где каждая детонационная труба открыта с одного торца и оснащена с закрытого торца системой для порционной подачи топливной смеси, пультом управления частотой инициирования смеси и узлом для ее воспламенения, согласно изобретению детонационные трубы или конуса объединены в пакет, образующий с открытого торца кумулятивный контур с углом полураствора к осевой линии пакета от 0° до 90°, а также оснащенный системой синхронизации истечения продуктов детонации из пакета в целом на днище камеры энергосиловой установки.
Поставленная задача решается также за счет того, что синхронизация истечения продуктов детонационного горения с открытого торца детонационного пакета в целом достигается синхронным инициированием топлива в каждой детонационной трубе пакета при одинаковой шероховатости внутренней поверхности, конструкции и геометрии всех детонационных труб.
Поставленная задача решается также за счет того, что синхронизация истечения продуктов детонации с открытого торца из пакета в целом достигается инициированием топлива в общей камере, расположенной с противоположного торца пакета, или асинхронным инициированием в детонационных трубах или конусах пакета с учетом расхождения в шероховатости их поверхности и конструктивных вкладышей, а также их геометрических параметров.
Поставленная задача решается также за счет того, что для образования кумулятивной струи продуктами детонационного горения, истекающими из составляющих детонационный пакет труб или конусов, асинхронность не должна превышать
0 tK-t0 l0/(DK-D0),
где: t0, tK – время прохождения ударной волны вдоль трубы или конуса, находящихся на осевой линии пакета и к-ой детонационной трубы или конуса,
l0 – длина детонационной трубы или образующей конуса, находящихся на осевой линии пакета;
D0, DK – скорость истечения ударной волны с открытого торца детонационной трубы, находящейся на осевой линии пакета и к-ой детонационной трубы или конуса.
Поставленная задача решается также за счет того, что полузамкнутая камера оснащена набором пакетов детонационных труб, расположенных по периметру камеры и ее длине.
Это достигается за счет того, что в способе работы энергосиловой детонационной установки обеспечивается повышение:
1) давления на днище полузамкнутой камеры за счет создания:
– кумулятивной струи при синхронном соударении продуктов детонационного горения, истекающих из детонационных труб или конусов, составляющих детонационный пакет;
– кумулятивной струи или струй при синхронном соударении продуктов детонационного горения, истекающих из нескольких детонационных пакетов, друг с другом, а также с днищем полузамкнутой камеры;
– ударной волны (воздействующей на кумулятивные струи непосредственно истекающие на днище камеры), являющейся следствием или расширения кумулятивных струй (истекающих вне зоны прямого воздействия на днище камеры), которые могут истекать под углом к осевой линии камеры от 0° до 180°, или отражения ударной волны от днища камеры, или от днища камеры и кумулятивных струй, истекающих вне зоны прямого воздействия на днище камеры, а также продуктов их расширения (донные процессы могут реализовываться как при синхронном, так и асинхронном истечении кумулятивных струй из нескольких детонационных пакетов);
2) управляемой частоты импульсов в полузамкнутой камере за счет:
– увеличения числа детонационных пакетов и обеспечения асинхронного истечения из них кумулятивных струй;
– увеличения скорости истечения продуктов детонационного горения из пакетов детонационных труб за счет использования зон разряжения продуктов детонационного горения перед детонационными волнами последующих импульсов;
– сокращения временного интервала от момента инициирования топлива до момента перехода в режим детонационного горения за счет конструктивных особенностей детонационных труб и конусов, а также соударения продуктов горения, истекающих из них;
3) полезной энергоотдачи газодинамического процесса за счет реализации:
– фазы двойного отражения (ударная волна отражается от кумулятивных струй или продуктов их расширения i-го пояса и вторично воздействует на днище полузамкнутой камеры);
– фазы первого двойного отражения, вторично воздействующей на кумулятивные струи и продукты их расширения i-го пояса, отражающейся от них и воздействующей на днище полузамкнутой камеры или кумулятивные струи и продукты их расширения (i-1)-го пояса, причем количество фаз двойных отражений может меняться от 2 до 7 раз и возрастает с увеличением плотности энергии продуктов расширения кумулятивных струй в полузамкнутой камере.
Конструктивно заявленный способ реализуется путем того, что в энергосиловой детонационной установке:
1) повышение давления обеспечивается за счет формирования кумулятивной струи при соударении продуктов детонационного горения под углом к осевой линии пакета детонационных труб от 0°  90°, причем образующая кумулятивной полости может быть выполнена различной формы (конус или криволинейная поверхность), а также расположением пакетов детонационных труб поясами по длине камеры энергосиловой установки;
2) сокращение временного интервала от момента воспламенения топлива до момента перехода в режим детонационного горения регулируется мощностью начального импульса, шероховатостью внутренней поверхности детонационной трубы и ее геометрическими характеристиками;
3) использование фаз двойных отражений ударных волн обеспечивается за счет:
– использования i-го количества поясов, оснащенных набором детонационных пакетов, крепящихся под углом 0° i<180° к продольной осевой линии полузамкнутой камеры;
– управления процессами истечения кумулятивных струй из детонационных пакетов (в синхронных и асинхронных режимах).
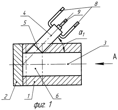
На фиг.1 представлен продольный разрез энергосиловой детонационной установки, оснащенной одним детонационным пакетом, а на фиг.2 и 3 – возможное исполнение полузамкнутой камеры данной установки с ее открытого торца (Вид А).
На фиг.4 представлен продольный разрез энергосиловой детонационной установки, оснащенной набором детонационных пакетов, расположенных по периметру полузамкнутой камеры, а на фиг.5 и 6 – возможное исполнение полузамкнутой камеры данной установки с ее открытого торца (Вид А).
На фиг.7 представлен продольный разрез энергосиловой детонационной установки, оснащенной набором детонационных пакетов, расположенных по периметру и длине полузамкнутой камеры.
На фиг.8-11 представлены возможные виды конструкций детонационных пакетов с системой подачи и инициирования топливной смеси, которыми оснащаются энергосиловые детонационные установки.
На фиг.8 представлен продольный разрез детонационного пакета, состоящего из набора прямых детонационных труб различного сечения, оснащенных вкладышами и имеющих общую камеру для воспламенения топливной смеси, а на фиг.9-11 – возможное исполнение детонационного пакета с его открытого торца (Вид А).
На фиг.12 представлен продольный разрез детонационного пакета, состоящего из набора прямых и профилированных (изогнутых) детонационных труб различного сечения, оснащенных общей камерой для воспламенения топливной смеси, а на фиг.13-15 – возможное исполнение детонационного пакета с его открытого торца (Вид А).
На фиг.16 представлен продольный разрез детонационного пакета, состоящего из набора конусов различного сечения и имеющих общую камеру для воспламенения топливной смеси, а на фиг.17 и 18 – возможное исполнение детонационного пакета с его открытого торца (Вид А).
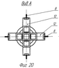
На фиг.19 представлен продольный разрез детонационного пакета, состоящего из набора прямых детонационных труб различного сечения, оснащенных раздельными камерами для воспламенения топливной смеси, а на фиг.20 и 21 – возможное исполнение детонационного пакета с его открытого торца (Вид А).
На фиг.22-33 представлены фрагменты способа работы энергосиловой детонационной установки.
Одномодульная энергосиловая детонационная установка (фиг.1-6) состоит из трубы различного сечения 1 (фиг.2, фиг.3, фиг.5, фиг.6), заглушенной с одного торца днищем (отражателем) 2. Внутренний полузамкнутый объем данной конструкции является камерой 3 энергосиловой установки. Под углом 0°  90° к продольной осевой линии камеры 3 по периметру трубы 1 крепится детонационный пакет 4, направленный своей открытой поверхностью 5 в сторону днища 2 (фиг.1-3), или набор детонационных пакетов 4, образующих по периметру трубы условный пояс 6 (фиг.4-6).
Многомодульная энергосиловая детонационная установка (фиг.7) имеет аналогичную конструкцию до первого пояса 6 включительно. Отличием является наличие i-го количества поясов 7, где детонационные пакеты 4 крепятся под углом 0° i<180° к продольной осевой линии изделия. Детонационные пакеты оснащены трубопроводом 8 для подачи топливной смеси и источником ее инициирования, например свечой 9 (фиг.1-7).
Более подробное возможное исполнение детонационных пакетов 4 показано на фиг.8-21. На фиг.8 представлен продольный разрез детонационного пакета 4, состоящего из набора прямых детонационных труб различного сечения 13, оснащенных вкладышами 22 и имеющих общую камеру 11 со свечей (свечами) 9 для воспламенения топливной смеси, а на фиг.9-11 – возможное исполнение детонационного пакета 4 данной конструкции с его открытого торца (Вид А). Кроме того, детонационный пакет 4 (фиг.8) оснащен форсунками распыла компонентов топливной смеси или клапанами подачи готовой топливной смеси 10 в общую камеру 11. При этом центральная осевая линия вкладышей 22 направлена к центральной осевой линии детонационных труб 13 под углом 0°  90°.
На фиг.12 представлен продольный разрез детонационного пакета 4, состоящего из набора криволинейных детонационных труб, расположенных по периметру прямой детонационной трубы различного сечения 13 и имеющих общую камеру 11 со свечой (свечами) 9 для воспламенения топливной смеси, а на фиг.13-15 возможное исполнение детонационного пакета 4 данной конструкции с его открытого торца (Вид А). Кроме того, детонационный пакет 4 (фиг.12) оснащен форсунками распыла компонентов топливной смеси или клапанами подачи готовой топливной смеси 10 в общую камеру 11. При этом центральная осевая линия криволинейных детонационных труб 13 с их открытого торца направлена к центральной осевой линии детонационного пакета 4 под углом 0°  90°.
На фиг.16 представлен продольный разрез детонационного пакета 4 состоящего из набора вложенных друг в друга конусов различного сечения 14 и имеющих общую камеру 11 со свечой (свечами) 9 для воспламенения топливной смеси, а на фиг.17 и фиг.18 – возможное исполнение детонационного пакета 4 данной конструкции с его открытого торца (Вид А). Кроме того, детонационный пакет 4 (фиг.16) оснащен форсунками распыла компонентов топливной смеси или клапанами подачи готовой топливной смеси 10 в общую камеру 11. При этом центральная осевая линия камеры 11, расположенной между вложенными друг в друга конусами различного сечения 14, направлена к центральной осевой линии детонационного пакета 4 под углом 0°  90°.
На фиг.19 представлен продольный разрез детонационного пакета 4 состоящего из набора прямолинейных детонационных труб различного сечения 13, имеющих раздельные камеры 12, оснащенные свечами 9 для воспламенения топливной смеси, а на фиг.20 и 21 возможное исполнение детонационного пакета 4 данной конструкции с его открытого торца (Вид А). Кроме того, детонационный пакет 4 (фиг.19) оснащен форсунками распыла компонентов топливной смеси или клапанами подачи готовой топливной смеси 10 в раздельные камеры-трубы 12. При этом центральные осевые линии детонационных труб 12 направлены к центральной осевой линии детонационного пакета 4 (и центральной детонационной трубе 12) под углом 0°  90°.
Основной принцип работы детонационных пакетов 4 различной конструкции (фиг.8-21) заключается в раздельной или совместной подаче топливной смеси через форсунки распыла или клапаны 10 в общую камеру 11 или раздельную камеру 12 и воспламенение топливной смеси, например, при помощи свечи 9, при этом продукты горения, распространяясь в детонационных трубах 12 и 13, а также в межконусном пространстве 14, переходят в режим детонационного горения. Поскольку конструкции детонационных пакетов 4 (фиг.8-21) выполнены таким образом, что при истечении с их открытой поверхности 5 (фиг.1) продукты детонационного горения соударяются под углом 0°  90°, образуется кумулятивная струя, позволяющая на один или два порядка поднять давление в ее эпицентре по сравнению с давлением детонационного горения. При этом время асинхронного истечения продуктов детонационного горения из детонационных труб 12, 13 или совмещенных конусов 14 детонационного пакета 4 (с их открытой поверхности 5), не должно превышать
0 tK-t0 l0/(DK-D0)
где: t0, tK – время прохождения ударной волны вдоль трубы 12, 13 или конуса 14, находящихся на осевой линии пакета 4 и к-ой детонационной трубы 12, 13 или конуса 14, находящихся на удалении от осевой линии; l0 – длина детонационной трубы 12, 13 или образующей конуса 14, находящихся на осевой линии пакета 4; D0, DK – скорость истечения ударной волны с открытого торца детонационной трубы 12, 13 или конуса 14, находящихся на осевой линии пакета 4 или на удалении от нее.
Увеличение скорости истечения продуктов детонационного горения из детонационных пакетов 4 достигается использованием зон разряжения, следующих за ударной волной, продуктов детонационного горения перед ударными волнами последующих детонационных импульсов; эффект обеспечивается диапазоном частот инициирования топливной смеси
(DK/lK)< (DK+vK)/lK,
где: DK и vK – скорости, соответственно, ударной волны и волны разряжения, распространяющиеся в к-той детонационной трубе или конусе длиной lK.
Способ работы многоцелевой энергосиловой детонационной установки демонстрируется на фиг.22-33.
На фиг.22-25 показан способ работы энергосиловой детонационной установки, оснащенной одним детонационным пакетом 4, расположенным в первом поясе 6 за один рабочий цикл. На фиг.22 показан момент истечения кумулятивной струи 15 на днище 2 полузамкнутой камеры 3 из одного детонационного пакета 4. На фиг.23 показано отражение ударной волны 16 и расширяющихся газов 17 от днища 2 полузамкнутой камеры 3. На фиг.24 показано расширение газов 17 и движение ударной волны 16 вдоль трубы 1 полузамкнутой камеры 3. На фиг.25 показана энергосиловая детонационная установка после полного завершения рабочего цикла.
На фиг.26-29 показан способ работы энергосиловой детонационной установки, оснащенной набором детонационных пакетов 4, расположенных в первом поясе 6, за один рабочий цикл при синхронном истечении кумулятивных струй 15. На фиг.26 показан момент истечения кумулятивных струй 15 на днище 2 полузамкнутой камеры 3 из нескольких детонационных пакетов 4. На фиг.27 показано отражение ударной волны 16 и расширяющихся газов 17 от днища 2 полузамкнутой камеры 3. На фиг.28 показано расширение газов 17 и движение ударной волны 16 вдоль трубы 1 полузамкнутой камеры 3. На фиг.29 показана энергосиловая детонационная установка после полного завершения рабочего цикла. При этом истечение детонационных струй из нескольких детонационных пакетов 4 может происходить как синхронно, так и асинхронно.
Время воздействия положительного импульса определяется временем повышенного давления, воздействующего на днище 2. Отраженная от днища 2 ударная волна 16 движется к открытому торцу камеры 3 и истекает из нее вместе с расширяющимися газами 17. При этом, если длина камеры будет превышать некоторую величину, данная величина определяется объемом камеры и массой зарядов, задействованной в импульсе первого пояса 6, то за ударной волной, воздействующей на днище 2, будет воздействовать волна разряжения, что уменьшает единичный суммарный импульс. Отраженную фазу импульса можно исключить, используя короткую камеру 3 или увеличивая частоту импульсов пакетов детонационных труб 4 первого пояса 6. Такой способ позволяет более чем на порядок поднять импульсное давление на днище 2 камер 3 по сравнению с детонационным горением известных способов, а следовательно, существенно увеличить КПД данных устройств. Однако истекающие из камеры 3 ударная отраженная волна 16 и газы 17 имеют большой запас энергии (более 60% от начального запаса внутренней энергии).
На фиг.30-33 показан способ работы энергосиловой детонационной установки оснащенной несколькими поясами детонационных пакетов. Для дополнительного отбора данной энергии предлагается удлинить камеру 3, снабдив ее дополнительным количеством поясов 7 пакетов детонационных труб 4, которые кумулятивными струями 15 будут экранировать мощную отраженную волну 16 и поджимать истекающие газы 17, повторно возвращая данную ударную волну 19, усилив ее импульсами кумулятивных струй 15 i-х поясов 7 на днище 2 камеры 3. При этом часть энергии от кумулятивных струй 15 i-го пояса 7 в виде ударной волны 20 и расширяющихся газов 21 выбрасывается через открытое отверстие камеры 3, дополнительно отбрасывая присоединенную массу окружающей среды. Для повышения КПД многомодульной энергосиловой установки последующие импульсы i-х поясов имеют последовательно меньшие импульсы (на величину передаваемого импульса днищу 2 камеры 3). Кроме того, наличие i-х числа поясов позволяют гибко регулировать режимы работы энергосиловых установок.
На фиг.30 показано истечение кумулятивных струй 15 на днище 2 полузамкнутой камеры 3 из нескольких детонационных пакетов 4, расположенных в первом поясе 6.
На фиг.31 показано отражение ударной волны 16 и движение ее вдоль трубы 1 полузамкнутой камеры 3 вместе с расширяющимися газами 17.
На фиг.32 показано взаимодействие отраженной ударной волны 16 и расширяющихся газов 17 с кумулятивными струями (или продуктами их расширения) 15, истекающих из детонационных пакетов 4 i-го пояса 7, расположенных на удалении от днища камеры 2.
На фиг.33 показано образование фазы отражения ударной волны 19 и поджатие расширяющихся газов 17, после взаимодействия с кумулятивными струями 15 (фиг.32), истекающих из детонационного пакета 4 i-го пояса 7, и их расширения, с образованием ударной волны 19 и 20 и расширяющихся газов 21, с образованием фазы двойного отражения – вторичного воздействия ударной волны 19 и поджатых газов 17 на днище 2 полузамкнутой камеры 3. Для большей эффективности энергосиловой установки (увеличения КПД, мощности) количество фаз двойных отражений может составлять от 2 до 7 раз и возрастает с увеличением плотности энергии продуктов детонационного горения в камере 3, а угол истечения кумулятивных струй из детонационных пакетов 4 i-го пояса 7 может изменяться от 0° до 180° к осевой линии полузамкнутой камеры 3.
Продукты расширения кумулятивных струй, истекающие в окружающую среду совместно с захваченной присоединенной массой, в соответствии с законом сохранения импульса, создают силу тяги или при истечении на рабочее колесо турбины могут совершать полезную работу, например, для производства электроэнергии.
Формула изобретения
1. Способ работы энергосиловой детонационной установки включает в каждый рабочий цикл: впрыск в инициирующую детонационную трубу топлива, инициирование топлива с одного из торцов детонационной трубы, распространение вдоль детонационной трубы процесса горения с переходом в режим детонационного горения, отличающийся тем, что после инициирования очередной порции топлива, благодаря геометрии и конструкции инициирующих детонационных труб и конусов, объединенных в пакет, обеспечивается создание кумулятивной струи с зоной повышенного давления у днища камеры; эффект достигается синхронизацией истечения продуктов детонационного горения из нескольких детонационных труб или конусов и наложением зон повышенного давления, ориентированных относительно осевой линии камер детонационной установки под углом от 0 до 90°.
2. Способ работы энергосиловой детонационной установки по п.1, отличающийся тем, что на днище камеры происходит синхронное или асинхронное истечение кумулятивных струй из нескольких детонационных пакетов.
3. Способ работы энергосиловой детонационной установки по п.1, отличающийся тем, что на днище камеры и на удалении от днища камеры происходит синхронное или асинхронное истечение кумулятивных струй из детонационных пакетов нескольких поясов, причем отраженные от днища продукты детонационного горения после взаимодействия с кумулятивными струями или продуктами их расширения, находящимися на удалении от днища камеры (отражателя), образуют фазу двойного отражения, ударная волна и прореагировавшие газы вторично воздействуют на днище камеры, отражаются от него и совместно с продуктами расширения кумулятивных струй, истекающих на удалении от днища камеры под углом к осевой линии от 0 до 180°, выбрасываются в окружающую среду.
4. Способ работы энергосиловой детонационной установки по п.3, отличающийся тем, что ударная волна и прореагировавшие газы после завершения фазы первого двойного отражения вторично воздействуют на кумулятивные струи или продукты их расширения, находящиеся на удалении от днища камеры, отражаются от них и воздействуют на днище камеры, причем количество фаз двойных отражений составляет от 2 до 7 и возрастает с увеличением плотности энергии продуктов детонационного горения в камере.
5. Способ работы энергосиловой детонационной установки по любому из пп.1-4, отличающийся тем, что увеличение скорости истечения продуктов детонационного горения из детонационных пакетов достигается использованием зон разрежения, следующих за ударной волной продуктов детонационного горения перед ударными волнами последующих детонационных импульсов, эффект обеспечивается диапазоном частот v инициирования топливной смеси:
(DK/lK)(DK+vK)/lK,![]()
где DK и vK – скорости соответственно ударной волны и волны разрежения, распространяющиеся в к-й детонационной трубе или конусе длиной lK.
6. Энергосиловая детонационная установка, где каждая детонационная труба открыта с одного торца и оснащена с закрытого торца системой для порционной подачи топливной смеси, пультом управления частотой инициирования смеси и узлом для ее воспламенения, отличающаяся тем, что детонационные трубы или конусом объединены в пакет, образующий с открытого торца кумулятивный контур с углом полураствора к осевой линии пакета от 0 до 90°, а также оснащенный системой синхронизации истечения продуктов детонации из пакета в целом на днище камеры энергосиловой установки.
7. Энергосиловая детонационная установка по п.6, отличающаяся тем, что синхронизация истечения продуктов детонационного горения с открытого торца детонационного пакета в целом достигается синхронным инициированием топлива в каждой детонационной трубе пакета при одинаковых шероховатости внутренней поверхности, конструкции и геометрии всех детонационных труб.
8. Энергосиловая детонационная установка по п.6, отличающаяся тем, что синхронизация истечения продуктов детонационного горения с открытого торца из пакета в целом достигается инициированием топлива в общей камере, расположенной с противоположного торца пакета, или асинхронным инициированием в детонационных трубах или конусах пакета с учетом расхождения в шероховатости их поверхности и конструктивных вкладышей, а также их геометрических параметров.
9. Энергосиловая детонационная установка по п.6 или 8, отличающаяся тем, что для образования кумулятивной струи продуктами детонационного горения, истекающими из составляющих детонационный пакет труб или конусов, асинхронность их истечения не должно превышать
0 tK-t0 l0/(DK-D0),
где t0, lK – время прохождения ударной волны вдоль трубы или конуса, находящихся на осевой линии пакета и к-й детонационной трубы или конуса,
l0 – длина детонационной трубы или образующей конуса, находящихся на осевой линии пакета;
D0, DK – скорость истечения ударной волны с открытого торца детонационной трубы или конуса, находящихся на осевой линии пакета и к-й детонационной трубы или конуса.
10. Энергосиловая детонационная установка по любому из пп.6-8, отличающаяся тем, что полузамкнутая камера оснащена набором детонационных пакетов, расположенных по периметру камеры и ее длине.
РИСУНКИ
MM4A – Досрочное прекращение действия патента СССР или патента Российской Федерации на изобретение из-за неуплаты в установленный срок пошлины за поддержание патента в силе
Дата прекращения действия патента: 03.12.2007
Извещение опубликовано: 27.07.2009 БИ: 21/2009
|