|
|
(21), (22) Заявка: 2003126172/03, 18.01.2002
(24) Дата начала отсчета срока действия патента:
18.01.2002
(30) Конвенционный приоритет:
24.01.2001 (пп.1-54) US 09/769,098
(43) Дата публикации заявки: 10.03.2005
(46) Опубликовано: 10.10.2006
(56) Список документов, цитированных в отчете о поиске:
WO 00/31376 А2, 02.06.2000. SU 750108 А, 29.07.1980. SU 1448078 А1, 30.12.1988. US 5785133 А, 28.07.1998. US 6050335 А, 18.04.2000. КАЛИНИН А.Г. и др. Бурение наклонных и горизонтальных скважин. – М.: Недра, 1997, с.148-160.
(85) Дата перевода заявки PCT на национальную фазу:
25.08.2003
(86) Заявка PCT:
US 02/01325 (18.01.2002)
(87) Публикация PCT:
WO 02/059455 (01.08.2002)
Адрес для переписки:
109028, Москва, Б.Николоворобинский пер., 10-5, Юридическая фирма “Жигачев и Христофоров”, пат.пов. Н.А.Рыбиной, рег.№ 508
|
(72) Автор(ы):
ЗУПАНИК Джозеф А. (US)
(73) Патентообладатель(и):
СиДиэКС ГЭС Л.Л.К. (US)
|
(54) СПОСОБ (ВАРИАНТЫ) И СИСТЕМА (ВАРИАНТЫ) ДЛЯ ОБЕСПЕЧЕНИЯ ДОСТУПА К ПОДЗЕМНОЙ ЗОНЕ И ПОДЗЕМНАЯ СЕТЬ ДРЕНАЖНЫХ СКВАЖИН ДЛЯ ДОСТИЖЕНИЯ ЗАДАННОЙ ОБЛАСТИ ПОДЗЕМНОЙ ЗОНЫ
(57) Реферат:
Изобретение относится к области подземных исследований и бурению. Подземная сеть включает дренажные скважины, первую скважину, простирающуюся от пробуренной с поверхности скважины, в основном – от начала участка подземных работ, до дальнего конца участка. Сеть включает множество боковых скважин, простирающихся в направлении от первой скважины. Расстояние от забоя боковой скважины до пробуренной с поверхности скважины может быть подобрано так, чтобы оно было, в основном, равным для каждой из боковых скважин с целью облегчения формирования боковых скважин. Система и способ также могут включать объединение двух или более сетей дренажных скважин в границах подземной зоны с целью обеспечения равномерного покрытия площади подземной зоны. Система и способ дополнительно могут включать множество сообщающихся сетей дренажных скважин, связанных с общей, пробуренной с поверхности скважиной, с целью сокращения площади поверхностного участка, необходимого для обеспечения доступа к подземной зоне. 8 н. и 46 з.п. ф-лы, 11 ил.
ОБЛАСТЬ ТЕХНИКИ, К КОТОРОЙ ОТНОСИТСЯ ИЗОБРЕТЕНИЕ
Настоящее изобретение в целом относится к области подземных исследований и бурению и, в частности, к способу и системе для усовершенствованного доступа к подземной зоне.
ПРЕДПОСЫЛКИ К СОЗДАНИЮ ИЗОБРЕТЕНИЯ
Подземные месторождения угля, независимо от того, являются ли они месторождениями «твердого» угля, например антрацита, или «мягкого» угля, например бурого угля, содержат значительное количество метана. В течение многих лет добыча и использование метана из угольных месторождений велась в ограниченных объемах. Расширению разработки и использованию месторождений метана в угольных пластах препятствовали существенные трудности. Основная проблема в области добычи метана из угольных пластов заключается в том, что, занимая обширные площади (до нескольких тысяч акров), они имеют сравнительно небольшую мощность – в интервале от нескольких дюймов до нескольких метров. Таким образом, несмотря на то что нередко угольные пласты залегают на относительно небольшой глубине от поверхности земли, вертикальные скважины, пробуренные в толще угольных месторождений для добычи метана, обеспечивают дренирование лишь незначительной площади прилегающих к скважине угольных отложений. Кроме того, угольные отложения не поддаются разрыву под давлением и иным способам, нередко используемым для увеличения объемов добычи метана из формаций горных пород. В результате после завершения технологически нетрудоемкой добычи газа, отводимого из угольного пласта через вертикальные скважины, в дальнейшем происходит сокращение объема добычи газа. Кроме того, угольным месторождениям нередко сопутствуют подземные воды, и для обеспечения добычи метана возникает необходимость их отведения из угольного пласта. Для извлечения газа из угольных пластов предпринимались попытки разместить в толще угольных отложений систему горизонтальных скважин.
В международной заявке WO 00/31376, изобретатель Зупаник описывает способ и систему для достижения с поверхности залежей подземных ископаемых. Этот способ и система включают сочлененную скважину, которая пересекает скважину с горизонтальной полостью. Дренажная система обеспечивает доступ к большой подземной зоне с поверхности, а вертикальная скважина с полостью позволяет эффективно удалять или перерабатывать увлекаемую воду, углеводороды и другие ископаемые.
Однако применение технологии традиционного горизонтального бурения вынуждает использовать криволинейные скважины, что создает трудности при удалении заключенной в угольном пласте воды. Наиболее эффективный способ откачки подземных вод, предусматривающий использование штангового насоса, оказывается малоэффективным в скважинах с горизонтальным или криволинейным стволом.
Кроме того, использование известных методов для проведения буровых работ обычно требует большой и ровной горизонтальной поверхности. Вследствие этого известные способы не могут быть использованы в Аппалачских горах и другой сильно пересеченной местности, где самым большим по площади ровным участком может быть лишь широкое шоссе. Поэтому приходится применять менее эффективные способы, ведущие к росту производственных издержек и, как следствие, к увеличению расходов, связанных с дегазацией угольного пласта.
КРАТКОЕ ОПИСАНИЕ ИЗОБРЕТЕНИЯ
В настоящем изобретении предлагается способ и система для обеспечения доступа к подземной зоне с ограниченного по площади участка поверхности, обеспечивающие существенное устранение или сокращение недостатков и проблем, присущих известным системам и способам. В частности, скважина, сочлененная с сетью дренажных скважин в подземном пласте, простирающихся к пустотам в источнике полезного ископаемого, соединяет эти полости с сетью дренажных скважин в пласте. Сети дренажных скважин обеспечивают доступ к большой подземной площади, в то время как полости скважин обеспечивают эффективное удаление и/или эффективную добычу заключенных в породе воды, углеводородов и иных жидкостей, накапливающихся в сети дренажных скважин.
В соответствии с одним из примеров осуществления настоящего изобретения подземная система размещения сети дренажных скважин для обеспечения доступа к подземной зоне с поверхности включает первую скважину, простирающуюся от пробуренной с поверхности скважины, определяющей начало подземной зоны, до дальнего конца участка. Сеть также включает множество боковых скважин, простирающихся от первой скважины. Боковые скважины размещены таким образом, что расстояние от забоя боковой скважины до пробуренной с поверхности скважины является в основном равным для каждой из боковых скважин.
В соответствии с другим примером осуществления настоящего изобретения способ для обеспечения доступа к подземной зоне с поверхности включает формирование первой сети дренажных скважин в виде первого, преимущественно четырехугольного в плане участка. Первая сеть дренажных скважин простирается от пробуренной с поверхности скважины. Способ также включает формирование второй сети дренажных скважин в виде второго, преимущественно четырехугольного в плане участка. Вторая сеть дренажных скважин также простирается от пробуренной с поверхности скважины. Первая и вторая сети размещения скважин расположены таким образом, что первая сторона первого четырехугольного участка в основном примыкает к первой стороне второго четырехугольного участка.
В соответствии с другим примером осуществления настоящего изобретения система для обеспечения доступа к подземной зоне с поверхности включает пробуренную с поверхности скважину, простирающуюся от поверхности до подземной зоны. Система также включает несколько сетей дренажных скважин, расположенных в пределах подземной зоны, причем все сети идут в разных направлениях от пробуренной с поверхности скважины. Несколько сетей дренажных скважин симметрично размещены вокруг пробуренной с поверхности скважины.
В соответствии с еще одним примером осуществления настоящего изобретения способ для обеспечения доступа к подземной зоне с поверхности включает формирование первой сети дренажных скважин, простирающейся от первой пробуренной с поверхности скважины, расположенной в пределах подземной зоны. Способ также включает формирование второй сети дренажных скважин, простирающейся от второй пробуренной с поверхности скважины, расположенной в пределах подземной зоны. Первая и вторая сети дренажных скважин размещены таким образом, что они образуют группу со смежным расположением в пределах подземной зоны.
Для обеспечения технических преимуществ настоящего изобретения предлагается усовершенствованный способ и система для обеспечения доступа к подземным зонам с ограниченной по площади территории на поверхности. В одном примере осуществления изобретения в разрабатываемой зоне ведется бурение совокупности сетей дренажных скважин от общей сочлененной, пробуренной с поверхности скважины, в непосредственной близости от соответствующего количества скважин с полостями. Сети дренажных скважин сообщаются с полостями скважин, через которые обеспечивается эффективное удаление и/или добыча заключенных в пластах воды, углеводородов и иных жидкостей, дренируемых из целевой подземной зоны. В результате этого с ограниченного по площади участка поверхности обеспечивается эффективная добыча газа, нефти и иных жидкостей из большого по площади пласта, характеризующегося низким давлением и низкой пористостью. Таким образом, добычу газа можно производить из пластов, подстилающих пересеченную местность. Кроме того, снижается до минимума вредное воздействие на окружающую среду, так как сокращается площадь, подлежащая использованию и рекультивации.
Для обеспечения еще одного технического преимущества настоящего изобретения предлагается усовершенствованный способ и система для подготовки угольного пласта или иного месторождения для добычи полезных ископаемых и сбора газа из пласта после завершения горных работ. В частности, скважины с полостями и сочлененная скважина используются для дегазации угольного пласта до проведения горных работ. Это позволяет сократить как необходимую площадь участка на поверхности, так и комплект необходимого подземного оборудования и объема работ. Это также позволяет сократить сроки, необходимые для дегазации пласта, благодаря чему сокращаются простои оборудования из-за высокого содержания газа в пласте. Кроме того, через комбинированную скважину в дегазированный угольный пласт может закачиваться вода и добавки до проведения горных работ с целью снижения запыленности и минимизации иных вредных факторов, повышения эффективности горных работ и качества угля. После завершения горных работ комбинированная скважина используется для сбора газа из выработанного пространства. В результате этого сокращаются расходы, связанные со сбором газа из выработанного пространства, благодаря чему упрощается или становится возможным сбор газа из выработанного пространства в ранее разработанных пластах.
Еще одно техническое преимущество настоящего изобретения включает систему и способ для усовершенствованного доступа к подземным разрабатываемым зонам с ограниченной по площади территории на поверхности путем группирования сетей дренажных скважин в пределах подземной зоны. Например, в соответствии с одним примером осуществления настоящего изобретения может быть сформирована одна сеть дренажных скважин с целью обеспечения доступа в основном к четырехугольному в плане участку подземной зоны. Затем две или более сети дренажных скважин могут быть сгруппированы с целью обеспечения равномерного и оптимального покрытия площади подземной зоны. Кроме того, каждая сгруппированная сеть дренажных скважин может быть сформирована из двух или более подсетей дренажных скважин. Обычно подсети дренажных скважин состоят из двух или более обособленных сетей дренажных скважин, сообщающихся с общей, пробуренной с поверхности, скважиной. Таким образом, обеспечивается формирование и группирование совокупности различных конфигураций сетей дренажных скважин с целью обеспечения равномерного и оптимального покрытия площади конкретной подземной зоны.
Другие технические преимущества настоящего изобретения очевидны для специалистов в данной области техники из следующих ниже чертежей, описания изобретения и формулы изобретения.
КРАТКОЕ ОПИСАНИЕ ЧЕРТЕЖЕЙ
Для более полного понимания настоящего изобретения и его преимуществ описание настоящего изобретения приводится со ссылками на прилагаемые чертежи, на которых одинаковые детали обозначены одними и теми же позициями и на которых:
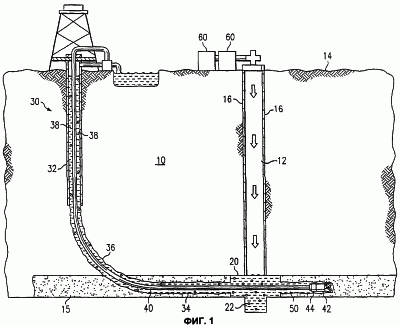
Фиг.1 – поперечный разрез системы для усовершенствованного доступа к подземной зоне в соответствии с примером осуществления настоящего изобретения;
Фиг.2 – поперечный разрез системы для усовершенствованного доступа к подземной зоне в соответствии с другим примером осуществления настоящего изобретения;
Фиг.3 – поперечный разрез системы для усовершенствованного доступа к подземной зоне в соответствии с другим примером осуществления настоящего изобретения;
Фиг.4 – план сети дренажных скважин для обеспечения доступа к подземной зоне в соответствии с примером осуществления настоящего изобретения;
Фиг.5 – трехперистая сеть дренажных скважин для обеспечения доступа к подземной зоне в соответствии с примером осуществления настоящего изобретения;
Фиг.6 – соосная схема трехперистой сети дренажных скважин, показанной на Фиг.5, в соответствии с примером осуществления настоящего изобретения;
Фиг.7А – поперечный разрез системы для усовершенствованного доступа к подземной зоне в соответствии с другим примером осуществления настоящего изобретения;
Фиг.7В – план системы для усовершенствованного доступа к подземной зоне, показанной на Фиг.7А, в соответствии с примером осуществления настоящего изобретения;
Фиг.8 – план сети дренажных скважин для обеспечения доступа к подземной зоне в соответствии с другим примером осуществления настоящего изобретения;
Фиг.9 – план сети дренажных скважин для обеспечения доступа к подземной зоне в соответствии с другим примером осуществления настоящего изобретения; и
Фиг.10 – блок-схема способа для усовершенствованного доступа к подземной зоне в соответствии с примером осуществления настоящего изобретения.
ПОДРОБНОЕ ОПИСАНИЕ ИЗОБРЕТЕНИЯ
На Фиг.1 приведена система 10 для усовершенствованного доступа к подземной зоне с ограниченного по площади участка поверхности в соответствии с примером осуществления настоящего изобретения. В данном примере осуществления изобретения подземная зона представляет собой угольный пласт. Специалистам в данной области техники должно быть очевидно, что с помощью настоящего изобретения может обеспечиваться аналогичный доступ к другим видам зон и (или) другим видам подземных ресурсов, характеризующихся низким давлением, сверхнизким давлением и низкой пористостью, с целью удаления и (или) добычи воды, углеводородов и иных жидкостей из залежи, обработки природных ископаемых в месте их залегания до проведения горных работ или нагнетания или подачи газа, жидкости или иного вещества в подземную зону.
Система 10 включает скважину 12, простирающуюся от поверхности 14 до целевого угольного пласта 15. Скважина 12 пересекает угольный пласт 15, проходит через него и продолжается под ним. Скважина 12 обсажена соответствующими обсадными трубами 16, которые заканчиваются на уровне или выше уровня угольного пласта 15. На Фиг.1 скважина 12 в основном является вертикальной. Тем не менее, специалистам в данной области техники должно быть очевидно, что скважина 12 может быть сформирована под иным необходимым углом с целью соответствия характеристикам поверхности 14 и (или) геометрическим характеристикам угольного пласта 15.
Каротаж скважины 12 проводится либо в процессе бурения, либо после его завершения с целью уточнения глубины залегания угольного пласта 15. В результате этого во время проведения дальнейших буровых работ исключается пропуск угольного пласта 15, и в процессе бурения отпадает необходимость в определении местоположения угольного пласта 15. В непосредственной близости от угольного пласта 15 в скважине 12 бурится расширенная полость 20. Как описано более подробно ниже, расширенная полость 20 обеспечивает место пересечения скважины 12 с сочлененной скважиной, используемой для формирования подземной сети дренажных скважин в угольном пласте 15. Расширенная полость 20 также представляет собой место сбора жидкостей, дренируемых из угольного пласта 15 в процессе разработки.
В одном примере осуществления изобретения расширенная полость 20 имеет радиус около 2,4 метра (8 футов) и высоту, равную или превышающую мощность угольного пласта 15. Расширенная полость 20 бурится на основе технологии с применением соответствующего оборудования и технологии расширения ствола скважины. Проходка части скважины 12 ведется ниже уровня расширенной полости 20 с целью формирования зумпфа 22 для расширенной полости 20.
Сочлененная скважина 30 простирается от поверхности 14 к расширенной полости 20 скважины 12. Сочлененная скважина 30 включает часть 32, часть 34 и криволинейную часть 36, соединяющую части 32 и 34. На Фиг.1 часть 32 в основном является вертикальной, тем не менее, специалистам в данной области техники должно быть очевидно, что часть 32 может быть сформирована под любым заданным углом по отношению к поверхности 14 с целью соответствия геометрическим характеристикам поверхности 14 и (или) элементам залегания угольного пласта 15. Часть 34, в данном случае, залегает в толще угольного пласта 15 и пересекается с расширенной полостью 20 скважины 12. На Фиг.1 плоскость угольного пласта 15, в данном случае, является горизонтальной, в результате чего часть 34 также является горизонтальной. Тем не менее, очевидно, что часть 34 может быть сформирована под любым соответствующим углом по отношению к поверхности 14 с целью соответствия геометрическим характеристикам угольного пласта 15.
В примере осуществления настоящего изобретения, приведенном на Фиг.1, на поверхности 14 сочлененная скважина 30 удалена от скважины 12 на достаточное расстояние с целью обеспечения бурения криволинейной с большим радиусом части 36 и любой требуемой части 34 до пересечения с расширенной полостью 20. С целью создания криволинейной части 36 с радиусом 30,5-45,7 метра (100-150 футов) сочлененная скважина удалена от скважины 12 на расстояние в основном 91,4 метра (300 футов). Это расстояние обеспечивает сокращение до минимума угла криволинейной части 36 с целью уменьшения трения в сочлененной скважине 30 в процессе бурения. В результате этого максимально увеличивается усилие бурильной колонны при проходке сочлененной скважины 30. Как будет описано ниже, в другом примере осуществления настоящего изобретения предусматривается расположение сочлененной скважины 30 на значительно более близком расстоянии к скважине 12 на поверхности 14. Бурение сочлененной скважины ведется с помощью бурильной колонны 40, содержащей соответствующий забойный двигатель и буровую коронку 42. Бурильная колонна 40 содержит устройство 44 для проведения измерений в процессе бурения с целью контроля направления скважины, пробуренной забойным двигателем и буровой коронкой 42. Часть 32 сочлененной скважины 30 обсаживается соответствующими обсадными трубами 38.
После успешного пересечения расширенной полости 20 сочлененной скважиной 30 бурение продолжается через расширенную полость 20 с использованием бурильной колонны 40 и соответствующего бурового оборудования с целью создания сети 50 дренажных скважин в угольном пласте 15. На Фиг.1 сеть 50 дренажных скважин лежит в основном в горизонтальной плоскости, соответственной горизонтальной плоскости расположения угольного пласта 15; тем не менее, специалистам в данной области техники должно быть очевидно, что сеть 50 дренажных скважин может быть сформирована под любым необходимым углом, соответствующим геометрическим характеристикам угольного пласта 15. Сеть 50 дренажных скважин и иные подобные скважины обустраиваются на наклонных, неровных участках или в иных условиях залегания угольного пласта 15 или подземных залежей иных полезных ископаемых. Во время этой операции могут быть использованы гамма-каротажные приборы и стандартные устройства для проведения измерений в процессе бурения с целью контроля и направления бурового инструмента 42 для удержания сети 50 дренажных скважин в границах угольного пласта 15 и обеспечения более равномерного покрытия требуемой площади участка в пределах угольного пласта 15.
В процессе бурения сети 50 дренажных скважин буровой раствор или глинистый раствор нагнетается в бурильную колонну 40 и подается из бурильной колонны 40 в области буровой коронки 42, где он используется для промывки пласта и удаления выбуренной породы. Выбуренная порода уносится вверх буровым раствором, циркулирующим в межтрубном пространстве между бурильной колонной 40 и стенками скважины 30, и подается на поверхность 14, где шлам отделяется от бурового раствора, и затем раствор снова подается для циркуляции. Этот известный буровой процесс обеспечивает создание стандартного столба бурового раствора, высота которого равна глубине скважины 30, и гидростатического давления в скважине 30, соответствующего глубине. Учитывая тот факт, что угольные пласты характеризуются определенной пористостью и трещиноватостью, они могут не выдержать такое гидростатическое давление, даже если в угольном пласте 15 присутствует пластовая вода. Такой режим называется бурением при повышенном гидростатическом давлении, при котором давление жидкости в скважине 30 превышает способность пласта выдерживать давление. Уход бурового раствора со шламом в пласт является не только дорогостоящим в плане поглощения бурового раствора, что требует подпитки, но и способствует закупориванию пор в угольном пласте 15, которые необходимы для дренажа газа и воды из угольного пласта.
С целью предотвращения режима бурения при повышенном гидростатическом давлении в скважине в процессе формирования сети 50 дренажных скважин предлагается использование воздушных компрессоров 60, обеспечивающих нагнетание сжатого воздуха в скважину 12 и его выход через сочлененную скважину 30. Это приводит к эффекту ослабления гидростатического давления бурового раствора и снижения призабойного давления до приемлемого уровня, препятствующего возникновению режима бурения при повышенном гидростатическом давлении. Аэрация бурового раствора обеспечивает снижение давления в скважине в основном до 9,5-13 кг/см2 (150-200 фунтов на квадратный дюйм). Соответственно, бурение угольных пластов низкого давления и иных залежей полезных ископаемых можно проводить без существенных потерь бурового раствора и загрязнения залежей полезных ископаемых буровым раствором. Пена, которая может представлять собой смесь сжатого воздуха с водой, также может подаваться через бурильную колонну 40 вместе с буровым раствором с целью аэрации бурового раствора в межтрубном пространстве в процессе бурения сочлененной скважины 30 и, при необходимости, в процессе бурения сети 50 дренажных скважин. Бурение сети 50 дренажных скважин с использованием пневмоотбойного бурового долота или пневматического забойного двигателя также позволяет нагнетать сжатый воздух или пену в буровой раствор. В этом случае сжатый воздух или пена, используемые для приведения в действие забойного двигателя и буровой коронки 42, выходят из бурильной колонны 40 в непосредственной близости от буровой коронки 42. Тем не менее, больший объем воздуха, который можно нагнетать в скважину 12, обеспечивает более эффективную аэрацию бурового раствора, чем это обычно возможно путем подачи воздуха через бурильную колонну 40.
На Фиг.2 приведена система 10 для усовершенствованного доступа к подземной зоне с ограниченного по площади участка поверхности в соответствии с другим примером осуществления настоящего изобретения. В данном примере осуществления скважина 12, расширенная полость 20 и сочлененная скважина 30 размещаются и проходятся в соответствии с описанием к Фиг.1. На Фиг.2 после пересечения расширенной полости 20 с сочлененной скважиной 30 в расширенной полости 20 устанавливается насос 52 для перекачки бурового раствора и шлама на поверхность 14 через скважину 12. Это существенно уменьшает трение воздуха и жидкости, поднимающихся вверх по сочлененной скважине 30, и снижает почти до нуля давление в скважине. Соответственно, это обеспечивает доступ с поверхности 14 к угольным пластам и залежам иных полезных ископаемых, имеющим сверхнизкое пластовое давление ниже 9,5 кг/см2 (150 фунтов на квадратный дюйм). Кроме того, в скважине исключается образование опасных соединений воздуха с метаном.
На Фиг.3 приведена система 10 в соответствии с другим примером осуществления настоящего изобретения. В данном примере осуществления после завершения бурения скважин 12 и 30, а также сети 50 дренажных скважин из сочлененной скважины 30 извлекается бурильная колонна 40, и устье сочлененной скважины 30 герметизируется. В расширенной полости 20 скважины 12 устанавливается скважинный насос 80. Расширенная полость 20 представляет собой резервуар для накопления периодически откачиваемой жидкости, при этом исключается негативное воздействие гидростатического напора, создаваемого накопившейся жидкостью в скважине 12.
Насосный агрегат 80 сообщается с поверхностью через колонну насосных труб 82 и может приводиться в действие с помощью штанги 84, проходящей к забою скважины 12 внутри колонны насосных труб 82. Насосная штанга 84 совершает возвратно-поступательное движение с помощью соответствующего устройства, установленного на поверхности, например балансира насосной установки 86 с электроприводом, для приведения в действие насосного агрегата 80. Насосный агрегат 80 используется для откачки воды и взвешенной в буровом растворе угольной мелочи из угольного пласта 15 через сеть 50 дренажных скважин. После откачки воды на поверхность 14 она может подвергнуться обработке для удаления метана, который может быть растворен в воде, и отделения взвешенной в буровом растворе угольной мелочи. После того как из угольного пласта 15 будет удалено достаточное количество воды, обеспечивается подъем чистого пластового газа к поверхности 14 по межтрубному пространству скважины 12 вокруг колонны насосных труб и его удаление по трубопроводу, подсоединенному к устьевой арматуре. На поверхности 14 производится обработка, сжатие и перекачка метана по трубопроводу для использования в качестве топлива в стандартных процессах. Насосный агрегат 80 может работать постоянно или при необходимости откачивать воду, поступающую в расширенную полость 20 из угольного пласта 15.
На Фиг.4-6 приведена сеть 50 дренажных скважин для усовершенствованного доступа к ресурсам в соответствии с примерами осуществления настоящего изобретения. В этих примерах осуществления сеть 50 дренажных скважин включает перистые системы, содержащие основную, или центральную, в основном симметрично расположенную скважину, и размещенные через определенное расстояние боковые скважины, отходящие с каждой стороны основной скважины. Перистая система сходна с системой жилок листа или устройством пера в том, что она содержит аналогичные в основном параллельные дополнительные скважины, расположенные в основном на равном расстоянии друг от друга и параллельно на противоположных сторонах оси. Перистая сеть размещения скважин, основанная на центральной скважине и в основном симметрично размещенными на соответствующем расстоянии друг от друга боковыми скважинами на каждой стороне, образует равномерную систему для дренирования жидкостей из угольного пласта или иного пласта или для равномерного введения веществ в пласт. В соответствии с нижеприведенным описанием перистая система обеспечивает равномерный охват квадратного, ромбовидного, иного четырехугольного или сетчатого в плане участка и может располагаться на определенном расстоянии от другой системы подготовки угольного пласта 15 для проведения горных работ.
Специалистам в данной области техники должно быть очевидно, что могут быть использованы иные сети дренажных скважин в соответствии с настоящим изобретением.
Перистые и иные необходимые сети дренажных скважин, пробуренные с поверхности, обеспечивают доступ к пластам с поверхности. Сеть дренажных скважин может быть использована для равномерного удаления и (или) нагнетания жидкости или обработки подземных запасов полезных ископаемых с использованием иных способов. Сеть дренажных скважин, кроме ее применения в разработке угольных пластов, может быть использована для инициирования внутрипластового горения, нагнетания пара в пласт тяжелой сырой нефти для повышения нефтеотдачи и удаления углеводородов из пластовых резервуаров с низкой пористостью.
На Фиг.4 приведена сеть 100 дренажных скважин в соответствии с примером осуществления настоящего изобретения. В данном примере осуществления изобретения сеть 100 дренажных скважин обеспечивает доступ к участку 102 полезных ископаемых в плане в основном виде ромба или параллелограмма. Может быть использован ряд сетей 100 дренажных скважин для обеспечения равномерного доступа к большому по площади подземному участку. Сочлененная скважина 30 задает первый угол участка 102. Сеть 100 дренажных скважин включает основную скважину 104, проходящую диагонально через участок 102 к дальнему углу 106 участка 102. Для обеспечения дренирования скважины 12 и 30 расположены над участком 102 таким образом, что бурение скважины 104 ведется по восстанию угольного пласта 15. Это упрощает сбор воды, газа и других жидкостей с участка 102. Бурение скважины 104 ведется с помощью бурильной колонны 40 от расширенной полости 20 соосно с сочлененной скважиной 30.
С противоположных сторон скважины 104 в направлении внешней границы 112 участка 102 расходятся несколько боковых скважин 110. Боковые скважины 110 могут располагаться зеркально на противоположных сторонах скважины 104 или могут быть смещены относительно друг друга вдоль скважины 104. Каждая из боковых скважин 110 включает криволинейную часть 114, идущую от скважины 104, и последующую прямую часть 116, сформированную после того, как криволинейная часть 114 достигнет соответствующего направления. Для равномерного покрытия площади участка 102 пары боковые скважины располагаются на равном расстоянии друг от друга на каждой стороне скважины 104 и идут от скважины 104 под углом в основном шестьдесят градусов.
Длина боковых скважин 110 уменьшается по мере удаления от расширенной полости 20 с целью упрощения бурения боковых скважин 110. Количество боковых скважин 110 и расстояние между ними может изменяться в зависимости от характеристик участка полезных ископаемых и требований к размерам участка и скважинам. Например, боковые скважины 110 могут быть пробурены с одной стороны скважины 104 для формирования полуперистой системы.
Скважины 104 и боковые скважины 110 проходятся путем бурения через расширенную полость 20 с использованием бурильной колонны 40 и необходимого бурового оборудования. Во время этой буровой операции могут быть использованы гамма-каротажные приборы и стандартные устройства, предназначенные для проведения измерений в процессе бурения с целью контроля направления буровой коронки для ограничения сети 100 дренажных скважин пределами угольного пласта 15, а также сохранения соответствующего интервала и ориентировки скважины 104 и боковых скважин 110. Как показано на Фиг.4, боковые скважины 110 расположены таким образом, что длина каждой боковой скважины 110 при ее измерении от внешней границы 112 до расширенной полости 20 или скважин 12 или 30 является, в данном случае, одинаковой, благодаря чему упрощается бурение каждой боковой скважины 110.
В конкретном примере осуществления скважина 104 бурится с уклоном в каждой из множества точек 108 скважины. После завершения бурения скважины 104 бурильная колонна 40 движется в обратном направлении, последовательно проходя каждую из точек 108, от которых на каждой стороне скважины 104 бурится очередная боковая скважина 110. Специалистам в данной области техники должно быть очевидно, что сеть 100 дренажных скважин может быть сформирована иным способом в соответствии с настоящим изобретением.
На Фиг.5 приведена сеть 140 дренажных скважин в соответствии с другим примером осуществления настоящего изобретения. Сеть 140 дренажных скважин включает три обособленных сети 100 дренажных скважин, при этом каждая дренирует часть участка 142, покрытого сетью 140 дренажных скважин. Каждая из сетей 100 дренажных скважин включает скважины 104 и совокупности боковых скважин 110, отходящих от скважины 104. В трехперистой системе примера осуществления, показанного на Фиг.5, бурение каждой из скважин 104 и 110 производится от общей сочлененной скважины 144, и жидкость и (или) газ могут быть удалены из подземной зоны или поданы в подземную зону по скважине 146, сообщающейся с каждой скважиной 104. Благодаря этому обеспечивается более компактное расположение производственного оборудования на поверхности, более широкий охват площади сетью скважин и сокращение количества бурового оборудования и объема работ.
Каждая скважина 104 закладывается в заданном месте относительно других скважин 104 с целью обеспечения доступа к конкретному подземному участку. Например, скважины 104 могут быть сформированы с интервалом, или расстоянием между смежными скважинами 104 с целью обеспечения доступа к подземной зоне таким образом, что потребуется только три скважины 104. Следовательно, интервал между смежными скважинами 104 может изменяться в зависимости от изменения мощности залежей подземной зоны. Таким образом, интервал между смежными скважинами 104 может быть равным или может изменяться в зависимости от специфических характеристик конкретных залежей полезных ископаемых. Например, в примере осуществления, приведенном на Фиг.5, угол между каждой скважиной 104 составляет, в данном случае, 120 градусов, в результате чего каждая сеть 100 дренажных скважин простирается в направлении в данном случае 120 градусов от смежной сети 100 дренажных скважин. Тем не менее, могут быть использованы иные необходимые углы размещения скважин, сети или ориентировки в зависимости от характеристик конкретных подземных залежей. Таким образом, как показано на Фиг.5, каждая скважина 104 и соответствующая сеть 100 дренажных скважин простираются от скважины 144 к внешней границе в разных направлениях, образуя симметричную структуру. Как будет показано более детально ниже, симметрично сформированные сети дренажных скважин могут быть смежно размещены или сгруппированы с целью обеспечения равномерного доступа к подземной зоне.
В примере осуществления изобретения, приведенном на Фиг.5, каждая сеть 100 дренажных скважин также включает ряд боковых скважин 148, отходящих от боковых скважин 110. Боковые скважины 148 могут иметь зеркальное расположение на противоположных сторонах боковой скважины 110 или могут быть смещены относительно друг друга вдоль боковой скважины 110. Каждая из боковых скважин 148 включает криволинейную часть 160, отходящую от боковой скважины 110, и последующую прямую часть 162, сформированную после того, как криволинейная часть 160 достигает соответствующего направления. Для равномерного покрытия площади участка 142 пары боковых скважин 148 могут быть расположены на равном расстоянии друг от друга с каждой стороны боковой скважины 110. Кроме того, боковые скважины 148, отходящие от одной боковой скважины 110, могут проходить между боковыми скважинами 148 или в непосредственной близости от них, отходя от смежной боковой скважины 110, с целью обеспечения равномерного покрытия площади участка 142. Тем не менее, количество, интервал и угловая ориентировка боковых скважин 148 могут изменяться в зависимости от характеристик участков подземных залежей, требований к размерам участка и скважинам.
Как описано выше со ссылкой на Фиг.4, каждая сеть 100 дренажных скважин в основном обеспечивает доступ к участку или зоне 102, имеющего в плане форму четырехугольника. На Фиг.4 зона 102 имеет в основном форму ромба или параллелограмма. Как показано на Фиг.5, сети 100 дренажных скважин могут быть размещены таким образом, что стороны 149 каждой четырехугольной подземной зоны 148 соприкасаются друг с другом, обеспечивая тем самым равномерный охват площади подземной зоны 142.
На Фиг.6 показано соосное, или гнездовое, расположение сетей дренажных скважин в пределах подземной зоны в соответствии с примером осуществления настоящего изобретения. В данном примере осуществления используются три обособленных сети 100 дренажных скважин для формирования рядов, в основном шестиугольных сетей 150 дренажных скважин, например, аналогичных сетке 140 дренажных скважин, показанной на Фиг.5. Таким образом, сеть 150 дренажных скважин включает ряд подсетей дренажных скважин, например, сети 100 дренажных скважин, с целью достижения требуемой геометрической формы сети. Сети 150 дренажных скважин могут быть расположены относительно друг друга таким образом, что сети 150 дренажных скважин образуют в основном сотовую структуру, благодаря чему максимально увеличивается площадь участка доступа к подземным залежам, при этом сокращается количество сетей 150 дренажных скважин. До проведения горных разработок подземных залежей бурение сетей 150 дренажных скважин может быть произведено с поверхности с целью дегазации залежей полезных ископаемых до того, как будут начаты горные работы. Количество обособленных сетей 100 дренажных скважин также может изменяться с целью образования иной геометрической формы сетей дренажных скважин, в результате чего образованные сети дренажных скважин могут быть сгруппированы таким образом, чтобы обеспечить равномерное покрытие площади залегания подземных ресурсов. Например, на Фиг.5-6 показаны три обособленных сети 100 дренажных скважин, сообщающихся с центральной скважиной 104 и образующих шестигранную или шестиугольную сеть 140 и 150 дренажных скважин. Кроме того, также может быть использовано более или менее трех обособленных сетей 100 дренажных скважин, сообщающихся с центральной скважиной 104, в результате чего несколько образованных многосторонних сетей дренажных скважин могут быть сгруппированы для достижения равномерного покрытия площади подземных залежей и (или) соответствия геометрическим характеристикам конкретных залежей полезных ископаемых.
На Фиг.7А и 7В показана двойная система 200 криволинейных сочлененных скважин для усиления доступа к ресурсам с ограниченной по площади территории на поверхности в соответствии с другим примером осуществления настоящего изобретения. В соответствии с данным примером осуществления полезным ископаемым является угольный пласт. Специалистам в данной области техники должно быть очевидно, что доступ к иным подземным формациям и(или) иным ресурсам, характеризующимся низким давлением, сверхнизким давлением и низкой пористостью, может быть обеспечен аналогичным образом путем использования системы 200 криволинейных сочлененных скважин в соответствии с настоящим изобретением с целью удаления и (или) добычи воды, углеводородов и иных жидкостей из залежей полезных ископаемых, обработки залежей полезных ископаемых до проведения горных работ, нагнетания или подачи жидкости в подземную зону. В данном примере осуществления образованы три обособленных сети дренажных скважин, сообщающиеся с единственной скважиной. В целях простоты иллюстрации описание формирования сети одиночной скважиной дается со ссылкой на Фиг.7А, тем не менее, специалистам в данной области техники должно быть очевидно, что формирование сети дренажных скважин может быть продублировано с целью формирования дополнительных сетей дренажных скважин.
На Фиг.7А показан вид системы 200 в поперечном разрезе в соответствии с примером осуществления настоящего изобретения. Скважина 210 простирается с поверхности 14 до первой сочлененной скважины 230. Скважина 210 обсажена соответствующими обсадными трубами 215, которые заканчиваются на уровне или выше уровня сочлененной скважины 230. Вторая скважина 220 простирается от пересечения скважины 210 с первой сочлененной скважиной 230 до второй сочлененной скважины 235. Вторая скважина 220 расположена соосно с первой скважиной 210 таким образом, что вместе они образуют единый ствол скважины. Продолжение 240 второй скважины 220 простирается от пересечения второй скважины 220 со второй сочлененной скважиной 235 до глубины ниже подошвы угольного пласта 15. На Фиг.7А скважины 210 и 220 показаны в основном вертикальными, тем не менее, должно быть очевидно, что скважины 210 и 220 могут быть образованы и сориентированы под иными углами в зависимости от геометрических характеристик поверхности 14 и (или) угольного пласта 15.
Первая сочлененная скважина 230 имеет криволинейную часть 232. Вторая сочлененная скважина 235 имеет криволинейную часть 237. Криволинейная часть 237, в данном случае, имеет меньшие размеры, чем криволинейная часть 232 для обеспечения пересечения второй сочлененной скважины 235 с первой сочлененной скважиной 230. Первая сочлененная скважина 230 сообщается с расширенной полостью 250. Расширенная полость 250 образована на забое первой сочлененной скважины 230 в толще угольного пласта 15. Как описано более детально ниже, расширенная полость 250 является местом пересечения подземного канала для сбора жидкости, или скважины 225.
В одном примере осуществления настоящего изобретения расширенная полость 250 имеет радиус в основном 2,4 метра (8 футов), при этом размер расширенной полости по высоте равен мощности угольного пласта 15 или превышает ее. Расширенная полость 250 сформирована с применением соответствующего оборудования и технологии для расширения ствола скважины. Тем не менее, расширенная полость 250 может иметь иные необходимые геометрические характеристики для накопления жидкости в расширенной полости 250.
Скважина 225 бурится на пересечении второй скважины 220 со второй сочлененной скважиной 235. Скважина 225 проходит через угольный пласт 15 в расширенную полость 250. На Фиг.7А скважина 225 показана в основном горизонтальной, тем не менее, должно быть очевидно, что скважина 225 может быть сформирована под другим углом в зависимости от геометрических характеристик угольного пласта 15. После формирования первой сочлененной скважины 230 в угольном пласте бурится расширенная полость 250. После формирования расширенной полости 250 бурение продолжается через расширенную полость 250 с целью формирования сети 50 дренажных скважин в угольном пласте 15. Сеть 50 дренажных скважин и иные такие скважины располагаются в наклонных, неровных участках или в иных условиях залегания угольного пласта 15 или иных подземных залежей полезных ископаемых. Во время этой операции могут быть использованы гамма-каротажные приборы и стандартные устройства для проведения измерений в процессе бурения с целью контроля и направления бурового инструмента для удержания сети 50 дренажных скважин в границах угольного пласта 15 и обеспечения в основном равномерного покрытия требуемой площади участка в пределах угольного пласта 15. Сеть 50 дренажных скважин может включать сеть, показанную на Фиг.4-6, кроме того, могут быть также использованы иные необходимые сети дренажных скважин. Меры по предотвращению поглощения бурового раствора и режима бурения при повышенном гидростатическом давлении в скважине могут проводиться с использованием способов, описанных со ссылками на Фиг.1-3.
После формирования сети 50 дренажных скважин может быть пробурена вторая скважина 220. Как описано выше, вторая скважина 220 бурится на пересечении первой скважины 210 с первой сочлененной скважиной 230. После того как скважина 220 будет пробурена до глубины угольного пласта 15, бурится вторая сочлененная скважина 235 и скважина 225. Вторая сочлененная скважина 235 проходится с использованием стандартного бурового оборудования. Скважина 225 бурится с использованием стандартного бурового оборудования и соединяет вторую скважину 220 с расширенной полостью 250 через вторую сочлененную скважину 235. Жидкости, скопившиеся в сети 50 дренажных скважин, протекают через расширенную полость 250 и по скважине 225, а затем удаляются через вторую скважину 220 и первую скважину 210 на поверхность 14. При использовании данного способа бурения обеспечивается дренирование значительной площади подземного пласта и доступ к нему с небольшого по площади участка на поверхности.
На Фиг.7В показан план системы 200, проиллюстрированной на Фиг.7А в соответствии с примером осуществления настоящего изобретения. Как показано на Фиг.7В, каждая из трех сочлененных скважин 230 и скважин 225 отходят от скважины 210 и в плане расположены под углом 120 градусов друг к другу. Бурение скважины 210 производится в точке поверхности, находящейся в основном в центре всего участка скважин. Как описано выше, сочлененные скважины 230 бурятся из точки, находящейся вблизи скважины 210 или совпадающей с ней. Бурение сети 50 дренажных скважин производится в пределах разрабатываемых подземных залежей полезных ископаемых из каждой сочлененной скважины 230. Кроме того, для сбора сырья, дренированного из сети 50 дренажных скважин, бурится расширенная полость 250 от каждой сочлененной скважины 230. Бурится каждый из трех подземных каналов для сбора жидкости, или скважин 225 для соединения с каждой из полостей 250 со скважиной 210, как описано выше со ссылкой на Фиг.7А.
Сырье из разрабатываемых залежей полезных ископаемых стекает в сеть 50 дренажных скважин, где оно собирается в расширенных полостях 250. Из полостей 250 сырье проходит через скважины 225 и поступает в скважину 210. После сбора сырья в скважине 210 оно может быть отведено на поверхность с использованием вышеописанных способов.
На Фиг.8 показана сеть 300 дренажных скважин, имеющая перистую структуру в соответствии с другим примером осуществления настоящего изобретения. В данном примере осуществления настоящего изобретения сочлененная скважина 330 задает первый угол участка 332 залежей полезных ископаемых. Сеть 300 дренажных скважин включает основную скважину 334, проходящую диагонально через участок 332 к дальнему углу 336 участка 332. Скважины 320 и сочлененная скважина 330 расположены над участком 332 таким образом, что бурение скважины 334 ведется по восстанию угольного пласта 15. Это упрощает сбор газа, воды и других жидкостей с участка 332. Скважина 334 простирается от расширенной полости 322 соосно с сочлененной скважиной 330.
С противоположных сторон скважины 334 в направлении внешней границы 342 участка 332 проходится множество боковых скважин 340. Боковые скважины 340 могут располагаться зеркально на противоположных сторонах скважины 334 или могут быть смещены друг относительно друга вдоль скважины 334. Каждая из боковых скважин 340 включает криволинейную часть 344, идущую от скважины 304, и последующую прямую часть 346. Первый ряд боковых скважин 340, расположенных в непосредственной близости от расширенной полости 322, может также включать вторую криволинейную часть 348, сформированную после того, как первая криволинейная часть 344 достигнет соответствующего направления. В этом ряду прямолинейная часть 346 бурится после того, как вторая изогнутая часть 348 достигнет соответствующего направления. Таким образом, первый ряд боковых скважин 340 смещается, или изгибается в направлении расширенной полости 322 прежде, чем пройти через пласт, в результате чего обеспечивается расширение сети скважин в направлении расширенной полости 322 для равномерного покрытия площади участка 332. В целях равномерного покрытия площади участка 332 пары боковых скважин 340 располагаются на равном расстоянии друг от друга на каждой стороне скважины 334 и отходят от скважины 334 под углом в основном 60 градусов. Длина боковых скважин 340 уменьшается по мере удаления от расширенной полости 322 с целью упрощения бурения боковых скважин 340.
Скважина 334 и боковые скважины 340 проходятся путем бурения через расширенную полость 322 с использованием бурильной колонны 40 и соответствующего бурового оборудования. При этом для проведения измерений в процессе бурения могут быть использованы гамма-каротажные приборы и стандартные устройства с целью контроля направления бурового инструмента для удержания сети 300 дренажных скважин в границах угольного пласта 15, сохранения соответствующего интервала и ориентировки скважины 334 и боковых скважин 340. В конкретном примере осуществления скважина 334 бурится с наклоном в каждой из заданных точек 350 скважины, откуда будет начато бурение боковой скважины. После завершения бурения скважины 334 бурильная колонна 40 движется в обратном направлении, последовательно проходя каждую боковую точку 350, от которой на каждой стороне скважины 334 бурятся боковые скважины 340. Специалистам в данной области техники должно быть очевидно, что сеть 300 дренажных скважин может быть сформирована иным способом в соответствии с настоящим изобретением.
На Фиг.9 приведен план сети 400 дренажных скважин в соответствии с примером осуществления настоящего изобретения. В данном примере осуществления сеть 400 дренажных скважин включает две обособленных сети 402 дренажных скважин, при этом каждая обеспечивает доступ к части участка 404, покрытой сетью 400 дренажных скважин. Каждая из сетей 402 дренажных скважин включает скважину 406 и ряд боковых скважин 408, отходящих от скважины 406. В примере осуществления, приведенном на Фиг.9, бурение каждой из скважин 406 и 408 производится из общей сочлененной скважины 410, и жидкость и (или) газ могут быть удалены из подземной зоны или поданы в подземную зону по скважине 412, сообщающейся с каждой скважиной 406. В данном примере осуществления скважины 410 и 412 показаны смещенными по отношению друг к другу, однако должно быть очевидно, что сеть 400 дренажных скважин может быть также сформирована с использованием ствола общей пробуренной с поверхности скважины, как показано на Фиг.7А. Благодаря этому обеспечивается более компактное расположение производственного оборудования на поверхности, более широкий охват площади сетью распределения скважин, сокращение количества бурового оборудования и объема работ.
Как показано на Фиг.9, скважины 406 являются противолежащими друг другу под углом в основном 180 градусов, в результате чего каждая сеть 402 дренажных скважин простирается в противоположном направлении. Тем не менее, могут быть использованы иные необходимые углы распределения скважин, сети или ориентировки в зависимости от характеристик конкретных подземных залежей. В примере осуществления, приведенном на Фиг.9, каждая сеть 402 дренажных скважин также включает ряд боковых скважин 408, отходящих от скважин 406. Боковые скважины 408 могут быть зеркально размещены на противоположных сторонах скважин 406 или могут быть смещены относительно друг друга вдоль скважин 406. Каждая из боковых скважин 408 включает криволинейную часть 418, отходящую от скважины 406, и последующую прямую часть 420, сформированную после того, как криволинейная часть 418 достигнет соответствующего направления. Для равномерного покрытия площади участка 404 пары боковых скважин 408 могут быть расположены на равном расстоянии друг от друга на каждой стороне скважины 406. Тем не менее, количество, расстановка и угловая ориентировка боковых скважин 408 могут изменяться в зависимости от характеристик участков подземных залежей, требований к размерам участка и скважинам. Как описано выше, боковые скважины 408 могут быть сформированы таким образом, чтобы длина каждой скважины 408 уменьшалась по мере увеличения расстояния между каждой соответственной боковой скважиной 408 и скважинами 410 или 412. Соответственно, расстояние от скважин 410 или 412 до внешней границы подземной зоны 404 вдоль каждой боковой скважины 408 в основном является равным, упрощая тем самым проходку скважины.
В данном примере осуществления каждая сеть 402 дренажных скважин обеспечивает доступ к участку 422, в основном треугольной формы. Зоны 422 треугольной формы образованы путем размещения боковых скважин 408 ортогонально скважинам 406. Разрабатываемые зоны 422 треугольной формы размещены смежно, в результате чего каждая зона 422 имеет общую сторону 424. Сочетание зон 422 обеспечивает образование подземной зоны 404 четырехугольной в плане формы. Как описано выше, несколько сетей 400 дренажных скважин могут быть сгруппированы для обеспечения равномерного доступа к участкам подземных работ.
На Фиг.10 приведена блок-схема с описанием способа усиления доступа к подземным ресурсам, например угольному пласту 15 в соответствии с примером осуществления настоящего изобретения. В данном примере осуществления способ начинается с этапа 500, на котором производится определение участков, подлежащих дренированию, и определения типов сетей дренажных скважин для этих участков. С целью обеспечения оптимального покрытия площади подземной зоны могут быть использованы перистые сети дренажных скважин. Тем не менее, должно быть очевидно, что также могут быть использованы иные необходимые сети дренажных скважин.
При переходе к этапу 502 с поверхности 14 до предварительно заданной глубины бурятся скважины 12 через угольный пласт 15. Далее, на этапе 504 производится скважинный каротаж для точного определения места залегания угольного пласта в скважине 12. На этапе 506 производится формирование расширенной полости 22 в первой скважине 12 в толще угольного пласта 15. Как указывалось выше, расширенная полость 20 может быть сформирована с применением оборудования и технологии расширения ствола скважины и иного стандартного оборудования.
На этапе 508 с поверхности 14 до заданной глубины бурится вторая скважина 12 через угольный пласт 15. Вторая скважина 12 смещена от первой скважины 12 по поверхности 14. Далее, на этапе 510 используется скважинное каротажное оборудование для точного определения места залегания угольного пласта во второй скважине 12. На этапе 512 во второй скважине 12 бурится расширенная полость 22 в толще угольного пласта 15. На этапе 514 бурится третья скважина 12 до заданной глубины с поверхности 14 через угольный пласт 15. На поверхности третья скважина 12 удалена от первой и второй скважин 12. Например, как описано выше, первая, вторая и третья скважины 12 могут быть размещены с интервалом в основном 120 градусов в плане относительно друг друга и могут находиться на равном расстоянии от сети дренажных скважин. Далее, на этапе 516 используется скважинное каротажное оборудование для точного определения места залегания угольного пласта 15 в третьей скважине 12. На этапе 518 в третьей скважине 12 бурится расширенная полость 22 в толще угольного пласта 15.
Далее на этапе 520 бурится сочлененная скважина 30 до пересечения со сформированными в первой, второй и третьей скважинах 12 расширенными полостями 22. На этапе 522 для формирования перистых сетей дренажных скважин через сочлененную скважину 30 в толще угольного пласта 15 бурятся скважины 104, которые отходят от каждой расширенной полости 20. После бурения скважины 104 на этапе 524 бурятся боковые скважины 110 для формирования перистой сети дренажных скважин. На этапе 526 бурятся боковые скважины 148 для формирования перистой сети дренажных скважин.
На этапе 528 производится герметизация устья скважины 30. Далее, на этапе 530 производится очистка полостей 22 для подготовки к установке эксплуатационного оборудования, предназначенного для погружения. Расширенные полости 22 могут быть освобождены от воды путем нагнетания сжатого воздуха в первую, вторую и третью скважину 12 или с помощью иного приемлемого технологического процесса. На этапе 532 в первой, второй и третьей скважине 12 монтируется производственное оборудование. Производственное оборудование может включать штанговый насос, опускаемый в расширенные полости 22 для удаления воды из угольного пласта 15. Откачка воды приводит к падению давления в угольном пласте, в результате чего обеспечивается высвобождение метана из породы и его откачка из межтрубного пространства первой, второй и третьей скважин 12.
На этапе 534 производится откачка на поверхность воды, поступающей из сетей дренажных скважин в расширенные полости 22. При необходимости воду можно откачивать постоянно или периодически с целью ее удаления из полостей 22. На этапе 536 на поверхности 14 производится постоянный сбор метана, высвободившегося из угольного пласта 15.
Далее, на этапе принятия решения 538 определяется целесообразность завершения добычи газа из угольного пласта 15. В одном примере осуществления добыча газа может быть завершена после того, как издержки по сбору газа станут превышать доходы, получаемые от эксплуатации скважины. В другом примере осуществления добыча газа из скважины может продолжаться до того момента, пока объем газа в угольном пласте не станет ниже объема, допустимого для продолжения разработки. Если добыча газа не завершена, производится возврат к этапам 534 и 536, на которых продолжается откачка воды и газа из угольного пласта 15. По завершению добычи переходят к этапу 540, на котором производится демонтаж производственного оборудования.
Далее, на этапе принятия решения 542 определяют возможность дальнейшей подготовки угольного пласта 15 для проведения горных работ. Если принимается решение о дальнейшей подготовке угольного пласта 15 для разработки, производится переход к этапу 544, на котором в угольный пласт 15 может нагнетаться вода и иные добавки с целью повторного обводнения угольного пласта 15 для снижения уровня запыленности, повышения эффективности разработки угля и качества добываемой продукции.
Если не требуется проведение работ по дополнительной подготовке угольного пласта 15 к разработке, производится переход от этапа 542 к этапу 546, на котором происходит разработка угольного пласта 15. Извлечение угля из угольного пласта 15 приводит к растрескиванию и обрушению кровли выработки в образовавшееся в процессе добычи выработанное пространство. Обрушение кровли выработки приводит к накоплению газа в выработанном пространстве, добычу которого можно производить на этапе 548 через первую, вторую и третью скважины 12. Соответственно, для добычи газа из выработанного пространства угольного пласта 15 не потребуется проведения дополнительных буровых работ. Этап 548 ведет к завершению процесса, в ходе которого производилась эффективная дегазация угольного пласта 15 с поверхности. Способ обеспечивает взаимовыгодную связь с шахтой, то есть удаление нежелательного газа до разработки и повторное обводнение угля до его добычи.
Хотя настоящее изобретение описано на нескольких примерах его осуществления, однако специалистам в данной области техники могут быть предложены многочисленные изменения и модификации. Такие изменения и модификации, определяемые формулой изобретения, находятся в пределах настоящего изобретения.
Формула изобретения
1. Подземная сеть дренажных скважин для достижения заданной области подземной зоны с поверхности, которая включает первую скважину, простирающуюся от пробуренной с поверхности скважины, по существу определяющей начало подземной зоны, до дальнего конца участка и множество боковых скважин, простирающихся наружу в направлении от первой скважины, отличающаяся тем, что расстояние от забоя боковой скважины до пробуренной с поверхности скважины является в основном равным для каждой из боковых скважин.
2. Сеть дренажных скважин по п.1, в которой множество боковых скважин включает первый ряд боковых скважин, простирающихся наружу от первой стороны первой скважины, и второй ряд боковых скважин, простирающихся наружу от второй стороны первой скважины.
3. Сеть дренажных скважин по п.2, дополнительно включающая третий ряд боковых скважин, простирающихся наружу от первого и второго рядов боковых скважин.
4. Сеть дренажных скважин по п.1, в которой каждая из множества боковых скважин простирается в направлении внешнего края участка.
5. Сеть дренажных скважин по п.1, в которой каждая из множества боковых скважин расположены в основном на равном расстоянии друг от друга.
6. Сеть дренажных скважин по п.1, в которой по меньшей мере одна из множества боковых скважин включает первую криволинейную часть, проходящую от первой скважины, вторую криволинейную часть, проходящую от первой криволинейной части, и удлиненную часть, проходящую от второй криволинейной части.
7. Сеть дренажных скважин по п.6, в которой вторая криволинейная часть простирается в направлении пробуренной с поверхности скважины.
8. Сеть дренажных скважин по п.1, в которой участок в основном представляет собой четырехугольник и в которой забой первой скважины простирается до удаленного края четырехугольника.
9. Сеть дренажных скважин по п.8, в которой каждая из множества боковых скважин простирается к внешнему краю четырехугольника.
10. Способ достижения заданной области подземной зоны с поверхности, который включает формирование первой скважины, простирающейся от поверхности скважины, по существу определяющей начало подземной зоны, до дальнего конца участка и формирование множества боковых скважин, простирающихся в направлении наружу от первой скважины, и отличающийся тем, что расстояние от забоя боковой скважины до пробуренной с поверхности скважины в основном является равным для каждой из боковых скважин.
11. Способ по п.10, в котором формирование множества боковых скважин включает формирование первого ряда боковых скважин, простирающихся наружу от первой стороны первой скважины, и формирование второго ряда боковых скважин, простирающихся наружу от второй стороны первой скважины.
12. Способ по п.10, в котором формирование множества боковых скважин включает формирование первого ряда боковых скважин, простирающихся наружу от первой стороны первой скважины, формирование второго ряда боковых скважин, простирающихся наружу от второй стороны первой скважины, и формирование третьего ряда боковых скважин, простирающихся наружу от первого и второго рядов боковых скважин.
13. Способ по п.10, в котором формирование множества боковых скважин включает продление каждой из множества боковых скважин до внешней границы участка.
14. Способ по п.10, в котором формирование множества боковых скважин включает размещение каждой из множества боковых скважин в основном на равном расстоянии друг от друга.
15. Способ по п.10, в котором формирование, по меньшей мере, одной из множества боковых скважин включает формирование первой криволинейной части, простирающейся от первой скважины, формирование второй криволинейной части, простирающейся от первой криволинейной части, и формирование удлиненной части, простирающейся от второй криволинейной части.
16. Способ по п.15, в котором формирование второй криволинейной части включает продление второй криволинейной части в направлении пробуренной с поверхности скважины.
17. Способ по п.10, в котором формирование первой скважины и множества боковых скважин включает размещение первой скважины и множества боковых скважин с целью формирования участка в основном четырехугольной в плане формы, в котором забой первой скважины простирается до дальнего конца участка четырехугольной формы.
18. Способ по п.17, в котором формирование множества боковых скважин дополнительно включает продление каждой из боковых скважин до внешней границы участка четырехугольной формы.
19. Способ по п.10, в котором формирование множества боковых скважин включает формирование первого ряда боковых скважин, простирающихся наружу от первой стороны первой скважины, и формирование второго ряда боковых скважин, простирающихся наружу от второй стороны первой скважины, при этом скважины второй стороны расположены напротив скважин первой стороны.
20. Способ по п.19, в котором формирование первого и второго рядов боковых скважин включает формирование каждой из первого ряда боковых скважин напротив соответствующих боковых скважин второго ряда.
21. Система для достижения заданной области подземной зоны с поверхности, которая включает первую сеть дренажных скважин, простирающуюся от пробуренной с поверхности скважины, при этом первая сеть дренажных скважин образует первый, в основном, четырехугольный в плане участок, и вторую сеть дренажных скважин, простирающуюся от пробуренной с поверхности скважины, при этом вторая сеть дренажных скважин образует второй, в основном, четырехугольный в плане участок, и в которой первая сторона первого четырехугольного участка в основном совпадает с первой стороной второго четырехугольного участка, и в которой каждая из первой и второй сети скважин включает основную скважину, простирающуюся от сообщающейся пробуренной с поверхности скважины, причем основная скважина простирается от первого конца до дальнего конца соответствующего четырехугольного участка, и первый ряд боковых скважин, простирающихся наружу от основной скважины, отличающаяся тем, что множество боковых скважин простирается наружу от первого ряда боковых скважин.
22. Система по п.21, в которой расстояние от забоя боковой скважины до пробуренной с поверхности скважины в основном является равным для каждого первого ряда боковых скважин.
23. Система по п.21, в которой каждая из первого ряда боковых скважин расположены в основном на равном расстоянии друг от друга.
24. Система по п.21, которая дополнительно включает третью сеть дренажных скважин, простирающуюся от пробуренной с поверхности скважины, при этом третья сеть дренажных скважин образует третий, в основном четырехугольный в плане участок и первая сторона третьего четырехугольного участка в основном совпадает со второй стороной первого четырехугольного участка.
25. Система по п.21, в которой длина каждой из первого ряда боковых скважин уменьшается по мере увеличения расстояния от соответствующей боковой скважины до пробуренной с поверхности скважины.
26. Способ обеспечения доступа к подземной зоне с поверхности, который включает формирование первой и второй сетей дренажных скважин в форме первого и второго, в основном четырехугольного в плане участка, при этом первая и вторая сети дренажных скважин простираются от пробуренной с поверхности скважины, в которой первая сторона первого четырехугольного участка в основном совпадает с первой стороной второго четырехугольного участка и в которой формирование каждой из первой и второй сетей скважин включает формирование основной скважины, простирающейся от пробуренной с поверхности скважины, причем основная скважина простирается от первого конца до дальнего конца соответствующего четырехугольного участка, формирование первого ряда боковых скважин, простирающихся наружу от основной скважины, отличающийся тем, что формируют множество боковых скважин, простирающихся наружу от первого ряда боковых скважин.
27. Способ по п.26, в котором формирование первого ряда боковых скважин осуществляют таким образом, чтобы расстояние от забоя боковой скважины до пробуренной с поверхности скважины являлось в основном равным для каждой из боковых скважин данного ряда.
28. Способ по п.26, в котором каждая из первого ряда боковых скважин расположена в основном на равном расстоянии друг от друга.
29. Способ по п.26, который дополнительно включает формирование третьей сети дренажных скважин в форме третьего, в основном четырехугольного в плане участка, при этом третья сеть дренажных скважин простирается от пробуренной с поверхности скважины и в котором первая сторона третьего четырехугольного участка в основном совпадает со второй стороной первого четырехугольного участка.
30. Способ по п.26, в котором длина каждой из первого ряда боковых скважин уменьшается по мере увеличения расстояния от соответствующей боковой скважины до пробуренной с поверхности скважины.
31. Система для достижения заданной области подземной зоны с поверхности, включающая пробуренную с поверхности скважину, простирающуюся от поверхности к подземной зоне, и множество сетей дренажных скважин, размещенных в пределах подземной зоны, причем каждая сеть простирается в разных направлениях от пробуренной с поверхности скважины, при этом множество сетей дренажных скважин симметрично размещено вокруг пробуренной с поверхности скважины, и в которой каждая из сети скважин включает основную скважину, простирающуюся от пробуренной с поверхности скважины, и первый ряд боковых скважин, простирающихся наружу от основной скважины, отличающаяся тем, что множество боковых скважин простирается наружу от первого ряда боковых скважин.
32. Система по п.31, в которой каждая из первого ряда боковых скважин размещена в основном на равном расстоянии друг от друга.
33. Система по п.31, в которой длина соответствующей скважины из первого ряда боковых скважин уменьшается по мере увеличения расстояния от соответствующей боковой скважины до пробуренной с поверхности скважины.
34. Система по п.31, в которой расстояние от каждой из первого ряда боковых скважин до пробуренной с поверхности скважины является в основном равным.
35. Система по п.31, в которой каждая из множества сетей дренажных скважин в основном образует в плане четырехугольник.
36. Система по п.31, в которой первый ряд боковых скважин расположен против соответствующего второго ряда боковых скважин.
37. Способ для доступа к участку подземной зоны с поверхности, включающий формирование пробуренной с поверхности скважины, простирающейся к подземной зоне, формирование множества сетей дренажных скважин, размещенных в пределах подземной зоны, причем каждая сеть простирается в разных направлениях от пробуренной с поверхности скважины, при этом множество сетей дренажных скважин симметрично размещено вокруг пробуренной с поверхности скважины, и в которой формирование каждой из сети скважин включает формирование основной скважины, простирающейся от пробуренной с поверхности скважины, причем основная скважина простирается от первого конца до дальнего конца соответствующего четырехугольного участка, и формирование первого ряда боковых скважин, простирающихся наружу от основной скважины, отличающийся тем, что формируют второй ряд боковых скважин, простирающихся наружу от первого ряда боковых скважин.
38. Способ по п.37, в котором формирование первого ряда боковых скважин включает размещение каждой из множества боковых скважин в основном на равном расстоянии друг от друга.
39. Способ по п.37, в котором формирование первого ряда боковых скважин включает формирование каждой из первого ряда боковых скважин таким образом, чтобы длина боковой скважины уменьшалась по мере увеличения расстояния от соответствующей боковой скважины до пробуренной с поверхности скважины.
40. Способ по п.37, в котором формирование первого ряда боковых скважин включает формирование каждой из первого ряда боковых скважин таким образом, чтобы расстояние от каждой из боковых скважин до пробуренной с поверхности скважины в основном было равным.
41. Способ по п.37, в котором формирование каждой из множества сетей дренажных скважин включает формирование каждой из множества сетей дренажных скважин в виде области, имеющей в основном четырехугольную форму.
42. Способ по п.37, в котором формирование первого ряда боковых скважин включает формирование первого ряда боковых скважин, простирающихся наружу от основной скважины.
43. Система для обеспечения доступа к подземной зоне с поверхности, включающая первую сеть дренажных скважин, размещенную в пределах подземной зоны, простирающуюся от первой, пробуренной с поверхности скважины, причем первая сеть скважин включает основную скважину, простирающуюся от пробуренной с поверхности скважины, и первый ряд боковых скважин, простирающихся наружу от первой скважины, и вторую сеть дренажных скважин, размещенную в пределах подземной зоны, простирающуюся от второй, пробуренной с поверхности скважины, при этом первая и вторая сети дренажных скважин имеют конфигурацию, обеспечивающую их смежное группирование в пределах подземной зоны, отличающаяся тем, что первая сеть дренажных скважин дополнительно включает множество боковых скважин, простирающихся наружу от первого ряда боковых скважин.
44. Система по п.43, в которой каждая из первой и второй сетей дренажных скважин включает множество основных боковых скважин, простирающихся наружу от соответствующей, пробуренной с поверхности скважины, первый ряд боковых скважин, простирающихся наружу от каждой из основных боковых скважин, и второй ряд боковых скважин, простирающихся наружу от первого ряда боковых скважин.
45. Система по п.44, в которой множество основных боковых скважин симметрично размещены вокруг соответствующей, пробуренной с поверхности скважины.
46. Система по п.44, в которой длина каждой из первого ряда боковых скважин уменьшается по мере увеличения расстояния между соответствующей боковой скважиной и соответствующей пробуренной с поверхности скважиной.
47. Система по п.43, в которой первый ряд боковых скважин, простирается наружу от первой стороны основной скважины, а второй ряд боковых скважин простирается наружу от второй основной скважины.
48. Система по п.47, в которой каждая из скважин из первого ряда боковых скважин расположена напротив каждой соответствующей скважины второго ряда.
49. Способ для обеспечения доступа к подземной зоне с поверхности, включающий формирование первой сети дренажных скважин, простирающейся от первой пробуренной с поверхности и размещенной в пределах подземной зоны, при этом первая сеть скважин включает основную скважину, простирающуюся от первой пробуренной с поверхности скважины, и первый ряд боковых скважин, простирающихся наружу от первой скважины, и формирование второй сети дренажных скважин, простирающейся от второй, пробуренной с поверхности и размещенной в пределах подземной зоны скважины, при этом расположение первой и второй сетей дренажных скважин обеспечивает их смежное группирование в пределах подземной зоны, отличающийся тем, что первая скважина дополнительно включает множество боковых скважин, простирающихся наружу от первого ряда боковых скважин.
50. Способ по п.49, в котором формирование каждой из первой и второй сетей дренажных скважин включает формирование множества основных боковых скважин, простирающихся наружу от соответствующей, пробуренной с поверхности скважины, формирование первого ряда боковых скважин, простирающихся наружу от каждой из множества основных боковых скважин, и формирование второго ряда боковых скважин, простирающихся наружу от первого ряда основных боковых скважин.
51. Способ по п.50, в котором формирование множества основных боковых скважин включает формирование множества основных боковых скважин, симметрично размещенных вокруг соответствующей с поверхности скважины.
52. Способ по п.49, в котором формирование первого ряда боковых скважин включает формирование каждой из первого множества боковых скважин, длина которой уменьшается по мере увеличения расстояния между соответствующей боковой скважиной и пробуренной с поверхности скважиной.
53. Способ по п.49, в котором формирование первого ряда боковых скважин включает формирование первого ряда боковых скважин, простирающихся наружу от первой стороны основной скважины, и формирование второго ряда боковых скважин, простирающихся наружу от второй стороны основной скважины.
54. Способ по п.53, в котором формирование первого ряда боковых скважин включает формирование каждой из боковых скважин первого ряда напротив каждой соответствующей скважины второго ряда боковых скважин.
Приоритет по пунктам:
24.01.01 – пп.1-54.
РИСУНКИ
|
|