|
|
(21), (22) Заявка: 2003123698/12, 28.07.2003
(24) Дата начала отсчета срока действия патента:
28.07.2003
(43) Дата публикации заявки: 20.01.2005
(46) Опубликовано: 27.09.2006
(56) Список документов, цитированных в отчете о поиске:
SU 1741647 A, 23.06.1992. SU 641908 A, 18.01.1979. SU 1486088 A1, 15.06.1989. RU 2178966 C2, 10.02.2002. US 3654753 A1, 11.04.1972.
Адрес для переписки:
353265, Краснодарский край, Северский р-н, пос. Черноморский, ул. Крупской, 3, кв.8, Л.Г. Пашкиной
|
(72) Автор(ы):
Горб Григорий Давыдович (RU), Пашкина Людмила Григорьевна (RU)
(73) Патентообладатель(и):
Пашкина Людмила Григорьевна (RU)
|
(54) ТАБАКОУБОРОЧНЫЙ КОМБАЙН
(57) Реферат:
Изобретение относится к сельскохозяйственному машиностроению и предназначено для уборки табака с отделением табачных листьев. Комбайн содержит установленные на раме листоотделяющий рабочий орган с подъемным механизмом, связанные с листоотделяющим рабочим органом транспортеры для выноса отделенных листьев и накопитель. Комбайн дополнительно снабжен перебрасывающим транспортером, размещенным на выходе из транспортеров для выноса отделенных листьев и установленным перпендикулярно им с возможностью реверса, рабочая поверхность перебрасывающего транспортера выполнена с наклоном в сторону транспортеров для выноса отделенных листьев и удалена от рабочей поверхности этих транспортеров на расстояние не более длины табачного листа. Накопитель выполнен в виде двух контейнеров, каждый из которых установлен на конце перебрасывающего транспортера с возможностью возвратно-поступательного движения. Повышаются надежность технологического процесса уборки листьев табака и производительность. 2 з.п. ф-лы, 1 ил.
Изобретение относится к сельскохозяйственному машиностроению и предназначено для уборки табака с отделением табачных листьев.
Известен табакоуборочный комбайн, содержащий стеблеподающий механизм, листоотделяющий аппарат с протягивающими вальцами, транспортер для выноса листьев и накопитель. Листоотделяющий аппарат состоит из трех вращающихся подпружиненных барабанов. Передняя пара барабанов имеет валы, общие с ветвями транспортера. Третий барабан размещен за парой барабанов между ними для образования листоотделяющей ячейки. Каждый барабан имеет сверху режущую кромку, а стеблеподающий механизм состоит из протягивающих вальцов и двух барабанов листоотделяющего аппарата (см. патент РФ №217896 от 04.04.00 г., МПК 7 A 01 D 45/16).
Общими признаками предлагаемого и известного комбайнов являются:
– листоотделяющий аппарат;
– транспортер для выноса отделенных листьев;
– накопитель.
Наиболее близким по технической сущности и достигаемому результату к предлагаемому комбайну является табакоуборочный комбайн, содержащий установленные на раме листоотделяющий рабочий орган с подъемным механизмом и выносные транспортеры, связанные с накопителем. На листоотделяющем органе закреплены кронштейны, в имеющихся пазах каждого из которых посредством роликов установлены передние части выносного транспортера, задние части которого смонтированы на горизонтальной оси, установленной на раме. В поперечно-горизонтальной плоскости в передней верхней и нижней частях накопителя и в его задней верхней части установлены валы, на которых закреплены заостренные стержни, причем на стержнях смонтирован контейнер из мягкого материала, снабженный эластичным элементом, размещенным по периметру его верхней части для стягивания контейнера. На концах эластичного элемента также закреплены заостренные стержни, на валах с наружной поверхности накопителя установлены рычаги управления, последовательно связанные между собой посредством тяг, а вал, расположенный в верхней передней части накопителя, посредством рычага связан с имеющейся защелкой (см. авторское свидетельство СССР №1741647 от 16.02.90 г., МПК5 A 01 D 45/16).
Общими признаками предлагаемого и известного комбайнов являются:
– установленные на раме листоотделяющий орган с подъемным механизмом;
– связанные с листоотделяющим рабочим органом транспортеры для выноса отделенных листьев;
– накопитель.
Недостатками известных табакоуборочных комбайнов являются механические повреждения листьев, отсутствие ориентированной укладки листьев в накопитель и хаотическое распределение убранных листьев в накопителе, вследствие чего нарушается технологический процесс работы табакоуборочного комбайна.
Техническая задача заключается в повышении надежности технологического процесса уборки листьев табака и повышении производительности комбайна.
Техническая задача реализована в табакоуборочном комбайне, содержащем установленные на раме листоотделяющий рабочий орган с подъемным механизмом, связанные с листоотделяющим рабочим органом транспортеры для выноса отделенных листьев и накопитель. Новизна заключается в том, что табакоуборочный комбайн дополнительно снабжен перебрасывающим транспортером, размещенным на выходе из транспортеров для выноса отделенных листьев и установленным перпендикулярно им с возможностью реверса, при этом рабочая поверхность перебрасывающего транспортера выполнена с наклоном в сторону транспортеров для выноса отделенных листьев и удалена от рабочей поверхности этих транспортеров на расстоянии не более длины табачного листа. Кроме того, накопитель выполнен в виде двух контейнеров, каждый из которых установлен на конце перебрасывающего транспортера с возможностью возвратно-поступательного движения. На выходе из листоотделяющего рабочего органа установлены заградительные щетки. Каждый из контейнеров установлен на конце перебрасывающего транспортера с возможностью наклона в сторону перебрасывающего транспортера.
Заявляемая совокупность отличительных признаков позволяет обеспечить надежность технологического процесса вследствие ориентированной подачи отделенных листьев и упорядоченной укладки их в контейнеры, высокую степень сохранности отделенных листьев и высокую производительность комбайна вследствие бесперебойной работы контейнеров, а также минимальные потери листьев.
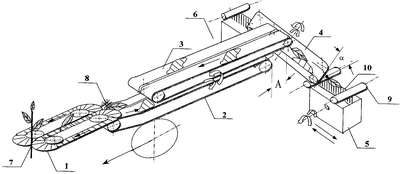
На чертеже представлен общий вид табакоуборочного комбайна, состоящего из листоотделяющего рабочего органа 1, основного 2 и вспомогательного 3 транспортеров для выноса отделенных листьев, перебрасывающего транспортера 4 и накопителя, выполненного в виде двух контейнеров 5 и 6. Листоотделяющий рабочий орган 1 установлен на раме (не показано), снабжен подъемным механизмом (не показано) и имеет рабочее русло 7. На выходе из листоотделяющего рабочего органа 1 установлены заградительные щетки 8. Каждый транспортер 2, 3 состоит из двух частей (лент), между которыми организован канал для прохода листьев. Задние части транспортеров 2 и 3 установлены с возможностью поворота вокруг оси, установленной на раме (не показано). Перебрасывающий транспортер 4 установлен на выходе из транспортеров 2 и 3 перпендикулярно им и с возможностью реверса. Рабочая поверхность перебрасывающего транспортера 4 наклонена в сторону транспортеров 2 и 3 по углом “ ” и удалена от рабочей поверхности этих транспортеров на расстоянии “А” не более длины табачного листа. Указанное расстояние “А” и угол наклона “ ” регулируются в зависимости от условий проведения технологического процесса. Контейнеры 5 и 6 установлены на каждом конце перебрасывающего транспортера 4 с возможностью возвратно-поступательного движения. Контейнеры 5 и 6 снабжены прикатывающими колесами 9 и задвижкой (не показано). Контейнеры 5 и 6 установлены с возможностью наклона как в сторону перебрасывающего транспортера 4, так и от него. Контейнеры 5 и 6 снабжены иглами 10 для нанизывания табачных листьев.
Табакоуборочный комбайн работает следующим образом. При движении комбайна по междурядью рабочее русло 7 направляется на рядок табачных стеблей, которые замыкаются пальцами ниже убираемого яруса ломки листьев и обхватываются листоотделительными цепями листоотделяющего рабочего органа 1. В результате того, что передний конец листоотделяющего рабочего органа 1 опущен, а задний поднят, образованная в результате обхвата стебля цепями ячея перемещается по стеблю снизу вверх, срезает листья и опиливает кору на стебле. Отделенные листья подаются заградительными щетками 8 на транспортер 2 и перемещаются до транспортера 3, где захватываются транспортерными лентами, выносятся наверх и подаются на перебрасывающий транспортер 4. Подаваемые на поверхность перебрасывающего транспортера 4 табачные листья при падении контактируют с рабочей поверхностью транспортера 4 только частью листа. Это обеспечивает их поворот и расположение вершинами в сторону движения транспортерной ленты перебрасывающего транспортера 4, т.к. масса листа у вершины сравнительно меньше, чем у корешка. Включенный в работу один из контейнеров 5 совершает возвратно-поступательные движения. Подаваемые на его поверхность табачные листья, направленные вершинами в сторону движения транспортерной ленты перебрасывающего транспортера 4, прикатываются прикатывающими колесами 9 и нанизываются на иглы 10. После того, как кассета контейнера 5 заполнится листьями, прикатывающие колеса 9 поднимут задвижку и освободят очередную поворотную кассету, которая опрокинется на табачные листья до полного заполнения контейнера 5 табачными листьями. Затем включается в работу контейнер 6 и заполняется листьями аналогично контейнеру 5.
Формула изобретения
1. Табакоуборочный комбайн, содержащий установленные на раме листоотделяющий рабочий орган с подъемным механизмом, связанные с листоотделяющим рабочим органом транспортеры для выноса отделенных листьев и накопитель, отличающийся тем, что он дополнительно снабжен перебрасывающим транспортером, размещенным на выходе из транспортеров для выноса отделенных листьев и установленным перпендикулярно им с возможностью реверса, при этом рабочая поверхность перебрасывающего транспортера выполнена с наклоном в сторону транспортеров для выноса отделенных листьев и удалена от рабочей поверхности этих транспортеров на расстояние не более длины табачного листа, кроме того, накопитель выполнен в виде двух контейнеров, каждый из которых установлен на конце перебрасывающего транспортера с возможностью возвратно-поступательного движения.
2. Табакоуборочный комбайн по п.1, отличающийся тем, что на выходе из листоотделяющего рабочего органа установлены заградительные щетки.
3. Табакоуборочный комбайн по пп.1 и 2, отличающийся тем, что каждый из контейнеров установлен на конце перебрасывающего транспортера с возможностью наклона в сторону перебрасывающего транспортера.
РИСУНКИ
|
|