|
|
(21), (22) Заявка: 2004107458/09, 12.03.2004
(24) Дата начала отсчета срока действия патента:
12.03.2004
(43) Дата публикации заявки: 10.10.2005
(46) Опубликовано: 27.08.2006
(56) Список документов, цитированных в отчете о поиске:
Устройство комплектное распределительное типа КРУВ-6В-УХЛ5. Техническое описание и Инструкция по эксплуатации, ИМШБ, 674511.011ТО, 1989 г. SU 1467577 A1, 23.03.1989. SU 1472955 A1, 15.04.1989. US 4531018 А, 23.07.1985.
Адрес для переписки:
69015, Украина, г. Запорожье, ул. Турбинная, 13, ООО “Научно-производственное предприятие “Запорожспецэнергооборудование”
|
(72) Автор(ы):
Погребняк Наталья Николаевна (UA), Фурманов Григорий Павлович (UA)
(73) Патентообладатель(и):
Общество с ограниченной ответственностью “Научно-призводственное предприятие “Запорожспецэнергооборудование” (UA)
|
(54) ГЕРМЕТИЧНЫЙ ПРОХОДНОЙ ИЗОЛЯТОР
(57) Реферат:
Изобретение относится к электротехнике, в частности к взрывобезопасному электрооборудованию. Герметичный проходной изолятор состоит из токоведущего стержня и фарфоровой изоляционной втулки, армированной снаружи металлическим фланцем. На участках токоведущего стержня, находящихся внутри изоляционной втулки, за исключением участка, армированного металлическим фланцем, имеются плотно прилегающие к стержню компенсирующие втулки. Полости между компенсирующими втулками и изоляционной втулкой (на концах втулки), между токоведущим стержнем и изоляционной втулкой (на участке фарфоровой втулки в области армирования металлическим фланцем) залиты эпоксидным компаундом. Техническим результатом является повышение надежности и срока службы герметичного проходного изолятора. 1 ил.
Изобретение относится к электротехнике, в частности к взрывобезопасным электрическим аппаратам.
Известна конструкция проходного изолятора [1], состоящего из фарфоровой изоляционной втулки, в которой проходит токоведущий стержень, металлического фланца, предназначенного для крепления проходного изолятора. Металлический фланец соединяется с изоляционным телом (фарфоровой втулкой) при помощи различных видов армирования: цементами, различного состава связками, например эпоксидными компаундами. Для изделий общепромышленного назначения токоведущий стержень, проходящий внутри фарфоровой втулки, прокладывается свободно и имеет наружные размеры меньше проходного отверстия фарфоровой втулки. Но для изделий специального назначения, например взрывобезопасного распределительного устройства, для предотвращения передачи взрыва через зазор между изоляционной втулкой и токоведущим стержнем его необходимо также герметизировать с помощью упомянутых выше способов [2]. Получается узел, представляющий собой систему: токоведущий медный стержень – заливочная масса (эпоксидный компаунд) – фарфоровая втулка – заливочная масса – металлический фланец. Материалы этой системы имеют различные коэффициенты линейного расширения. Наименьший коэффициент имеет фарфор, наибольший – медь. Недостатком такой системы является то, что уже при климатических (суточных и сезонных) изменениях температуры возникают устойчивые механические напряжения в узле армирования. Напряжения значительно усиливаются при нагреве стержня проходящим в нем электрическим током, тогда как температура других элементов системы остается значительно ниже.
Наиболее близким аналогом, выбранным в качестве прототипа, является проходной изолятор взрывобезопасного комплектного распределительного устройства на напряжение 6 кВ [2].
Изолятор представляет собой фарфоровую втулку, снаружи с помощью эпоксидного компаунда герметично армированную металлическим фланцем для установки изолятора во взрывонепроницаемой перегородке с соблюдением требований взрывозащиты, а внутри втулки проходит токоведущий стержень, герметизированный эпоксидным компаундом.
При таком армировании обеспечивается взрывозащита при передаче электроэнергии из одного отделения распределительного устройства в другое, но климатические изменения температуры, а особенно нагрев токоведущего стержня при прохождении электрического тока вследствие различных значений коэффициента линейного расширения материалов системы, вызывают растрескивание фарфоровых втулок.
Задачей изобретения является повышение надежности герметичных проходных изоляторов за счет снижения напряжения в узле армирования при климатическом изменении температуры и при нагреве токоведущего стержня.
Для этого в известном изоляторе, выполненном в виде фарфоровой втулки, армированной снаружи фланцем, имеющим токоведущий стержень, герметизированный внутри фарфоровой втулки эпоксидным компаундом, предлагается на токоведущий стержень с двух сторон плотно надеть (или нанести в виде напыления) компенсирующие втулки, а участок стержня в области наружного фланца оставить для обеспечения герметизации без компенсирующих втулок. Свободные промежутки между изоляционной втулкой и стержнем в средней ее части и между компенсирующими втулками и изоляционной втулкой на концах втулки заполнить эпоксидным компаундом.
Предложенные существенные признаки необходимы и достаточны для достижения поставленной задачи во всех случаях использования изобретения.
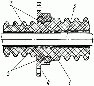
На чертеже показан герметичный проходной изолятор.
Проходной изолятор состоит из фарфоровой втулки 1, токоведущего стержня 2, компенсирующих втулок 3, фланца 4, заливочного эпоксидного компаунда 5.
Проходной изолятор крепится во взрывонепроницаемой перегородке с помощью фланца 4 и обеспечивает взрывозащиту, т.к. фланец имеет герметичную заливку 5 между фланцем и фарфоровой втулкой, а токоведущий стержень имеет герметичную заливку эпоксидным компаундом на участке между компенсирующими втулками 3 (на остальных участках токоведущего стержня – слой компаунда между фарфоровой и компенсирующей втулками). При климатических изменениях температуры, а также при нагреве токоведущего стержня диаметр стержня увеличивается. Фарфоровая втулка 1, имеющая наименьший коэффициент линейного расширения, воспринимает давление расширяющегося стержня. Компенсирующие втулки деформируются и уменьшают давление токоведущего стержня изнутри на концы фарфоровой втулки. Прочность фарфоровой втулки на разрыв самая низкая по концам, а наиболее прочной является втулка в средней части, этим обусловлен выбор этой части втулки для герметизации. К тому же здесь усиливает ее и армирование металлическим фланцем.
На участке между компенсирующими втулками, где выполнена герметизация токопроводящего стержня, усилия на втулку изнутри будут максимальны. Но в этом месте втулка способна выдерживать большие механические нагрузки.
Такой герметичный проходной изолятор способен выдерживать нагрев токоведущего стержня до 105°С и более без растрескивания фарфоровой втулки.
Источники информации
1. Электрические изоляторы./ Н.С.Костюков, Н.В.Минаков, В.А.Князев и др. Под ред. Н.С.Костюкова. – М.: Энергоатомиздат, 1984. – 296 с.
2. Устройство комплектное распределительное типа КРУВ-6В-УХЛ5. Техническое описание и инструкция по эксплуатации. ИМШБ.674511.011ТО, 1989 г.
Формула изобретения
Герметичный проходной изолятор, состоящий из фарфоровой изоляционной втулки, армированной металлическим фланцем, и токоведущего стержня, герметизированный эпоксидным компаундом, отличающийся тем, что на участках токоведущего стержня, находящихся внутри изоляционной втулки, за исключением участка в области фланца, имеются плотно прилегающие к стержню компенсирующие втулки.
РИСУНКИ
MM4A – Досрочное прекращение действия патента СССР или патента Российской Федерации на изобретение из-за неуплаты в установленный срок пошлины за поддержание патента в силе
Дата прекращения действия патента: 13.03.2006
Извещение опубликовано: 20.03.2007 БИ: 08/2007
NF4A – Восстановление действия патента СССР или патента Российской Федерации на изобретение
Дата, с которой действие патента восстановлено: 20.04.2007
Извещение опубликовано: 20.04.2007 БИ: 11/2007
|
|