|
| На основании пункта 3 статьи 13 Патентного закона Российской Федерации от 23 сентября 1992 г. № 3517-I патентообладатель обязуется передать исключительное право на изобретение (уступить патент) на условиях, соответствующих установившейся практике, лицу, первому изъявившему такое желание и уведомившему об этом патентообладателя и федеральный орган исполнительной власти по интеллектуальной собственности, – гражданину РФ или российскому юридическому лицу. |
|
(21), (22) Заявка: 2004114565/09, 12.05.2004
(24) Дата начала отсчета срока действия патента:
12.05.2004
(43) Дата публикации заявки: 10.01.2006
(46) Опубликовано: 27.08.2006
(56) Список документов, цитированных в отчете о поиске:
ГАНУЛИЧ А.К. и др. Лазерно-телевизионная прицельная система Кайра . – М.: ВВИА им. проф. Н.Е.Жуковского, 1980, ч.2, с.60-67. SU 529724 A1, 15.11.1988. SU 1517737 A1, 30.03.1994. US 6373508 А, 16.04.2002. JP 5716467 А, 09.10.1982. СА 1159141 А, 20.12.1983.
Адрес для переписки:
355021, г.Ставрополь, ул. Ленина, 320, ФВВИА, НИО, Г.Г. Косареву
|
(72) Автор(ы):
Герасимов Владимир Павлович (RU), Косарев Григорий Геннадьевич (RU), Кобелев Андрей Викторович (RU)
(73) Патентообладатель(и):
Герасимов Владимир Павлович (RU), Косарев Григорий Геннадьевич (RU), Кобелев Андрей Викторович (RU)
|
(54) СПОСОБ ИЗМЕРЕНИЯ РАССОГЛАСОВАНИЯ В ДВУМЕРНЫХ СЛЕДЯЩИХ СИСТЕМАХ И УСТРОЙСТВО ДЛЯ ЕГО ОСУЩЕСТВЛЕНИЯ
(57) Реферат:
Изобретение относится к системам для определения направления или отклонения от заданного направления, использующим оптическое излучение. Техническим результатом является учет ошибки измерения рассогласования, вызванной взаимозависимостью каналов, что позволит точнее определять рассогласование и, тем самым, повысить эффективность автоматического сопровождения цели. Устройство, реализующее способ измерения рассогласования в двумерных следящих системах, содержит видеоусилитель, пороговое устройство, генератор стандартных импульсов, линию задержки, блок управления, блок записи, блок памяти эталонного изображения, четыре умножителя, четыре фильтра низких частот, два вычитателя, два усилителя с автоматической регулировкой усиления, при этом дополнительно введен пятый умножитель, первый и второй функциональные преобразователи. 2 н.п. ф-лы, 3 ил.
Изобретение относится к области двумерных телевизионных следящих систем, а именно к телевизионным прицельным системам.
Известен способ измерения рассогласования в двумерных следящих системах, основанный на дифференциальном (разностном) методе построения пеленгационных характеристик двух каналов, в котором вычисляют два значения корреляционной функции и эталонных изображений В(x- Х) и В(x+ Х), сдвинутых на фиксированные значения ± X, и текущего изображения В(x-Х), по которым определяют значение рассогласования Х как обратную функцию пеленгационной характеристики К(Х)=К1(Х)-К2(Х) в каждом канале [1].
Известно устройство измерения рассогласования с двумя независимыми идентичными каналами вычисления рассогласований U y и U z, состоящее из видеоусилителя, порогового устройства, генератора стандартных импульсов, линии задержки, блока записи, блока памяти эталонного изображения, четырех умножителей, умножающих текущее изображение с эталоном, сдвинутым на ± по строке и на ±Т по кадру, четырех фильтров, двух вычитателей и двух усилителей с автоматической регулировкой усиления [2].
При наличии рассогласования только по одному (например, по Y) каналу (фиг.2) корреляционные функции K1Y( )= Bтек(z,y)·Bоп(z,y-T), K2Y( )= Bтек(z,y)·Bоп(z,y+T) текущего изображения Bтек(z,y) и опорных (эталонных) изображений Bоп(z,y-T) и Bоп(z,y+T), сдвинутых на ±Т по кадру (каналу Y), дифференциальная корреляционная функция КдифY( )=K2Y( )-К1Y( ), а значит и рассогласование yизм (или zизм при работе канала Z) вычисляются без ошибок.
Недостатком известных способа и устройства является ошибка в определении величины рассогласования при совместной работе двух каналов, возникающая вследствие принятия гипотезы о независимости каналов определения рассогласования. Реально существует взаимосвязь каналов. Так, при наличии рассогласования в двух каналах (y 0 и z 0) измеренная корреляционная функция К2Y( ) будет меньше ее истинного значения К2Y( )ист на величину ошибки Y (фиг.3). Аналогично в канале Z: К2Z( )=K2Z( )ист– Z. Характерно, что ошибки в каналах Y и Z равны, так как Y= Y= . Численно ошибка измерения значений корреляционных функций определяется абсолютным значением произведения реальных (истинных) рассогласований в двух каналах =|y·z|.
Технической задачей изобретения является учет ошибки измерения рассогласования, вызванной взаимозависимостью каналов, что позволит точнее определять рассогласование и, тем самым, повысить эффективность автоматического сопровождения цели.
Решение технической задачи по способу заключается в том, что в способе измерения рассогласования в двумерных следящих системах, основанном на построении дифференциальной корреляционной функции, когда сдвинутые на фиксированные значения времени ±Т и ± эталонные изображения объекта слежения по каналам Y и Z соответственно перемножают на текущее изображение, а результат интегрируют, тем самым формируя корреляционные функции и вычитанием формируют дифференциальные корреляционные функции для обоих каналов, являющихся сигналами, пропорциональными измеренным рассогласованиям yизм и zизм по двум каналам соответственно, дополнительно вычисляют оценочное значение ошибки измеренных значений рассогласований yизм и zизм по двум каналам как модуль их произведения *=|yизм·zизм| и увеличивают модули сигналов измеренных значений рассогласований в каждом канале |yизм| и |zизм| на оценочное значение ошибки *.
Предлагается определять оценку ошибки рассогласования как модуль произведения измеренных значений рассогласования по двум каналам *=|yизм·zизм|. Естественно, измеренные значения рассогласований при совместной работе двух каналов будут всегда меньше истинных значений: yизмизм
Заявляемый способ реализуется в устройстве для автоматического сопровождения объекта слежения, содержащем видеоусилитель, вход которого является входом устройства, пороговое устройство, входом которого является выход видеоусилителя, генератор стандартных импульсов, входом которого является выход порогового устройства, линию задержки, входом которой является выход генератора стандартных импульсов, блок управления, на вход которого поступают синхронизирующие импульсы, блок записи, входами которого являются выход блока управления, по командам которого производится перезапись эталонного изображения, и первый выход линии задержки, блок памяти эталонного изображения, выполненный с возможностью формирования сдвинутых на фиксированные величины ±Т и ± эталонов изображения по каналам Y и Z соответственно, где Т – параметр сдвига изображения по каналу Y, а – параметр сдвига изображения по каналу Z, входом которого является выход блока записи, первый, второй, третий и четвертый умножители, первыми входами которых являются соответствующие выходы блока памяти эталонного изображения и вторыми входами – второй выход линии задержки, первый, второй, третий и четвертый фильтры низких частот, входами которых являются выходы первого, второго, третьего и четвертого умножителей соответственно, первый и второй вычитатели, входами первого вычитателя являются выходы первого и второго фильтров низких частот, входами второго вычитателя – выходы третьего и четвертого фильтров низких частот, первый и второй усилители с автоматической регулировкой усиления, выходы которых являются выходами устройства, сигналы с которых поступают на приводы следящей системы для устранения рассогласования, дополнительно имеющем пятый умножитель, на выходе которого формируется модуль произведения измеренных значений рассогласований |yизм·zизм| по каналам Y и Z, то есть оценочное значение ошибки, входы которого соединены с выходами вычитателей, первый и второй функциональные преобразователи, которые увеличивают модули измеренных значений рассогласований в каждом канале на величину оценочного значения ошибки |yизм·zизм|, первые входы функциональных преобразователей соединены с выходом умножителя, вторые входы соединены с выходами первого и второго вычитателей соответственно, выходы функциональных преобразователей соединены с входами первого и второго усилителя с автоматической регулировкой усиления соответственно.
Существенными отличительными признаками, отраженными в формуле изобретения, являются: новый способ определения рассогласования, в котором дополнительно вычисляют оценочное значение ошибки измеренных значений рассогласований yизм и zизм по двум каналам как модуль их произведения *=|yизм·zизм| и увеличивают модули сигналов измеренных значений рассогласований в каждом канале |yизм| и |zизм|, на оценочное значение ошибки *, и элементы устройства – умножитель, формирующий оценочное значение ошибки и два функциональных преобразователя, увеличивающих модуль измеренного значения рассогласования каждого канала на величину оценочного значения ошибки.
Технический результат изобретения достигнут за счет учета ошибки измерения рассогласования, вызванной взаимозависимостью каналов при использования нового способа и новых элементов устройства и новых связей в схеме устройства.
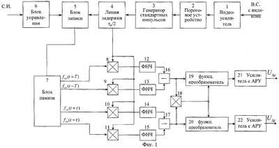
Структурная схема системы слежения представлена на фиг.1; на фиг.2 – чертеж, иллюстрирующий формирование корреляционной функции следящей системы при наличии рассогласования только по одному каналу; на фиг.3 – чертеж, иллюстрирующий формирование корреляционной функции следящей системы при совместной работе двух каналов (при наличии рассогласования в обоих каналах).
Описание устройства. Видеосигнал с видикона поступает на видеоусилитель 1 и далее на пороговое устройство 2, с порогового устройства бинарное изображение поступает на генератор стандартных импульсов 3; приведенное к импульсам одинаковой длительности контурно изображение подается на линию задержки 4, откуда поступает в блок записи 5 и на четыре умножителя 8, 9, 10, 11; блок записи 5 по командам блока управления 6 периодически выдает изображение для перезаписи эталона в блок памяти 7; в четырех умножителях 8, 9, 10, 11 сдвинутые на величины ±Т и ± опорные изображения умножаются на текущее изображение, поступающее с блока задержки 4; результаты умножения интегрируются в фильтрах низких частот 12, 13, 14, 15 и подаются на вычитатели 16, 17, с которых сигналы, пропорциональные измеренным рассогласованиям текущего изображения относительно эталонных поступают на умножитель 18, выполненный с возможностью формирования абсолютного значения произведения, на выходе которого формируется оценочное значение ошибки |yизм·zизм| и на функциональных преобразователя 19, 20, на которые поступает и оценочное значение ошибки с умножителя 18; функциональный преобразователь 19 увеличивает модуль измеренного значения рассогласования по каналу У на оценочное значение ошибки sign(yизм)·(|yизм|+|yизм·zизм|) и функциональный преобразователь 20 увеличивает модуль измеренного значения рассогласования по каналу Z на оценочное значение ошибки sign(zизм)·(|zизм|+|yизм·zизм|), обработанные в функциональных преобразователях 19, 20 сигналы поступают на усилители с автоматической регулировкой усиления 21, 22 и далее на привод следящей системы для устранения рассогласования.
Устройство работает следующим образом. Видеосигнал с видикона через видеоусилитель 1 поступает на пороговое устройство 2, на выходе которого формируется бинарный сигнал: единица, если видеосигнал больше порогового значения и нуль, если меньше. С выхода порогового устройства 2 бинаризированное изображение объекта слежения подается на генератор стандартных импульсов 3, на выходе которого формируются импульсы с одинаковой длительностью , равной периоду следования синхронизирующих импульсов. Линия задержки и/2 4 компенсирует систематический сдвиг кадра памяти за счет квантования по времени, кроме того, логическим умножением импульсов контура объекта слежения и синхронизирующих импульсов производится оцифровывание изображения. Блок записи 5 по командам блока управления 6 периодически производит перезапись эталонного изображения. С выхода блока записи изображение в виде массива нулей и единиц поступает в блок памяти 7, где храниться в виде опорного (эталонного) изображения. В умножителях 8, 9, 10, 11 сдвинутые на величины ±T и ± опорные изображения умножаются на обработанное аналогично опорному текущее изображение с выхода линии задержки 4. Фильтры низких частот 12, 13, 14, 15, 16 производят суммирование результатов произведения. Вычитающие устройства 16, 17 реализуют дифференциальный принцип вычисления рассогласований (формируют пеленгационную характеристику). С вычитающих устройств 16, 17 сигналы поступают на умножитель 18 для формирования оценочного значения ошибки |yизм·zизм| и на два функциональных преобразователя 19, 20, на которые поступает и оценочное значение ошибки с умножителя 18. Функциональный преобразователь 19 увеличивает модуль измеренного значения рассогласования по каналу Y на оценочное значение ошибки sign(yизм)·(|yизм|+|yизм·zизм|), a функциональный преобразователь 20 увеличивает модуль измеренного значения рассогласования по каналу Z на оценочное значение ошибки sign(zизм)·(|zизм|+|yизм·zизм|). Далее сигналы усиливаются в усилителях с автоматической регулировкой усиления 21, 22 и поступают на привод следящей системы для устранения рассогласования.
Источники информации
1. Мелик-Шахназаров А.М., Маркатун М.Г. Цифровые измерительные системы корреляционного типа. М.: Энергоатомиздат, 1985, с.53-60 (прототип).
2. Комплексная прицельно-навигационная система ПНС-24М /под ред. Ганулича А.К., Сидорина В.М. ч.II. Лазерно-телевизионная прицельная система Кайра-24 . М.: ВВИА им. проф. Н.Е.Жуковского, 1980, с.60-67 (прототип).
Формула изобретения
1. Способ измерения рассогласования в двумерных следящих системах, основанный на построении дифференциальных корреляционных функций, когда сдвинутые на величины фиксированные значения времени ±Т и ± эталонные изображения объекта слежения по каналам Y и Z соответственно, перемножают на текущее изображение, а результат интегрируют, тем самым формируя корреляционные функции и вычитанием формируют дифференциальные корреляционные функции для обоих каналов, являющихся сигналами, пропорциональными измеренным рассогласованиям yизм и zизм по двум каналам соответственно, отличающийся тем, что дополнительно вычисляют оценочное значение ошибки измеренных значений рассогласований yизм и zизм по двум каналам как модуль их произведения *=|yизм·zизм| и увеличивают модули сигналов измеренных значений рассогласований в каждом канале |yизм| и |zизм| на оценочное значение ошибки *.
2. Устройство для измерения рассогласования в двумерных следящих системах, содержащее видеоусилитель, вход которого является входом устройства, пороговое устройство, входом которого является выход видеоусилителя, генератор стандартных импульсов, входом которого является выход порогового устройства, линию задержки, входом которой является выход генератора стандартных импульсов, блок управления, на вход которого поступают синхронизирующие импульсы, блок записи, входами которого являются выход блока управления, по командам которого производится перезапись эталонного изображения и первый выход линии задержки, блок памяти эталонного изображения, выполненный с возможностью формирования сдвинутых на фиксированные величины ±Т и ± эталонов изображения по каналам Y и Z соответственно, где Т – параметр сдвига изображения по каналу Y, а – параметр сдвига изображения по каналу Z, входом которого является выход блока записи, первый, второй, третий и четвертый умножители, первыми входами которых являются соответствующие выходы блока памяти эталонного изображения и вторыми входами – второй выход линии задержки, первый, второй, третий и четвертый фильтры низких частот, входами которых являются выходы первого, второго, третьего и четвертого умножителей соответственно, первый и второй вычитатели, входами первого вычитателя являются выходы первого и второго фильтров низких частот, входами второго вычитателя – выходы третьего и четвертого фильтров низких частот, первый и второй усилители с автоматической регулировкой усиления, выходы которых являются выходами устройства, сигналы с которых поступают на приводы следящей системы для устранения рассогласования, отличающееся тем, что дополнительно имеет умножитель, на выходе которого формируется модуль произведения измеренных значений рассогласований |yизм·zизм| по каналам y и z, т.е. оценочное значение ошибки, входы которого соединены с выходами вычитателей, первый и второй функциональные преобразователи, которые увеличивают модули измеренных значений рассогласований в каждом канале на величину оценочного значения ошибки |yизм·zизм|, первые входы функциональных преобразователей соединены с выходом умножителя, вторые входы соединены с выходами первого и второго вычитателей соответственно, выходы функциональных преобразователей соединены со входами первого и второго усилителя с автоматической регулировкой усиления соответственно.
РИСУНКИ
|
|