|
|
(21), (22) Заявка: 2005108713/28, 28.03.2005
(24) Дата начала отсчета срока действия патента:
28.03.2005
(46) Опубликовано: 27.08.2006
(56) Список документов, цитированных в отчете о поиске:
World’s Fastest Solid-State Digitizer, Energy & Technology Review, Apr., 1994, McEwan et al., pp.1-6. US 5471162 A, 28.11.1995. FR 2764070 A1, 04.12.1998. SU 1422857 A1, 10.10.1996. SU 1826743 A1, 20.02.1997.
Адрес для переписки:
115304, Москва, ул. Луганская, 9, ФГУП НИИИТ
|
(72) Автор(ы):
Дмитриев Юрий Владимирович (RU), Зюзин Лев Николаевич (RU), Кремлев Игорь Евгеньевич (RU), Минеев Александр Николаевич (RU), Шувалов Виктор Михайлович (RU)
(73) Патентообладатель(и):
Российская Федерация, от имени которой выступает государственный заказчик – Федеральное агентство по атомной энергии (RU), Федеральное государственное унитарное предприятие “Научно-исследовательский институт импульсной техники” (ФГУП НИИИТ) (RU)
|
(54) УСТРОЙСТВО ДЛЯ РЕГИСТРАЦИИ ИМПУЛЬСНЫХ ЭЛЕКТРИЧЕСКИХ СИГНАЛОВ
(57) Реферат:
Устройство предназначено для измерения формы однократных импульсных сигналов нано- и субнаносекундной длительности. Устройство содержит выполненную на диэлектрической плате с относительной диэлектрической проницаемостью 1 информационную замедляющую микрополосковую линию (ИЗМПЛ), отводы которой через ключи соединены с элементами выборки и хранения. Управляющие входы ключей через элементы связи соединены с отводами микрополосковой линии строб-сигнала (МПЛСС), выполненной на диэлектрической плате с относительной диэлектрической проницаемостью 2, 1> 2. Платы расположены одна над другой. Стороны плат со сплошной металлизацией соединены друг с другом электрически и механически, а элементы связи выполнены в виде совмещенных прорезей в обратной металлизации каждой из плат. В плате МПЛСС прорези выполнены непосредственно над линией строб-сигнала. В плате ИЗМПЛ прорези выполнены под рядом контактных площадок, отстоящих от ИЗМПЛ на расстояние Y, определяемое установочным размером ключей. Изобретение направлено на расширение полосы пропускания, повышение частоты дискретизации устройства, повышение технологичности конструкции. 2 ил.
Предлагаемое устройство относится к области измерительной техники.
Измерение формы однократных импульсных сигналов нано- и субнаносекундной длительности может производиться как традиционными методами (например, с помощью скоростных осциллографических регистраторов, так и более современными цифровыми методами – прямым аналого-цифровым преобразованием (АЦП) и масштабно-временным преобразованием (МВП) ([1, 2] – разработки заявителя).
При проведении измерений в многоканальных системах, например, при исследовании лазерных установок, где требуется высокоскоростная запись до 192 импульсных электрических сигналов [3] требуется простое недорогое, надежное многоканальное цифровое устройство. Простота одного канала усилит это качество в многоканальной системе. Известные [3, 4] устройства, в которых используется масштабно-временное преобразование с динамическим запоминанием регистрируемого сигнала на секционной линии задержки, являются простыми. В них в качестве секционной линии задержки используются коаксиальная или меандровая микрополосковая линия (МПЛ) с отводами и в последнее время – совокупность меандровой МПЛ для исследуемого сигнала и прямой МПЛ для строб-сигнала [3, 4].
Известные цифровые регистраторы однократных сигналов [2-4] используют неодновременное считывание выборок сигнала, распределенного вдоль линии. Это достигается последовательной подачей на N строб-смесителей (в качестве которых использованы высокоскоростные диоды Шотки) стробирующих сигналов, полученных, например, последовательным отбором стробирующих импульсов на каждый смеситель, от распространяющегося в линии строб-импульса, сформированного методом запуска от регистрируемого сигнала и регистрируемого сигнала, распределенного вдоль меандровой замедляющей линии. В дальнейшем выборки, запомненные на накопительных конденсаторах, в качестве которых использованы высокоскоростные диоды Шотки, уже в преобразованном масштабе времени подаются на аналого-цифровой преобразователь.
Использование совокупности меандровой и прямолинейной линий [3], позволяет, с одной стороны, упростить распределение строб импульсов, выбирающих соответствующие участки исследуемого сигнала, а с другой – уменьшить эффективное время выборки, что повышает быстродействие регистрации.
Наиболее близким техническим решением к данному предложению является устройство для регистрации импульсных электрических сигналов [3], содержащее выполненную на диэлектрической плате меандровую информационную замедляющую микрополосковую линию (ИЗМПЛ), отводы которой через соответствующие ключи соединены с соответствующими элементами выборки и хранения, соединенными через последовательно включенные расширители и многовходовой коммутатор с соответствующими входами многоразрядного АЦП, управляющие входы ключей через элементы связи соединены с отводами прямой МПЛ строб сигнала (МПЛСС), выполненной на диэлектрической плате и расположенной параллельно оси ИЗМПЛ.
Недостатком устройства [3] является наличие меандровой линии, которая ограничивает полосу пропускания устройства и расположение ИЗМПЛ и МПЛСС в одной плоскости, что увеличивает паразитную связь между линиями, ухудшает качество выборок сигнала, приводит к необходимости установки дополнительных элементов связи (например, конденсаторов). Кроме того, имеются конструктивные проблемы размещения ряда элементов в минимальном зазоре между линиями.
Техническим результатом данного изобретения является расширение полосы пропускания, повышение частоты дискретизации устройства, повышение технологичности конструкции.
Технический результат в устройстве для регистрации импульсных электрических сигналов, содержащем выполненную на диэлектрической плате с относительной диэлектрической проницаемостью 1 ИЗМПЛ, отводы которой через соответствующие ключи соединены с соответствующими элементами выборки и хранения, соединенными через последовательно включенные расширители и многовходовой коммутатор с соответствующими входами многоразрядного аналого-цифрового преобразователя, управляющие входы ключей через элементы связи соединены с отводами МПЛСС, выполненной на диэлектрической плате с относительной диэлектрической проницаемостью 2, достигается тем, что ИЗМПЛ и МПЛСС выполнены на прямолинейных или кольцевых МПЛ, диэлектрические проницаемости плат которых связаны соотношением 1> 2, платы которых расположены в разных плоскостях (одна над другой), так, что стороны плат со сплошной металлизацией соединены друг с другом электрически и механически, а элементы связи выполнены в виде совмещенных прорезей в обратной металлизации каждой из плат диаметром dсв, причем в плате МПЛСС прорези выполнены непосредственно над линией строб-сигнала, а в плате ИЗМПЛ прорези выполнены под соответствующими контактными площадками с поперечным размером d, отстоящими от ИЗМПЛ на расстояние Y, определяемое установочным размером ключевых элементов (например, быстродействующих смесительных диодов).
Существо изобретения заключается в замедлении распространения регистрируемого сигнала по сравнению со строб-сигналом, что достигается благодаря различному значению диэлектрической проницаемости плат, а также в разнесении в пространстве линий распространения регистрируемого и строб-сигнала, что позволяет снизить до минимума паразитные индуктивности. Кроме того, предлагаемая конструкция обеспечивает возможность наращивания слоев, дает принципиальную возможность увеличения числа выборок и удлинения временной оси.
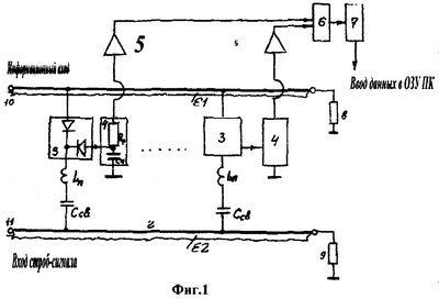
Структурная схема предлагаемого устройства представлена на фиг.1.
На фиг.2 (а, б) представлено взаимное расположение линии (для случая линий кольцевой формы) и фрагмент поперечного разреза в месте расположения одной из кольцевых выборок обратной металлизации. Позиционные обозначения элементов на фиг.1,2 совпадают. Обозначения размеров с индексом 1 соответствуют ИЗМПЛ, размеры с индексом 2 соответствуют МПЛСС.
Устройство содержит (нумерация сквозная по фиг.1 и фиг.2 (а, б)): ИЗМПЛ 1, выполненную, например, на плате из высокочастотного (ВЧ) диэлектрика типа ФЛАН16 ( 1=16), замедляющую микрополосковую линию 2 строб-сигнала, выполненную на плате, например, из фторопласта армированного фольгированного, имеющего диэлектрическую проницаемость 2=2,6, ключи 3, элементы выборки и хранения 4, расширители импульсов 5, многовходовый коммутатор 6, многоразрядный АЦП 7. На чертеже представлены также элементы, не участвующие в формуле изобретения, например, согласованные нагрузки 8, 9 ИЗМПЛ и МПЛСС, выполненные в виде резисторов, входные разъемы 10, 11 этих линий, паразитные индуктивные элементы Lп. Элементами связи между МПЛСС 2 и контактными площадками 12 ключевых элементов являются выполненные в обратной металлизации 13 кольцевые прорези 14 плат 15 и 16 соответственно ИЗМПЛ 1 и МПЛСС 2, через которые образуется связь МПЛСС 2 и площадок 12 с эквивалентной емкостью Ссв. Ключи 3 могут быть выполнены на 2-х встречно включенных диодах, например высокоскоростных диодах Шотки типа HSCH 5314 производства фирмы Hewlett -Packard. Точка соединения диодов на соответствующей контактной площадке 12 является управляющим входом ключа и через паразитные индуктивные элементы Lп и эквивалентную емкость Ссв связи соединена с замедляющей МПЛСС. Выходная контактная площадка 17 каждого ключа выполняет функцию накопительной емкости Сн за счет емкости площадки на слой обратной металлизации.
ИЗМПЛ и МПЛСС могут иметь одинаковое или различное значение волнового сопротивления. Точное значение ширины полосков W каждой из линий определяется исходя из заданного волнового сопротивления Z0 и толщины платы Н: W=f(H, Z0, , t), где t – толщина слоя металлизации, – диэлектрическая проницаемость по приведенным, например, в [5] графикам.
На фиг.2 (а, б) обозначены следующие параметры и размеры:
1 и 2 – относительные диэлектрические проницаемости ИЗМПЛ и МПЛСС;
w1 и w2 – ширина полосков плат ИЗМПЛ и МПЛСС;
t1 и t2 – толщина соответствующих полосков;
h1 и h2 – толщина диэлектрика плат ИЗМПЛ и МПЛСС;
dсв – диаметр кольцевых прорезей в обратной металлизации плат;
d – размер контактных площадок (12) ключевых элементов (3);
Y – размер зазора для установки ключевых элементов (3);
L – линейное расстояние между точками взятия выборок по ИЗМПЛ.
Элементы выборки и хранения 4 состоят из последовательно соединенных накопительного конденсатора Сн и резистора развязки Rp, точка соединения которых связана с ключом; второй конец резистора Rp через соответствующий расширитель 5 и общий многовходовый коммутатор 6 подключен к многоразрядному АЦП 7, оцифровывающему расширенный во времени эквивалент каждой выборки. В качестве накопительных конденсаторов элементов выборки и хранения дополнительно к емкости площадки могут быть использованы ЧИП накопительные конденсаторы небольшой емкости. В качестве расширителей могут быть использованы зарядовые усилители на стандартных ОУ, например на счетверенных ОУ АД 824 фирмы Analog Devices.
В качестве многоразрядных АЦП могут быть использованы стандартные быстродействующие АЦП подходящей разрядности типа АД 90** той же фирмы.
Предлагаемое устройство работает следующим образом. Регистрируемый импульсный электрический сигнал поступает на информационную замедляющую микрополосковую линию 1 и распространяется по ней. В тот момент, когда фронт сигнала почти дошел до конца линии 1, на вход микрополосковой линии 2 строб-сигнала поступает строб-сигнал, задержанный относительно регистрируемого, и распространяется, “догоняя” фронт регистрируемого сигнала. Строб-сигнал имеет вид треугольного импульса с шириной на полувысоте порядка 100 пс. Проходя через элементы связи 14 на ключи 3, строб-сигнал открывает их на небольшое время и дает возможность каждой выборке регистрируемого сигнала через открытые ключи 3 зарядить накопительный конденсатор Сн элемента выборки и хранения 4. Эти импульсные выборки через резисторы развязки Rp элементов выборки и хранения 4 поступают на входы расширителей 5, после чего расширенные до единиц микросекунд сигналы выборок, амплитуда которых пропорциональна амплитуде выборок из входного сигнала, через N-канальный коммутатор 6 поступают на входы АЦП 7, с выхода которого оцифрованные выборки поступают на обработку в ОЗУ ПК. Таким образом, зафиксированы все выборки импульсного электрического сигнала, который может быть восстановлен соответствующим считыванием и при необходимости визуализирован.
Рассмотрим более подробно работу устройства. Строб-сигнал, догнав в конце линии фронт исследуемого сигнала, возьмет из него N выборок с эффективным шагом дискретизации: Tэф= Т1– Т2, где
T1 – время прохождения участка L регистрируемым сигналом;
Т2 – время прохождения участка L строб-сигналом.
Рассчитаем основные параметры системы из двух МПЛ (МПЛСС и ИЗМПЛ), выполненных на высокочастотных диэлектриках с различными диэлектрическими проницаемостями 1 и 2. Пусть L линейное расстояние между соседними выводами для считывания сигнала. Тогда эффективный шаг дискретизации Тэф, вычисленный как разница времен прохождения сигналами участка L по двум параллельным линиям, составит: 
В формулах (1, 2) под 1 и 2 подразумеваются эффективные относительные диэлектрические проницаемости, вычисляемые, например, по формулам из [5].
Как правило, в ТЗ на разработку обычно задаются Тэф и длительность цифровой развертки – Тцр, поэтому расстояние L определяется из формулы (1). При этом полная длина линий сигнала и строб-сигнала L, в отличие от системы с меандровой линией, одинакова и равна: 
В то же время для системы с меандром длина меандровой линии сигнала будет в Nz раз больше длины линии строб-сигнала, причем коэффициент Nz равен коэффициенту замедления ИЗМПЛ: Nz=Тсиг/Тстр, где Тсиг и Тстр – время распространения по линиям сигнала и строба между точками взятия выборок. Это в свою очередь, обусловит рост потерь на затухание в проводниках Ап в Nz раз, которые для полосковой линии оцениваются по формуле, приведенной в [5]: где w – ширина проводника и L – длина линии выражены в одних единицах длины, Z – волновое сопротивление МПЛ, Ом. С ростом потерь, при увеличении длины линии снижается полоса пропускания линии исследуемого сигнала, ограничивая временное разрешение, что характерно для прототипа. Из формулы (3), подставляя в нее Ап=3 дБ (затухание на частоте, равной граничной Fгр), и длины ИЗМПЛ для предлагаемого устройства и прототипа, получаем: 
Таким образом, в предлагаемом устройстве достигается расширение полосы пропускания не менее чем в Nz2 раз при условии, что основным фактором потерь в ИЗМПЛ являются потери на затухание. Пространственное разнесение в разные слои линий сигнала и строба снимает ограничения по зазору между МПЛСС и ИЗМПЛ, присущие прототипу. Это, в свою очередь, позволяет снизить до возможного минимума (десятые доли нГн) значения паразитных индуктивностей в цепях прохождения выборки сигнала от ИЗМПЛ до расширителей. При этом появляется возможность повысить частоту дискретизации не менее чем до 10 ГГц (путем снижения расстояния между точками выборок регистрируемого сигнала) и тем самым регистрировать импульсные сигналы с короткими фронтами (порядка 100 пс).
Изготовление микрополосковой линии распространения регистрируемого сигнала существенно проще, чем изготовление меандровой линии, что обеспечивает улучшение технологичности изготовления устройства.
Кроме того, предлагаемая конструкция имеет следующие достоинства:
– Предлагаемое устройство может быть выполнено на кольцевой конфигурации ИЗМПЛ и МПЛСС, что снижает габариты устройства и позволяет не применять редкие СВЧ диэлектрики с высоким значением диэлектрической проницаемости. Например, в качестве материала для ИЗМПЛ можно использовать серийный СВЧ диэлектрик ФЛАН-16 ( =16), a в качестве материала для МПЛСС СВЧ диэлектрик ФАФ ( =2,6).
– Патентуемая конструкция связи МПЛСС и ИЗМПЛ позволяет минимизировать влияние линий друг на друга, а следовательно, повысить качество считанного сигнала, снизить искажения строб-сигнала и исследуемого сигнала при распространении.
– Конструкция предлагаемого устройства позволяет наращиванием слоев расширить временную ось путем увеличения числа точек считанного сигнала (при сохранении высокой частоты дискретизации). Длительность временной оси: Твр=Тцр·k, где k – число слоев, каждый из которых имеет длительность цифровой разверки Тцр.
Таким образом, предлагаемое устройство, обладая достоинствами прототипа, имеет по сравнению с ним преимущества, заключающиеся в расширении полосы пропускания, как минимум, в 2 раза, повышении частоты дискретизации, улучшении технологичности изготовления устройства.
ЛИТЕРАТУРА
1. Патент РФ №1347858, 1985 г. “Способ дискретной регистрации формы одиночного электрического импульса и устройство для его осуществления”.
2. Патент РФ №1826743, 1991 г. “Осциллографический аналого-цифровой регистратор одиночных электрических импульсов”.
3. Т.Е.Макэван, Дж.Килкенни 32-ГГц регистратор однократных импульсов R&D Magazin, oct.1993 – Прототип.
4. Thomas E. McEwan HIGH SPEED TRANSIENT SAMPLER, US Patent №5471162, МКИ Н 03 К 5/125, НКИ 327/92.
5. В.И.Вольмана Справочник по расчету и конструированию СВЧ-полосковых устройств, М.: Радио и связь, 1982 г.
Формула изобретения
Устройство для регистрации импульсных электрических сигналов, содержащее выполненную на диэлектрической плате с относительной диэлектрической проницаемостью 1 информационную замедляющую микрополосковую линию (ИЗМПЛ), отводы которой через соответствующие ключи соединены с соответствующими элементами выборки и хранения, соединенными через последовательно включенные расширители и многовходовой коммутатор с соответствующими входами многоразрядного АЦП, управляющие входы ключей через элементы связи соединены с отводами микрополосковой линии строб-сигнала (МПЛСС), выполненной на диэлектрической плате с относительной диэлектрической проницаемостью 2, отличающееся тем, что ИЗМПЛ и МПЛСС выполнены на микрополосковых линиях (МПЛ), диэлектрические проницаемости плат которых связаны соотношением 1> 2, платы расположены одна над другой так, что стороны плат со сплошной металлизацией соединены друг с другом электрически и механически, а элементы связи выполнены в виде совмещенных прорезей в сплошной металлизации каждой из плат, причем в плате МПЛСС прорези сделаны непосредственно над линией строб-сигнала, а в плате ИЗМПЛ прорези расположены под соответствующим рядом контактных площадок, отстоящих от ИЗМПЛ на расстояние Y, определяемое только установочными размерами ключей.
РИСУНКИ
Прежний патентообладатель:
Федеральное государственное унитарное предприятие “Научно-исследовательский институт импульсной техники”
(73) Патентообладатель:
Федеральное государственное унитарное предприятие “Всероссийский научно-исследовательский институт автоматики им. Н.Л. Духова”
(73) Патентообладатель:
Российская Федерация, от имени которой выступает государственный заказчик – Федеральное агентство по атомной энергии
Договор № РП0001003 зарегистрирован 15.09.2010
Извещение опубликовано: 10.11.2010 БИ: 31/2010
|
|