|
|
(21), (22) Заявка: 2004138719/02, 30.12.2004
(24) Дата начала отсчета срока действия патента:
30.12.2004
(46) Опубликовано: 27.08.2006
(56) Список документов, цитированных в отчете о поиске:
RU 2002102533 А, 10.08.2003. SU 1218416 A1, 15.03.1986. RU 2211433 C1, 27.08.2003. WO 0003192 А, 20.01.2000.
Адрес для переписки:
143400, Московская обл., г. Красногорск-7, ул. Речная, 8, КМЗ, НТЦ, патентный сектор
|
(72) Автор(ы):
Валеев Сергей Абдулович (RU)
(73) Патентообладатель(и):
Открытое акционерное общество “Красногорский завод им. С.А. Зверева” (RU)
|
(54) ИМИТАТОР ВИЗУАЛЬНОЙ ОБСТАНОВКИ
(57) Реферат:
Изобретение относится к оптическому приборостроению и может быть использовано в тренажерах, предназначенных для обучения операторов работе с оптико-электронными изделиями. Сущность изобретения заключается в том, что днище футляра снабжено осью-винтом, на которую установлено основание с возможностью его разворота по горизонтали, прикрепленное к футляру, причем на основании перпендикулярно к нему установлены первые стойки, имеющие резьбовые отверстия с ввернутыми в них ось-винтами. При этом проектор закреплен в каркасе, состоящем из двух вторых стоек, днища и крышки, и установлен на ось-винтах с возможностью разворота по вертикали посредством регулировочных винтов, ввернутых в кронштейны, скрепленные со вторыми стойками проектора. При этом футляр жестко соединен с опорой. Технический результат изобретения состоит в уменьшении габаритов и массы имитатора. 2 ил.
Изобретение относится к оптическому приборостроению и может быть использовано в тренажерах, предназначенных для обучения операторов работе с оптико-электронными изделиями, а именно для создания имитации реальной визуальной обстановки в виде электронных картинок, передаваемых в поле зрения изделия от комплекса тренажера через проектор.
Известно устройство для ввода картины изображения реальной обстановки с движущимися предметами, по которой оператор производит учебные стрельбы (заявка на изобретение RU 2002102533, F 41 G 3/30, публ. 2003 г.).
Наиболее близким по технической сущности является имитатор визуальной обстановки БЛ2.890.090 изделия 9Ш122М5-2 разработки ОАО “Красногорский завод им. С.А.Зверева”, изображенный на листе 5 чертежа БЛ3.812.058-07 Сб (прилагается к материалам заявки), выпуска 2003 г. (входящего в сборку изделия БЛ2.890.090), с помощью которого осуществляется передача изображения электронных картинок от проектора в поле зрения изделия при обучении операторов работе на этом изделии. Имитатор представляет собой оптико-электронный прибор в виде проектора 1А, закрепленного в футляре 2А со сквозным отверстием 3А на боковой стенке для прохода оптического луча от объектива Ш проектора с дальнейшим совмещением его с оптической осью изделия через объектив 4А, при этом центр перекрестия сетки проектора совмещается с центром перекрестия сетки изделия посредством поворотного устройства имитатора. Поворотное устройство имитатора состоит из опоры 5А, каркаса 6А и каркаса 7А. Опора 5А, крепящаяся к корпусу 8А изделия, имеет возможность разворота для обеспечения установки вертикальной линии сетки проектора параллельно отвесу и параллельно вертикальной линии сетки изделия. Совмещение центра перекрестия сетки проектора с центром перекрестия сетки изделия осуществляется с помощью каркаса 6А при развороте его по горизонтали относительно опоры 5А на осях Ф, а совмещение центров сетки проектора и сетки изделия по вертикали производится разворотом каркаса 7А относительно каркаса 6А в цилиндрических осях, при этом футляр 2А с установленным в нем проектором 1А жестко скреплен каркасом 7А.
Однако в вышеуказанном имитаторе визуальной обстановки при развороте каркасов относительно друг друга и опоры в поворотном устройстве возникают зазоры, что приводит к проникновению пыли и влаги внутрь системы на оптические поверхности линз и изделия. При этом зазоры уплотняются с помощью колец и герметика. В процессе эксплуатации при вибрационных нагрузках возможны отслоения частиц герметика и попадание их на оптические части линз, а также попадание пыли и влаги во внутреннюю полость имитатора.
Задачей заявляемого изобретения является создание имитатора визуальной обстановки с улучшенными эксплуатационными и техническими характеристиками.
Технический результат – уменьшение габаритов и массы имитатора визуальной обстановки со снятием дополнительной герметизации от попадания пыли и влаги во внутреннюю полость устройства.
Это достигается тем, что в имитаторе визуальной обстановки, содержащем опору поворотного устройства, прикрепленную к корпусу изделия, каркас, футляр с установленным внутри проектором, в отличие от известного, днище футляра снабжено осью-винтом, на которую установлено основание с возможностью его разворота по горизонтали, прикрепленное к футляру, причем на основании перпендикулярно к нему установлены первые стойки, имеющие резьбовые отверстия с ввернутыми в них ось-винтами, при этом проектор закреплен в каркасе, состоящем из двух вторых стоек, днища и крышки, и установлен на ось-винтах с возможностью разворота по вертикали посредством регулировочных винтов, которые ввернуты в кронштейны, скрепленные со вторыми стойками проектора, при этом футляр жестко соединен с опорой.
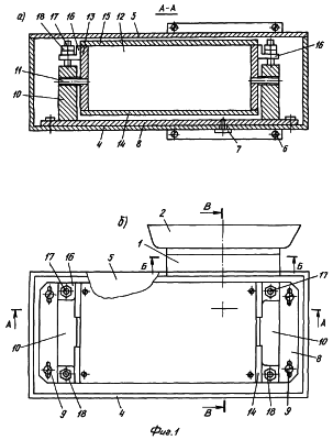
На фиг.1 показан имитатор визуальной обстановки: фиг.1а – часть его конструкции в разрезе по А-А и 1б – вид сверху, на фиг.2а – опора поворотного устройства в разрезе по Б-Б на фиг.1б, на фиг.2б – имитатор визуальной обстановки, соединенный с корпусом изделия, на фиг.2в приведены виды перекрестий сеток изделия и имитатора визуальной обстановки.
Имитатор визуальной обстановки (фиг.1, 2) содержит опору поворотного устройства 1, соединяемую с корпусом 2 изделия винтами 3, футляр 4, имеющий крышку 5, своей боковой стенкой со сквозным отверстием для прохода оптического луча жестко скреплен с опорой поворотного устройства 1 винтами 6. На днище футляра 4 закреплена ось-винт 7, на которую через отверстие установлено основание 8, прикрепленное к футляру винтами 9. Перпендикулярно основанию 8 закреплены две стойки 10, имеющие резьбовые отверстия с установленными в них на одной оси ось-винтами 11. Проектор 12 закреплен в каркасе, состоящем из двух стоек 13, днища 14 и крышки 15, и через отверстия в стойках установлен с возможностью разворота на ось-винтах 11, установленных в стойках 10. Ось-винт 7 является центром разворота проектора 12. К стойкам 13 прикреплены винтами четыре кронштейна 16, имеющие резьбовые отверстия для установки в них регулировочных винтов 17 с гайками 18 для регулировки и разворота проектора по вертикали. Проектор 12 содержит объектив 19 с сеткой 20, а изделие содержит объектив 21 с сеткой 22. Оптическая ось объектива 19 проектора 12 совмещена через объектив 21 с оптической осью изделия.
Регулировка и совмещение оптической оси объектива 19 проектора 12 через объектив 21 с оптической осью изделия производится следующим образом. При ослабленных винтах 3 при развороте опоры 1 вертикальная линия перекрестия сетки 20 (фиг.2, в) проектора устанавливается параллельно вертикальной линии сетки 22 изделия. Совмещение центра перекрестия сетки 20 с центром перекрестия сетки по горизонтали осуществляется разворотом основания 8 на ось-винте 7, а совмещение этих центров по вертикали осуществляется разворотом проектора 12 через регулировочные винты 17, упирающиеся в стойки 10, скрепленные с основанием 8. Таким образом, разворот оптической оси проектора по горизонтали и вертикали производится непосредственно во внутренней полости футляра.
Имитатор с изделием, установленным в комплексе тренажера, работает следующим образом.
Согласно выбранному сценарию компьютер комплекса тренажера выдает сигнал на проектор 12, и в поле зрения изделия формируется имитация реального изображения местности (визуальной обстановки) с картинками целей, шумовыми эффектами и предполагаемого боя, записанного на дискете и передаваемого через процессор комплекса в оптико-электронную часть проектора 12. Оператор с помощью управляющих средств комплекса обеспечивает поражение электронными снарядами целей.
Заявленное техническое решение благодаря наличию новых конструктивных признаков позволяет производить разворот оптической оси проектора по горизонтали и вертикали непосредственно во внутренней полости футляра, с исключением из конструкции двух каркасов, т.е. позволяет упростить юстировочные процессы. В результате чего достигается технический результат – уменьшение габаритов и массы имитатора визуальной обстановки со снятием дополнительной герметизации от попадания пыли и влаги во внутреннюю полость прибора.
Формула изобретения
Имитатор визуальной обстановки, содержащий опору поворотного устройства, соединяемую с корпусом изделия, каркас, футляр с установленным внутри него проектором, отличающийся тем, что днище футляра снабжено осью-винтом, на которую установлено основание с возможностью его разворота по горизонтали, прикрепленное к футляру, причем на основании перпендикулярно к нему установлены первые стойки, имеющие резьбовые отверстия с ввернутыми в них ось-винтами, при этом проектор закреплен в каркасе, состоящем из двух вторых стоек, днища и крышки, и установлен на ось-винтах с возможностью разворота по вертикали посредством регулировочных винтов, которые ввернуты в кронштейны, скрепленные со вторыми стойками проектора, при этом футляр жестко соединен с опорой.
РИСУНКИ
QA4A – Сведения о заявлении обладателя патента Российской Федерации или патента СССР на изобретение о предоставлении любому лицу права на использование изобретения (открытая лицензия) в соответствии с пунктом 2 статьи 13 Патентного закона РФ
(73) Патентообладатель:
Открытое акционерное общество «Красногорский завод им. С.А. Зверева»
(54) ИМИТАТОР ВИЗУАЛЬНОЙ ОБСТАНОВКИ
Номер и год публикации бюллетеня: 24-2006
Адрес для переписки:
143400, Московская обл., г. Красногорск, ул. Речная, 8, ОАО КМЗ, НТЦ, патентный сектор
Извещение опубликовано: 10.12.2008 БИ: 34/2008
|
|