|
|
(21), (22) Заявка: 2004112119/06, 20.04.2004
(24) Дата начала отсчета срока действия патента:
20.04.2004
(43) Дата публикации заявки: 10.10.2005
(46) Опубликовано: 27.08.2006
(56) Список документов, цитированных в отчете о поиске:
МЕРКУЛОВ А.П. Вихревой эффект и его применение в технике. – М.: Машиностроение, 1969, с.111, 112, рис.6.14. RU 2113662 C1, 20.06.1998. RU 2168124 C2, 27.02.2001. SU 1451484 A, 15.01.1989. US 3775988 A, 04.12.1973.
Адрес для переписки:
188325, Ленинградская обл., Гатчинский р-н, пос. Кобралово, ул. Лесная, 2, корп.Б, кв.109, Ю.Г. Белостоцкому
|
(72) Автор(ы):
Белостоцкий Юрий Григорьевич (RU)
(73) Патентообладатель(и):
Белостоцкий Юрий Григорьевич (RU)
|
(54) СПОСОБ РАБОТЫ ХОЛОДИЛЬНОГО УСТРОЙСТВА И ХОЛОДИЛЬНОЕ УСТРОЙСТВО
(57) Реферат:
Изобретение относится к области холодильной техники. Способ работы холодильного устройства включает ступенчатую подачу прямого потока в холодоприемник через несколько последовательно подсоединенных вихревых труб. Вход каждой последующей вихревой трубы соединен с холодным патрубком предыдущей вихревой трубы, а холодный патрубок последней ступени соединен с входом холодоприемника. Охлаждение камер энергоразделения вихревых труб производится обратным потоком, выходящим из холодоприемника, последовательно пропускаемым в обратном порядке через охлаждающие полости камер энергоразделения вихревых труб, т.е. таким образом, что охлаждающим потоком камеры энергоразделения предыдущей ступени является поток, выходящий из охлаждающей полости камеры энергоразделения последующей ступени. Использование изобретения позволит упростить конструкцию и повысить ее эффективность. 2 н. и 4 з.п. ф-лы, 12 ил.
Изобретение относится к области создания холодильной техники, работающей на использовании свойств вращающегося газового потока.
Известен способ работы холодильного устройства, включающий последовательную (ступенчатую) подачу прямого потока через несколько (две и более) вихревых труб таким образом, что рабочим (входным) потоком вихревой трубы каждой последующей ступени является холодный поток предыдущей ступени [1, с.111], причем холодный поток последней ступени подается в холодоприемник (холодильник) для использования.
Реализуется этот способ в холодильном устройстве, содержащем несколько последовательно (ступенчато) соединенных вихревых труб таким образом, что входной патрубок каждой последующей ступени соединен с холодным патрубком предыдущей ступени [1, с.112, фиг.6.14], причем холодный патрубок последней ступени соединен с входом холодоприемника.
В известном устройстве используются двухпоточные неохлаждаемые вихревые трубы, обладающие низкой холодопроизводительностью, да, к тому же, их горячие потоки выбрасываются в атмосферу. Кроме того, термодинамическая эффективность такого устройства невелика из-за того, что горячие потоки последующих вихревых труб [1, с.112, фиг.6.14] выхолаживаются ниже входной температуры То, а поэтому выбрасывают из устройства холод, т.е. в таком устройстве велика недорекуперация, для уменьшения которой в конструкцию нужно вводить массивный и дорогой рекуперативный теплообменник, который примет на себя всю функцию теплообмена, однако при наличии высокоэффективных теплообменных поверхностей у неохлаждаемых вихревых труб.
Если в схеме, изображенной в [1, с.112, фиг.6.14], Тх для первой вихревой трубы может составлять около 50°, то при Твх-0=+20°С ее Тх-0=-30°С. Но как показывает практика, при подаче в вихревую трубу холодного газа резко снижаются и Тх и Тг. Например, при подаче во вторую трубу газа с Твх-1=-30°С ее горячий конец начинает выдавать уже не теплый, а холодный газ, например, Тг-1=-24°С, т.е Тг-1=всего лишь 6° (см. таблицу).
Таблица Экспериментальные данные продувки вихревой трубы холодным воздухом |
| Твх(°С) |
Тх(°С)/ Тх |
Тг(°С)/ Тг |
| -10 |
-28/18 |
-2/8 |
| -20 |
-35/15 |
-13/7 |
| -30 |
-41/11 |
-24/6 |
| -35 |
-45/10 |
-30/5 |
То есть, в данном случае даже при двухступенчатой схеме через горячий патрубок будет выбрасываться большое количество холода, что является существенным недостатком, для исправления которого в конструкцию необходимо вводить массивные и дорогие рекуперативные теплообменники, улавливающие и возвращающие этот холод, что также является существенным недостатком.
Техническим результатом предлагаемого технического решения является уменьшение указанных недостатков.
В части способа технический результат достигается тем, что производится охлаждение всех камер энергоразделения последовательно (ступенчато) включенных вихревых труб. В качестве охлаждающей среды можно использовать водопроводную или оборотную воду, охлажденный газ, арктический холодный атмосферный воздух, газовый поток, выходящий из горячего конца двухпоточной вихревой трубы, а также обратный поток холодоприемника и т.п.
Последний вариант, особенно совмещенный с предыдущими, наиболее предпочтителен.
При этом охлаждение камер энергоразделения последовательно включенных вихревых труб производится обратным потоком, выходящим из холодоприемника, последовательно пропускаемым в обратном порядке через охлаждающие полости камер энергоразделения вихревых труб, т.е. таким образом, что охлаждающим потоком предыдущей ступени является охлаждающий поток последующей ступени.
В части устройства технический результат достигается тем, что камера энергоразделения каждой последовательно включенной вихревой трубы заключена в отдельный герметичный корпус, образующий охлаждающую полость, через которую пропускается охлаждающая среда (вода, холодный газ и т.п.). Для использования в качестве охлаждающей среды охлажденного обратного потока, выходящего из холодоприемника, охлаждающие полости камер энергоразделения последовательно соединяются обратным порядком, т.е. таким образом, что вход охлаждающей полости предыдущей ступени соединен с выходом охлаждающей полости последующей ступени, а вход охлаждающей полости последней ступени соединен с выходом холодоприемника (холодильника), т.е. помимо прямого потока, проходящего через входные патрубки вихревых труб, организуют и обратный поток, проходящий через охлаждающие полости камер энергоразделения.
В результате получается законченная конструкция охладителей или даже ожижителей. При этом появляется возможность уменьшить площади теплообмена дорогих рекуперативных теплообменников или даже исключить их из конструкции. Это упрощает и удешевляет конструкцию.
Кроме того, благодаря охлаждению камер энергоразделения вихревых труб появляется возможность эффективно использовать более простые однопоточные вихревые трубы. В результате повышается холодопроизводительность устройства и исключается необходимость выброса в атмосферу горячих потоков. Это позволяет применять предложенный способ для охлаждения ценных или опасных газов.
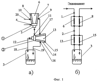
На фиг.1-а представлен простейший вариант двухступенчатого холодильного устройства.
Такое устройство состоит из двух последовательно (ступенчато) соединенных однопоточных труб 1 и 2, а также из холодоприемника 3.
Первая вихревая труба, представляющая собой первую (предыдущую) ступень , содержит входной патрубок 4, холодный патрубок 5 и конусную камеру энергоразделения 6. Камера энергоразделения заключена в герметичный кожух (корпус) 7, образующий охлаждающую полость 8, которая имеет входной 9 и выходной 10 патрубки.
Другая вихревая труба, представляющая собой вторую (последующую) ступень , также содержит входной патрубок 11, холодный патрубок 12 и конусную камеру энергоразделения 13. Камера энергоразделения 13 заключена в герметичный корпус (кожух) 14, образующий охлаждающую полость 15, которая имеет входной 16 и выходной 17 патрубки.
Вход 11 последующей ступени (вихревой трубы 2) соединен с холодным патрубком 5 предыдущей ступени (первой вихревой трубы), а холодный патрубок последней ступени, в данном случае ступени , соединен с входом 18 в холодоприемник 3.
Получается, что охлаждающие полости вихревых труб последовательно соединены таким образом, что вход 9 охлаждающей полости 8 предыдущей ступени соединен с выходом 17 охлаждающей полости 14 последующей ступени , а вход 16 охлаждающей полости 15 последующей (последней) ступени соединен с выходом 19 холодоприемника 3.
Холодоприемник состоит из корпуса 3, входного 18 и выходного 19 патрубков. Входной патрубок 18 холодоприемника соединен с холодным патрубком 12 второй вихревой трубы. Выходной патрубок 19 холодоприемника соединен с входным патрубком 16 охлаждающей полости 15 последующей ступени .
Выходной патрубок 10 охлаждающей полости 8 предыдущей ступени соединен с выходом 20 из холодильного устройства.
Работает рассмотренное устройство следующим образом. Сжатый газ подается на вход 4 первой вихревой трубы, внутри которой он раскручивается, дросселируется, расширяется и разделяется по зонам с существенно разными температурами. По внутренней стенке конусных камер энергоразделения (6 и 13) располагается зона повышенных температур. По оси этих камер и в холодных патрубках (5 и 12) располагается зона пониженных температур.
Поэтому из холодного патрубка 5 первой вихревой трубы на вход 11 второй вихревой трубы 2 поступает холодный газ, который во второй вихревой трубе дополнительно охлаждается и поступает на вход 18 холодоприемника 3.
Отработанный газ, имеющий низкую температуру, выходит из холодоприемника 3 и через патрубки 19 и 16, поступая в охлаждающую полость 15, охлаждает наружную поверхность камеры энергоразделения 13. Тем самым происходит отбор тепловой энергии через стенку камеры энергоразделения 13 от вращающегося горячего газового потока, находящегося внутри этой камеры. В результате температура потока, выходящего из патрубка 12, понижается и постепенно понижается температура в холодоприемнике.
Точно также выходящий из патрубка 17 поток охлаждает камеру энергоразделения 6 и выхолаживает поток, выходящий из патрубка 5 первой вихревой трубы. В результате происходит общее понижение температуры газа, выходящего из холодного патрубка 12 второй вихревой трубы, и в холодоприемнике 3, что плавно снижает температуру потока, проходящего по элементам 19-16-15-17-9-8.
Известно, что в камере энергоразделения вращательное течение газа имеет явно выраженный турбулентный характер, поэтому реализуется очень высокоэффективный теплообмен между газовым потоком и внутренней металлической (теплопроводной) стенкой камеры [2, с.74]. Эффективность такого теплообмена иногда на порядок превосходит эффективность теплообмена в обычном теплообменнике. Благодаря этому появляется возможность использовать стенку камеры энергоразделения вихревой трубы в качестве теплообменника.
Если построить подобную схему холодильного устройства без использования вихревых труб, а на теплообменниках и обычных пневмодросселях, то такая эквивалентная схема может иметь вид (фиг.1-б). Нумерация эквивалентных элементов на этой схеме такая же, как и на фиг.1-а:
1 – пневмодроссель первой ступени;
2 – пневмодроссель второй ступени;
3 – холодоприемник;
6 – прямой поток теплообменника первой ступени;
8 – обратный поток теплообменника первой ступени;
13 – прямой поток теплообменника второй ступени;
15 – обратный поток теплообменника второй ступени.
При сравнении этих идентичных схем можно увидеть, что устройство, изображенное на фиг.1-а, значительно проще и дешевле своего эквивалента, изображенного на фиг.1-б.
В случае, если интенсивность теплообмена в последовательно соединенных камерах охлаждения 8 и 15 окажется недостаточной, например, из-за отсутствия оребрения на наружной поверхности камер энергообмена 6 и 13, и на выход 20 все равно подается холодный газ, то вход 4 первой ступени необходимо подключить через рекуперативный теплообменник 21, который обеспечит возврат холода (фиг.2) – нерасчетный режим работы.
При этом вход в вихревую трубу первой ступени соединен с входом в устройство, а выход из охлаждающей полости камеры энергоразделения первой ступени соединен с выходом из устройства, причем соединены они через рекуперативный теплообменник.
Возможно применение не только однопоточных (фиг.1…2), но и двухпоточных охлаждаемых вихревых труб (фиг.3, 4, 5, 6…). Применение двухпоточных вихревых труб позволяет для охлаждения не только использовать обычный дроссель-эффект (т.е. по своей сути, неохлаждаемая однопоточная вихревая труба ничем не отличается от обычного пневмодросселя), но и выводить из системы часть тепловой энергии и через стенку камеры энергообмена, и через горячий патрубок. Кроме того, нет необходимости сбрасывать в атмосферу горячий поток. Для этого горячий патрубок одной или всех двухпоточных вихревых труб соединяются с каналом обратного потока.
Здесь возможны следующие варианты (на примере двухступенчатой конструкции):
– фиг.3 и 4. Первая ступень состоит из двухпоточной вихревой охлаждаемой вихревой трубы, которая в отличие от однопоточной вихревой трубы (фиг.2) имеет горячий патрубок 22, связанный через тройник-смеситель 23 с выходным патрубком 20. В такой конструкции применение теплообменника 21 (фиг.3) не всегда обязательно (фиг.4);
– фиг.5 и 6. Вторая ступень состоит из двухпоточной вихревой охлаждаемой вихревой трубы, которая в отличие от однопоточной вихревой трубы имеет горячий патрубок 24, связанный через тройник-смеситель 25 с входным патрубком 9 охлаждающей полости 8 первой вихревой трубы. В зависимости от термодинамической задачи такое устройство может комплектоваться дополнительным теплообменником 26 (фиг.6), имеющим прямой 27 и обратный 28 каналы. При этом через прямой канал 27 теплообменника 26 соединяется холодный патрубок 5 первой вихревой трубы и вход 11 второй вихревой трубы, а через обратный канал 28 теплообменника 26 соединяется выход 17 охлаждающей полости 14 второй вихревой трубы с входом 9 охлаждающей полости 8 второй вихревой трубы. При этом в обратный поток 28 через тройник-смеситель 25 вводится поток, выходящий из горячего патрубка 24 второй вихревой трубы, причем вводиться такой поток может или после теплообменника (через тройник 25), или до теплообменника (такое возможное соединение на фиг.6 показано пунктиром 29);
– фиг.7, 8 и 9. Обе ступени и выполнены в виде двухпоточных вихревых охлаждаемых вихревых труб, имеющих горячие патрубки 22 и 24.
Здесь также возможны варианты:
– холодильное устройство построено только на охлаждаемых двухпоточных вихревых трубах (фиг.7) – без теплообменников. Потоки, выходящие из горячих патрубков 22 и 24, вводятся в обратный поток через тройники-смесители 23 и 25;
– холодильное устройство построено с использованием теплообменников 21 и 26 (фиг.8, 9 и 10), при этом может быть либо один теплообменник 21 (фиг.8) или 26 (фиг.9), либо два теплообменника 21 и 26 (фиг.10).
Получается, что ступени могут быть соединены между собой через рекуперативный теплообменник.
Благодаря тому, что камеры энергообмена 6 и 13 совместно с охлаждающиими полостями 8 и 14 интенсивно реализуют процесс теплообмена между прямым и обратным потоками, то резко уменьшается потребная площадь теплообмена у вводимых в конструкцию теплообменников 21 и 26 (фиг.2, 3, 5, 6, 8…10). По сути, они всего лишь выполняют функцию компенсатора недорекуперации у высокоэффективного теплообменного аппарата «охлаждаемая вихревая труба», совмещающего в себе функции пневмодросселя и теплообменника. При грамотном расчете, при правильном проектировании и тщательном изготовлении рассмотренная конструкция вполне работоспособна и без рекуперативных теплообменников, функцию которых выполняют охлаждаемые вихревые трубы.
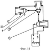
Рабочая схема холодильного устройства может строиться не только из двух, но и из большего количества последовательно соединенных вихревых труб (ступеней). На фиг.11 показана схема подобного трехступенчатого – – холодильного устройства, построенная из трех однопоточных вихревых труб.
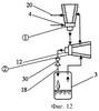
Кроме того, в процессе запуска холодильного устройства иногда возникает необходимость подстройки (регулировки) проходного сечения конечного дросселя. Лучше всего для этой цели подходит не вихревая труба, которая трудно поддается регулированию, а легко регулируемый игольчатый вентиль (пневмодроссель). Для этого холодный патрубок последней ступени, например ступени , соединен с входом холодоприемника через пневмодроссель 30 (фиг.12).
Таким образом, сущность изобретения в части способа заключается в том, что охлаждение камер энергоразделения вихревых труб, у которых рабочим потоком каждой последующей ступени является холодный поток предыдущей ступени, производится обратным потоком, выходящим из холодоприемника, последовательно пропускаемым в обратном порядке через охлаждающие полости камер энергоразделения вихревых труб, т.е. таким образом, что охлаждающим потоком камеры энергоразделения предыдущей ступени является поток, выходящий из охлаждающей полости камеры энергоразделения последующей ступени.
А сущность изобретения в части устройства заключается в том, что охлаждающие полости камер энергоразделения последовательно соединенных вихревых труб также последовательно соединены, при этом такое соединение выполнено таким образом, что вход охлаждающей полости предыдущей ступени соединен с выходом последующей ступени, причем вход охлаждающей полости камеры энергоразделения последней ступени соединен с выходом холодоприемника.
При этом вход в вихревую трубу первой ступени соединен с входом в устройство, а выход из охлаждающей полости камеры энергоразделения первой ступени соединен с выходом из устройства, причем соединены они через рекуперативный теплообменник, а ступени соединены между собой через рекуперативный теплообменник.
Кроме того, горячий патрубок двухпоточной вихревой трубы соединен с каналом обратного потока, а холодный патрубок вихревой трубы последней ступени соединен с входом холодоприемника через пневмодроссель.
В результате предложенный способ и устройство позволяют упростить конструкцию и повысить ее эффективность.
Источники информации
1. Меркулов А.П. Вихревой эффект и его применение в технике. М.: Машиностроение, 1969.
2. Суслов А.Д., Иванов А.В., Мурашкин А.В., Чижиков Ю.В. Вихревые аппараты. М.: Машиностроение. 1985.
Формула изобретения
1. Способ работы холодильного устройства, включающий последовательную (ступенчатую) подачу газового потока через несколько вихревых труб таким образом, что рабочим (входным) потоком вихревой трубы каждой последующей ступени является холодный поток предыдущей ступени, причем холодный поток последней ступени подается в холодоприемник для использования, при этом охлаждают камеры энергоразделения вихревых труб, отличающийся тем, что охлаждение камер энергоразделения вихревых труб производится обратным потоком, выходящим из холодоприемника, последовательно пропускаемым в обратном порядке через охлаждающие полости камер энергоразделения вихревых труб, т.е. таким образом, что охлаждающим потоком камеры энергоразделения предыдущей ступени является поток, выходящий из охлаждающей полости камеры энергоразделения последующей ступени.
2. Холодильное устройство, содержащее последовательно соединенные вихревые трубы таким образом, что вход каждой последующей ступени соединен с холодным патрубком предыдущей ступени, причем холодный патрубок последней ступени соединен с входом холодоприемника, а каждая камера энергоразделения всех вихревых труб заключена в герметичный корпус, образующий охлаждающую полость, отличающееся тем, что охлаждающие полости камер энергоразделения вихревых труб последовательно соединены, при этом такое соединение выполнено таким образом, что вход охлаждающей полости предыдущей ступени соединен с выходом последующей ступени, причем вход охлаждающей полости камеры энергоразделения последней ступени соединен с выходом холодоприемника.
3. Холодильное устройство по п.2, отличающееся тем, что вход в вихревую трубу первой ступени соединен с входом в устройство, а выход из охлаждающей полости камеры энергоразделения первой ступени соединен с выходом из устройства, причем соединены они через рекуперативный теплообменник.
4. Холодильное устройство по п.2, отличающееся тем, что ступени соединены между собой через рекуперативный теплообменник.
5. Холодильное устройство по п.2, отличающееся тем, что горячий патрубок двухпоточной вихревой трубы соединен с каналом обратного потока.
6. Холодильное устройство по п.2, отличающееся тем, что холодный патрубок вихревой трубы последней ступени соединен с входом холодоприемника через пневмодроссель.
РИСУНКИ
|
|