|
|
(21), (22) Заявка: 2005102428/28, 02.02.2005
(24) Дата начала отсчета срока действия патента:
02.02.2005
(46) Опубликовано: 20.08.2006
(56) Список документов, цитированных в отчете о поиске:
МЮЛЛЕР С. Модернизация и ремонт ПК, изд. 15, пер. с англ., М., С-Пб, изд.дом «Вильямс», 2004 г., стр.919-924. US 4845652 A, 04.07.1989. SU 1706036 A1, 15.01.1992. SU 1765888 A1, 30.09.1992. SU 993349 A1, 30.01.1983.
Адрес для переписки:
105275, Москва, ш. Энтузиастов, 29, ОАО “Концерн “Моринсис-Агат”
|
(72) Автор(ы):
Вершков Виталий Эммануилович (RU), Куракин Юрий Павлович (RU), Курахтанов Генрих Иванович (RU), Руд Владимир Сергеевич (RU)
(73) Патентообладатель(и):
Открытое акционерное общество “Концерн “Моринформсистема – Агат ” (RU)
|
(54) ЭЛЕКТРИЧЕСКИЙ ПЕРЕКЛЮЧАТЕЛЬ И КЛАВИАТУРА ДЛЯ УСТРОЙСТВА ВВОДА ИНФОРМАЦИИ
(57) Реферат:
Изобретение относится к области приборостроения и может найти применение в устройствах ввода информации, в частности для персональных компьютеров специального назначения. Технический результат – повышение надежности. Для достижения данного результата обеспечивают подачу импульса тока в токопроводящие дорожки клавиатуры. При этом во время прохождения фронта и среза импульса наводится ЭДС взаимоиндукции. Одновременно в токопроводящей шайбе формируются вихревые токи Фуко, которые создают магнитное поле, направленное противоположно по отношению к магнитному полю в токопроводящих дорожках. Величина напряженности магнитного поля вихревых токов Фуко зависит от расстояния токопроводящей шайбы до изолирующей подложки. Таким образом, выделенные сигналы нажатия клавиш передаются в устройство ввода информации от объединенных выходов компараторов, которые обеспечивают устойчивый режим ввода информации. 2 н.п. ф-лы, 5 ил.
Предлагаемое изобретение относится к электротехнике, а именно к элементам электронного оборудования, и может быть использовано в устройствах ввода информации повышенной надежности, в частности для персональных компьютеров специального назначения.
Известны клавишные переключатели и клавиатуры на их основе, содержащие печатную плату с токопроводящими дорожками и клавишу с замыкающим контактом (например, патент РФ №993349, МПК Н 01 Н 13/70, БИ №4, 1983 г., патент Японии №3161964, МПК Н 01 Н 13/52, БИ №4, 2002 г.).
Основной недостаток указанных переключателей – износ контактирующих поверхностей в процессе эксплуатации, что снижает надежность работы и устойчивость к неблагоприятным воздействиям окружающей среды.
Известны различные бесконтактные переключатели:
– бесконтактные переключатели с использованием сенсорных чувствительных элементов (см., например, патент РФ №1765888, МПК Н 03 К 17/945);
– бесконтактные переключатели с использованием пьезоэлектрических датчиков (см., например, а.с. №1706036, МПК Н 03 К 17/945, ЕР №0933873, МПК Н 03 К 17/96);
– бесконтактные переключатели с использованием емкостных датчиков (патент США №4845652, НКИ 364-709.13).
Общим недостатком таких переключателей, срабатывающих от прикосновения пальца оператора непосредственно к чувствительному элементу, являются неконтролируемые ошибки ввода данных, что ограничивает их область применения.
Ближайшим по технической сущности и принятым за прототип является бесконтактный переключатель, содержащий управляющий токопроводящий элемент, укрепленный с возможностью вертикального перемещения параллельно изолирующей подложке, на одной стороне которой выполнен токопроводящий элемент. Клавиатура на основе указанного переключателя содержит матрицу токопроводящих элементов на изолирующей подложке, управляющие токопроводящие элементы и схему управления, включающую генератор импульсов, выход которого соединен с фазочувствительным элементом, подключенным к компаратору (см. С. Мюллер, Модернизация и ремонт ПК, изд. 15, пер. с англ., М., С-Пб., изд. дом “Вильяме”, 2004 г., стр.919-924).
Управляющий токопроводящий элемент и токопроводящий элемент на подложке являются соответственно подвижной и неподвижной пластинами конденсатора переменной емкости, величина которой изменяется оператором перемещением управляющего элемента, например при нажатии на кнопку.
Недостатком переключателя с использованием емкостного датчика и клавиатуры на его основе является низкая помехозащищенность от синфазных помех, вызываемых внешними электрическими и магнитными полями, низкая радиационная стойкость, а также зависимость емкости датчика от изменения диэлектрической проницаемости при воздействии неблагоприятных условий окружающей среды.
Целью заявляемого технического решения является повышение помехозащищенности и устойчивости к неблагоприятным воздействиям окружающей среды.
Указанная цель достигается тем, что в электрическом переключателе, содержащем управляющий токопроводящий элемент, укрепленный с возможностью вертикального перемещения параллельно изолирующей подложке, на одной стороне которой выполнен токопроводящий элемент, на другой стороне подложки выполнен второй токопроводящий элемент, при этом токопроводящие элементы выполнены в виде идентичных одновитковых токопроводящих дорожек, соосных с токопроводящим элементом, а их размеры меньше или равны аналогичным размерам управляющего элемента.
Если размеры управляющего токопроводящего элемента будут меньше размеров токопроводящих дорожек, то его поле вихревых токов будет недостаточно для компенсации поля токопроводящей дорожки.
Указанная цель в клавиатуре с управляющими токопроводящими элементами достигается тем, что токопроводящие элементы набора вышеописанных электрических переключателей сформированы в виде двух идентичных матриц на обеих сторонах изолирующей подложки, а в схему управления, содержащую генератор импульсов, выход которого соединен с фазочувствительным элементом, подключенным ко входам компараторов, введены формирователи тока, подключенные к генератору импульсов, при этом в матрице, расположенной на стороне подложки, обращенной к управляющим токопроводящим элементам, соединенные последовательно токопроводящие элементы каждого ряда подключены к выходу соответствующего формирователя тока, а в матрице, расположенной на другой стороне подложки, соединенные последовательно токопроводящие элементы каждого столбца подключены к входу соответствующего компаратора.
Предлагаемое выполнение переключателя и клавиатуры позволяет использовать для осуществления процесса коммутации электрической цепи эффект взаимоиндукции в двух идентичных токопроводящих дорожках; при этом величина их потокосцепления регулируется перемещением управляющего токопроводящего элемента. Так как на характер изменения потокосцепления не влияют внешние электрические и магнитные поля, радиационный фон, а также неблагоприятные климатические условия, заявляемые электрический переключатель и клавиатура защищены от воздействия синфазных помех и обладают климатической устойчивостью.
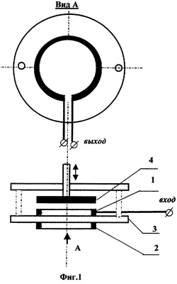
На фиг.1 приведено заявляемое устройство, на фиг.2 – эпюры сигналов токопроводящих дорожек, на фиг.3 – пример конструктивного выполнения предлагаемого переключателя, на фиг.4 – элемент заявляемой клавиатуры, на фиг.5 – клавиатура.
Электрический переключатель содержит идентичные токопроводящие дорожки 1 и 2, расположенные на противоположных сторонах изолирующей подложки 3, управляющий токопроводящий элемент 4, укрепленный с возможностью перемещения вдоль вертикальной оси параллельно подложке 3. В варианте крепления, представленном на фиг.1 и фиг.3, управляющий токопроводящий элемент 4 выполнен в виде шайбы на штоке 5, связанном с подпружиненной кнопкой 6. Возможны и другие варианты крепления, например, с использованием эластичных материалов, мембран и т.п. Форма токопроводящих дорожек и управляющего токопроводящего элемента может быть любой и определяется технологическими и конструктивными особенностями конкретного изделия. Оптимальная форма – кольцевые или многоугольные токопроводящие дорожки и токопроводящий управляющий элемент в виде шайбы, так как в этом случае достигается наибольшая длина контура токопроводящей дорожки, что повышает уровень сигнала.
Входом переключателя являются контактные площадки токопроводящей дорожки 1 (не показаны) со стороны расположения управляющего токопроводящего элемента 4, а выходом – контактные площадки токопроводящей дорожки 2, более удаленной от управляющего элемента 4. Шток 5 размещен в цилиндрическом корпусе 7, между внутренней и внешней стенками которого расположены пружина 8 и возвратная пружина 9, разделенные упором 10.
Токопроводящий элемент 1 (см. фиг.4) подключен к выходу формирователя тока 11, а выход токопроводящего элемента 2 – ко входу компаратора 12, второй вход которого соединен с выходом фазочувствительного элемента 13. Формирователь тока 11 и фазочувствительный элемент 13 подключены также к генератору импульсов 14.
Клавиатура содержит (см. фиг.5) две идентичные матрицы 15 токопроводящих элементов на обеих сторонах подложки 3 и схему управления 16. Каждая матрица 15 состоит из m x n токопроводящих элементов 1 или 2; m токопроводящих элементов 1 каждого ряда матрицы на стороне подложки, обращенной к управляющим токопроводящим элементам 4, соединены последовательно и подключены к выходу соответствующего формирователя тока 11, а n токопроводящих элементов 2 каждого столбца матрицы 15 на другой стороне подложки 3 соединены последовательно и подключены к одному из входов соответствующего компаратора 12. Ко второму входу каждого компаратора 12 подключен фазочувствительный элемент 13. Объединенные выходы компараторов 12 являются выходом клавиатуры.
Работает переключатель следующим образом. При подаче импульса тока в токопроводящую дорожку 1 в токопроводящей дорожке 2 во время прохождения фронта и среза импульса (см. фиг.2) наводится ЭДС взаимоиндукции. Одновременно в токопроводящей шайбе 4 возникают вихревые токи Фуко, которые создают магнитное поле, направленное противоположно по отношению к магнитному полю в токопроводящих дорожках 1 и 2. Величина напряженности магнитного поля вихревых токов Фуко зависит от расстояния токопроводящей шайбы 4 до изолирующей подложки 3. Изменение указанного расстояния посредством перемещения токопроводящей шайбы 4 с помощью штока 5 приводит к изменению ЭДС в токопроводящей дорожке 2. Когда токопроводящая шайба 4 находится на некотором расстоянии от изолирующей подложки 3, магнитное поле вихревых токов Фуко на поверхности изолирующей подложки ничтожно мало, и при подаче импульса тока I1 в токопроводящую дорожку 1 в токопроводящей дорожке 2 наводится ЭДС взаимоиндукции Е2 (см. фиг.2а). При минимальном расстоянии управляющего токопроводящего элемента 4 до подложки 3 (при нажатии кнопки 6) противоположно направленное магнитное поле вихревых токов Фуко нейтрализует магнитное поле тока I1 в токопроводящей дорожке 1 (фиг.2б), ЭДС взаимоиндукции Е2 в токопроводящей дорожке не наводится, и сигнал на выходе переключателя отсутствует. Практически при перемещении управляющего токопроводящего элемента 4 на 1,5 мм (максимальное расстояние управляющего элемента 4 до подложки 3 мм, минимальное расстояние при нажатой кнопке – 1,5 мм) амплитуда выходного сигнала токопроводящей дорожки 2 уменьшается на 90%.
Клавиатура на основе заявляемого переключателя работает следующим образом.
Генератор импульсов 14 вырабатывает периодически повторяющуюся последовательность импульсов на первых выходах для поочередного запуска каждого из формирователей тока 11. Одновременно с каждым импульсом на первых выходах на втором выходе генератора импульсов 14 вырабатывается сигнал для запуска фазочувствительного элемента 13.
На выходах фазочувствительного элемента 13 последовательно появляются импульсы строба компараторов 12 для временной селекции сигналов нажатия клавиш от переднего фронта импульса тока (см. фиг.2). Выделенные сигналы нажатия клавиш передаются в устройство ввода информации от объединенных выходов компараторов 12.
Таким образом, заявляемый переключатель и клавиатура за счет регулировки потокосцепления двух токопроводящих дорожек 1, 2 при перемещении токопроводящей шайбы 4 обеспечивает устойчивую работу в неблагоприятных климатических условиях при наличии внешних электрических и магнитных полей.
Формула изобретения
1. Электрический переключатель, содержащий управляющий токопроводящий элемент, укрепленный с возможностью вертикального перемещения параллельно изолирующей подложке, на одной стороне которой выполнен токопроводящий элемент, отличающийся тем, что на другой стороне подложки выполнен второй токопроводящий элемент, при этом токопроводящие элементы выполнены в виде идентичных одновитковых токопроводящих дорожек, соосных с управляющим элементом, а их размеры меньше или равны аналогичным размерам управляющего элемента.
2. Клавиатура для устройства ввода информации, содержащая матрицу токопроводящих элементов на изолирующей подложке, управляющие токопроводящие элементы и схему управления, включающую генератор, выход которого соединен с фазочувствительным элементом, подключенным ко входам компараторов, отличающаяся тем, что клавиатура содержит на другой стороне изолирующей подложки идентичную матрицу токопроводящих элементов, выполненных в виде одновитковых токопроводящих дорожек, соосных с управляющим элементом, размеры дорожек меньше или равны аналогичным размерам управляющих элементов, а в схему управления введены формирователи тока, подключенные к генератору импульсов, при этом в матрице, расположенной на стороне подложки, обращенной к управляющим токопроводящим элементам, соединенные последовательно токопроводящие элементы каждого ряда подключены к выходу соответствующего формирователя тока, а в матрице, расположенной на другой стороне подложки соединенные последовательно токопроводящие элементы каждого столбца подключены к входу соответствующего компаратора.
РИСУНКИ
|
|