|
|
(21), (22) Заявка: 2004107083/09, 09.03.2004
(24) Дата начала отсчета срока действия патента:
09.03.2004
(43) Дата публикации заявки: 20.09.2005
(46) Опубликовано: 20.08.2006
(56) Список документов, цитированных в отчете о поиске:
Энергосбережение и высоковольтные преобразователи частоты. Ж. “Новости приводной техники”, 2002, № 9, с.2-3. SU 1197031 A1, 07.12.1985. SU 1069106 A1, 23.01.2004. SU 1310994 A1, 15.05.1987. DE 2112185 A1, 14.09.1972. US 3686548 A, 28.02.1972. ТОЛСТОВ Ю.Г. Высоковольтные тиристорные преобразователи для частотно-регулируемого электропривода. Автоматизированный электропривод, силовые полупроводниковые приборы, преобразовательная техника (актуальные проблемы и задачи). – М.: Энергоатомиздат, 1983, с.402-409.
Адрес для переписки:
630092, г.Новосибирск, пр. К. Маркса, 20, НГТУ
|
(72) Автор(ы):
Малахов Алексей Петрович (RU), Глазырин Михаил Владимирович (RU), Малахов Алексей Алексеевич (RU)
(73) Патентообладатель(и):
Новосибирский государственный технический университет (RU)
|
(54) ЧАСТОТНО-РЕГУЛИРУЕМЫЙ ЭЛЕКТРОПРИВОД
(57) Реферат:
Изобретение относится к области электротехники и силовой промышленной электроники, а именно – к мощным высоковольтным частотно-регулируемым электроприводам (ЧРЭ). Сущность изобретения состоит в том, что в частотно-регулируемом электроприводе (ЧРЭ), содержащем силовой трансформатор, по крайней мере, с четырьмя трехфазными вторичными обмотками, группу выпрямительно-инверторных преобразователей частоты и приводной электродвигатель с 2Р числом полюсов, соединенных последовательно, согласно данному изобретению, обмотка приводного электродвигателя выполнена из 2Р идентичных катушечных групп, каждая из которых подключена к отдельному трехфазному выпрямительно-инверторному преобразователю частоты, каждый из которых, в свою очередь, подключен к соответствующим вторичным обмоткам силового трансформатора с коэффициентом трансформации, равным 2Р. Технический результат – обеспечение высокой надежности предлагаемого частотно-регулируемого электропривода (ЧРЭ) за счет снижения рабочих напряжений приводного электродвигателя и уменьшения общего числа выпрямительно-инверторных преобразователей частоты. 1 з.п. ф-лы, 2 ил.
Изобретение относится к силовой промышленной электронике, а именно к частотно-регулируемым электроприводам (ЧРЭ).
Известен ЧРЭ [1], в котором содержится высоковольтный выпрямитель и трехфазный инвертор регулируемой частоты.
Недостатками такого ЧРЭ являются сложность силовой части и невысокая надежность из-за высокого рабочего напряжения двигателя и силовой части выпрямительно-инверторного преобразователя.
Наиболее близким к изобретению по технической сущности и достигаемому результату является ЧРЭ [2], являющийся прототипом, в котором содержится входной трансформатор, служащий для преобразования высокого входного напряжения в пониженное выходное, затем это пониженное напряжение с помощью трехфазных выпрямителей выпрямляется и однофазными мостовыми инверторами преобразуется в напряжение переменной частоты, а затем эти инверторы вновь последовательно включаются и опять в высоковольтном трехфазном виде подключаются к высоковольтному трехфазному двигателю.
Недостатком этого частотно-регулируемого электропривода является большое количество однофазных преобразователей частоты, напряжения которых последовательно складываются, и их сумма прикладывается к обмоткам двигателя, что существенно снижает надежность его работы.
Задачей изобретения является повышение надежности работы ЧРЭ за счет понижения рабочего напряжения двигателя и преобразователей, а также уменьшения общего количества преобразователей.
Указанная задача достигается тем, что в ЧРЭ, содержащем силовой трансформатор, по крайней мере, с четырьмя трехфазными вторичными обмотками, группу из 2Р трехфазных выпрямительно-инверторных преобразователей частоты, подключенных к двигателю с 2Р числом полюсов, у указанного электродвигателя обмотка выполнена из 2Р идентичных катушечных групп и каждая из этих катушечных групп подключена к отдельному трехфазному выпрямительно-инверторному преобразователю частоты, каждый из которых, в свою очередь, подключен к соответствующим вторичным обмоткам силового трансформатора с напряжением, в 2Р раз меньшим полного напряжения питания двигателя.
В ЧРЭ с электродвигателями с одной парой полюсов его обмотка может быть выполнена из N идентичных последовательных катушечных групп, причем эти катушечные группы объединены в N идентичные трехфазные системы и затем эти N трехфазные системы подключены к N выпрямительно-инверторным агрегатам, которые, в свою очередь, подключены к соответствующим обмоткам 12-фазного силового трансформатора с коэффициентом трансформации, равным N.
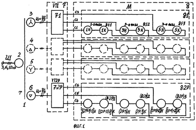
На фиг.1 приведена принципиальная схема предлагаемого ЧРЭ с 2Р катушечными группами приводного электродвигателя, а на фиг.2 приведена принципиальная схема ЧРЭ с N трехфазными преобразователями, подключенными к электродвигателю с одной парой полюсов, выполненному из N идентичных последовательных катушечных групп.
ЧРЭ (фиг.1) содержит силовой трансформатор 1 с первичной обмоткой 2 и, например, 4-мя трехфазными вторичными обмотками 3-6 со сдвигом друг по отношению к другу, например, на 15 электрических градусов, 2Р выпрямительно-инверторных трехфазных преобразователей частоты 7 (7-1-7·2Р) и двигатель переменного тока 8, в котором 1-я, 2-я и 3-я фазы разбиты на отдельные катушечные группы соответственно (8·1·1; 8·1·2; 8·1·3)÷[(8·2Р·1); (8·2Р·2); (8·2Р·3)], и эти катушечные группы своими началами (или концами) подключены к соответствующим трехфазным инверторам 7 (7·1···7·2Р), а соответствующие противоположные концы (или начала) групп обмоток закорочены и образуют соответствующие нулевые точки.
Таким образом понижается питающее рабочее напряжение двигателя в 2Р раз, а каждая катушечная группа двигателя подключена к синхронно и синфазно работающим трехфазным инверторам, причем каждый из этих инверторов через выпрямители подключен к соответствующим вторичным обмоткам 3-6 силового трансформатора 1 с в 2Р раз меньшим напряжением, чем номинальное напряжение приводного электродвигателя 8, за счет чего в 3 раза снижается общее количество выпрямительно-инверторных агрегатов и, соответственно, значительно увеличивается надежность работы всего ЧРЭ в целом.
ЧРЭ (фиг.2) также содержит силовой трансформатор 1 с первичной обмоткой 2 и также, например, 4-мя трехфазными вторичными обмотками 3-6 со сдвигом друг по отношению к другу, например, на 15 электрических градусов, N выпрямительно-инверторных трехфазных преобразователей частоты 7 (7·1÷7·N) и двигатель переменного тока 8, в котором 1-я, 2-я, и 3-я фазы разбиты на отдельные катушечные группы (8·1·1; 8·1·2; 8·1·3)÷[(8·N·1); (8·N·2); (8·N·3)], и эти катушечные группы своими началами подключены к соответствующим трехфазным инверторам 7 (7·1÷7·N), a соответствующие противоположные концы групп обмоток закорочены и образуют соответствующие нулевые точки.
Таким образом, также в N раз понижается рабочее напряжение и преобразователей и двигателя и, соответственно, увеличивается надежность работы двигателя.
Предлагаемое изобретение работает следующим образом.
Подается питающее напряжение на первичную обмотку 2 (фиг.1) (или фиг.2) силового трансформатора 1, пониженное в 2Р раз (или в N раз) напряжение подается со вторичных обмоток 3, 4, 5, 6 силового трансформатора на вход выпрямителей-инверторов 7 (7·1÷7·2Р) (или 7 (7·1÷7·2N) ), там же выпрямленные напряжения подаются на трехфазные инверторы 7 (7-1-7-2Р) (или 7 (7·1÷7·2N) ). Управляющие сигналы на эти инверторы подаются одновременно в соответствии с выбранным законом управления двигателем 8. Во всех фазах инверторов формируются одинаковые по величине и фазе токи и двигатель работает так же, как и при питании этих обмоток в высоковольтном варианте таким же током по величине и фазе.
Таким образом, в предлагаемом изобретении по сравнению с прототипом при сохранении всех качественных показателей преобразовательный агрегат и приводной электродвигатель превращаются в низковольтную широкорегулируемую систему. При этом многократно увеличивается надежность работы, уменьшаются массогабаритные показатели и, соответственно, стоимость всей, в настоящее время очень дорогостоящей преобразовательной системы частотного регулирования мощных синхронных и асинхронных электроприводов, обычно выполняемых высоковольтными. Такие мощные высоковольтные электродвигатели часто выполняются многополюсными, для которых операция расщепления обмоток на отдельные группы не составляет больших затрат, а при изготовлении новых образцов двигателей, где эти выводы будут заранее предусмотрены, это выполнение регулируемой системы, вообще, значительно упростится из-за низковольтности предлагаемого ЧРЭ. Уменьшится и стоимость двигателя. Такая операция расщепления возможна и при двухполюсных двигателях фиг.2, когда заранее обмотка разбивается на N последовательных секций. Выполнение преобразовательного агрегата на низкие напряжения, особенно на общепромышленное напряжение 380 В, 50 Гц, намного проще, чем высоковольтного оборудования. Таким образом, поставленная задача понижения рабочего напряжения приводного электродвигателя ЧРЭ в 2Р или в N раз, при сокращении общего количества выпрямительно-инверторных агрегатов в 3 раза и, как следствие, значительного повышения надежности всего ЧРЭ, выполняется полностью.
Источники информации
Формула изобретения
1. Частотно-регулируемый электропривод (ЧРЭ), содержащий силовой трансформатор, по крайней мере, с четырьмя трехфазными вторичными обмотками, группу выпрямительно-инверторных преобразователей частоты и приводной электродвигатель с 2Р числом полюсов, соединенных последовательно, отличающийся тем, что обмотка приводного электродвигателя выполнена из 2Р идентичных катушечных групп, каждая из которых подключена к отдельному трехфазному выпрямительно-инверторному преобразователю частоты, каждый из которых, в свою очередь, подключен к соответствующим вторичным обмоткам силового трансформатора с коэффициентом трансформации, равным 2Р.
2. Частотно-регулируемый электропривод (ЧРЭ) по п.1, отличающийся тем, что при выполнении ЧРЭ с одной парой полюсов его приводной электродвигатель выполнен с обмоткой из N идентичных катушечных групп, объединенных в N трехфазные системы, которые подключены к N трехфазным выпрямительно-инверторным преобразователям частоты, которые, в свою очередь, подключены к соответствующим обмоткам, например, 12-ти фазного силового трансформатора с коэффициентом трансформации, равным N.
РИСУНКИ
|
|