|
|
(21), (22) Заявка: 2004129410/28, 05.10.2004
(24) Дата начала отсчета срока действия патента:
05.10.2004
(43) Дата публикации заявки: 10.03.2006
(46) Опубликовано: 20.08.2006
(56) Список документов, цитированных в отчете о поиске:
SU 1805414 A1, 30.03.1993. SU 1208523 А, 30.01.1986. SU 1803897 A1, 23.03.1993. М.Б.ШНЕЕРСОН и др. Наземная сейсморазведка с невзрывными источниками колебаний. – М.: Недра, 1980, с.105-111.
Адрес для переписки:
630092, г.Новосибирск, пр. К. Маркса, 20, НГТУ
|
(72) Автор(ы):
Малахов Алексей Петрович (RU)
(73) Патентообладатель(и):
ГОУ ВПО Новосибирский государственный технический университет (RU)
|
(54) СПОСОБ УПРАВЛЕНИЯ ВИБРОСЕЙСМОИСТОЧНИКОМ
(57) Реферат:
Изобретение относится к вибрационной технике и может быть использовано при управлении быстродействующими возбудителями вибросейсмических колебаний. Сущность: способ заключается в формировании разнополярных силовых импульсов длительностью, меньшей половины каждого полупериода создаваемых вибросейсмических колебаний и воздействии ими на излучающую плиту. Импульсы создают такой длительности, чтобы при одно- или биполярной модуляции силового импульса к очередному, противоположному по знаку силовому импульсу виброскорость излучающей плиты вибросейсмоисточника снизилась до нуля. Технический результат: повышение коэффициента мощности. 3 ил.
Предлагаемое изобретение относится к вибрационной технике и может быть использовано при управлении быстродействующими возбудителями вибросейсмических колебаний – вибросейсмоисточников.
Известен способ управления вибросейсмоисточником с электрогидравлическим генератором силовых импульсов [Теория и практика наземной невзрывной сейсморазведки. Под ред. Шнеерсона М.Б. М.: ОАО Издательство “Недра”, 1998. – с.93-123], в котором силовые импульсы на излучающую плиту вибросейсмоисточника создают поочередной подачей жидкости под большим давлением в полости гидроцилиндра с поршнем в средней части этого цилиндра в течение каждого полупериода создаваемых силовых импульсов на излучающую плиту.
Недостатком такого полного, двуполярного управления вибросейсмоисточника является потребление от источника энергии (насоса с высоким давлением жидкости) очень большой величины активной мощности, затрачиваемой на разгон гидроцилиндра с большой инертной массой, а затем на ее торможение и новый разгон в обратную сторону. При таком способе управления вибросейсмоисточник работает с чрезвычайно низким коэффициентом мощности, особенно при низких частотах создаваемых вибраций. При низких частотах вибраций вибросейсмоисточник для привода насоса потребляет очень большие мощности от приводного двигателя. В реальной (полевой) работе приходится уменьшать усилия создаваемых воздействий, что приводит к ухудшению качества полевых вибросейсмических материалов.
Наиболее близким к изобретению по технической сущности является способ управления вибросейсмоисточником, выполненным в виде вибровозбудителя с гидроцилиндром с подключенными к его полостям газогидравлическими аккумуляторами регулируемого наполнения [Комиссаренко Ю.Я. Характеристики вибровозбудителя с газогидравлическими аккумуляторами. Гидропривод и пневмоавтоматика. Респ. межведомств. научно-техн. сборник. Выпуск 27, Киев, “Тэхника”, 1991, с.75-83]. Но и в этом случае вибросейсмоисточник управляется поочередным подключением каждой полости гидроцилиндра к насосу.
При этом способе управления вибросейсмоисточником также большие энергии перетекают из одного аккумулятора в другой, что ведет к большим потерям мощности и, соответственно, к большим потребляемым мощностям приводного двигателя насоса высокого давления. То есть и в этом случае вибросейсмоисточник работает с крайне низким коэффициентом мощности, да еще и дополнительно увеличиваются потери мощности при перетекании жидкости в трубопроводах гидропневмоаккумуляторов.
Задачей предлагаемого способа управления вибросейсмоисточником является повышение коэффициента мощности.
Указанная задача решается тем, что в способе управления вибросейсмоисточником, заключающемся в формировании разнополярных силовых импульсов длительностью, меньшей половины периода создаваемых вибросейсмических колебаний, эти силовые импульсы на излучающую плиту создают такой длительности, чтобы при одно- или биполярной модуляции силового импульса к очередному, противоположному по знаку силовому импульсу виброскорость излучающей плиты вибросейсмоисточника снизилась до нуля.
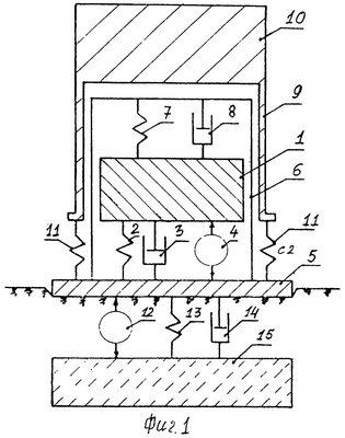
На фиг.1 дана эквивалентная механическая схема вибросейсмоисточника, реализующая предлагаемый способ управления, на фиг.2 приведена временная диаграмма предлагаемого способа управления при однополярном формировании силовых импульсов на излучающую плиту вибросейсмоисточника.
Вибросейсмоисточник (фиг.1) содержит инертную массу 1, установленную на пружины 2 с демпферами 3, быстродействующий генератор разнополярных силовых импульсов 4, воздействующий на излучающую плиту 5, установленную на грунт. Пружины 2, демпферы 3 и генератор силовых импульсов 4 с одной стороны связаны с излучающей плитой 5, а с другой стороны с инертной массой 1. Инертная масса 1, кроме того, с другой стороны связана с корпусом 6 силовой камеры также через пружины 7 и демпферы 8, а корпус 6 силовой камеры свободно помещен в направляющих 9 пригрузочной массы 10. Пригрузочная масса 10 через пружины 11 связана также с излучающей плитой 5. Противодействие грунта изображено эквивалентным генератором противодействующего усилия грунта 12, пружиной 13 и демпфером 14. Присоединенная масса грунта изображена массой 15.
Способ управления вибросейсмоисточником осуществляется следующим образом. При заданной частоте вибраций генератором 4 (фиг.1) в момент времени /4 (фиг.2) начинает формироваться положительный силовой импульс 1 (фиг.2) и инертная масса 1 (фиг.1), и излучающая платформа 5 (фиг.1), набирают скорость по кривой 3 (фиг.2). В момент времени 3 /4 силовой импульс 1 (фиг.2) уменьшается до нуля, виброскорость по кривой 5 за счет противодействующего усилия грунта снижается до нуля. В момент времени 5 /4 генератором 4 (фиг.1) включается отрицательный импульс 2 (фиг.2). Платформа 5 и инертная масса 1 набирают скорость по кривой 4 (фиг.2). В момент времени 7 /4 снимается воздействие отрицательного импульса 2, скорость инертной массы и излучающей плиты 5 снижаются до нуля по кривой 6 (фиг.2).
В результате такого способа управления инертная масса и излучающая плита каждый раз возвращаются в исходное положение с нулевой скоростью, в результате чего не тратится энергия на их разгон и дальнейшее торможение. Создаваемое усилие и виброскорость на участках нарастания совпадают по фазе, т.е. угол между этими величинами на участке воздействия равен 0 и, соответственно, коэффициент мощности cos =1. Т.е. от источника потребляется чисто активная мощность. Излучающей плитой также излучается практически число активная мощность сейсмических волн. Грунт также не потребляет реактивную мощность, т.е. излучается в дальнюю зону только активная энергия. Средняя мощность за период создаваемого колебания может быть вычислена по выражению

где F – усилие за время действия силового импульса (в нашем случае за время );
Vmax – амплитуда скорости, приобретаемая инертной массой за время действия усилия ±F.
При предложенном способе управления вибросейсмоисточника при передаче в грунт одной и той же мощности излучения от источников питания потребляется во много раз меньше энергии и, соответственно, мощности. Вибросейсмоисточники одинаково интенсивно работают на высокой и низкой частоте вибраций. Особенно важно применение предлагаемого способа управления на низких частотах. Задача повышения активной мощности, отдаваемой источником в грунт, решается с многократным снижением общей потребляемой мощности от источников энергопитания.
На фиг.2 изображен так называемый однополярный способ управления вибросейсмоисточника. Еще большим уровнем излучаемой мощности и единичным коэффициентом мощности отличается биполярное управление вибросейсмоисточника. Такое управление изображено на фиг.3. При таком способе длительность воздействия на участке нарастания виброскорости может достигать величины 3 /4, оставшееся время полупериода формируется импульс усилия противоположного знака, и виброскорость излучающей платформу принудительно и более интенсивно снижается до нуля. При этом и потребляемая, и излучаемая виброплатформой мощность почти в 2 раза больше, чем при однополярном управлении, изображенном на фиг.2.
Предлагаемый способ управления вибросейсмоисточника и при однополярной, и при биполярной модуляциях силовых импульсов обеспечивает формирование вибросейсмических колебаний грунта при коэффициентах мощностей во всем тракте преобразования энергий, равных единице, что многократно снижает в целом потребляемую вибросейсмоисточником мощность от первичных двигателей при одновременном многократном увеличении излучаемой мощности в исследуемую среду – грунт, что значительно улучшает качество получаемого в дальней зоне геофизического материала.
Формула изобретения
Способ управления вибросейсмоисточником, заключающийся в формировании разнополярных силовых импульсов длительностью, меньшей половины каждого полупериода создаваемых вибросейсмических колебаний, отличающийся тем, что силовые импульсы на излучающую плиту в вибросейсмоисточнике создают такой длительности, чтобы при одно- или биполярной модуляции силового импульса к очередному, противоположному по знаку силовому импульсу виброскорость излучающей плиты вибросейсмоисточника снизилась до нуля.
РИСУНКИ
|
|