|
|
(21), (22) Заявка: 2004119884/28, 01.07.2004
(24) Дата начала отсчета срока действия патента:
01.07.2004
(43) Дата публикации заявки: 10.12.2005
(46) Опубликовано: 20.08.2006
(56) Список документов, цитированных в отчете о поиске:
S. ANDRIAMONJE et al. Experimental studies of a Micromegas neutron detector. NIM A481(2002), p.120-129. RU 19930 U1, 10.10.2001. WO 03034797 A1, 24.04.2003. US 6519306 B1, 11.02.2003.
Адрес для переписки:
117393, Москва, ул. Профсоюзная, 70, ИСПМ им. Н.С. Ениколопова РАН, патентный отдел
|
(72) Автор(ы):
Поташев Станислав Ильич (RU), Драчев Александр Иванович (RU)
(73) Патентообладатель(и):
Поташев Станислав Ильич (RU), Драчев Александр Иванович (RU)
|
(54) ПОЗИЦИОННО-ЧУВСТВИТЕЛЬНЫЙ ДЕТЕКТОР НЕЙТРОНОВ
(57) Реферат:
Изобретение относится к области измерений ядерных излучений. Устройство включает герметичный корпус, заполненный газовой смесью при атмосферном давлении с двумя активными газовыми объемами, отделенными друг от друга анодом, размещенным между двумя усилительными сетками и двумя катодами, изготовленными из металлической фольги. Анод, катоды и сетки расположены параллельно друг другу. Входным и выходным окнами служат катоды. Отличительная особенность изобретения состоит в том, что анод выполнен многослойным и содержащим с одной стороны несущей пленки конвертирующий нейтроны слой (бор-10 или литий-6), закрытый тонким диэлектрическим слоем. Далее со стороны конвертирующего слоя и с другой стороны анода нанесены по два слоя алюминиевых сигнальных дорожек, разделенных диэлектрическими дорожками. При этом дорожки первого слоя перпендикулярны дорожкам второго слоя. Техническим результатом изобретения являются возможность точного определения двух координат нейтрона и высокая эффективность подавления фона и шумов. 5 з.п. ф-лы, 1 табл., 2 ил.
Изобретение относится к области физики ядра и элементарных частиц, и может найти применение для измерений ядерных излучений, регистрации траекторий движения элементарных частиц (нейтронов), и может быть использовано, в частности, в качестве регистрирующего детектора в кристаллографии, дефектоскопии и медицинской томографии, более конкретно изобретение относится к позиционно-чувствительному детектору нейтронов, применяемому для точного определения распределения полей и координат медленных (субтепловых) нейтронов.
Известен двухкоординатный позиционно-чувствительный детектор нейтронов (Свидетельство на Полезную модель № 19930 от 29.03.2001). Он содержит герметичный корпус, заполненный газовой смесью, являющейся конвертором нейтронов. В нем размещены параллельно друг другу проволочные электроды. Газовая смесь приготовлена на основе изотопа гелия-3. Этот детектор обладает следующими недостатками: в газовом объеме происходит одновременно конвертирование нейтронов и ионизация от вторичных частиц, что требует использования газа под высоким давлением и большой толщины внешних стенок детектора, не позволяет регистрировать медленные нейтроны с длиной волны от 10 до 100 Å, имеет высокий уровень шумов и низкое координатное разрешение. Кроме того, конструкция детектора является громоздкой и опасной из-за необходимости использования газа под высоким давлением. Указанные недостатки сужают круг задач, для решения которых может быть использован данный детектор.
Некоторые из перечисленных недостатков описанного детектора могут быть устранены в случае использования в качестве конвертора нейтронов не газовой смеси, введенной в объем корпуса, а слоя из бора или лития.
Наиболее близким по конструкции и технической сущности к достигаемому техническому результату является позиционно-чувствительный детектор, в котором в качестве конвертора нейтронов используется слой бора-10 или лития-6 [S.Andriamonje, D.Cano-Ott, A.Delbart, J.Derre, S.Diez, I.Giomataris, E.M.Gonzales-Romero, F.Jeaneau, D.Karamanis, A.Lepretre, I.Papadopoulos, P.Pavlopoulos, D.Villamarin. Experimental studies of a Micromegas neutron detector, NIM A481 (2002), pp.120-129]. Детектор содержит герметичный корпус, заполненный газовой смесью, в котором приклеены к рамам и установлены параллельно друг другу катод (дрейфовый электрод) со слоем бора или лития, промежуточная усилительная сетка и анод, состоящий из изолированных друг от друга проводящих дорожек. Катод является одновременно входным окном и состоит из алюминиевой фольги, на внутренней стороне которой нанесен конвертирующий нейтроны слой из бора-10 или лития-6. Промежуточная сетка состоит из никелевой фольги с регулярной структурой отверстий. Анод изготовлен на основе стеклотекстолита с нанесенными на него дорожками из позолоченной меди. В конструкцию детектора включены также средства газонаполнения и подачи высокого напряжения на анод, катод и сетку. Данный детектор не позволяет определять две координаты нейтрона, вступившего в ядерную реакцию в конвертирующем слое, так как он содержит только один слой параллельных сигнальных дорожек. Недостатком этого детектора является также использование только одного газового объема, что не позволяет регистрировать обе частицы, вылетающие из конвертирующего слоя в результате ядерной реакции. Из-за этого не возможно с высокой точностью определить координату ядерного взаимодействия нейтрона. Ошибка измерения координаты в данном случае должна определяться проекцией траектории движения -частицы или ядра трития в газовом промежутке на координатную ось X, направленную перпендикулярно сигнальным дорожкам. Для медленных нейтронов ошибка измерения координаты наиболее высока, зависит от длины пробега -частицы или ядра трития в газе и равна нескольким миллиметрам, т.к. в данном случае частицы будут вылетать изотропно во всех направлениях, в том числе параллельно плоскости анода. Таким образом, данная конструкция детектора не пригодна для точного измерения координат медленных нейтронов. Кроме того, детектор с одинаковой эффективностью регистрирует вместе с полезными событиями захвата нейтрона также и любые другие фоновые частицы, влетающие в рабочий объем и поэтому имеет низкое соотношение сигнал/шум. Большая толщина материала, из которого изготовлен анод, также является недостатком, т.к. не позволяет использовать его в системе, состоящей из нескольких детекторов с целью увеличения эффективности регистрации нейтронов.
Задачей настоящего изобретения является создание такой конструкции позиционно-чувствительного детектора нейтронов, которая позволила бы получить новый технический результат: существенно снизить вклад фоновых событий, независимо от природы их происхождения, и значительно повысить соотношение сигнал/шум; определять координаты отдельных частиц; измерять распределение нейтронных полей; определять траектории движения нейтронов; расширить энергетический диапазон регистрируемых частиц и снизить порог регистрации до энергий медленных нейтронов с длиной волны до 100 Å; за счет улучшения характеристик детектора иметь возможность использовать его для измерения ядерных излучений, анализа атомарной структуры вещества, обнаружения радиоактивных изотопов, и тем самым, расширить области его применения, в том числе для использования в приборе, включающем не один детектор, а по крайней мере – два.
Поставленная задача решается тем, что создан позиционно-чувствительный детектор, характеризующийся тем, что он включает герметичный корпус, заполненный газовой смесью с двумя активными газовыми объемами, отделенными друг от друга анодом, со сформированными на нем многослойными структурами. По обе стороны анода расположены две усилительные сетки и два катода, выполненные из металлической фольги. Анод, катоды и сетки установлены параллельно друг другу с помощью изолирующих стоек. Входным и выходным окнами служат катоды. Многослойный анод изготовлен следующим образом: на несущей пленке преимущественно 0.2 мкм, с одной стороны нанесен конвертирующий нейтроны слой толщиной предпочтительно 0.3-0.6 мкм (бор-10 или литий-6), закрытый тонким диэлектрическим слоем. Далее со стороны конвертирующего слоя и с другой стороны анода нанесены по два слоя алюминиевых сигнальных дорожек толщиной предпочтительно 0,02 мкм, разделенных диэлектрическими дорожками. Дорожки первого слоя перпендикулярны дорожкам второго слоя. Суммарная толщина анода составляет менее 1 мкм, предпочтительно 0.7-1 мкм при средней плотности вещества примерно 2 г/см2. Корпус заполнен рабочим газом при атмосферном давлении. Детектор оснащен также средствами газонаполнения, подачи высокого напряжения на анод, катоды и сетки и выводами электрических сигналов с алюминиевых дорожек анода.
В отличие от известного детектора, заявляемый детектор содержит не один, а два катода и еще одну усилительную сетку. Анод, имеющий многослойную структуру, размещен между усилительными сетками и катодами, разделяя газовую смесь на два активные объема. Конвертирующий нейтроны слой, дополнительно закрыт тонким диэлектрическим слоем и нанесен не на катод (дрейфовый электрод), а на анод с одной стороны несущей пленки. Дополнительный катод является выходным окном. Многослойная структура анода дополнительно содержит нанесенные со стороны конвертирующего слоя и с другой стороны несущей пленки по два слоя алюминиевых сигнальных дорожек, разделенных диэлектрическими дорожками, причем дорожки первого слоя расположены перпендикулярно дорожкам второго слоя. Общая толщина анода составляет не более 1 мкм, преимущественно 0.7-1 мкм при средней плотности вещества около 2 г/см2. В отличие от известного детектора, заявленная новая конструкция позволяет точно определять две координаты нейтрона и обладает высокой эффективностью подавления фона и шумов, так как ее работа основана на регистрации в совпадении двух заряженных частиц. Малое количество вещества на пути нейтронов существенно снижает порог регистрации детектора и дает возможность собирать на основе таких детекторов системы для регистрации медленных нейтронов с длиной волны до 100Å. Использование заявляемого детектора, содержащего слой бора-10 в качестве конвертора нейтронов, вместе с детектором гамма-квантов (в совпадении с двумя вылетающими частицами) служит дополнительным фактором подавления помех. Таким образом, данная конструкция детектора обеспечивает расширение области его применения за счет возможности измерения двух координат, позволяет производить точную геометрическую реконструкцию точки захвата нейтрона и снизить порог регистрации в область медленных нейтронов, а также существенно снизить регистрацию фоновых событий независимо от природы их происхождения. В этом заключается достижение нового технического результата.
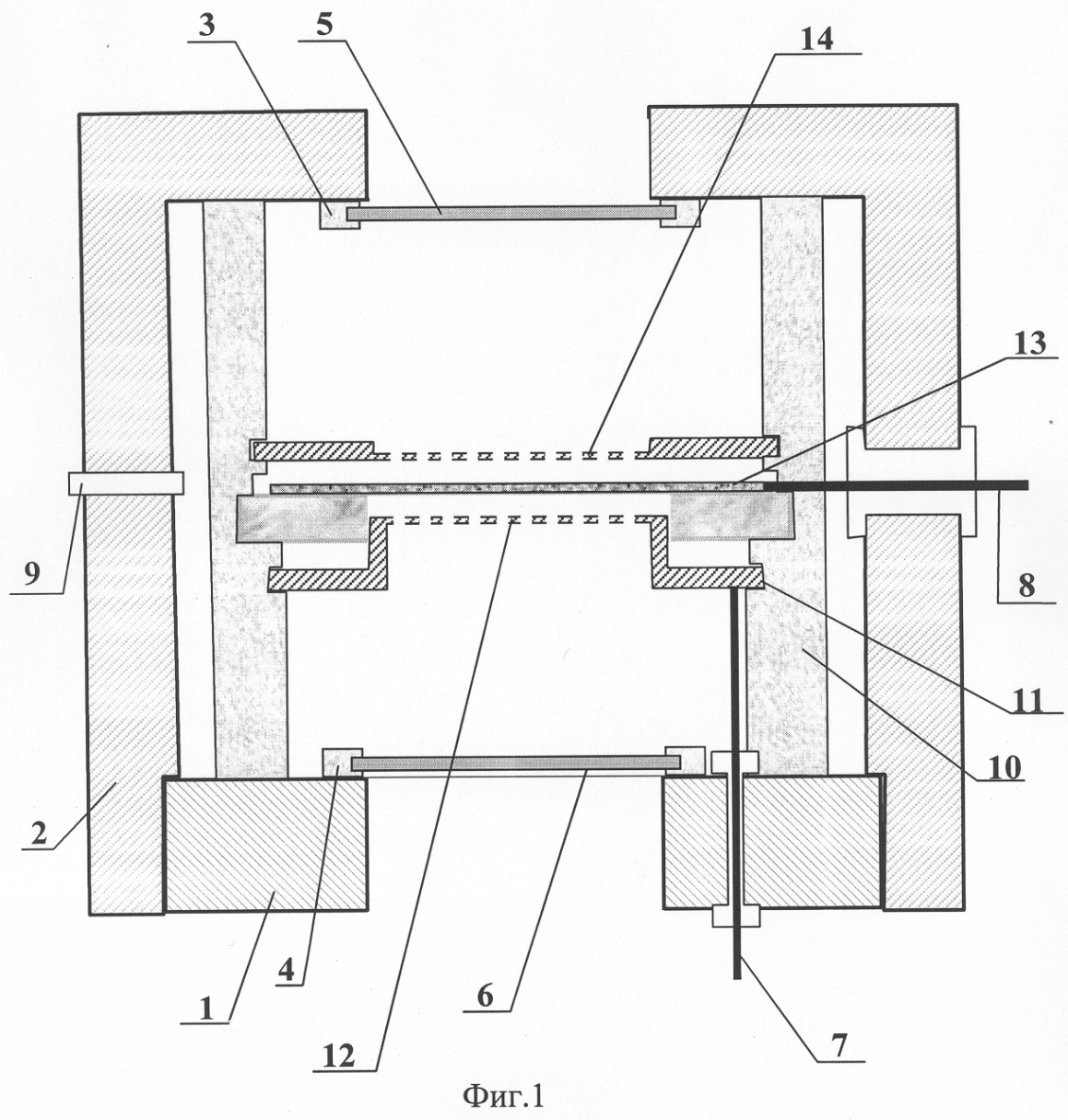
На фиг.1 представлена конструкция заявленного позиционно-чувствительного детектора нейтронов, содержащего герметичный корпус, выполненный в виде металлического основания 1 и металлической крышки 2 с уплотнением для герметизации. Входным 5 и выходным 6 окнами служат катоды (дрейфовые электроды) из фольги. Металлическая фольга входного и выходного окон прикреплена к корпусу с помощью фторопластовых колец 3 и 4. Корпус заполнен рабочим газом при атмосферном давлении. В основание вмонтированы герметичные контакты для подачи напряжения питания 7, для вывода электрических сигналов с дорожек анода 8 и газовые вводы 9. На основании 1 установлены четыре фторопластовые стойки 10 с тремя пазами для установки колец с электродами. В первый по счету от основания паз 11 установлено первое кольцо с сеткой 12 из фольги, во второй – кольцо с анодом 13, в третий – второе кольцо с сеткой 14 из фольги. Фторопластовые стойки 10 обеспечивают точные (±0,02 мм) межэлектродные расстояния.
На фиг.2 представлена многослойная структура анода 13. На кольце 15 из кварцевого стекла закреплена несущая пленка 16 толщиной 0,2 мкм. С одной стороны пленки нанесен конвертирующий нейтроны слой 17 толщиной 0.3-0.6 мкм (бор-10, литий-6), который закрыт защитным диэлектрическим слоем 18. На диэлектрический слой 18 и на другую сторону пленки нанесены продольные алюминиевые дорожки 19 и 20 толщиной 0,02 мкм. Дорожки 19 служат для определения координаты X, а дорожки 20 – для определения координаты Y. Пересекающиеся дорожки изолированы друг от друга диэлектрическими дорожками 21 и защищены от взаимодействия с химически активным газом тонким слоем полупроводящего полимера 22.
В таблице приведены данные по эффективности регистрации детектора для разных длин волн медленных нейтронов.
Работа позиционно-чувствительного детектора нейтронов основана на взаимодействии нейтронов с ядрами бора-10 (или лития-6). Нейтрон проходит через катод 5, пересекает первый газовый объем и попадает в конвертирующий слой 17 (бора-10 или лития-6), расположенный на аноде. В конвертирующем слое 17 нейтрон вступает в реакцию с ядром бора или лития. В результате ядерной реакции из ядра вылетают две частицы:


Поперечное сечение ядерной реакции (1) ( тепл.=3,8·10-25 м2) превышает в 4 раза поперечное сечение ядерной реакции (2) ( тепл.=0,94×10-25 м2), что позволяет при использовании бора в детекторе иметь более высокие эффективности регистрации нейтронов. Согласно представленным уравнениям (1) и (2) в случае использования бора-10 из конвертирующего нейтроны слоя вылетают -частица (4Не) и ядро лития (7Li), а в случае лития-6 – -частица и ядро трития (3Н). Образующиеся частицы вылетают изотропно в противоположных направлениях, а угол между их траекториями всегда составляет примерно 180°. Поэтому они попадают в разные газовые объемы детектора, разделенные анодом. Обе частицы приводят к ионизации молекул газа. В результате этого, по траектории движения частиц в двух газовых промежутках, разделенных анодом 13, образуются положительные ионы и электроны. Между катодом 5, сеткой 12 и анодом 13, а также между катодом 6, сеткой 14 и анодом 13 подается постоянное напряжение таким образом, что катоды имеют отрицательный потенциал, анод – нулевой потенциал, а потенциал сеток является отрицательным, но имеет величину ниже потенциала катодов. Образующиеся при ионизации газа электроны осуществляют дрейф в электрическом поле по направлению к аноду. В области сеток происходит искажение силовых линий электрического поля таким образом, что они концентрируются в области отверстий сеток 12 и 14. Это приводит к значительному увеличению напряженности электрического поля в области отверстий, приводящему к росту энергии электронов и их умножению в промежутке между сеткой и анодом, а также позволяет сфокусировать образованные ионизацией электронные лавины и уменьшить влияние их теплового уширения на точность определения координат частиц. Сфокусированные и умноженные электронные потоки попадают на дорожки Х 19 и Y 20 анода 13, генерируют в них электрический сигнал, который выводится через контакты 8. По электрическим сигналам с дорожек 19 и 20 определяются проекции траекторий движения обеих частиц на плоскость анода, а их общая начальная точка дает координаты точки взаимодействия нейтрона. Измерительной аппаратурой регистрируются только те парные сигналы, которые совпадают во времени и имеют амплитуду, заданную в узких интервалах, определяемых энергиями вылетающих из ядерной реакции частиц, что позволяет отфильтровать случайные сигналы, полученные от ионизации, произведенной в газовых объемах детектора частицами фонового излучения. Для повышения точности определения координаты точки взаимодействия нейтрона слой конвертирующего вещества располагается непосредственно рядом с алюминиевыми сигнальными дорожками.
| Таблица |
| Длина волны нейтрона, Å |
Эффективность регистрации, % |
| 1 |
2 |
| 8 |
10 |
| 100 |
60 |
Формула изобретения
1. Позиционно-чувствительный детектор нейтронов, включающий средства наполнения газовой смесью, подачи напряжения и выводы электрических сигналов, герметичный корпус, заполненный газовой смесью, в котором установлены параллельно друг другу три электрода: один катод, являющийся входным окном, выполненный из фольги; анод, содержащий металлические дорожки; усилительная сетка, выполненная из фольги и расположенная возле анода, при этом на одном из электродов с одной стороны нанесен конвертирующий нейтроны слой, отличающийся тем, что дополнительно содержит еще один катод, который является выходным окном, и еще одну усилительную сетку, а анод, представляющий собой многослойную структуру, содержащую несущую пленку с нанесенным конвертирующим слоем, нанесенные со стороны конвертирующего слоя и с другой стороны несущей пленки по два слоя алюминиевых сигнальных дорожек, разделенных диэлектрическими дорожками, причем дорожки первого слоя расположены перпендикулярно дорожкам второго слоя, размещен между усилительными сетками и катодами, разделяя газовую смесь на два активные объема, при этом конвертирующий нейтроны слой нанесен на анод с одной стороны несущей пленки.
2. Детектор по п.1, отличающийся тем, что общая толщина анода составляет не более 1 мкм, преимущественно 0,7-1 мкм при средней плотности вещества около 2 г/см2.
3. Детектор по п.1, отличающийся тем, что газовой смесью является, например, аргон-изобутан.
4. Детектор по п.3, отличающийся тем, что он предназначен для использования в измерении ядерных излучений, координат нейтронов, распределений нейтронных полей, анализе атомарной структуры вещества, обнаружении радиоактивных изотопов.
5. Детектор по п.4, отличающийся тем, что он предназначен для использования в приборе, включающем, по крайней мере, два детектора.
6. Детектор по одному из п.1 или 5, отличающийся тем, что он предназначен для использования в приборе, включающем дополнительный сцинтилляционный детектор для регистрации гамма-кванта в режиме совпадения с регистрацией заряженных частиц.
РИСУНКИ
MM4A – Досрочное прекращение действия патента СССР или патента Российской Федерации на изобретение из-за неуплаты в установленный срок пошлины за поддержание патента в силе
Дата прекращения действия патента: 02.07.2007
Извещение опубликовано: 20.02.2009 БИ: 05/2009
|
|