|
|
(21), (22) Заявка: 2004137248/28, 20.12.2004
(24) Дата начала отсчета срока действия патента:
20.12.2004
(46) Опубликовано: 20.08.2006
(56) Список документов, цитированных в отчете о поиске:
RU 2234069 С2, 27.04.2004. SU 1523928 A1, 23.11.1989. SU 1552033 А1, 23.03.1990. SU 1705710 A1, 15.01.1992. GB 1372780 А, 06.11.1974. US 4172378 А, 30.10.1979. US 4640122, 03.02.1987.
Адрес для переписки:
460352, г.Оренбург, пр-т Победы, 13, ГОУ ОГУ, патентный отдел
|
(72) Автор(ы):
Жежера Николай Илларионович (RU), Афанасьев Антон Валерьевич (RU)
(73) Патентообладатель(и):
Государственное образовательное учреждение высшего профессионального образования “Оренбургский государственный университет” (RU)
|
(54) УСТРОЙСТВО КОНТРОЛЯ ГЕРМЕТИЧНОСТИ ИЗДЕЛИЙ
(57) Реферат:
Изобретение относится к испытательной технике и позволяет испытывать полые изделия газом на герметичность, например, автотракторные теплообменники. Техническим результатом изобретения является повышение точности контроля герметичности. Этот результат обеспечивается за счет того, что устройство контроля герметичности изделий содержит эталонную емкость, соединенный с ней через вентиль источник давления, магистраль, состоящую из двух участков, с запорным органом, выполненным в виде герметичного сосуда, частично заполненного жидкостью, две трубки, жестко соединенные с герметичным сосудом, открытые торцы которых погружены в жидкость на одинаковую глубину, вторые торцы трубок соединены с обращенными друг к другу концами участков магистрали. Один конец магистрали соединен с эталонной емкостью, а другой с изделием. Дифманометр с подвижной перегородкой выполнен в виде трубки с каплей жидкости, первая полость которого сообщена с эталонной емкостью, вторая – с изделием. Выполненный в виде шарнира узел поворота магистрали с запорным органом и дифманометра с подвижной перегородкой вокруг оси, лежащей в плоскости, параллельной зеркалу жидкости на угол, величина которого выбирается из условия сообщения открытых торцов трубок с воздушной полостью сосуда. Согласно изобретению к шарниру узла поворота магистрали с запорным органом и дифманометра с подвижной перегородкой подключен вибратор для сообщения вибрации узлу поворота магистрали с запорным органом и дифманометра с подвижной перегородкой. 1 ил.
Изобретение относится к испытательной технике и позволяет испытывать полые изделия газом на герметичность, например автотракторные теплообменники.
Известно устройство для контроля герметичности изделий (А.С. СССР №1552033, G 01 М 3/26, 1990), которое содержит эталонную емкость, соединенный с ней через вентиль источник давления, магистраль, состоящую из двух участков, с запорным органом, выполненным в виде герметичного сосуда, частично заполненного жидкостью, двух трубок, жестко соединенных с сосудом, открытые торцы которых погружены в жидкость на одинаковую глубину, вторые торцы трубок соединены с обращенными друг к другу концами участков магистрали, один конец магистрали, соединен с эталонной емкостью, а другой – с изделием, дифманометр с подвижной перегородкой, выполненный в виде трубки с каплей жидкости, первая полость которого сообщена с эталонной, емкостью, вторая – с изделием, и выполненный в виде шарнира узел поворота магистрали с запорным органом и дифманометра с подвижной перегородкой вокруг оси, лежащей в плоскости зеркала жидкости, на угол, величина которого выбирается из условия сообщения открытых торцов трубок с воздушной полостью сосуда.
Однако это устройство имеет недостаточную точность контроля герметичности изделий из-за наличия силы, препятствующей перемещению подвижной перегородки дифманометра – капли жидкости в трубке, связанной с действием поверхностного натяжения жидкости подвижной перегородки дифманометра.
Технический результат изобретения – повышение точности контроля герметичности за счет уменьшения влияния силы от действия поверхностного натяжения жидкости подвижной перегородки (капли жидкости) дифманометра.
Поставленная задача решается тем, что в устройстве, содержащем эталонную емкость, соединенный с ней через вентиль источник давления, магистраль, состоящую из двух участков, с запорным органом, выполненным в виде герметичного сосуда, частично заполненного жидкостью, двух трубок, жестко соединенных с сосудом, открытые торцы которых погружены в жидкость на одинаковую глубину, вторые торцы трубок соединены с обращенными друг к другу концами участков магистрали, один конец магистрали соединен с эталонной емкостью, а другой – с изделием, дифманометр с подвижной перегородкой, выполненный в виде трубки с каплей жидкости, первая полость которого сообщена с эталонной емкостью, вторая – с изделием, и выполненный в виде шарнира узел поворота магистрали с запорным органом и дифманометра с подвижной перегородкой вокруг оси, лежащей в плоскости зеркала жидкости, на угол, величина которого выбирается из условия, сообщения открытых торцов трубок с воздушной, полостью сосуда, к шарниру узла поворота магистрали с запорным органом и дифманометра с подвижной перегородкой подключен вибратор для сообщения вибрации узлу поворота магистрали с запорным органом и дифманометра с подвижной перегородкой.
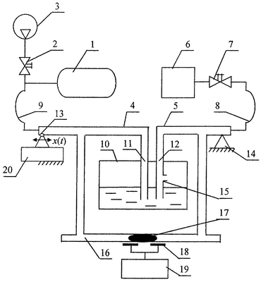
На чертеже изображена схема устройства контроля герметичности изделий.
Устройство содержит эталонную емкость 1, соединенный с ней через вентиль 2 источник газа 3. Магистраль, состоящая из двух участков 4 и 5, соединена с эталонной емкостью 1 и изделием 6 через вентиль 7 гибкими трубопроводами 8 и 9. Герметичный сосуд 10 частично заполнен жидкостью, например ртутью. В нее на одинаковую глубину погружены открытые торцы двух трубок 11 и 12, жестко соединенных с обращенными друг к другу концами участков 4 и 5 магистрали и с сосудом 10. Имеется узел поворота вокруг оси, лежащей в плоскости, параллельной зеркалу жидкости, на угол, величина которого выбирается из условия сообщения открытых торцов трубок 11 и 12 с воздушной полостью сосуда 10. Узел поворота выполнен в виде шарнира 13. С поворотной частью шарнира 13 соединен конец участка 4 магистрали. Конец участка 5 магистрали свободно опирается сверху на неподвижную опору 14. В трубке 12 выполнено отверстие 15, соединяющее ее полость с воздушной полостью сосуда 10. Дифманометр 16 с подвижной перегородкой 17, например каплей токопроводящей жидкости, одной полостью соединен с участком 4 магистрали со стороны эталонной емкости 1, а другим – с участком 5 магистрали и с изделием 6. Датчики положения 18 с вторичным прибором 19 измеряют положение подвижной перегородки 17. К шарниру узла поворота магистрали с запорным органом и дифманометра с подвижной перегородкой подключен вибратор 20 для сообщения вибрации узлу поворота магистрали с запорным органом и дифманометра с подвижной перегородкой.
Устройство работает следующим образом.
Герметичную емкость 10, частично заполненную жидкостью, две трубки 5 и 4, дифманометр 16 с подвижной перегородкой 17 наклоняют путем поворота вокруг шарнира 13 на угол, при котором трубки 4 и 5 полностью выходят из жидкости, находящейся в сосуде 10. Подсоединяют к магистрали эталонную емкость 1 и изделие 6 с помощью гибких трубопроводов 8 и 9. Открывают запорные вентили 2 и 7 и заполняют устройство контрольным газом от источника 3 до необходимого давления. Прекращают подвод контрольного газа путем перекрытия вентиля 2 и устанавливают сосуд 10, магистраль, состоящую из двух участков 4 и 5, и дифманометр 16 в горизонтальное положение на опору 14. При этом открытые торцы трубок 4 и 5 погружаются в жидкость и рассоединяют эталонную емкость 1 от изделия 6. Во время погружения трубок 4 и 5 в жидкость из них вытесняются равные объемы контрольного газа, в результате чего давления в эталонной емкости 1 и изделии 6 остаются равными. Включают в работу вибратор 20, сообщая вибрацию шарниру 13 узла поворота магистрали с запорным органом и дифманометра 16 с подвижной перегородкой 17, и берут отсчет по вторичному прибору 19. Испытывают изделие на герметичность в течение заданного промежутка времени и берут второй отсчет по вторичному прибору 19 о положении подвижной перегородки 17 при вибрации шарнира узла поворота магистрали с запорным органом и дифманометра с подвижной перегородкой. О негерметичности изделия 6 судят по перемещению подвижной перегородки 17 дифманометра 16 за время испытаний. Перемещение подвижной перегородки 17 измеряют датчиками положения 18 и вторичным прибором 19.
Отверстие 15 в нижней части трубки 12 предназначено для аварийного выравнивания давлений между эталонной емкостью 1 и изделием 6 при контроле герметичности изделия, когда фактические утечки контрольного газа из изделия 6 существенно превышают допустимые значения утечек газа из изделия.
По сравнению с прототипом изобретение позволяет повысить точность контроля герметичности изделия за счет уменьшения влияния силы от действия поверхностного натяжения жидкости капли в трубке – подвижной перегородки дифманометра путем сообщения вибрации шарниру узла поворота магистрали с запорным органом и дифманометра с подвижной перегородкой в процессе контроля герметичности изделий.
Дифманометр с подвижной перегородкой обычно представляет собой трубку (стеклянную, пластмассовую), внутри которой расположен небольшой объем жидкости – капля жидкости. На жидкость действует поверхностное натяжение , Н/м, на границе жидкой и газообразной сред и создается капиллярное давление РК, Па. Это давление определяется по формуле Лапласа (Физический энциклопедический словарь / Под редакцией А.М.Прохорова. – М.: Советская энциклопедия, 1983, стр.243 – Капиллярные явления):

где dm – диаметр трубки (капилляра), м.
Перемещению жидкостной перегородки в трубке противодействует капиллярная сила FK, Н, связанная с действием поверхностного натяжения жидкости, которая равна площади сечения трубки ( d2 m/4), м2, умноженной на капиллярное давление PK, Па, то есть:

Капиллярная сила FK препятствует перемещению капли жидкости в трубке при приложении к капле жидкости движущей силы FД, создаваемой разностью давлений в эталонной емкости и изделии, контролируемом на герметичность. Сила FK и является причиной, не позволяющей повысить точность контроля герметичности изделий с использованием устройства по прототипу. Чтобы подвижная перегородка в трубке дифманометра начала движение, необходимо к ней приложить движущую силу FД большую, чем капиллярная сила FK, то есть FД>FK. Движущая сила FД, Н, приложенная к подвижной перегородке дифманометра, определяется по выражению:

где ( d2 m/4) – площадь поперечного сечения трубки дифманометра с подвижной перегородкой, м2; Р1; Р2 – давление контрольного газа в эталонной емкости и в изделии, Па.
Предполагается, что по физической сущности перемещение подвижной жидкостной перегородки в дифманометре аналогично эффекту сухого трения между двумя телами, контактирующими между собою, одно из которых перемещается относительно другого.
В книге Теория автоматического управления. Под ред. А.С. Шаталова. – М.: Высшая школа, – 1977, стр.378 отмечается: «Осциллограммы (рис.5.58, б) показывают, что среднее за период значение сил сухого трения при указанном вибрационном сигнале равно нулю».
Из этого следует, что если дифманометру с подвижной перегородкой (каплей жидкости) сообщить вибрации, тогда сила FK от действия поверхпостного натяжения жидкости подвижной перегородки дифманометра «равно нулю» и перемещение подвижной перегородкой зависит только движущей силы FД, создаваемой разностью давлений в эталонной емкости и изделии, контролируемом на герметичность.
Таким образом, чтобы подвижная перегородка дифманометра начала движение при отсутствии вибрации дифманометра, необходимо к подвижной перегородке приложить силу FД, большую, чем сила FK, то есть FД>FK. Подвижная перегородка дифманометра при сообщении вибрации дифманометру начинает перемещаться при подведении к подвижной перегородке движущей силы FД>0 потому, что FК=0. Движущая сила FД при начальных значениях перемещения подвижной перегородки может быть существенно меньше, чем капиллярная сила FK без подведения вибрации к дифманометру с подвижной перегородкой.
Сила FД в соответствии с формулой (3) пропорциональна разности давлений, приложенной к жидкостной перегородке со стороны эталонной емкости Р1 и со стороны изделия Р2, и поэтому контроль герметичности изделий проводится, начиная с движущей силы FД>0, что соответствует разности давлений (Р1-Р2)>0. То есть контроль герметичности изделия начинается с утечек газа с изделия, равных нулю. Это существенное повышение точности контроля герметичности изделий связано с подключением вибратора к шарниру узла поворота магистрали с запорным органом и дифманометра с подвижной перегородкой для сообщения вибрации узлу поворота магистрали с запорным органом и дифманометра с подвижной перегородкой.
Повышение точности контроля герметичности достигается за счет снижения до нулевого значения силы от действия поверхностного натяжения жидкости подвижной перегородки дифманометра при сообщении вибрации шарниру узла поворота магистрали с запорным органом и дифманометра с подвижной перегородкой.
Формула изобретения
Устройство контроля герметичности изделий, содержащее эталонную емкость, соединенный с ней через вентиль источник давления, магистраль, состоящую из двух участков, с запорным органом, выполненным в виде герметичного сосуда, частично заполненного жидкостью, двух трубок, жестко соединенных с герметичным сосудом, открытые торцы которых погружены в жидкость на одинаковую глубину, вторые торцы трубок соединены с обращенными друг к другу концами участков магистрали, один конец магистрали соединен с эталонной емкостью, а другой с изделием, дифманометр с подвижной перегородкой, выполненный в виде трубки с каплей жидкости, первая полость которого сообщена с эталонной емкостью, вторая – с изделием, и выполненный в виде шарнира узел поворота магистрали с запорным органом и дифманометра с подвижной перегородкой вокруг оси, лежащей в плоскости, параллельной зеркалу жидкости, на угол, величина которого выбирается из условия сообщения открытых торцов трубок с воздушной полостью сосуда, отличающееся тем, что к шарниру узла поворота магистрали с запорным органом и дифманометра с подвижной перегородкой подключен вибратор для сообщения вибрации узлу поворота магистрали с запорным органом и дифманометра с подвижной перегородкой.
РИСУНКИ
MM4A – Досрочное прекращение действия патента СССР или патента Российской Федерации на изобретение из-за неуплаты в установленный срок пошлины за поддержание патента в силе
Дата прекращения действия патента: 21.12.2006
Извещение опубликовано: 20.06.2008 БИ: 17/2008
|
|