|
(21), (22) Заявка: 2004138712/02, 30.12.2004
(24) Дата начала отсчета срока действия патента:
30.12.2004
(46) Опубликовано: 20.08.2006
(56) Список документов, цитированных в отчете о поиске:
RU 2125226 С1, 20.01.1999. RU 2229679 C1, 27.05.2004. EP 0801287 A2, 15.10.1997.
Адрес для переписки:
117519, Москва, ул. Кировоградская, 1, ФГУП “ФНПЦ “Прибор”, патентное бюро, А.Л. Качалову
|
(72) Автор(ы):
Аманов Валерий Владиленович (RU), Гулин Олег Александрович (RU), Дерюгин Лев Михайлович (RU), Фёдоров Алексей Анатольевич (RU), Чижевский Олег Тимофеевич (RU)
(73) Патентообладатель(и):
Федеральное государственное унитарное предприятие “Федеральный научно-производственный центр “Прибор” (RU)
|
(54) АРТИЛЛЕРИЙСКИЙ ПАТРОН ДЛЯ ГРАНАТОМЕТА
(57) Реферат:
Изобретение относится к боеприпасам унитарного заряжания для подствольных гранатометов. Патрон содержит боевую часть с ведущим пояском, имеющим выступы для взаимодействия с нарезами ствола, и хвостовик, выполненный под диаметр форкамеры ствола. В хвостовике выполнена камера сгорания, заполненная метательным пороховым зарядом. В торце хвостовика выполнены выходные отверстия и установлен капсюль-воспламенитель. Между ведущим пояском и хвостовиком расположен радиальный двухскатный кулачок, угол наклона скатов которого к оси патрона составляет 30-45°. В основании ската со стороны ведущего пояска выполнена кольцевая проточка. Использование изобретения обеспечивает повышение функциональной надежности гранатомета. 2 з.п. ф-лы, 5 ил.
Предлагаемое изобретение относится к боеприпасам унитарного заряжания для подствольных гранатометов.
Уровень данной области техники характеризует артиллерийский патрон по патенту RU 2087837, F 42 В 5/02, 1997 г., который содержит боевую часть в виде осколочной гранаты с ведущим пояском, камеру сгорания, в которой помещен метательный пороховой заряд, закрытый перфорированной горизонтальной диафрагмой с мембраной, уплотнительную прокладку и капсюль-воспламенитель.
Недостатком этого патрона является ограниченная балластной массой двухкамерной гильзы эффективность основного действия боевой части при заданной общей массе патрона и высокая трудоемкость технологии сборки.
Кроме того, нестабильность обжима гильзы в канавку корпуса гранаты определяет разные усилия распатронирования при выстреле по причине различных толщины дульца и физико-механических характеристик ее материала, что приводит к разбросу начальной скорости метания боевой части, определяя неудовлетворительную функциональную надежность и ухудшая кучность стрельбы.
Отмеченные недостатки устранены в артиллерийском патроне для гранатомета по патенту EU 2125226, F 42 В 5/02, 1999 г., который по большинству совпадающих признаков и общности “безгильзовой схемы” конструкции выбран в качестве наиболее близкого аналога предложенному.
Известный патрон содержит боевую часть с ведущим пояском, который имеет выступы для взаимодействия с нарезами ствола, и хвостовик, выполненный под диаметр форкамеры ствола с гарантированным минимальным зазором, несущий камеру сгорания, в которой помещен метательный пороховой заряд, сообщающийся с капсюлем-воспламенителем, установленным в торцевой перфорированной диафрагме.
Между ведущим пояском и хвостовиком на корпусе боевой части размещен радиальный двухскатный кулачок, предназначенный для фиксирования патрона в стволе оружия.
Ведущий поясок спрофилирован с параллельными оси боевой части готовыми выступами, ширина которых соизмерима с нарезами ствола, что обеспечивает дульное заряжание гранатомета, в котором исключается затвор, и повышение скорострельности ближнего боя.
Готовый профиль ведущего пояска обеспечивает самоустановку скольжением по боевым граням наклонных нарезов ствола ребер выступов пояска при осевом дульном заряжании и центрирование патрона в стволе гранатомета. Ребра каждого прямоугольного выступа ведущего пояска сминаются пластической деформацией на боевой грани нарезов, чем обеспечивается контакт для движения боевой части по каналу ствола.
При этом увеличивается живучесть ствола за счет снижения трения винтовой пары при выстреле: выступы ведущего пояска – нарезы ствола, так как исключены усилия врезания.
В результате указанных технических особенностей боевая часть имеет меньше возмущений при вылете из ствола, что снижает рассеивание, улучшая характеристики кучности боя.
Хвостовик, сопрягаемый с профилем форкамеры ствола оружия, выполняет функции поршня с минимальным кольцевым зазором в стволе (цилиндре), куда струйно по оси выбрасываются пороховые газы из камеры сгорания метательного заряда, что обеспечивает необходимый импульс, развиваемый на длине хвостовика. Это упрощает конструкцию патрона, в котором перераспределена масса составляющих элементов в сторону увеличения боевой части, повышая его эффективность, и облегчает сборку.
Однако недостатком известного патрона является неудовлетворительная функциональная надежность из-за того, что профиль радиального кулачка запоясковой части не оптимизирован для решения антагонистического противоречия между необходимостью свободного досыла патрона в форкамере и удержания патрона для создания усилия форсирования при выстреле, чтобы обеспечить стабильность работы метательного заряда.
Фиксатор положения патрона в стволе оружия не должен допускать при динамическом нагружении в служебном обращении с оружием несанкционированных смещений патрона от торца форкамеры и, следовательно, капсюля-воспламенителя от бойка, а с другой стороны, заклинивания гранаты при выстреле, на преодоление которого теряется часть метательного импульса.
Задачей, на решение которой направлено настоящее изобретение, является устранение отмеченного противоречия для повышения функциональной надежности боеприпаса.
Требуемый технический результат достигается тем, что в известном артиллерийском патроне для гранатомета, содержащем боевую часть с ведущим пояском, имеющим выступы для взаимодействия с нарезами ствола, и хвостовик, выполненный под диаметр форкамеры ствола с гарантированным минимальным зазором, несущий камеру сгорания, в которой помещен метательный пороховой заряд, сообщающийся с капсюлем-воспламенителем, установленным в торцевой перфорированной диафрагме, а также с расположенным между ними радиальным двухскатным кулачком, согласно изобретению угол наклона скатов радиального кулачка к оси патрона составляет 45-30 градусов, при этом скат со стороны ведущего пояска выполнен ступенчатым, как минимум, имея в основании кольцевую проточку, в частности, скат наклонен к оси патрона последовательно под углом 45 и 30 градусов, или выполнен сферическим.
Отличительные признаки обеспечили при дульном заряжании надежное фиксирование патрона в стволе, на торце форкамеры, а также необходимое его удержание при выстреле для достижения усилия форсирования.
Угол наклона скатов радиального кулачка к оси патрона в диапазоне 45-30 градусов позволяет решить вариативную задачу с многими техническими и технологическими переменными для их оптимального соотношения, в результате чего обеспечивается усилие ручного досыла патрона при дульном заряжании не выше 5 кгс и надежная фиксация патрона на торце форкамеры в служебном обращении, а также при выстреле до достижения усилия форсирования.
Радиальный кулачок предложенного профиля выполняет две противные и разнесенные во времени функции: во-первых, базирует хвостовик патрона в форкамере ствола, позиционируя капсюль-воспламенитель относительно бойка оружия, а во-вторых, служит копиром для перемещений поперечного фиксатора патрона, смонтированного в стволе, геометрически замыкающего кулачок после дульного заряжания патрона, неподвижно удерживая его в служебном обращении оружия, произвольно ориентируемого в пространстве, и не препятствует движению гранаты при выстреле.
Выполнение ската радиального кулачка со стороны ведущего пояска ступенчатым при наличии в основании кольцевой проточки для свободного расположения торца фиксатора позволяет совместить вышеописанное двуединство функций. В частности, на более крутом участке (угол наклона – 45°) осуществляется геометрическое замыкание подпружиненного фиксатора ствола с радиальным кулачком патрона в служебном обращении и при выстреле, а на более пологом участке (угол наклона – 30°) минимизированы потери метательного импульса на преодоление сопротивления трения скольжения кинематической пары запорного механизма.
Выполнение радиального кулачка патрона сферическим обеспечивает более плавный переход вышеописанных режимов функционирования патрона в статике и при выстреле.
Следовательно, каждый признак необходим, а их совокупность является достаточной для достижения новизны качества, неприсущей признакам в разобщенности, то есть получен новый сверхэффект как эффект суммы признаков при решении поставленной в изобретении задачи.
Сущность изобретения поясняется чертежами, где изображено:
на фиг.1 – предлагаемый патрон;
на фиг.2 – вид А на фиг.1;
на фиг.3 – то же, по п.2 формулы,
на фиг.4 – то же, по п.3 формулы;
на фиг.5 – схема расположения патрона в стволе.
Предложенный артиллерийский патрон предназначен для использования в ручных гранатометах при дульном заряжании подствольников.
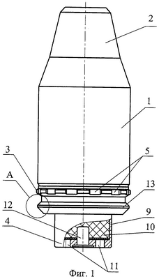
Осколочная граната 1 (фиг.1) с головным взрывателем 2 оснащена ведущим пояском 3 и хвостовиком 4. Ведущий поясок 3 выполнен профилированным с готовыми прямоугольными выступами 5 для установки их ребрами на боевых гранях нарезов 6 ствола 7 (фиг.5). Ширина выступов 5 выполнена сопоставимой с шириной наклонных нарезов 6 ствола 7 с гарантированным зазором, так как обтюрация пороховых газов осуществляется хвостовиком 4 в форкамере 8 ствола 7.
В хвостовике 4, конфигурация которого соответствует профилю форкамеры 8 ствола 7 оружия, выполнена камера 9 сгорания (фиг.1), заполненная метательным пороховым зарядом 10. В торце хвостовика 4 выполнены выходные отверстия 11 и установлен центральный капсюль-воспламенитель 12.
Между ведущим пояском 3 и хвостовиком 4 выполнен радиальный двухскатный кулачок 13, донный торец которого предназначен для упора в торец форкамеры 8 ствола 7 (фиг.5).
Оба ската радиального кулачка 13 наклонены к оси патрона под углом в диапазоне от 45 до 30° (фиг.2).
Скат радиального кулачка 13 со стороны ведущего пояска 3 (внутренний) может быть выполнен с углом наклона к оси патрона, последовательно от вершины, 30° и затем 45° (фиг.3), или сферическим ступенчатым (фиг.4), при этом заканчивается внутренний скат проточкой 14 для размещения в ней торца фиксатора 15 положения патрона в стволе 7, когда капсюль-воспламенитель 12 устанавливается на безопасном расстоянии от бойка 17 оружия (фиг.5). То есть пятно контакта фиксатора 15 при заклинивании на внутреннем скате ступенчатого кулачка 13 заведомо выше торца фиксатора 15, который по определению должен быть свободен.
Кольцевая проточка 14 является обязательной принадлежностью ступенчатого профиля внутреннего ската кулачка 13, определяющей надежность функционирования и эксплуатации гранатомета.
Патрон вручную устанавливают через ствол 7 оружия хвостовиком 4 вперед, базируя выступами 5 ведущего пояска 3 в наклонных нарезах 6 ствола 7.
В стволе 7 подвижно поперек смонтирован нагруженный пружиной 16 фиксатор 15 (шток) для взаимодействия с радиальным кулачком 13 патрона.
При заряжании патрона донный скат кулачка 13 поднимает шток 15, сжимая пружину 16, под действием которой шток 15 опускается по внутреннему скату кулачка 13, подаваемого до упора в торец форкамеры 8. Шток 15 при этом геометрически замыкает кулачок 13, фиксируя рабочее положение патрона в стволе 7, а торец штока 15 свободно расположен в кольцевой проточке 14 гранаты.
При выстреле боек 17 механически инициирует капсюль-воспламенитель 12, импульсом которого воспламеняется порох метательного заряда 10. Газообразные продукты горения заряда 10 через торцевые отверстия 11 камеры 9 сгорания выбрасываются в свободный объем форкамеры 8 ствола 7, где накапливаются и воздействуют на хвостовик 4, который выполняет функции ползуна пневмоцилиндра (форкамеры 8).
Патрон остается неподвижным, пока удерживается штоком 15, заклиненным на внутреннем скате кулачка 13, – происходит форсирование давления пороховых газов.
Когда сила воздействия на хвостовик 4 возрастающего давления пороховых газов в форкамере 8 превышает силу трения покоя кинематической пары кулачок 13 – шток 15, последний, сжимая пружину 16, радиально перемещается вверх по фиг.5 и больше не удерживает патрон.
Под действием метательного импульса давления пороховых газов происходит поступательное движение патрона с вращением по наклонным нарезам 6 канала ствола 7, подобно ходовому винту с неподвижной гайкой.
Необходимые разгон и закрутка гранаты происходят на длине хвостовика 4.
Проведенный сопоставительный анализ предложенного технического решения с выявленными аналогами уровня техники, из которого изобретение не следует явным образом для специалиста по боеприпасам, показал, что оно не известно, а с учетом возможности промышленного серийного изготовления этих артиллерийских патронов для гранатомета можно сделать вывод о соответствии критериям патентоспособности.
Формула изобретения
1. Артиллерийский патрон для гранатомета, содержащий боевую часть с ведущим пояском, имеющим выступы для взаимодействия с нарезами ствола, и выполненный под диаметр форкамеры ствола хвостовик, в котором выполнена камера сгорания, заполненная метательным пороховым зарядом, а в торце которого выполнены выходные отверстия и установлен капсюль-воспламенитель, при этом между ведущим пояском и хвостовиком расположен радиальный двухскатный кулачок, отличающийся тем, что угол наклона скатов радиального кулачка к оси патрона составляет 30-45°, при этом в основании ската со стороны ведущего пояска выполнена кольцевая проточка.
2. Патрон по п.1, отличающийся тем, что скат радиального кулачка со стороны ведущего пояска последовательно наклонен к оси патрона под углами 45 и 30°.
3. Патрон по п.1, отличающийся тем, что скат радиального кулачка со стороны ведущего пояска выполнен сферическим.
РИСУНКИ
|