|
|
(21), (22) Заявка: 2005108886/06, 28.03.2005
(24) Дата начала отсчета срока действия патента:
28.03.2005
(46) Опубликовано: 20.08.2006
(56) Список документов, цитированных в отчете о поиске:
FR 2707376 А, 13.01.1996. DE 2328596 А, 02.01.1975. US 1369411 А, 22.01.1921. US 2699249 А, 11.01.1955. RU 2238492 С1, 20.10.2004. SU 917827 А, 07.04.1982. RU 2084787 C1, 20.07.1997.
Адрес для переписки:
199106, Санкт-Петербург, В.О., 21 линия, 2, СПГГИ(ТУ), патентный отдел
|
(72) Автор(ы):
Тарасов Юрий Дмитриевич (RU)
(73) Патентообладатель(и):
Государственное образовательное учреждение высшего профессионального образования “Санкт-Петербургский государственный горный институт им. Г.В. Плеханова (технический университет)” (RU)
|
(54) ЛЕНТОЧНАЯ СУШИЛКА ДЛЯ СЫПУЧЕГО ГРУЗА
(57) Реферат:
Изобретение предназначено для сушки сыпучих грузов и может быть использовано в сушильной технике. Сушилка содержит сушильную камеру, калорифер, расположенные друг под другом ветви гибкой ленты с возможностью огибания ими оборотных барабанов, опирания на ролики. На каждой ветви ленты в зоне ее набегания на оборотный барабан установлены перегрузочные устройства, выполненные в виде двухсторонних плужковых сбрасывателей и двух наклонных желобов, расположенных симметрично продольной оси ленты и с возможностью перегрузки на них сыпучего груза с двухсторонних плужковых сбрасывателей и его передачи на нижерасположенную ветвь ленты. Ветви ленты образуют единый контур из последовательно расположенных петлевых участков. Под оборотными барабанами с возможностью перегрузки с них частиц сыпучего груза, прошедших под двусторонними плужковыми сбрасывателями, на горизонтальных осях и с возможностью поворота установлены лопастные накопители, выполненные в виде уравновешенных относительно оси и крестообразно закрепленных на осях и чередующихся между собой лопастей различной длины. В нижней части сушильной камеры со стороны, противоположной приемному приспособлению для высушенного сыпучего груза, установлен выдвижной контейнер с возможностью перегрузки в него сыпучего груза из накопителей. Изобретение обеспечивает уменьшение числа ветвей ленты, объема сушильной камеры и расхода нагретого воздуха, а также исключение просыпи сыпучего груза. 3 ил.
Изобретение относится к устройствам для сушки сыпучих грузов, а именно к ленточным сушилкам.
Известна ленточная сушилка для сыпучего груза (прототип), содержащая сушильную камеру, загрузочное и разгрузочное приспособления, калорифер, расположенные друг под другом бесконечно замкнутые в вертикальной плоскости на оборотных и приводных барабанах и опирающиеся на ролики гибкие ленты с образованием грузонесущих и холостых ветвей и с возможностью размещения на грузонесущих ветвях сыпучего груза и его перегрузки с одной грузонесущей ветви ленты на другую, наклонные направляющие желоба, закрепленные на торцевых стенках сушильной камеры (Большая советская энциклопедия. М.: Советская энциклопедия, 1976, с.313, рис.4).
Однако недостатками известной ленточной сушилки для сыпучего груза являются необходимость устройства значительного количества ленточных контуров для обеспечения заданной влажности высушенного сыпучего груза и соответственно увеличенный объем сушильной камеры.
Техническим результатом изобретения является сокращение числа ветвей ленточных контуров и уменьшение объема сушильной камеры.
Технический результат достигается тем, что в ленточной сушилке для сыпучего груза, содержащей сушильную камеру, загрузочное и разгрузочное приспособления, калорифер, расположенные друг под другом ветви гибкой ленты с возможностью огибания ими оборотных барабанов, опирания на ролики, размещения на ленте сыпучего груза и его последовательной перегрузки с одной ветви ленты на другую, приемное приспособление для высушенного сыпучего груза, согласно изобретению, на каждой ветви ленты в зоне ее набегания на оборотный барабан установлены перегрузочные устройства, выполненные в виде двухсторонних плужковых сбрасывателей и двух наклонных желобов, расположенных симметрично продольной оси ленты и с возможностью перегрузки на них сыпучего груза с двухсторонних плужковых сбрасывателей и его передачи на нижерасположенную ветвь ленты, а ветви ленты образуют единый контур из последовательно расположенных петлевых участков, при этом под оборотными барабанами с возможностью перегрузки с них частиц сыпучего груза, прошедших под двусторонними плужковыми сбрасывателями, на горизонтальных осях и с возможностью поворота установлены лопастные накопители, выполненные в виде уравновешенных относительно оси и крестообразно закрепленных на осях и чередующихся между собой лопастей различной длины, а в нижней части сушильной камеры со стороны, противоположной приемному приспособлению для высушенного сыпучего груза, установлен выдвижной контейнер с возможностью перегрузки в него сыпучего груза из накопителей.
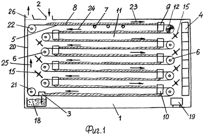
Ленточная сушилка для сыпучего груза представлена на фиг.1 – вид сбоку, на фиг.2 – узел установки накопителя перед его разгрузкой, на фиг.3 – то же, после его разгрузки.
Ленточная сушилка для сыпучего груза содержит сушильную камеру 1, загрузочное 2 и разгрузочное 3 приспособления, калорифер 4, расположенные друг под другом ветви 5 гибкой ленты с возможностью огибания ими оборотных барабанов 6 и опирания на ролики 7. На каждой ветви 5 ленты в зоне ее набегания на оборотный барабан 6 установлены перегрузочные устройства с возможностью передачи сыпучего груза 8 с одной ветви 5 на нижерасположенную. Перегрузочные устройства выполнены в виде двухсторонних плужковых сбрасывателей 9 и наклонных желобов 10 с возможностью перегрузки на них сыпучего груза 8 с двухсторонних плужковых сбрасывателей 9 и его передачи на нижерасположенную ветвь 5 ленты. Ветви 5 ленты образуют единый контур из последовательно расположенных петлевых участков 11. Один или несколько оборотных барабанов 6 выполнены в виде приводного барабана 12.
Под оборотными барабанами 6 с возможностью перегрузки с них частиц 13 сыпучего груза 8, прошедших под двухсторонними плужковыми сбрасывателями 9, на горизонтальных осях 14 и с возможностью поворота установлены лопастные накопители 15. Лопастные накопители 15 (фиг.1) выполнены (фиг.2 и 3) в виде уравновешенных относительно оси 14 и крестообразно закрепленных на оси 14 и чередующихся между собой лопастей 16 и 17 различной длины. В нижней части сушильной камеры 1 со стороны, противоположной приемному приспособлению 18 для высушенного сыпучего груза 8, установлен выдвижной контейнер 19 с возможностью перегрузки в него сыпучего груза из накопителей 15. Петлевые контуры 11 ленты 5 замкнуты ее вертикальным участком 20, расположенным между оборотными барабанами 21 и 22. 23 и 24 – направления движения ветвей 5 ленты, формирующих петлевые участки 11, 25 – направление движения вертикального участка 20 ленты, 26 – патрубок для отвода отработанного воздуха.
Ленточная сушилка для сыпучего груза действует следующим образом. Подаваемый через загрузочное приспособление 2 сыпучий груз 8 равномерным слоем размещается на самой верхней ветви ленты 5 и транспортируется ею в направлении 23. В конце этой ветви в зоне размещения оборотного барабана 6 сыпучий груз 8 набегает на двухсторонний плужковый сбрасыватель 9, который перегружает его на наклонные желоба 10. С наклонных желобов 10 сыпучий груз 8 подается на нижерасположенную ветвь 5 ленты, которая перемещает сыпучий груз 8 в противоположном направлении 24 до следующего двухстороннего плужкового сбрасывателя 9, с помощью которого сыпучий груз 8 снова перегружается по наклонным желобам 10 на нижерасположенную ветвь ленты, и т.д. до самой нижней ветви 5 ленты. При перемещении по всем ветвям 5 ленты сыпучий груз 8 обдувается нагретым воздухом из калорифера 4 и высушивается до требуемой влажности.
С последней ветви 5 ленты высушенный сыпучий груз 8 с помощью разгрузочного приспособления 3, выполненного, например, в виде двухстороннего плужкового сбрасывателя (9), подается в приемное приспособление 18 для высушенного сыпучего груза.
При перегрузке сыпучего груза 8 с одной ветви 5 ленты на другую отдельные частицы 13 сыпучего груза 8, незначительные по объему, проходят под двухсторонними плужковыми сбрасывателями 9 и разгружаются через оборотные барабаны 6 (фиг.2 и 3), попадая на накопители 15. Постепенно частицы 13 накапливаются между лопастями 16 и 17 накопителя 15 (фиг.2), одновременно подсушиваясь потоками нагретого воздуха из калорифера 4. За счет неодинаковой длины лопастей 16 и 17 центр массы скопившегося материала между лопастями смещается в сторону лопасти 17 (большей длины), поэтому равновесие нарушается и ось 14 поворачивается против часовой стрелки, а скопившийся и подсушенный материал соскальзывает с лопасти 17 (фиг.3) и попадает или в контейнер 19 или, через разгрузочное приспособление 3, непосредственно в приемное приспособление 18 для высушенного груза. В него же попадают и частицы, прошедшие под оборотным барабаном 21. После последующего скапливания материала на накопителе 15 его ось 14 поворачивается по часовой стрелке из-за смены положения лопастей 16 и 17 и т.д. По мере наполнения контейнера 19 сыпучим грузом, разгружающимся из накопителей 15, он выдвигается из камеры 1 и тем или иным способом передвигается для разгрузки в приемное приспособление 18 для высушенного груза. Отработанный воздух из камеры 1 выводится через патрубок 26.
Отличительные признаки изобретения позволяют уменьшить число ветвей ленты, объем сушильной камеры и расход нагретого воздуха, исключают просыпь сыпучего груза и его потери, а также засорение сушильной камеры.
Формула изобретения
Ленточная сушилка для сыпучего груза, содержащая сушильную камеру, загрузочное и разгрузочное приспособления, калорифер, расположенные друг под другом ветви гибкой ленты с возможностью огибания ими оборотных барабанов, опирания на ролики, размещения на ленте сыпучего груза и его последовательной перегрузки с одной ветви ленты на другую, приемное приспособление для высушенного сыпучего груза, отличающаяся тем, что на каждой ветви ленты в зоне ее набегания на оборотный барабан установлены перегрузочные устройства, выполненные в виде двухсторонних плужковых сбрасывателей и двух наклонных желобов, расположенных симметрично продольной оси ленты и с возможностью перегрузки на них сыпучего груза с двухсторонних плужковых сбрасывателей и его передачи на нижерасположенную ветвь ленты, а ветви ленты образуют единый контур из последовательно расположенных петлевых участков, при этом под оборотными барабанами с возможностью перегрузки с них частиц сыпучего груза, прошедших под двусторонними плужковыми сбрасывателями, на горизонтальных осях и с возможностью поворота установлены лопастные накопители, выполненные в виде уравновешенных относительно оси и крестообразно закрепленных на осях и чередующихся между собой лопастей различной длины, а в нижней части сушильной камеры со стороны, противоположной приемному приспособлению для высушенного сыпучего груза, установлен выдвижной контейнер с возможностью перегрузки в него сыпучего груза из накопителей.
РИСУНКИ
MM4A – Досрочное прекращение действия патента СССР или патента Российской Федерации на изобретение из-за неуплаты в установленный срок пошлины за поддержание патента в силе
Дата прекращения действия патента: 29.03.2007
Извещение опубликовано: 27.10.2008 БИ: 30/2008
|
|