|
|
(21), (22) Заявка: 2005100055/06, 11.01.2005
(24) Дата начала отсчета срока действия патента:
11.01.2005
(46) Опубликовано: 20.08.2006
(56) Список документов, цитированных в отчете о поиске:
SU 1386804 A1, 07.04.1988. SU 1663325 А1, 15.07.1991. SU 1657922 А1, 23.06.1991. SU 1118843 А, 15.10.1984. DE 3022588, А, 24.12.1981.
Адрес для переписки:
163002, г.Архангельск, наб. Северной Двины, 17, Архангельский государственный технический университет, патентоведу, №07
|
(72) Автор(ы):
Сабуров Эдуард Николаевич (RU)
(73) Патентообладатель(и):
Государственное образовательное учреждение высшего профессионального образования Архангельский государственный технический университет Федерального агентства по образованию (Рособразование) (АГТУ) (RU)
|
(54) ЦИКЛОННЫЙ ТЕПЛООБМЕННЫЙ ЭЛЕМЕНТ РЕКУПЕРАТОРА
(57) Реферат:
Изобретение относится к теплообменной технике и может найти применение при нагреве воздуха в промышленной теплоэнергетике. Сущность изобретения заключается в том, что циклонный теплообменный элемент рекуператора содержит кольцевой и центральный каналы, образованные внутренней и наружной, заглушенной с одного конца днищем, трубами, подключенными к патрубкам подвода и отвода воздуха, размещенным в зоне противоположных относительно днища торцов труб, причем патрубок подвода воздуха размещен на наружной трубе и установлен тангенциально. Внутренняя труба выполнена в виде усеченного конуса с увеличивающимся диаметром к днищу наружной трубы. Такая конструкция позволяет значительно повысить термоустойчивость и тепловую эффективность циклонного теплообменного элемента рекуператора. 2 ил.
Изобретение относится к теплообменной технике и может найти применение в промышленной теплоэнергетике.
Известен теплообменный элемент рекуперативного воздухоподогревателя, выполненный в виде внутренней и наружной труб, последняя из которых заглушена с торца днищем, расположенным от выходного торца внутренней трубы с заданным зазором. (А.С. 941793, МПК 3 F 23 L 15/04, 1982). Недостатком этого решения является низкий уровень интенсивности теплообмена.
Известен теплообменный элемент рекуператора, содержащий кольцевой и центральный каналы, образованные внутренней и наружной, заглушенной с одного торца днищем, трубами, подключенными к патрубкам подвода и отвода воздуха, размещенным в зоне противоположных относительно днища торцов труб, причем патрубок подвода воздуха размещен на наружной трубе и установлен тангенциально (А.С. 1386804, МПК 4 F 23 L 15/04, 1987).
Данное техническое решение является наиболее близким к заявляемому и принято за прототип.
Недостатком прототипа является снижение интенсивности теплоотдачи на внутренней поверхности наружной трубы и наружной поверхности внутренней трубы по мере продвижения потока в кольцевом канале, где нагреваемый поток воздуха из-за трения о стенки кольцевого канала частично постепенно раскручивается и скорость его уменьшается, при этом повышается температура наружной трубы, возникают дополнительные продольные температурные напряжения.
Задачей, на решение которой направлено изобретение, является повышение равномерности распределения интенсивности теплоотдачи на внутренней поверхности наружной трубы и на внешней поверхности внутренней трубы теплообменного элемента рекуператора, а также повышение его тепловой эффективности.
Это достигается тем, что в циклонном теплообменном элементе рекуператора, содержащем кольцевой и центральный каналы, образованные внутренней и наружной, заглушенной с одного конца днищем, трубами, подключенными к патрубкам подвода и отвода воздуха, размещенным в зоне противоположных относительно днища торцов труб, патрубок подвода воздуха установлен тангенциально на наружной трубе, внутренняя труба выполнена в виде усеченного конуса с увеличивающимся диаметром к днищу наружной трубы.
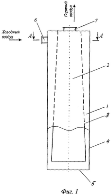
Изобретение иллюстрируется чертежами, где на фиг.1 изображен циклонный теплообменный элемент рекуператора, на фиг.2 – поперечный разрез А-А на фиг.1.
Циклонный теплообменный элемент рекуператора содержит кольцевой 1 и центральный 2 каналы, образованные внутренней круглой усеченной конической 3 и наружной круглой цилиндрической 4 трубами, днище 5 наружной трубы, входной 6, установленный тангенциально на наружной трубе, и выходной 7 патрубки.
Циклонный теплообменный элемент рекуператора работает следующим образом. Холодный воздух через патрубок 6 вводится в кольцевой канал 1 между внутренней 3 и наружной 4 трубами и закручивается. Движущийся по спиральной траектории воздух нагревается от внутренней поверхности наружной трубы 4, доходит до днища 5 и выводится по внутренней трубе 3 и патрубку 7 наружу. Из-за увеличения диаметра внутренней трубы и снижения проходного сечения кольцевого канала продольная составляющая полной скорости нагреваемого воздуха увеличивается и, несмотря на частичную постепенную раскрутку потока, интенсивность теплоотдачи на внутренней поверхности наружной трубы и внешней поверхности внутренней трубы повышается. Это приводит к выравниванию по длине кольцевого канала интенсивности теплоотдачи, температуры трубы и устранению продольных температурных напряжений, а следовательно, повышению термоустойчивости и тепловой эффективности циклонного теплообменного элемента рекуператора.
Формула изобретения
Циклонный теплообменный элемент рекуператора, содержащий кольцевой и центральный каналы, образованные внутренней и наружной, заглушенной с одного конца днищем, трубами, подключенными к патрубкам подвода и отвода воздуха, размещенным в зоне противоположных относительно днища торцов труб, причем патрубок подвода воздуха размещен на наружной трубе и установлен тангенциально, отличающийся тем, что внутренняя труба выполнена в виде усеченного конуса с увеличивающимся диаметром к днищу наружной трубы.
РИСУНКИ
MM4A – Досрочное прекращение действия патента СССР или патента Российской Федерации на изобретение из-за неуплаты в установленный срок пошлины за поддержание патента в силе
Дата прекращения действия патента: 12.01.2007
Извещение опубликовано: 20.06.2008 БИ: 17/2008
|
|