|
|
(21), (22) Заявка: 2005105440/06, 28.02.2005
(24) Дата начала отсчета срока действия патента:
28.02.2005
(46) Опубликовано: 20.08.2006
(56) Список документов, цитированных в отчете о поиске:
RU 2191318 С2, 20.10.2002. SU 1788384 A1, 15.01.1993. SU 1167401 А1, 15.07.1983. SU 335495 А, 06.05.1972. SU 289253 А, 10.11.1971.
Адрес для переписки:
400012, г.Волгоград, ГСП, ул. Трехгорная, 21, ГНУ ПНИИЭМТ, В.Г. Абезину
|
(72) Автор(ы):
Абезин Валентин Германович (RU), Карпунин Василий Валентинович (RU), Карпунин Андрей Васильевич (RU), Карпунин Василий Васильевич (RU), Сердюков Дмитрий Анатольевич (RU)
(73) Патентообладатель(и):
Государственное научное учреждение Поволжский научно-исследовательский институт эколого-мелиоративных технологий Российской академии сельскохозяйственных наук (RU)
|
(54) УСТАНОВКА ДЛЯ НАРУЖНОЙ АНТИКОРРОЗИОННОЙ ИЗОЛЯЦИИ ТРУБ
(57) Реферат:
Изобретение относится к трубопроводному транспорту и используется для нанесения наружной антикоррозионной битумной изоляции на трубы. Установка содержит устройство для вращения трубы, ванну с материалом покрытия, катушку с рулонным армирующим материалом, дозирующе-растирочное устройство, состоящее из подвижного регулируемого козырька и регулируемой заслонки. Регулируемый козырек имеет закругленный носок, а конец регулируемой заслонки расположен за изгибом носка. На днище ванны закреплен растирочный фартук, охватывающий изолируемую трубу по направлению вращения на 1/4-1/3 ее длины окружности. Изолирующий узел установлен на раме с возможностью возвратно-поступательного перемещения и регулировки по высоте, а катушка с рулонным армирующим материалом установлена за дозирующе-растирочным устройством и имеет ширину равную его ширине. Катушка с рулонным армирующим материалом имеет регулируемый тормоз, установленный на стойке рамы со стороны боковины катушки, а рама имеет смотровую площадку для оператора. Повышает качество покрытия. 4 з.п. ф-лы, 2 ил.
Изобретение относится к защите стальных труб от коррозии, в частности к установкам для нанесения антикоррозионного покрытия в виде битумно-полимерного покрытия, армированного стеклохолстом.
Несмотря на наличие дозирующего лотка с калибрующим катком установка не обеспечивает надежного и равномерного битумно-полимерного покрытия, армированного стеклопластиком. Для работы установки требуется строго заданный температурный режим наносимого покрытия и высокая эксплуатационная надежность насоса для подачи мастики.
Несмотря на наличие поворотного вала, установленного в битумной ванне, и направляющих для подачи мастики на поверхность трубы, слой мастики на поверхность покрываемой трубы наносится неравномерной толщины. Это связано с тем, что окружные скорости поворотного вала и трубы не имеют строгой синхронизации.
Кроме описанных установок, известно устройство для нанесения защитного покрытия на трубопровод, состоящее из корпуса, на котором закреплены шпуля и направляющий ролик для изоляционного материала, в котором, с целью повышения качества покрытия путем предотвращения образования под покрытием воздушных пузырей, корпус снабжен поворотной рамой с закрепленным на ней подпружиненным прикатывающим роликом, имеющим бочкообразную форму и длину, равную ширине изоляционного материала, а направляющий ролик закреплен под прикатывающим роликом, при этом поворотная рама установлена на корпусе с возможностью возвратно-поступательного перемещения относительно трубопровода, а оси направляющего и прикатывающего роликов параллельны друг другу (SU, авторское свидетельство № 1167401. М. кл4
Представленное устройство исключает пустоты под наматываемыми полосами изоляционного материала. Однако выдавленные излишки мастики с одного края полосы приводят к разной толщине покрытия, а с другой – наплывы и подтеки.
Устройство для нанесения антикоррозионного покрытия на поверхность трубы, включающее снабженную смотровой площадкой и ограждением эстакаду, на которой смонтированы параллельные брусья, опорные ролики, один из которых снабжен приводом в виде электродвигателя, червячного редуктора и втулочно-роликовой цепи со звездочками, ванну с разогретой битумно-полимерной мастикой, рельсы для поступательного перемещения тельферной тележки и шпули для подачи ленты из рулона армирующего стеклохолста (SU, авторское свидетельство № 49 1788384. М. кл5
К недостаткам описанного устройства относятся неравномерность толщины наносимой мастики. Это вызвано тем, что в мастику окунается лента, которая в дальнейшем совершает сложное движение к внешней поверхности трубы.
Наиболее близким аналогом к заявленному объекту по совокупности существующих признаков относится установка для изоляции наружной поверхности труб, включающая устройство для вращения и продольного перемещения труб, ванну с материалом покрытия, катушку с рулонным армирующим материалом, при этом ванна снабжена дозирующе-растирочным устройством, состоящим из подвижного регулируемого днища и растирочной полосы, образующих в месте соединения носок, смещенный от вертикальной диаметральной плоскости по ходу вращения трубы и касающийся ее поверхности, а изолирующий узел установлен на стойке и имеет регулировку по высоте, при этом катушка с рулонным армирующим материалом установлена над дозирующе-растирочным устройством с минимальным технологическим зазором и имеет регулируемый тормоз, опорные ролики с кронштейнами имеют регулировку относительно оси, привод поступательного движения опорной тележки реверсивный, а ванна имеет уклон в сторону дозирующе-растирочного устройства и снабжена электроподогревом. (RU, патент № 219318, МПК7 F 16 L 58/12 установка для изоляции наружной поверхности труб / В.Г.Абезин, А.В.Карпунин. Заявлено 29.08.2000. опубликовано 20.10.2002. Бюл. № 29).
К недостаткам установки относится наличие носка дозирочно-растирочного устройства, который забивается при работе, что приводит к прекращению подачи материала покрытия, кроме того, отсутствует устройство для равномерного распределения материала покрытия после дозирочно-растирочного устройства.
Задача, на решение которой направлено заявленное изобретение – повышение эксплутационной надежности и качества наносимого покрытия. Технический результат – улучшение равномерности наносимого покрытия, повышение производительности, снижение трудоемкости работ и расхода материала покрытия.
Указанный технический результат достигается тем, что в известной установке для наружной антикоррозионной изоляции труб, включающей устройство для вращения труб, ванну с материалом покрытия, катушку с рулонным армирующим материалом, дозирующе-растирочное устройство, состоящее из подвижного регулируемого козырька и регулируемой заслонки имеет у регулируемого козырька закругленный носок, а конец регулируемой заслонки расположен за изгибом носка, при этом к днищу ванны закреплен растирочный фартук, охватывающий изолируемую трубу по направлению вращения на 1/4-1/3 ее длины окружности, сам изолирующий узел установлен на раме с возможностью регулировки по высоте и возвратно-поступательного перемещения, а катушка с рулонным армирующим материалом установлена за дозирующе-растирочным устройством и имеет ширину, равную ширине дозирующее-растирочного устройства, катушка с рулонным армирующим материалом имеет регулируемый тормоз, который установлен на стойке рамы со стороны боковины катушки, а рама имеет смотровую площадку для оператора.
Изобретение поясняется чертежами.
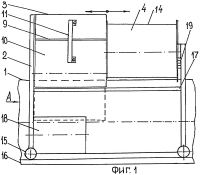
На фиг.1 изображена установка для наружной антикоррозионной изоляции труб, вид сбоку.
На фиг.2 – то же, вид А на фиг.1.
Установка монтируется на стационарном участке для наружной антикоррозионной изоляции труб 1 и включает раму 2, на которой монтируется емкость 3 для антикоррозионного покрытия и катушка 4 с рулонным материалом. Изолируемая труба 1 установлена на опорные ролики 5. На дне емкости 3 предусмотрены нагревательные элементы 6. К нижней части дна закреплен растирочный фартук 7 с возможностью вращения на оси 8. В боковине емкости 3 предусмотрена ось 9 для крепления регулировочной заслонки 10 с помощью сектора 11.
Нижняя часть дна имеет подвижный регулируемый козырек 12, на конце которого предусмотрено закругление 13. Для получения усиленной и весьма усиленной изоляции на катушке 4 намотан рулонный армировочный материал 14.
Рама 2 установки опирается на колеса 15, которые перемещаются по рельсам 16. На уровне дозирующего устройства предусмотрена эстакада 17 для оператора. Возвратно-поступательное перемещение установки обеспечивается мотор-редуктором 18.
Необходимое натяжение рулонного армирующего материала 14 осуществляется с помощью тормозного устройства 19. Вращательное движение изолируемой трубе передается от приводных роликов 20. Регулировка дозирующего устройства по высоте производится реечным механизмом 21. Установка для наружной антикоррозионной изоляции труб работает следующим образом. Труба 1 с помощью грузоподъемного устройства укладывается на опорные 5 и приводные 20 ролики.
Оператор перемещает установку на колесах 15 по рельсам с помощью мотор-редуктора 18 к крайнему правому концу трубы и с помощью реечного механизма опускает дозирующее устройство до касания козырька 12 поверхности трубы. В зависимости от диаметра изолируемой трубы регулирует угол установки козырька 12 к вертикали с помощью секторного механизма (на чертежах не показан). После регулировки установки козырька 12 производится установка регулировочной заслонки 10 с помощью сектора 11 на заданную норму дозирования, которая зависит от вязкости материала антикоррозионного покрытия, диаметра изолируемой трубы и скорости ее вращения, выполнив перечисленные регулировки, оператор заполняет емкость 3 материалом антикоррозионного покрытия, включает нагревательные элементы 6 и приводные ролики 20. Как только труба сделает полный оборот, оператор включает перемещение установки вдоль оси трубы и после подхода катушки 4 к краю изолированного участка накладывает рулонный изоляционный материал 14 на изолированный участок. При этом материал 14 приклеивается к изоляции и при вращении трубы равномерно охватывает ее наружную поверхность. Плотность прижатия материала 14 к поверхности обеспечивается тормозным устройством 19. Нанесение материала антикоррозионного покрытия происходит следующим образом. Подогретый и имеющий оптимальную вязкость материал покрытия вытекает через зазор между заслонкой 10 и козырьком 12, огибает заглубление 13 и поступает на наружную поверхность трубы 1. Вращающаяся труба 1 подает неравномерный поток материала покрытия под закругление 13, а регулируемый козырек обеспечивает равномерное распределение материала покрытия по наружной поверхности трубы. Однако козырек не может предотвратить образование воздушных пузырьков и непрокрашенных мест на поверхности трубы, поэтому за козырьком установлен растирочный фартук, охватываемый 1/4-1/3 часть длины окружности изолируемой трубы. Трение скольжения фартука о поверхность материала антикоррозийного покрытия удаляет воздушные пузырьки и непрокрашенные места с поверхности трубы и обеспечивает плотное прилегание рулонного изоляционного материала к изолированной поверхности трубы. Как только первый ряд рулонного изоляционного материала охватывает поверхность трубы, включается перемещение установки вдоль оси трубы, которое обеспечивает нахлест рулонного изоляционного материала, шириной 10…15 см и технологические операции повторяются. Применение установки для наружной антикоррозионной изоляции труб позволяет повысить качество покрытия и увеличить их рабочее долголетие в 3…5 раз.
Формула изобретения
1. Установка для наружной антикоррозионной изоляции труб, включающая устройство для вращения трубы, ванну с материалом покрытия, катушку с рулонным армирующим материалом, дозирующе-растирочное устройство, отличающаяся тем, что дозирующе-растирочное устройство, снабженное механизмом в виде подвижного регулируемого козырька и регулируемой заслонки, имеет у регулируемого козырька закругленный носок, а конец регулируемой заслонки расположен за изгибом носка, при этом к днищу ванны закреплен растирочный фартук, охватывающий изолируемую трубу по направлению вращения на 1/4-1/3 ее длины окружности.
2. Установка по п.1, отличающаяся тем, что изолирующий узел установлен на раме с возможностью регулировки по высоте и возвратно-поступательного перемещения.
3. Установка по п.1, отличающаяся тем, что катушка с рулонным армирующим материалом установлена за дозирующе-растирочным устройством и имеет ширину, равную ширине дозирующе-растирочного устройства.
4. Установка по п.1, отличающаяся тем, что катушка с рулонным армирующим материалом снабжена регулируемым тормозом, установленным на стойке рамы.
5. Установка по п.1, отличающаяся тем, что на раме смонтирована площадка для оператора.
РИСУНКИ
MM4A – Досрочное прекращение действия патента СССР или патента Российской Федерации на изобретение из-за неуплаты в установленный срок пошлины за поддержание патента в силе
Дата прекращения действия патента: 01.03.2007
Извещение опубликовано: 27.10.2008 БИ: 30/2008
|
|