|
(21), (22) Заявка: 2005103680/06, 11.02.2005
(24) Дата начала отсчета срока действия патента:
11.02.2005
(46) Опубликовано: 20.08.2006
(56) Список документов, цитированных в отчете о поиске:
SU 1724978 А1, 07.04.1992. RU 2156393 С2, 20.09.2000. RU 2046231 C1, 20.10.1995. SU 1341425 А1, 30.09.1987. DE 4016541 A1, 28.11.1991.
Адрес для переписки:
614014, г.Пермь, ул. Новозвягинская, 57, Федеральное Государственное Унитарное предприятие Пермский завод “Машиностроитель”
|
(72) Автор(ы):
Щенев Борис Александрович (RU), Овчинников Валерий Анатольевич (RU)
(73) Патентообладатель(и):
Федеральное Государственное Унитарное предприятие Пермский завод “Машиностроитель” (RU)
|
(54) УПЛОТНИТЕЛЬНОЕ УСТРОЙСТВО
(57) Реферат:
Изобретение относится к уплотнительной технике, а именно к уплотнениям для подвижных соединений, например для уплотнения штоков. Устройство содержит корпус, в котором выполнена камера, имеющая форму цилиндра с переходом в форму эллипсоида. В камере размещена уплотнительная набивка и шток. Набивка представляет собой спираль из фторопласта, между витками которой расположена пластичная набивка. Наружная поверхность уплотнительных набивок в сжатом состоянии повторяет часть ответной эллипсоидной поверхности камеры. Технический результат – равномерное распределение контактного давления между штоком и спиралью, между витками спирали и между спиралью и стенкой камеры, которое обеспечивает герметичность конструкции на весь период эксплуатации. 1 ил.
Изобретение относится к уплотнительной технике, а именно к уплотнениям для подвижных соединений, например для уплотнения штоков.
Широко известно в уровне техники уплотнительные устройства, содержащие камеру, в которой размещена уплотнительная набивка, поджимаемая грундбуксой, и уплотнительный шток. Уплотнение штока происходит за счет объемной деформации сальниковой набивки.
Недостатком их является быстрый вынос набивки из камеры через зазор.
Известно уплотнительное устройство, камера которого выполнена в виде усеченного конуса, а уплотнительная набивка представляет собой спираль, выполненную из клиновидной полосы (а. с. №1724948 от 14.06.90 г. МКИ Р 16 J 5/18).
В этой конструкции осевое усилие от грундбуксы преобразуется в радиальное усилие обжатия штока не за счет объемной деформации материала уплотнительной набивки, а за счет “обвивания” набивки вокруг штока при ее взаимодействии с конической поверхностью камеры.
Однако гарантированное обжатие штока может произойти по длине только одного витка спирали. В упомянутом аналоге спираль изготовлена набором из материалов с разной твердостью, начиная от металла и заканчивая сальниковой набивкой. В этой конструкции можно на какое-то время достичь распределения контактного давления по большему числу витков (контактное давление между штоком и спиралью, между витками спирали, между спиралью и стенкой камеры, которое и определяет герметичность конструкции). Тем не менее, при работе происходит вынос, прежде всего, сальниковой набивки. Витки из металла в этом случае “зависают” в конической камере, расклинивая стенку камеры и шток, т.е. контактное давление между витками из металла и сальниковой набивки падает и становится возможной протечка уплотняемой среды по винтовой линии расположения сальниковой набивки.
Кроме этого, при износе уплотнительной набивки ее необходимо менять на новую, что обуславливает определенную трудность в обслуживании.
Задачей изобретения является повышение надежности и долговечности уплотнения и упрощение обслуживания.
При решении поставленных задач достигается следующий технический результат:
– равномерное распределение контактного давления между штоком и спиралью, между витками спирали и между спиралью и стенкой камеры, которое обеспечивает герметичность конструкции на весь период эксплуатации;
– возможность эксплуатации уплотнения до полного физического износа, что исключает необходимость извлечения изношенной набивки.
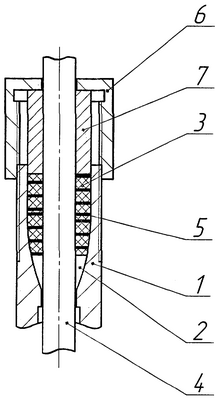
На чертеже изображена схема предлагаемого уплотнительного устройства.
Устройство содержит корпус 1, в котором выполнена камера 2, имеющая форму цилиндра с переходом в форму эллипсоида. В камере 2 размещена уплотнительная набивка 3 и шток 4. Набивка 3 представляет собой спираль из фторопласта, между витками которой расположена пластичная набивка 5 из материала ФУМ. Наружная поверхность уплотнительных набивок 3 и 5 в сжатом состоянии повторяет часть ответной эллипсоидной поверхности камеры 2.
Набивка 3 и 5 поджимается сверху накидной гайкой 6 через нажимную втулку 7.
Устройство работает следующим образом.
Осевым усилием от нажимной втулки 7 витки спирали уплотнительных набивок 3 и 5 прижимаются друг к другу и к эллипсоидной поверхности камеры 2. Вследствие взаимодействия с эллипсоидной поверхностью камеры 2 витки спирали уплотнительных набивок 3 и 5 “обвивают” шток. Пластичная набивка 5, деформируясь, уравнивает контактное давление и герметизирует шток, а витки спирали уплотнительной набивки 3 выполняют функции силового элемента.
Изнашиваясь, витки спирали 3 перемещаются вниз по камере 2. Величина перемещения витков спирали уплотнительной набивки 3 вниз по камере 2 определяется износом витков и углом наклона боковой поверхности камеры 2 к поверхности штока 4, чем больше угол наклона, тем на равный износ меньше перемещение. Поверхность камеры 2 имеет эллипсоидный участок, т.е. ее поверхность плавно меняет угол своего наклона по отношению к поверхности штока 4 от min до max, вследствие чего на равный износ верхние витки уплотнительной набивки 3 отвечают большим перемещением, чем нижние, т.е. при общем смещении вниз верхние витки спирали уплотнительной набивки 3 “догоняют” нижние и компенсируют возможный вынос сальниковой набивки 5, обеспечивая равномерное распределение контактного давления между штоком 4 и витками спирали уплотнительной набивки 3, между витками спирали набивки 3 и между в витками спирали уплотнительной набивки 3 и стенкой камеры 2, которое обеспечивает герметичность конструкции на весь период эксплуатации.
Уплотнительные набивки 3 и 5 могут изнашиваться полностью и их остатки через зазор между штоком 4 и корпусом 1 уходят в уплотняемую полость. Т.е. для поддержки работоспособности уплотнения нет необходимости извлекать изношенное уплотнение. Достаточно только периодически добавлять набивку 3 и 5 в виде спирали цилиндрической формы.
Изобретение нашло применение в конструкциях устьевых сальников для уплотнения штоков станков-качалок на нефтяных скважинах.
Изобретение перспективно для уплотнения штоков и поршней насосов, а также и валов.
Формула изобретения
Уплотнительное устройство, содержащее камеру, в которой размещена уплотнительная набивка, имеющая форму спирали, нажимное устройство и уплотняемый шток, отличающееся тем, что камера имеет форму цилиндра с переходом в форму эллипсоида.
РИСУНКИ
MM4A – Досрочное прекращение действия патента СССР или патента Российской Федерации на изобретение из-за неуплаты в установленный срок пошлины за поддержание патента в силе
Дата прекращения действия патента: 12.02.2007
Извещение опубликовано: 20.06.2008 БИ: 17/2008
|