|
|
(21), (22) Заявка: 2004117235/06, 07.06.2004
(24) Дата начала отсчета срока действия патента:
07.06.2004
(43) Дата публикации заявки: 10.12.2005
(46) Опубликовано: 20.08.2006
(56) Список документов, цитированных в отчете о поиске:
FR 2517789 A1, 10.06.1983. FR 2653518 A1, 26.04.1991. SU 237502 A, 12.11.1969. US 3542382 A, 24.11.1970. GB 2170283 A, 30.07.1986. FR 2659123 A1, 06.09.1991.
Адрес для переписки:
195067, Санкт-Петербург, Пискаревский пр., 39, а/я 69, К.И. Сабир-де-Рибасу
|
(72) Автор(ы):
Епишов Александр Павлович (RU), Клепцов Игорь Петрович (RU)
(73) Патентообладатель(и):
Общество с ограниченной ответственностью “Ильма” (RU)
|
(54) ПРОКЛАДКА ДЛЯ УПЛОТНЕНИЯ ФЛАНЦЕВОГО СОЕДИНЕНИЯ
(57) Реферат:
Изобретение относится к уплотнительной технике. Прокладка для уплотнения фланцевого соединения содержит кольцевой сердечник с отверстием для прохода среды, на торцевых поверхностях которого расположены выступы, образующие замкнутые полости для установки уплотнительных кольцевых элементов из графитовой ленты. Кольцевой сердечник выполнен в виде плоского кольцевого элемента и двух пар узких колец, расположенных соответственно по периметру наружной и внутренней кромки плоского кольцевого элемента и соединенных с ним с образованием замкнутой полости под уплотнительные кольцевые элементы. Каждое узкое кольцо образовано изгибом полосы на ребро и сваркой ее концов между собой. Изобретение позволяет снизить металлоемкость прокладок и расширить эксплуатационные возможности. 6 з.п. ф-лы, 6 ил.
Изобретение относится к уплотнительной технике и предназначено для герметизации корпусных элементов и фланцевых соединений машин и механизмов.
Одной из проблем в данной области техники является создание надежной конструкции прокладки для уплотнения фланцевого соединения открытого типа. Прокладки этого типа работают в тяжелых условиях. Во-первых, на такую прокладку действует боковое выдавливание, поэтому стремятся к уменьшению высоты прокладки, в силу чего возникают проблемы, связанные с обеспечением прочности прокладки. Во-вторых, механизм герметизации фланцевых соединений с такими прокладками характеризуется наличием в месте контакта уплотнителя с фланцем контактного давления. Это контактное давление должно обеспечить такие упругие и пластические деформации в месте контакта, при котором полностью перекрываются утечки, возникающие вследствие погрешности формы поверхности фланцев. Однако чрезмерное увеличение контактного давления при обжатии прокладки может привести к ее разрушению. Кроме того, при работе сосудов высокого давления возможен перекос фланцев. При проведении ремонтных работ это необходимо учитывать, поскольку прокладка для уплотнения таких сосудов должна компенсировать этот перекос, то есть она должна быть податливой. Острота проблемы становится особенно ясной при учете того, что габариты фланцевых соединений могут достигать нескольких метров, а работы, связанные с заменой уплотнений, сложны, длительны во времени и требуют значительных материальных затрат. Таким образом, при конструировании прокладки следует принимать во внимание, что она должна иметь как можно меньшую высоту, но при этом должна обеспечить компенсацию погрешности формы поверхности фланцев, то есть она должна быть податливой и в то же время обладать необходимой прочностью.
Известна уплотнительная прокладка (FR №2659123, публ.08.09.91 г.), которая содержит выполненные из жесткого и недеформирующегося материала внутреннее и наружное кольца, находящийся между кольцами заполнитель из материала с твердостью по Бору в диапазоне 20-60, торцевые поверхности которого образуют контактные поверхности прокладки.
Известен уплотнительный узел (DE №2437989, публ.26.02.76 г.), который содержит кольцо из эластичного уплотнительного материала, расположенное между двумя металлическими кольцами, снабженными средством для удержания уплотнительного кольца.
Известно фланцевое соединение (DE №3542593, публ.04.06.87 г.), в котором между соединяемыми фланцами помещают концентрические кольца из несжимаемого материала, например стали. Между кольцами размещают уплотнительное кольцо из терморасширенного графита. Обращенные друг к другу поверхности колец имеют заостренную форму, а на торцах со стороны, обращенной к графитовому уплотнению, – неглубокие проточки. Перед затяжкой фланцев уплотнение из графита имеет толщину, превышающую толщину стальных колец. При затяжке соединения графитовое уплотнение вдавливается в заостренную форму стальных колец и сжимается до толщины стальных колец, при этом графит частично выдавливается в проточки на торцах стальных колец.
Все три известных уплотнения состоят из несвязанных между собою элементов: двух концентрических колец из несжимаемого материала и размещаемого между ними уплотнительного элемента. Установка такого уплотнения неудобна, затруднена, особенно при проведении ремонтных работ, и представляет известную трудность. К кольцам из несжимаемого материала предъявляются повышенные требования в части погрешности формы поверхностей, контактируемых с уплотнительным элементом. Кроме того, такое уплотнение превращается в прокладку только после затяжки фланцевого соединения, то есть к нему необходимо прикладывать дополнительное усилие затяжки.
Известен узел уплотнения для подводных установок (GB №2170283, публ. 30.07.86 г.; аналоги FR №2576658, DE №3601773), содержащий относительно жесткий кольцевой элемент, на внутренней и наружной поверхностях которого расположены выступы, образующие кольцевую полость для размещения деформируемого уплотнительного элемента. Выступы заканчиваются режущими кромками. При сборке на кольцевой элемент укладывают уплотнительный материал, высота которого больше высоты выступов. При сжатии узла деформируемый уплотнительный материал заполняет полость, а излишки материала срезаются режущими кромками. После сжатия узла выступы входят в контакт с уплотняемыми поверхностями фланцев, образуя снаружи фланцевого соединения сплошную металлическую поверхность. По сравнению с вышеприведенными тремя техническими решениями это решение имеет определенные преимущества. Его сборка упрощена, поскольку деформируемый уплотнительный элемент устанавливается на предназначенную для этого полость в кольцевом элементе. Однако кольцевой элемент обладает жесткостью, которая обусловлена наличием режущих кромок, образующих единое целое с выступами. В силу этого для обеспечения прилегания выступов к уплотняемой поверхности фланцев следует приложить значительное усилие. Кроме того, кольцевой элемент сложен в изготовлении.
Известна уплотнительная прокладка (DE №1919873, публ.14.08.74 г.), которая представляет собой кольцевой корпус с наружными и внутренними выступами, которые расположены с радиальным интервалом и соединены общей упругой перемычкой, образующей чашу. В чаше установлен уплотнительный элемент, сопротивление деформации которого меньше сопротивления деформации выступов, а сечение меньше сечения чаши. После эластичной деформации выступов и уплотнительного элемента посредством уплотняемых поверхностей уплотнительный элемент заполняет сечение чаши, которая в рабочем состоянии уменьшается. Такая прокладка по сравнению с вышерассмотренной обладает большей податливостью, а следовательно, с ее помощью можно компенсировать погрешности в поверхности фланцев. Однако при затяжке такого фланцевого соединения имеет место скольжение уплотнительной прокладки по фланцам за счет сокращения размеров сечения чаши, что может послужить причиной ее повреждения. Кроме того, кольцевой корпус такой прокладки может быть изготовлен только методом штамповки, что усложняет ее изготовление.
Известна уплотнительная прокладка (FR №2653518, публ.26.04.91 г.), которая содержит наружное металлическое кольцо, промежуточное уплотнительное кольцо, способное выступать в стороны и сжиматься, и внутреннее металлическое кольцо. Промежуточное уплотнительное кольцо зафиксировано в металлических кольцах и соединяет их в единое целое. Внутреннее металлическое кольцо дополнительно снабжено уплотняющими кольцами, расположенными на его боковых поверхностях, которые могут из них выступать и сжиматься. Уплотняющие кольца соосны, расположены одно против другого и запрессованы в углубления внутреннего металлического кольца. Промежуточное уплотнительное кольцо и уплотняющие кольца выполнены из терморасширенного графита. В известной уплотнительной прокладке промежуточное уплотнительное кольцо, по существу, является силовым элементом, поскольку оно связывает между собой металлические кольца, являющиеся каркасом уплотнительной прокладки. В силу этого уплотнительные свойства промежуточного уплотнительного кольца, а следовательно, и всей прокладки ограничены. Сама уплотнительная прокладка сложна в изготовлении, имеет значительные габариты, а поэтому имеет ограниченное применение, поскольку может быть применена для уплотнения широких фланцевых соединений.
Наиболее близкой по своей технической сущности по отношению к заявляемому изобретения является уплотнительная прокладка (FR №2517789, публ.03.06.83 г., аналог GB №2141187, публ.12.12.84 г.), предназначенная для уплотнения фланцевых соединений трубопроводов с повышенной температурой рабочей жидкости, газа или пара. Прокладка состоит из кольцевого металлического сердечника, на торцевых поверхностях которого выполнены кольцевые канавки для установки в них уплотнительных элементов из графитовой ленты. Глубина кольцевых канавок такова, чтобы после приклеивания к сердечнику уплотнительных элементов они выступали над торцевыми поверхностями сердечника. Таким образом, в уплотнении сочетается общая жесткость, достигаемая с помощью металлического сердечника, и местная эластичность, обеспечиваемая за счет уплотнительных элементов. Указанная прокладка трудоемка в изготовлении, поскольку кольцевые канавки на металлическом сердечнике могут быть получены либо путем их изготовления на металлорежущих станках, либо путем штамповки. Поэтому толщина стенок кольцевых канавок и толщина сердечника значительны, что приводит к нежелательному увеличению с одной стороны, металлоемкости и жесткости такой прокладки, а с другой стороны, при заданных диаметральных размерах прокладки – к уменьшению поверхности уплотнения, контактирующей с уплотняемыми фланцами. Кроме того, такая прокладка может быть изготовлена в сравнительно небольшом диапазоне размеров, поскольку в этой части как возможности штамповки, так и возможности металлообработки ограничены.
В основу настоящего изобретения была поставлена задача разработать прокладку для уплотнения фланцевых соединений открытого типа.
Технический результат заявляемого изобретения заключается в снижении металлоемкости прокладок и в расширении диапазона размеров изготавливаемых прокладок.
Технический результат достигается тем, что в известной прокладке для уплотнения фланцевого соединения, содержащей кольцевой сердечник с отверстием для прохода среды, на торцевых поверхностях которого расположены выступы, образующие замкнутые полости для установки уплотнительных кольцевых элементов из графитовой ленты, согласно изобретению сердечник выполнен в виде плоского кольцевого элемента и двух пар узких колец, расположенных соответственно по периметру наружной и внутренней кромки плоского кольцевого элемента и соединенных с ним с образованием замкнутой полости под уплотнительные кольцевые элементы, при этом каждое узкое кольцо образовано изгибом полосы на ребро и сваркой ее концов между собой.
Узкие кольца могут быть образованы изгибом проволоки и сваркой концов проволоки между собой.
Предпочтительно соединение узких колец с плоским кольцевым элементом осуществить контактной сваркой.
Целесообразно, чтобы узкие кольца имели бы волнистую форму.
Предпочтительно плоский кольцевой элемент образовать изгибом полосы на ребро и сваркой ее концов между собой.
Желательно в качестве графитовой ленты применить тисненую или гофрированную ленту терморасширенного графита.
Целесообразно тисненую или гофрированную ленту терморасширенного графита плакировать пористым политетрафторэтиленом.
Отличительная особенность заявляемой прокладки для уплотнения фланцевого соединения заключается в том, что ее сердечник выполнен из двух элементов: плоского кольцевого элемента и двух пар узких колец, соединенных между собой, например, контактной сваркой. Такая конструкция сердечника позволяет минимизировать ширину узких колец и толщину плоского кольцевого элемента, за счет чего металлоемкость прокладки будет снижена. Одновременно с этим при сохранении наружного диаметра кольцевого сердечника происходит увеличение ширины замкнутой полости под уплотнительный кольцевой элемент из графитовой ленты, устанавливаемый на плоский кольцевой элемент между парой узких колец, что позволяет увеличить местную эластичность прокладки и перекрыть возможные повреждения уплотняемой поверхности. В силу того что плоский кольцевой элемент изготавливают методом изгиба металлической полосы на ребро, практически нет никаких ограничений в сторону увеличения диаметра плоского кольцевого элемента. Ограничения в сторону уменьшения диаметра плоского кольцевого элемента имеются и зависят от ширины плоского кольцевого элемента, но и в этом случае диапазон размеров прокладки от минимума до максимума будет значительно увеличен.
Эти и другие особенности заявляемого изобретения будут приведены ниже со ссылками на прилагаемые чертежи, на которых изброжены:
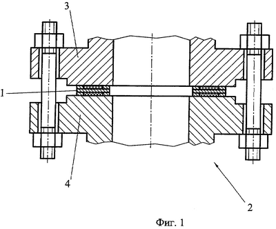
фиг.1 – фланцевое соединение,
фиг.2 – прокладка для уплотнения фланцевого соединения,
фиг.3 – разрез по А-А (фиг.2),
фиг.4 – разрез по А-А (фиг.2, вариант),
фиг.5 – вид Б (фиг.3, 4),
фиг.6 – уплотнительный кольцевой элемент.
Заявляемая прокладка 1, предназначенная для уплотнения фланцевого соединения 2 открытого типа (фиг.1), устанавливается между двумя гладкими фланцами 3 и 4 соединения 2. Прокладка 1 содержит (фиг.2) металлический сердечник 5, выполненный в виде плоского кольцевого элемента 6 с отверстием 7 для прохода среды, и выступов 8 на торцевых поверхностях плоского кольцевого элемента 6, образующих замкнутые полости 9 под уплотнительные кольцевые элементы 10. Выступы 8 образованы узкими кольцами 11 и 12, расположенными соответственно по периметру наружной и внутренней кромки плоского кольцевого элемента 6 и соединенными с ним, например, контактной сваркой. Каждое кольцо 11 и 12 образовано изгибом либо полосы (фиг.3) на ребро со сваркой концов полосы между собой, либо проволоки (фиг.4) со сваркой концов проволоки между собой. Такая конструкция сердечника 5 позволяет уменьшить его металлоемкость за счет сокращения поперечных размеров колец 11 и 12 и увеличить ширину замкнутой полости 9 под уплотнительные кольцевые элементы 10, то есть увеличить местную эластичность прокладки и расширить область фланцевого соединения, перекрываемую уплотнительным элементом. Плоский кольцевой элемент 6 сердечника 5 при относительно небольших размерах прокладки 1 целесообразно выполнить в виде цельного кольца. Однако с увеличением диаметра прокладки 1 плоский кольцевой элемент 6, с целью исключения отходов при его изготовлении, возникающих при изготовлении плоского кольцевого элемента 6 в виде цельного кольца, предпочтительно изготовить изгибом полосы на ребро со сваркой концов полосы между собой. В этом случае плоский кольцевой элемент 6 может быть изготовлен из более тонкой полосы, что также приведет к снижению металлоемкости сердечника. Кроме того, такой способ изготовления плоского кольцевого элемента снимает ограничения в части его максимального размера.
Жесткость сердечника может быть повышена за счет придания узким кольцам 11 и 12 волнистой формы (фиг.5). Кроме того, волнистая форма узких колец 11 и 12 позволяет дополнительно увеличить прочность соединения уплотнительных кольцевых элементов 10 с сердечником за счет заполнения пустот между торцовой поверхностью плоского кольцевого элемента 6 и волнистой поверхностью колец 11 и 12 уплотнительными кольцевыми элементами 10.
Уплотнительные кольцевые элементы 10 в заявляемом изобретении выполнены либо из тисненой ленты терморасширенного графита, либо из гофрированной ленты терморасширенного графита. Выбор типа ленты терморасширенного графита зависит от диаметра уплотнительного кольцевого элемента и его высоты. Для возможности использования заявляемой прокладки для герметизации фланцевых соединений в бумагоделательной, нефтегазовой, пищевой и химической промышленности при работе с агрессивными средами в условиях повышенного давления и быстросменяемых тепловых потоков на ленте из терморасширенного графита (фиг.6) выполнено плакирование (покрытие) пористым политетрафторэтиленом 13. Плакирование пористым политетрафторэтиленом позволяет применить при затяжке фланцевого соединения повышенное удельное давление. Кроме того, плакирование позволяет без разрушения ленты терморасширенного графита получить на ней более сближенные между собой гофры, что также способствует расширению диапазона размеров прокладки.
В заявляемом изобретение понятия “кольцевой элемент” и “узкие кольца” означают элементы, образованные замкнутыми линиями, охватывающими собой плоские фигуры, образованные полностью или частично окружностью, овалом, эллипсом.
Формула изобретения
1. Прокладка для уплотнения фланцевого соединения, содержащая кольцевой сердечник с отверстием для прохода среды, на торцевых поверхностях которого расположены выступы, образующие замкнутые полости для установки уплотнительных кольцевых элементов из графитовой ленты, отличающаяся тем, что сердечник выполнен в виде плоского кольцевого элемента и двух пар узких колец, расположенных соответственно по периметру наружной и внутренней кромки плоского кольцевого элемента и соединенных с ним с образованием замкнутой полости под уплотнительные кольцевые элементы, при этом каждое узкое кольцо образовано изгибом полосы на ребро и сваркой ее концов между собой.
2. Прокладка для уплотнения фланцевого соединения по п.1, отличающаяся тем, что узкие кольца образованы изгибом проволоки и сваркой концов проволоки между собой.
3. Прокладка для уплотнения фланцевого соединения по п.1 или 2, отличающаяся тем, что соединение узких колец с плоским кольцевым элементом осуществлено контактной сваркой.
4. Прокладка для уплотнения фланцевого соединения по п.1 или 2, отличающаяся тем, что узкие кольца имеют волнистую форму.
5. Прокладка для уплотнения фланцевого соединения по п.1, отличающаяся тем, что плоский кольцевой элемент образован изгибом полосы на ребро и сваркой ее концов между собой.
6. Прокладка для уплотнения фланцевого соединения по п.1, отличающаяся тем, что в качестве графитовой ленты применена тисненая или гофрированная лента терморасширенного графита.
7. Прокладка для уплотнения фланцевого соединения по п.6, отличающаяся тем, что тисненая или гофрированная лента терморасширенного графита плакирована пористым политетрафторэтиленом.
РИСУНКИ
|
|