|
|
(21), (22) Заявка: 2004138344/11, 27.12.2004
(24) Дата начала отсчета срока действия патента:
27.12.2004
(46) Опубликовано: 20.08.2006
(56) Список документов, цитированных в отчете о поиске:
SU 428132 A1, 15.05.1974. SU 15941128 A1, 23.09.1990. DE 19745087 A1, 01.10.1998. DE 3911427 A1, 11.10.1990.
Адрес для переписки:
394000, г.Воронеж, пр-т Революции, 19, ГОУ ВПО ВГТА, отдел СМП
|
(72) Автор(ы):
Бахолдин Александр Михайлович (RU), Карманов Владимир Владимирович (RU)
(73) Патентообладатель(и):
Государственное образовательное учреждение высшего профессионального образования Воронежская государственная технологическая академия (RU)
|
(54) ТОРМОЗНОЙ БАРАБАН
(57) Реферат:
Изобретение относится к области автомобилестроения, а именно к тормозным барабанам. Тормозной барабан содержит полый цилиндрический корпус, гайку-поршень и канат. Полый цилиндрический корпус установлен с возможностью вращения на неподвижном валу, с выполненной на нем резьбовой нарезкой по всей длине вала. Гайка-поршень связана с корпусом посредством осей и разделяет корпус на две сообщающиеся между собой через каналы емкости, заполненные жидкостью. В качестве каналов в гайке-поршне выполнены сквозные цилиндрические отверстия с резьбой, причем каждое из отверстий выполнено с возможностью снабжения винтом. Выполнение сквозных цилиндрических отверстий с резьбой в гайке-поршне позволяет регулировать прохождение жидкости за счет количества открытых сквозных цилиндрических отверстий. Вал выполнен сплошным. Техническим результатом является повышение эксплутационных свойств тормозного барабана путем обеспечения постоянного момента торможения, повышение долговечности и надежности его работы. 1 ил.
Изобретение относится к грузоподъемным механизмам.
Известен тормозной барабан, содержащий полый корпус, установленный в неподвижном валу, на котором выполнена резьбовая нарезка и установлена гайка-поршень, которая через оси связана с корпусом. Гайка-поршень разделяет полость корпуса на две емкости, которые связаны между собой через каналы, в одном из которых установлен элемент, регулирующий проходное сечение канала. Емкости выполнены герметичными и заполнены жидкостью. При сматывании каната с корпуса гайка-поршень перемещается вдоль вала и вытесняет жидкость из одной емкости в другую, что обеспечивает торможение барабана (а.с. 428132. F 16 D 55/02, опубл. 23.09.90, бюл. №35).
Недостатком данного тормозного барабана является наличие отверстий, выполненных в неподвижном валу, что приводит к снижению его долговечности, надежности работы и, следовательно, долговечности и надежности работы тормозного барабана в целом.
Наиболее близким по технической сущности и достигаемому эффекту к предлагаемому устройству является тормозной барабан, содержащий полый корпус, установленный на неподвижном валу, на котором выполнена резьбовая нарезка и установлена гайка-поршень, которая через оси связана с корпусом и разделяет полость корпуса на две емкости, сообщающиеся между собой через симметрично расположенные по окружности гайки-поршня сквозные цилиндрические отверстия с резьбой. При сматывании каната с корпуса гайка-поршень перемещается вдоль вала и вытесняет жидкость из одной емкости в другую, что обеспечивает торможение барабана. (А.с. №428132, кл. F 16 D 55/02, 1972.)
Недостатками данного тормозного барабана являются низкие эксплуатационные свойства из-за невозможности регулирования скорости опускания груза, его недолговечность и ненадежность его работы.
Техническая задача изобретения – повышение эксплутационных свойств тормозного барабана путем обеспечения постоянного момента торможения, повышение долговечности и надежности его работы.
В тормозном барабане, содержащем полый цилиндрический корпус, установленный с возможностью вращения на неподвижном валу, с выполненной на нем резьбовой нарезкой по всей длине вала, гайку-поршень, связанную с корпусом посредствам осей и разделяющую корпус на две сообщающиеся между собой через каналы емкости, заполненные жидкостью, и канат, новым является то, что в качестве каналов в гайке-поршне выполнены сквозные цилиндрические отверстия с резьбой, причем каждое из отверстий выполнено с возможностью снабжения винтом, при этом выполнение сквозных цилиндрических отверстий с резьбой в гайке-поршне позволяет регулировать прохождение жидкости за счет количества открытых сквозных цилиндрических отверстий, а вал выполнен сплошным.
Технический результат заключается в том, что наличие сквозных цилиндрических отверстий с резьбой в гайке-поршне позволяет снять дополнительные нагрузки на вал, что положительным образом сказывается на его долговечности, надежности работы и, следовательно, долговечности и надежности работы тормозного барабана в целом.
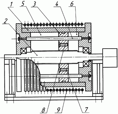
На чертеже изображен предлагаемый тормозной барабан, продольный разрез.
Предлагаемый тормозной барабан содержит полый цилиндрический корпус 1, установленный на неподвижном валу 2 с возможностью вращения, и гайку-поршень 3, установленную на валу 2, на котором выполнена резьбовая нарезка. В полости цилиндрического корпуса 1 установлены параллельно неподвижному валу 2 оси 4, пропущенные через выполненные в гайке-поршне 3 отверстия, концы которых связаны с боковыми стенками цилиндрического корпуса 1. Гайка-поршень 3, связанная с корпусом 1 посредством осей, расположена в полости цилиндрического корпуса и разделяет его на две емкости 5 и 6, сообщающиеся между собой через сквозные цилиндрические отверстия с резьбой 7. Емкости 5 и 6 выполнены герметичными и заполнены жидкостью. Некоторые из отверстий 7 заглушены винтами 8 для регулирования прохождения жидкости (количество отверстий и их диаметр зависит от того, в какой области промышленности применяется данный барабан). На цилиндрическом корпусе 1 размещен канат 9.
Барабан работает следующим образом. При сматывании каната 9 с корпуса 1 последний вовлекает во вращение через оси 4 гайку-поршень 3. За счет резьбового соединения с валом 2 гайка-поршень 3 при вращении перемещается вдоль вала 2. При этом гайка-поршень 3 вытесняет через сквозные отверстия 7 жидкость из одной емкости в другую. Сила сопротивления перемещению гайки-поршня 3 со стороны жидкости определяется количеством открытых сквозных цилиндрических отверстий 7 и может регулироваться винтами 8. При этом может достигаться постоянный момент торможения, что повышает эксплуатационные свойства тормозного барабана.
Использование предлагаемого тормозного барабана позволяет снять дополнительные нагрузки на вал благодаря наличию сквозных цилиндрических отверстий в гайке-поршне, что положительным образом сказывается на его долговечности и надежности работы и, следовательно, долговечности и надежности барабана в целом.
Формула изобретения
Тормозной барабан, содержащий полый цилиндрический корпус, установленный с возможностью вращения на неподвижном валу, с выполненной на нем резьбовой нарезкой по всей длине вала, гайку-поршень, связанную с корпусом посредствам осей и разделяющую корпус на две сообщающиеся между собой через каналы емкости заполненные жидкостью и канат, отличающийся тем, что в качестве каналов в гайке-поршне выполнены сквозные цилиндрические отверстия с резьбой, причем каждое из отверстий выполнено с возможностью снабжения винтом, при этом выполнение сквозных цилиндрических отверстий с резьбой в гайке-поршне позволяет регулировать прохождение жидкости за счет количества открытых сквозных цилиндрических отверстий, а вал выполнен сплошным.
РИСУНКИ
MM4A – Досрочное прекращение действия патента СССР или патента Российской Федерации на изобретение из-за неуплаты в установленный срок пошлины за поддержание патента в силе
Дата прекращения действия патента: 28.12.2006
Извещение опубликовано: 27.08.2008 БИ: 24/2008
|
|