|
|
(21), (22) Заявка: 2004126919/11, 07.09.2004
(24) Дата начала отсчета срока действия патента:
07.09.2004
(43) Дата публикации заявки: 20.02.2006
(46) Опубликовано: 20.08.2006
(56) Список документов, цитированных в отчете о поиске:
ЕР 0580443 А2, 26.01.1994. SU 989193 А, 15.01.1983. JP 2001165185 A, 19.06.2001. GB 274210 А, 19.07.1927. SU 398783 А, 30.01.1974. SU 323576 А, 15.11.1972. SU 1247595 А1, 30.07.1986.
Адрес для переписки:
644106, г.Омск, ул. Дианова, 5б, кв.67, И.А. Трибельскому
|
(72) Автор(ы):
Трибельский Иосиф Александрович (RU), Адонин Виталий Андреевич (RU), Трибельский Михаил Иосифович (RU), Брейтер Юрий Лазаревич (RU)
(73) Патентообладатель(и):
Трибельский Иосиф Александрович (RU)
|
(54) УПРУГАЯ МУФТА
(57) Реферат:
Изобретение относится к области машиностроения, в частности к устройствам для передачи вращения;, и может быть использовано для соединения несоосно расположенных валов, например, между двигателем и насосом для увеличения надежности в работе. Упругая муфта содержит две полумуфты, соединенные резиновым упругим элементом, привулканизованным к металлическим пластинам, которые винтами крепятся к полумуфтам, а резиновый упругий элемент выполнен в виде цельной внутренней части тора, толщина которой определяется по математической зависимости, в которую входят: толщина внутренней части тора; номинальный крутящий момент; минимальное расстояние от средней линии внутренней части тора до оси вращения; радиус средней линии внутренней части тора; коэффициент, учитывающий действие интенсивности напряжений по всему объему резины, обусловленных воздействием крутящего момента, усилий от радиального, осевого и углового смещений валов и центробежных сил; допускаемое касательное напряжение; радиус средней линии внутренней части тора; угол профиля внутренней части тора. Технический результат – повышение долговечности и нагрузочной способности упругой муфты и снижение расхода материала. 1 ил.
Изобретение относится к области машиностроения, в частности к устройствам для передачи вращения, и может быть использовано в различных установках для соединения несоосно расположенных валов, например, между двигателем и насосом для уменьшения колебаний и вибраций.
Известна упругая муфта (см. а.с. №323576, опубл. Бюл. №1 за 1972 г.), содержащая две полумуфты, упругий элемент, имеющий торообразную форму, выполненный переменной в продольном сечении толщины, возрастающей к середине сечения и со сквозными отверстиями под головки болтов и гайки.
Недостатками известной упругой муфты являются сложность конструкции, возникновение концентрации напряжений при повышении нагрузки в месте зажима и в отверстиях упругого элемента.
Известна также упругая муфта (см. а.с. №1109547, опубл. Бюл. №31 от 23.08.1984 г.), содержащая две соосно установленные фланцевые полумуфты и размещенную между ними упругую торообразную оболочку, прикрепленную к фланцам посредством нажимных колец, при этом упругая торообразная оболочка выполнена переменной, уменьшающейся к середине сечения толщиной.
Недостатком этой упругой муфты является появление при работе напряжений и деформаций в месте крепления концов упругой оболочки нажимными кольцами, что приводит к преждевременному разрушению ее.
Наиболее близкой по совокупности существенных признаков и достигаемому техническому результату – прототипом является упругая муфта (см. B.C.Поляков и др. «Справочник по муфтам». Л.: Машиностроение, 1979, стр.114-116, рис.III.56.), содержащая две полумуфты, соединенные резинометаллическим упругим элементом, состоящим из двух полуколец, привулканизованных к металлическим пластинам, которые винтами крепятся по периферии фланцев полумуфт.
Недостатком известной упругой муфты является сложность изготовления двух полуколец и их монтажа на полумуфтах, конструкция упругих полуколец, не учитывая действия интенсивности напряжений по всему объему упругого элемента, при воздействии крутящего момента, усилий от радиального, осевого и углового смещений валов и центробежных сил от вращения упругой муфты, требует дополнительного расхода материала, что приводит к излишнему нагреву при повышенных крутящих моментах и снижению долговечности.
Техническим результатом заявляемого изобретения является устранение указанных недостатков, повышение долговечности, нагрузочной способности и снижение расхода материала.
Указанный технический результат достигается за счет того, что упругая муфта, содержащая две полумуфты, соединенные упругим элементом, выполненным в виде цельной внутренней половины тора, привулканизованным к металлическим пластинам, которые винтами крепятся к полумуфтам, при этом толщина внутренней половины тора с учетом действия интенсивности напряжений при воздействии крутящего момента, усилий от радиального, осевого и углового смещений валов и центробежных сил определяется по формуле

где h – толщина внутренней половины тора;
Мкр – номинальный крутящий момент;
R1 – минимальное расстояние от средней линии внутренней половины тора до оси вращения;
К – коэффициент, учитывающий действие интенсивности напряжений по всему объему резины, обусловленных воздействием крутящего момента, усилий от радиального, осевого и углового смещений валов и центробежных сил.
Для упругого элемента по данной заявке величина коэффициента К определена путем расчета по методу конечных элементов и составляет К=0,03-0,05;
ср – допускаемое касательное напряжение;
Rм – радиус средней линии внутренней половины тора;
– угол профиля внутренней половины тора 0   /2.
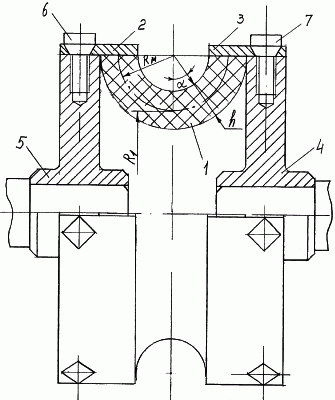
Сущность изобретения поясняется чертежом, где показан продольный разрез упругой муфты.
Упругая муфта содержит упругий элемент в виде внутренней половины тора 1 (чертеж), привулканизованной к металлическим кольцам 2 и 3, которые закреплены на полумуфтах 4 и 5 винтами 6, 7.
При включении в работу упругой муфты крутящий момент от несоосных валов передается с полумуфты 4 на полумуфту 5 через упругий элемент в виде внутренней половины тора 1, привулканизованной к металлическим кольцам 2 и 3, которые закреплены на полумуфтах 4 и 5 винтами 6, 7.
Предлагаемая упругая муфта упрощает конструкцию упругого элемента, облегчает его монтаж и снижает теплообразование за счет определения расчетным путем оптимальной толщины внутренней половины тора при заданном угле профиля 0< < /2 и коэффициенте К учета крутящего момента, усилий от радиального, осевого и углового смещения валов и центробежных сил в пределах 0,03-0,05.
Формула изобретения
Упругая муфта, содержащая две полумуфты, соединенные упругим элементом, привулканизованным к металлическим пластинам, которые винтами крепятся к полумуфтам, отличающаяся тем, что толщина упругого элемента, выполненного в виде внутренней части тора, определяется по формуле

где h – толщина внутренней части тора;
Мкр – номинальный крутящий момент;
R1 – минимальное расстояние от средней линии внутренней части тора до оси вращения;
К – коэффициент, учитывающий действие интенсивности напряжений по всему объему резины, обусловленных воздействием крутящего момента, усилий от радиального, осевого и углового смещений валов и центробежных сил;
[ ]ср – допускаемое касательное напряжение;
Rм – радиус средней линии внутренней части тора;
– угол профиля внутренней части тора 0   /2.
РИСУНКИ
|
|