|
|
(21), (22) Заявка: 2005110485/11, 11.04.2005
(24) Дата начала отсчета срока действия патента:
11.04.2005
(46) Опубликовано: 20.08.2006
(56) Список документов, цитированных в отчете о поиске:
SU 473857 A1, 22.03.1976. GB 359517 А, 26.10.1931. GB 1357534 А, 26.06.1974. SU 178625 A1, 03.03.1966. SU 149977 A1, 01.01.1962.
Адрес для переписки:
400002, г.Волгоград, ул. Институтская, 8, Волгоградская государственная Сельскохозяйственная академия, В.Н. Хаврониной
|
(72) Автор(ы):
Хавронин Виктор Петрович (RU), Несмиянов Иван Алексеевич (RU)
(73) Патентообладатель(и):
Волгоградская государственная Сельскохозяйственная академия (RU)
|
(54) УПРУГОДЕМПФИРУЮЩАЯ МУФТА
(57) Реферат:
Изобретение относится к машиностроению и может быть использовано для соединения несоосных валов и снижения динамических нагрузок на энергетическую установку привода. Упругодемпфирующая муфта содержит две полумуфты, связанные между собой упругими элементами. Упругие элементы представляют собой поворачивающие рычаги, установленные на осях второй полумуфты, связанные одними концами со штифтами, установленными на первой полумуфте, а другими концами – с ползунами, установленными в направляющих второй полумуфты и воздействующими через пружины на плунжеры цилиндров, установленных на второй полумуфте. При этом полости цилиндров соединены гидравлическими трубопроводами с включенными в них дросселями. Для расширения упругодемпфирующих характеристик муфты к гидравлическим трубопроводам могут быть подключены пневмогидроаккумуляторы. Технический результат – снижение динамических нагрузок, передаваемых от ведомого вала к ведущему, компенсация осевых смещений валов. 1 з.п. ф-лы, 2 ил.
Изобретение относится к машиностроению и может быть использовано для соединения несоосных валов и снижения динамических нагрузок на энергетическую установку привода.
Известны упругие муфты с цилиндрическими пружинами (Иванов М.Н. Детали машин. Учеб. для студентов высш. техн. учеб. заведений. – М.: Высш. шк., 1991).
Однако подобные муфты допускают малый угол закручивания и не позволяют компенсировать в широких пределах угловые и осевые смещения соединяемых валов.
Известна поворотная муфта, содержащая две соосно установленные полумуфты и расположенный между ними направляющий диск, а также поворотное устройство, выполненное в виде установленного в диаметральном отверстии направляющего винта с правой и левой резьбой, на которой размещены в пазах диска сухари, шарнирно связанные с толкателями, установленными шарнирно на пальцах, расположенных в резьбовых отверстиях полумуфт, выполненных по окружности. Кроме того, на торцевых поверхностях направляющего диска выполнены выступы в виде сегментов, контактирующие с полумуфтами (а.с. №473857, бюл. №22, 1975 г.)
Причинам, препятствующим достижению требуемого технического результата при использовании такой схемы, относится то, что при работе с большими динамическими нагрузками не обеспечивается достаточный угол закручивания и компенсация осевых смещений соединяемых валов.
Задача, на решение которой направлено заявляемое изобретение, – расширение диапазона варьирования жесткостью муфты, повышение плавности ее работы и расширение демпфирующих возможностей муфты.
Технический результат – снижение динамических нагрузок, передаваемых от ведомого вала к ведущему и компенсация осевых и радиальных смещений валов.
Указанный технический результат достигается тем, что упругий и демпфирующий элементы соединены последовательно, а не параллельно, вследствие чего жесткость муфты изменяется по нелинейной, кусочной характеристике.
Проведенный заявителем анализ уровня техники, включающий поиск по патентным и научно-техническим источникам информации, позволил установить, что заявителем не обнаружен аналог, характеризующийся признаками, идентичными всем существующим признакам заявленного объекта.
Следовательно, заявленное предполагаемое изобретение соответствует требованию “новизна” по действующему законодательству.
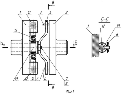
На фиг.1 изображена муфта, общий вид.
На фиг.2 – разрез А-А фиг.1.
Упругодемпфирующая муфта содержит две полумуфты – левую 1 и правую – 2 (фиг.1). На правой полумуфте 2 имеются штифты 3, 4 (фиг.1, 2), поворачивающиеся рычаги 5 и 6 относительно осей 7 и 8 на полумуфте 1. Другие концы рычагов 5 и 6 входят в зацепление с ползунами 9 и 10, установленными в направляющих полумуфты 1. На левой полумуфте 1 закреплены плунжерные цилиндры 11, 12, 13 и 14, между плунжерами цилиндров и ползунами установлены пружины 15, 16, 17 и 18. Полости гидроцилиндров 11 и 12 соединены гидравлическим трубопроводом 19, в который включен дроссель 20, а полости цилиндров 13 и 14 соответственно соединены гидравлическим трубопроводом 21 с включенным в него дросселем 22. Также для расширения упругодемпфирующих характеристик муфты к гидравлическим трубопроводам 19 и 21 могут быть подключены пневмогидроаккумуляторы 23 и 24.
Работа муфты осуществляется следующим образом. Полумуфта 2 поворачиваясь, например, по часовой стрелке (фиг.2), увлекает за собой посредством штифтов 3 и 4 рычаги 5 и 6, которые, поворачиваясь относительно осей 7 и 8 на полумуфте 1, перемещают ползуны 9 вниз и 10 вверх. Ползуны сжимают пружины 15 и 18, которые в свою очередь воздействуют на плунжеры цилиндров 11 и 14. Жидкость из полости цилиндра 11 через дроссель 20 перетекает в полость цилиндра 12, перемещая его плунжер в сторону перемещения ползуна 10, а из полости цилиндра 14 жидкость через дроссель 22 по гидравлическому трубопроводу 21 перетекает в полость цилиндра 13, также смещая его плунжер в направлении движения ползуна 9. Смещение всех элементов муфты происходит до тех пор, пока моменты на полумуфтах не уравновесятся. При кратковременных скачках передающего момента сначала произойдет резкая деформация пружин 15 и 18, а затем начнется смещение плунжеров цилиндров 11 и 14, которые выполняют роль гидравлической пружины.
При уменьшении передающего момента пружины 15 и 18 начнут возвращать ползуны 9 и 10 в противоположном направлении до уравновешивания моментов на полумуфтах 1 и 2.
Муфта является реверсивной, поэтому при вращении полумуфты 2 в противоположную сторону процесс демпфирования происходит аналогично, в этом случае будут работать пружины 16 и 17, цилиндры 12 и 13.
Таким образом, вышеизложенные сведения свидетельствуют о выполнении при использовании заявленного изобретения следующей совокупности условий:
– Средство предназначено для снижения динамических нагрузок при передаче крутящего момента от одного вала к другому;
– Средство, воплощающее заявленный объект, способно обеспечить достижение усматриваемого заявителем технического результата.
Следовательно, заявленное изобретение соответствует требованию промышленная применимость по действующему законодательству.
Формула изобретения
1. Упругодемпфирующая муфта, содержащая две полумуфты, связанные между собой упругими элементами, отличающаяся тем, что упругие элементы представляют собой связанные одними концами со штифтами, установленными на первой полумуфте, поворачивающие рычаги, установленные на осях второй полумуфты, другие концы которых входят в зацепление с ползунами, установленными в направляющих второй полумуфты и воздействующими через пружины на плунжеры цилиндров, установленных на второй полумуфте, при этом полости цилиндров соединены гидравлическими трубопроводами с включенными в них дросселями таким образом, чтобы смещение всех элементов муфты обеспечивалось до уравновешивания моментов на полумуфтах.
2. Упругодемпфирующая муфта по п.1, отличающаяся тем, что к гидравлическим трубопроводам подключены пневмогидроаккумуляторы.
РИСУНКИ
MM4A – Досрочное прекращение действия патента СССР или патента Российской Федерации на изобретение из-за неуплаты в установленный срок пошлины за поддержание патента в силе
Дата прекращения действия патента: 12.04.2007
Извещение опубликовано: 10.12.2008 БИ: 34/2008
|
|